CN214211488U - A kind of cleaning equipment for waste water treatment sediment - Google Patents

A kind of cleaning equipment for waste water treatment sediment Download PDF

Info

Publication number
CN214211488U
CN214211488U CN202023116136.9U CN202023116136U CN214211488U CN 214211488 U CN214211488 U CN 214211488U CN 202023116136 U CN202023116136 U CN 202023116136U CN 214211488 U CN214211488 U CN 214211488U
Authority
CN
China
Prior art keywords
wall
fixed
water
water tank
bolts
Prior art date
Legal status (The legal status is an assumption and is not a legal conclusion. Google has not performed a legal analysis and makes no representation as to the accuracy of the status listed.)
Expired - Fee Related
Application number
CN202023116136.9U
Other languages
Chinese (zh)
Inventor
赵超
Current Assignee (The listed assignees may be inaccurate. Google has not performed a legal analysis and makes no representation or warranty as to the accuracy of the list.)
Wuxi Qiwangda Intelligent Equipment Co ltd
Original Assignee
Wuxi Qiwangda Environmental Protection Engineering Equipment Co ltd
Priority date (The priority date is an assumption and is not a legal conclusion. Google has not performed a legal analysis and makes no representation as to the accuracy of the date listed.)
Filing date
Publication date
Application filed by Wuxi Qiwangda Environmental Protection Engineering Equipment Co ltd filed Critical Wuxi Qiwangda Environmental Protection Engineering Equipment Co ltd
Priority to CN202023116136.9U priority Critical patent/CN214211488U/en
Application granted granted Critical
Publication of CN214211488U publication Critical patent/CN214211488U/en
Expired - Fee Related legal-status Critical Current
Anticipated expiration legal-status Critical

Links

Images

Landscapes

  • Cleaning In General (AREA)

Abstract

本实用新型公开了一种废水处理沉淀物用清洗设备,包括底座,所述底座顶部一侧外壁通过螺栓固定有水箱,且水箱顶部外壁通过螺栓固定有分离箱,所述水箱上部两侧内壁焊接有对称分布的固定块,且固定块顶部外壁固定有过滤网,所述分离箱一侧内部安装有电磁辊,且电磁辊顶部外壁通过连接杆固定有压干辊,所述分离箱一侧外壁通过螺栓固定有导向板。本实用新型通过回收管将清洗后产生的废水进行回收,利用分离箱内部设置的电磁辊将水中还有铁削和磨削产生的磨削渣进行吸附并利用压干辊进行干湿分离,然后再利用水箱内部的安装的过滤网将不可吸附的沉淀物进行过滤,这样可以在清洗时让水箱内的水多次使用,降低资源的浪费。

Figure 202023116136

The utility model discloses a cleaning device for waste water treatment sediment, which comprises a base, a water tank is fixed on one outer wall of the top of the base by bolts, and a separation box is fixed on the outer wall of the top of the water tank by bolts, and the inner walls on both sides of the upper part of the water tank are welded by welding There are symmetrically distributed fixed blocks, and a filter screen is fixed on the top outer wall of the fixed block, an electromagnetic roller is installed inside one side of the separation box, and a drying roller is fixed on the top outer wall of the electromagnetic roller through a connecting rod, and the outer wall of the separation box is on one side. The guide plate is fixed by bolts. The utility model recovers the waste water generated after cleaning through the recovery pipe, uses the electromagnetic roller arranged inside the separation box to absorb the grinding slag produced by iron cutting and grinding in the water, and uses the dry pressing roller to carry out dry and wet separation, and then The filter screen installed inside the water tank is used to filter the non-adsorbable sediment, so that the water in the water tank can be used multiple times during cleaning, and the waste of resources can be reduced.

Figure 202023116136

Description

Cleaning equipment for waste water treatment sediment
Technical Field
The utility model relates to a precipitate washs technical field, especially relates to a cleaning equipment for waste water treatment precipitate.
Background
In industrial production, along with a large amount of sewage, for the treatment of sewage, one of them is to use the sedimentation tank to precipitate, thereby the precipitate is removed from the sewage, then the sewage is reprocessed and used for the second time, therefore also need to treat the precipitate in the sedimentation tank, the precipitate that will deposit below is usually shoveled by manual work when clearing up, but still there are a lot of residues on the inner wall all around of sedimentation tank and difficult to clear up, present cleaning device can't retrieve the sewage after the washing for the second time when wasing, lead to very extravagant water resource, one side needs to design a novel cleaning device.
SUMMERY OF THE UTILITY MODEL
The utility model aims at solving the defects existing in the prior art and providing a cleaning device for wastewater treatment sediments.
In order to achieve the above purpose, the utility model adopts the following technical scheme:
a cleaning device for wastewater treatment sediments comprises a base, wherein a water tank is fixed on the outer wall of one side of the top of the base through bolts, a separation tank is fixed on the outer wall of the top of the water tank through bolts, symmetrically distributed fixing blocks are welded on the inner walls of two sides of the upper part of the water tank, a filter screen is fixed on the outer wall of the top of the fixing blocks, an electromagnetic roller is installed inside one side of the separation tank, a drying roller is fixed on the outer wall of the top of the electromagnetic roller through a connecting rod, a guide plate is fixed on the outer wall of one side of the separation tank through bolts, a water inlet pipe is welded on the outer wall of the other side of the separation tank, a high-pressure suction pump is fixed on the outer wall of the bottom of the water inlet pipe, a fixing plate is fixed on the outer wall of the bottom of the high-pressure suction pump through bolts, a recovery pipe is screwed on a connecting port of the outer wall of the bottom of the high-pressure suction pump, a water pump is fixed on a hose through bolts at the middle part of the outer wall of the top of the base, the outer wall of one side of the hose is connected with a spray head, and the outer wall of the bottom of the spray head is fixed with a hydraulic lifter through a bolt.
Preferably, the outer wall of one side of the fixing plate is welded on the outer wall of one side of the water tank, and the outer wall of the top of the fixing plate is provided with a recovery opening.
Preferably, the inner wall of the electromagnetic roller is fixed with a rotating shaft, and the outer wall of one side of the rotating shaft is connected with a rotating motor.
Preferably, the outer wall of the bottom of the guide plate is provided with a collecting box.
Preferably, the outer wall welding of base one side has the handle, and base bottom outer wall four corners all welds the universal wheel.
Preferably, the high-pressure suction pump, the water pump and the rotating motor are connected with a switch through wires, and the switch is connected with a power supply through wires.
Preferably, the outer wall of one side of the water tank is provided with a water delivery port, and the inner wall of the water delivery port is welded with a water delivery pipe.
The utility model has the advantages that:
the cleaning equipment for the waste water treatment precipitate of this design retrieves the waste water that produces after will wasing through the recovery tube, the inside electromagnetic roller that sets up of separator box adsorbs the grinding sediment that still has iron to cut and the grinding produces in with the aquatic and utilizes and press the dry roller to carry out dry wet separation, then the filter screen of the inside installation of reuse water tank filters the precipitate that can not adsorb, can let the water repetitious usage in the water tank when wasing like this, reduce the waste of resource, reduce the cost.
Drawings
FIG. 1 is a sectional view showing the overall structure of a cleaning apparatus for wastewater treatment sediments according to the present invention;
fig. 2 is a front view of the overall structure of a cleaning device for wastewater treatment sediments.
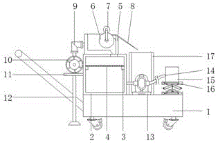
In the figure: 1 base, 2 water tanks, 3 fixed blocks, 4 filter screens, 5 separating boxes, 6 electromagnetic rollers, 7 drying rollers, 8 guide plates, 9 water inlet pipes, 10 high-pressure suction pumps, 11 fixed plates, 12 recovery pipes, 13 water pumps, 14 hoses, 15 spray heads, 16 hydraulic lifters and 17 collecting boxes.
Detailed Description
The technical solutions in the embodiments of the present invention will be described clearly and completely with reference to the accompanying drawings in the embodiments of the present invention, and it is obvious that the described embodiments are only some embodiments of the present invention, not all embodiments.
Referring to fig. 1-2, a cleaning device for wastewater treatment sediments comprises a base 1, wherein a water tank 2 is fixed on the outer wall of one side of the top of the base 1 through bolts, a separation tank 5 is fixed on the outer wall of the top of the water tank 2 through bolts, a water delivery port is formed in the outer wall of one side of the water tank 2, a water delivery pipe is welded on the inner wall of the water delivery port, fixed blocks 3 which are symmetrically distributed are welded on the inner walls of two sides of the upper portion of the water tank 2, a filter screen 4 is fixed on the outer wall of the top of each fixed block 3, an electromagnetic roller 6 is installed inside one side of the separation tank 5, a press drying roller 7 is fixed on the outer wall of the top of the electromagnetic roller 6 through a connecting rod, a rotating shaft is fixed on the inner wall of the electromagnetic roller 6, a rotating motor is connected on the outer wall of one side of the rotating shaft, a guide plate 8 is fixed on the outer wall of one side of the separation tank 5 through bolts, a water inlet pipe 9 is welded on the outer wall of the other side of the separation tank 5, and a collecting box 17 is arranged on the outer wall of the bottom of the guide plate 8, the outer wall of the bottom of the water inlet pipe 9 is fixed with a high-pressure suction pump 10, the outer wall of the bottom of the high-pressure suction pump 10 is fixed with a fixed plate 11 through bolts, the outer wall of one side of the fixed plate 11 is welded on the outer wall of one side of the water tank 2, the outer wall of the top of the fixed plate 11 is provided with a recovery port, a recovery pipe 12 is screwed on a connector of the outer wall of the bottom of the high-pressure suction pump 10, a water pump 13 is fixed in the middle of the outer wall of the top of the base 1 through bolts, a hose 14 is fixed on the connector of the outer wall of one side of the water pump 13, the high-pressure suction pump 10, the water pump 13 and a rotating motor are connected with a switch through wires, the switch is connected with a power supply through a wire, a nozzle 15 is connected on the outer wall of one side of the hose 14, a hydraulic lifter 16 is fixed on the outer wall of the bottom of the nozzle 15 through bolts, a handle is welded on the outer wall of one side of the base 1, universal wheels are welded on four corners of the outer wall of the bottom of the base 1, and wastewater produced after cleaning is recovered through the recovery pipe 12, utilize the inside grinding sediment that sets up of separator box 5 still iron cuts and the grinding production with the aquatic to adsorb and utilize and press dry roller 7 to carry out the wet separation futilely, then filter 4 that the filter screen of the inside installation of reuse water tank 2 filters the precipitate that can not adsorb, can let the water repetitious usage in the water tank 2 when wasing like this, reduce the wasting of resources, reduce the cost.
The working principle is as follows: when the user uses this equipment, at first add water in the water tank 2, open external switch and pass through water pump 13 with water through hose 14 input to shower nozzle 15 in spray and wash, and utilize hydraulic pressure riser 16 to adjust abluent height, then utilize recovery tube 12 and inlet tube 9 to retrieve the separator box 5 with the waste water of wasing the product through high-pressure suction pump 10 when wasing in, through the inside electromagnetic roller 6 of separator box 5 with iron cutting and grinding sediment absorption and carry out dry-wet separation through pressure dry roller 7, filter the precipitate that can not adsorb through filter screen 4 at last, the precipitate after dry-wet separation is collected through collecting box 17.
The above, only be the concrete implementation of the preferred embodiment of the present invention, but the protection scope of the present invention is not limited thereto, and any person skilled in the art is in the technical scope of the present invention, according to the technical solution of the present invention and the utility model, the concept of which is equivalent to replace or change, should be covered within the protection scope of the present invention.

Claims (7)

1. The cleaning equipment for the wastewater treatment sediments comprises a base (1) and is characterized in that a water tank (2) is fixed on the outer wall of one side of the top of the base (1) through bolts, a separation tank (5) is fixed on the outer wall of the top of the water tank (2) through bolts, symmetrically distributed fixed blocks (3) are welded on the inner walls of two sides of the upper portion of the water tank (2), a filter screen (4) is fixed on the outer wall of the top of each fixed block (3), an electromagnetic roller (6) is installed inside one side of the separation tank (5), a drying roller (7) is fixed on the outer wall of the top of the electromagnetic roller (6) through a connecting rod, a guide plate (8) is fixed on the outer wall of one side of the separation tank (5) through bolts, a water inlet pipe (9) is welded on the outer wall of the other side of the separation tank (5), a high-pressure suction pump (10) is fixed on the outer wall of the bottom of the water inlet pipe (9), and a fixed plate (11) is fixed on the outer wall of the bottom of the high-pressure suction pump (10) through bolts, the high pressure suction pump (10) bottom outer wall's connector spiro union has recovery tube (12), base (1) top outer wall middle part is through the bolt fastening has water pump (13), and the connector of water pump (13) one side outer wall is fixed with hose (14), hose (14) one side outer wall is connected with shower nozzle (15), and shower nozzle (15) bottom outer wall is through the bolt fastening has hydraulic pressure riser (16).
2. The cleaning equipment for wastewater treatment sediments as claimed in claim 1, characterized in that the outer wall of one side of the fixed plate (11) is welded on the outer wall of one side of the water tank (2) and the outer wall of the top of the fixed plate (11) is provided with a recovery opening.
3. The cleaning equipment for wastewater treatment sediments as claimed in claim 1, characterized in that a rotating shaft is fixed on the inner wall of the electromagnetic roller (6), and a rotating motor is connected with the outer wall of one side of the rotating shaft.
4. A cleaning apparatus for waste water treatment sludge according to claim 1, wherein the guide plate (8) is provided with a collection tank (17) at the bottom outer wall thereof.
5. The cleaning equipment for the wastewater treatment sediments according to claim 1, characterized in that the outer wall of one side of the base (1) is welded with a handle, and four corners of the outer wall of the bottom of the base (1) are welded with universal wheels.
6. The cleaning apparatus for wastewater treatment sediments according to claim 1, wherein the high-pressure suction pump (10), the water pump (13) and the rotating motor are connected with a switch through wires, and the switch is connected with a power supply through wires.
7. The cleaning equipment for the wastewater treatment sediments as claimed in claim 1, characterized in that the outer wall of one side of the water tank (2) is provided with a water delivery port, and the inner wall of the water delivery port is welded with a water delivery pipe.
CN202023116136.9U 2020-12-22 2020-12-22 A kind of cleaning equipment for waste water treatment sediment Expired - Fee Related CN214211488U (en)

Priority Applications (1)

Application Number Priority Date Filing Date Title
CN202023116136.9U CN214211488U (en) 2020-12-22 2020-12-22 A kind of cleaning equipment for waste water treatment sediment

Applications Claiming Priority (1)

Application Number Priority Date Filing Date Title
CN202023116136.9U CN214211488U (en) 2020-12-22 2020-12-22 A kind of cleaning equipment for waste water treatment sediment

Publications (1)

Publication Number Publication Date
CN214211488U true CN214211488U (en) 2021-09-17

Family

ID=77704346

Family Applications (1)

Application Number Title Priority Date Filing Date
CN202023116136.9U Expired - Fee Related CN214211488U (en) 2020-12-22 2020-12-22 A kind of cleaning equipment for waste water treatment sediment

Country Status (1)

Country Link
CN (1) CN214211488U (en)

Cited By (1)

* Cited by examiner, † Cited by third party
Publication number Priority date Publication date Assignee Title
CN116060461A (en) * 2023-03-03 2023-05-05 响水巨合金属制品有限公司 Oil removal cleaning device for 304 stainless steel cold-rolled sheet treatment

Cited By (2)

* Cited by examiner, † Cited by third party
Publication number Priority date Publication date Assignee Title
CN116060461A (en) * 2023-03-03 2023-05-05 响水巨合金属制品有限公司 Oil removal cleaning device for 304 stainless steel cold-rolled sheet treatment
CN116060461B (en) * 2023-03-03 2023-12-26 响水巨合金属制品有限公司 Oil removal cleaning device for 304 stainless steel cold-rolled sheet treatment

Similar Documents

Publication Publication Date Title
CN207493301U (en) A kind of new energy materials backwash filter
CN203678039U (en) Chamber type filter press capable of automatically collecting materials
CN201840934U (en) Cleaning device of filter element
CN214211488U (en) A kind of cleaning equipment for waste water treatment sediment
CN210204666U (en) Industrial and mining boot washing machine
CN110228002A (en) A kind of civil engineering rust removing device for reinforcing steel bars and its application method
CN111889777B (en) Cleaning device for conveying machine part machining numerical control milling machine
CN210450188U (en) A cleaning device for chemical equipment
CN211774007U (en) City view river course silt cleaning device
CN209901845U (en) Coal washer
CN102274668A (en) Spraying dedusting system
CN202185240U (en) Spraying dust removal system
CN208115288U (en) Solid-liquid automatic separating apparatus
CN109746219A (en) A kind of etched foil cleaning equipment of drying function
CN205465443U (en) Last dedicated chip cleaner of machining center
CN211521865U (en) Waste water purification treatment device
CN220444539U (en) Work piece circulation belt cleaning device
CN209853754U (en) A kind of decontamination machine with high-tight inner runoff grille
CN208933125U (en) A kind of pumping equipment of the construction with filtering function
CN208022736U (en) A kind of use in waste water treatment degreasing unit
CN212864344U (en) Car washing water resource recovery system convenient to dismantle clearance
CN218554997U (en) Multi-way valve cleaning device
CN202744412U (en) Convenient separated-type cleaning device
CN214695833U (en) A multifunctional dredging device for water conservancy projects
CN214107276U (en) Desulfurization waste liquid circulation processing apparatus

Legal Events

Date Code Title Description
GR01 Patent grant
GR01 Patent grant
CP03 Change of name, title or address

Address after: 214028 No.3, Zhenfa 2nd Road, Shuofang, Xinwu District, Wuxi City, Jiangsu Province

Patentee after: Wuxi qiwangda Intelligent Equipment Co.,Ltd.

Address before: 214000 No. 15, Zhenfa 6th Road, Xinwu District, Wuxi City, Jiangsu Province

Patentee before: Wuxi qiwangda environmental protection engineering equipment Co.,Ltd.

CP03 Change of name, title or address
CF01 Termination of patent right due to non-payment of annual fee

Granted publication date: 20210917

CF01 Termination of patent right due to non-payment of annual fee