CN114622690A - BIPV roof power generation tile component - Google Patents
BIPV roof power generation tile component Download PDFInfo
- Publication number
- CN114622690A CN114622690A CN202210307282.4A CN202210307282A CN114622690A CN 114622690 A CN114622690 A CN 114622690A CN 202210307282 A CN202210307282 A CN 202210307282A CN 114622690 A CN114622690 A CN 114622690A
- Authority
- CN
- China
- Prior art keywords
- connecting piece
- power generation
- fixing hole
- generation panel
- bearing platform
- Prior art date
- Legal status (The legal status is an assumption and is not a legal conclusion. Google has not performed a legal analysis and makes no representation as to the accuracy of the status listed.)
- Pending
Links
Images
Classifications
-
- E—FIXED CONSTRUCTIONS
- E04—BUILDING
- E04D—ROOF COVERINGS; SKY-LIGHTS; GUTTERS; ROOF-WORKING TOOLS
- E04D13/00—Special arrangements or devices in connection with roof coverings; Protection against birds; Roof drainage ; Sky-lights
-
- E—FIXED CONSTRUCTIONS
- E04—BUILDING
- E04D—ROOF COVERINGS; SKY-LIGHTS; GUTTERS; ROOF-WORKING TOOLS
- E04D3/00—Roof covering by making use of flat or curved slabs or stiff sheets
- E04D3/36—Connecting; Fastening
- E04D3/3607—Connecting; Fastening the fastening means comprising spacer means adapted to the shape of the profiled roof covering
-
- E—FIXED CONSTRUCTIONS
- E04—BUILDING
- E04D—ROOF COVERINGS; SKY-LIGHTS; GUTTERS; ROOF-WORKING TOOLS
- E04D3/00—Roof covering by making use of flat or curved slabs or stiff sheets
- E04D3/36—Connecting; Fastening
- E04D3/366—Connecting; Fastening by closing the space between the slabs or sheets by gutters, bulges, or bridging elements, e.g. strips
-
- H—ELECTRICITY
- H02—GENERATION; CONVERSION OR DISTRIBUTION OF ELECTRIC POWER
- H02S—GENERATION OF ELECTRIC POWER BY CONVERSION OF INFRARED RADIATION, VISIBLE LIGHT OR ULTRAVIOLET LIGHT, e.g. USING PHOTOVOLTAIC [PV] MODULES
- H02S20/00—Supporting structures for PV modules
- H02S20/20—Supporting structures directly fixed to an immovable object
- H02S20/22—Supporting structures directly fixed to an immovable object specially adapted for buildings
- H02S20/23—Supporting structures directly fixed to an immovable object specially adapted for buildings specially adapted for roof structures
- H02S20/25—Roof tile elements
-
- H—ELECTRICITY
- H02—GENERATION; CONVERSION OR DISTRIBUTION OF ELECTRIC POWER
- H02S—GENERATION OF ELECTRIC POWER BY CONVERSION OF INFRARED RADIATION, VISIBLE LIGHT OR ULTRAVIOLET LIGHT, e.g. USING PHOTOVOLTAIC [PV] MODULES
- H02S40/00—Components or accessories in combination with PV modules, not provided for in groups H02S10/00 - H02S30/00
- H02S40/30—Electrical components
- H02S40/36—Electrical components characterised by special electrical interconnection means between two or more PV modules, e.g. electrical module-to-module connection
-
- Y—GENERAL TAGGING OF NEW TECHNOLOGICAL DEVELOPMENTS; GENERAL TAGGING OF CROSS-SECTIONAL TECHNOLOGIES SPANNING OVER SEVERAL SECTIONS OF THE IPC; TECHNICAL SUBJECTS COVERED BY FORMER USPC CROSS-REFERENCE ART COLLECTIONS [XRACs] AND DIGESTS
- Y02—TECHNOLOGIES OR APPLICATIONS FOR MITIGATION OR ADAPTATION AGAINST CLIMATE CHANGE
- Y02E—REDUCTION OF GREENHOUSE GAS [GHG] EMISSIONS, RELATED TO ENERGY GENERATION, TRANSMISSION OR DISTRIBUTION
- Y02E10/00—Energy generation through renewable energy sources
- Y02E10/50—Photovoltaic [PV] energy
Landscapes
- Engineering & Computer Science (AREA)
- Architecture (AREA)
- Civil Engineering (AREA)
- Structural Engineering (AREA)
- Mechanical Engineering (AREA)
- Roof Covering Using Slabs Or Stiff Sheets (AREA)
Abstract
本发明公开一种BIPV屋面发电瓦构件,包括发电面板以及固定在发电面板周围的上连接件、左连接件、右连接件和下连接件,上述四个连接件由L形角码固定连接,上连接件与下连接件卡接、左连接件与右连接件卡接,并在卡接及相叠处实现水汽密封,四个连接件的固定孔侧壁之间形成散热空间,给发电面板散热,提高发电效率,左、右连接件的连接处有导水槽,下连接件的底部有半包围式导流框,均起到导水作用,进一步起到防水作用。本发明通过上、下、左、右四种连接件可以直接将发电面板组装在建筑物上,既解决了发电面板在屋顶安装的防水问题,又解决了施工过程中发电面板碎片率过高及安装成本过高的问题。
The invention discloses a BIPV roof power generation tile component, which includes a power generation panel and an upper connector, a left connector, a right connector and a lower connector fixed around the power generation panel. The four connectors are fixedly connected by L-shaped corners. The upper connecting piece is clamped with the lower connecting piece, the left connecting piece is clamped with the right connecting piece, and the water vapor seal is realized at the clamping and overlapping places. To dissipate heat and improve power generation efficiency, there is a water guide groove at the connection of the left and right connectors, and a semi-enclosed guide frame at the bottom of the lower connector, which all play a role in water conduction and further play a waterproof role. The present invention can directly assemble the power generation panel on the building through four types of connecting parts: upper, lower, left and right, which not only solves the waterproof problem of the installation of the power generation panel on the roof, but also solves the problem of the high fragmentation rate of the power generation panel during the construction process. Installation costs are too high.
Description
技术领域technical field
本发明涉及太阳能发电领域,具体是涉及一种BIPV屋面发电瓦构件。The invention relates to the field of solar power generation, in particular to a BIPV roof power generation tile component.
背景技术Background technique
BIPV(Building Integrated Photovoltaic)是与建筑物同时设计、同时施工和安装,并与建筑物形成完美结合的太阳能光伏发电系统,也称为“构建型”或“建材型”太阳能光伏建筑。它作为建筑物外部结构的一部分,既具有发电功能,又具有建筑构件和建筑材料的功能,甚至还可以提升建筑物的美感,与建筑物形成完美的统一体。BIPV (Building Integrated Photovoltaic) is a solar photovoltaic power generation system that is designed, constructed and installed at the same time with the building, and forms a perfect combination with the building. It is also called "building type" or "building material type" solar photovoltaic building. As a part of the external structure of the building, it not only has the function of power generation, but also has the function of building components and building materials, and can even enhance the beauty of the building, forming a perfect unity with the building.
当前市场上的BIPV屋面瓦产品,多是在正常屋顶的基础上,加装一层发电瓦产品,屋顶的防水、保温功能全部由原屋顶的基础功能完成,这样就造成了重复的成本浪费。并且基于原基础上加装发电瓦,安装及冷却空间受限,发电瓦的发电性能因温度过高受到很大影响,造成发电成本增加,影响发电瓦产品的推广。Most of the BIPV roof tile products currently on the market are based on the normal roof, adding a layer of power generation tile products. The waterproof and thermal insulation functions of the roof are all completed by the basic functions of the original roof, which results in repeated cost waste. And based on the original installation of power generation tiles, the installation and cooling space is limited, and the power generation performance of power generation tiles is greatly affected due to excessive temperature, resulting in increased power generation costs and affecting the promotion of power generation tile products.
发明内容SUMMARY OF THE INVENTION
为了解决现有技术存在的问题,本发明提供一种BIPV屋面发电瓦构件,通过上、下、左、右四种连接件可以直接将发电面板组装在建筑物上,一次性解决屋顶防水问题,同时又解决了施工过程中发电面板碎片率过高及安装成本过高的问题。In order to solve the problems existing in the prior art, the present invention provides a BIPV roof power generation tile component, which can directly assemble the power generation panel on the building through the upper, lower, left and right connectors, and solve the roof waterproofing problem at one time, At the same time, it solves the problems of high fragmentation rate of power generation panels and high installation costs during construction.
本发明采用如下技术方案:一种BIPV屋面发电瓦构件,包括上连接件、左连接件、右连接件、下连接件以及发电面板,所述的上连接件、左连接件、下连接件和右连接件之间由L形角码固定连接,形成承载发电面板的四边形框架,具体为:上连接件与相邻的左连接件之间由L形角码固定连接,左连接件与相邻的下连接件之间由L形角码固定连接,下连接件与相邻的右连接件之间由L形角码固定连接,右连接件与相邻的上连接件之间由L形角码固定连接;The present invention adopts the following technical scheme: a BIPV roof power generation tile component, including an upper connector, a left connector, a right connector, a lower connector and a power generation panel, the upper connector, left connector, lower connector and The right connectors are fixedly connected by an L-shaped corner code to form a quadrilateral frame bearing the power generation panel, specifically: the upper connector and the adjacent left connector are fixedly connected by an L-shaped corner code, and the left connector is connected to the adjacent left connector. The lower connectors are fixedly connected by an L-shaped corner code, the lower connector and the adjacent right connector are fixedly connected by an L-shaped corner code, and the right connector and the adjacent upper connector are connected by an L-shaped corner. code fixed connection;
所述的左连接件具有左固定孔、左卡头、左卡槽和左承重台,右连接件具有右固定孔、右卡头、右卡槽和右承重台,发电面板的左右两端承担在左承重台和右承重台上,并卡在左卡槽和右卡槽内,左卡头与右卡头卡接,左连接件与右连接件相叠处具有独立密封空间,密封空间内填充密封胶条,实现水汽密封;The left connecting piece has a left fixing hole, a left clamping head, a left clamping slot and a left bearing platform, and the right connecting piece has a right fixing hole, a right clamping head, a right clamping slot and a right bearing platform, and the left and right ends of the power generation panel bear the load. On the left load-bearing platform and the right load-bearing platform, and clamped in the left card slot and right card slot, the left clip is clipped with the right clip, and there is an independent sealing space where the left connecting piece and the right connecting piece overlap. Fill the sealing strip to achieve water vapor sealing;
所述的上连接件具有上固定孔、上卡槽和上承重台,下连接件具有下固定孔、下卡头和下承重台,发电面板的上下两端分别承担在上承重台和下承重台上,发电面板的上端卡在上卡槽内,下端抵在下卡头的侧壁上,下卡头卡在上卡槽的上壁上,上连接件与下连接件相叠处具有独立密封空间,密封空间内填充密封胶条,实现水汽密封;The upper connecting piece has an upper fixing hole, an upper clamping slot and an upper bearing platform, the lower connecting piece has a lower fixing hole, a lower clamping head and a lower bearing platform, and the upper and lower ends of the power generation panel are respectively responsible for the upper bearing platform and the lower bearing platform. On the platform, the upper end of the power generation panel is stuck in the upper slot, the lower end is pressed against the side wall of the lower clip, the lower clip is clipped on the upper wall of the upper slot, and the upper connector and the lower connector are overlapped with an independent seal. Space, the sealing space is filled with sealing strips to achieve water vapor sealing;
所述的上固定孔、左固定孔、下固定孔和右固定孔均位于连接件的下方,上固定孔、左固定孔、下固定孔和右固定孔的侧壁间形成散热空间。The upper fixing hole, the left fixing hole, the lower fixing hole and the right fixing hole are all located below the connecting piece, and a heat dissipation space is formed between the side walls of the upper fixing hole, the left fixing hole, the lower fixing hole and the right fixing hole.
本发明的BIPV屋面发电瓦构件,上连接件与左连接件、左连接件与下连接件、下连接件与右连接件以及右连接件与上连接件之间均采用L形角码固定,结构牢固;上连接件与下连接件以及左连接件与右连接件之间均采用卡接方式,组装简便高效;上连接件与下连接件的重叠处以及左连接件和右连接件的重叠处都填充密封胶条,实现水气密封,解决了发电面板在屋顶安装的防水问题;上固定孔、下固定孔、左固定孔和右固定孔的侧壁间又形成散热空间,方便发电面板散热,提高发电效率。In the BIPV roof power generation tile component of the present invention, the upper connector and the left connector, the left connector and the lower connector, the lower connector and the right connector, and the right connector and the upper connector are all fixed by L-shaped angle codes. The structure is firm; the upper connecting piece and the lower connecting piece and the left connecting piece and the right connecting piece all adopt the clamping method, which is easy and efficient to assemble; the overlapping of the upper connecting piece and the lower connecting piece and the overlapping of the left connecting piece and the right connecting piece Sealing strips are filled everywhere to achieve water and air sealing, which solves the waterproof problem of power generation panels installed on the roof; heat dissipation space is formed between the side walls of the upper fixing hole, lower fixing hole, left fixing hole and right fixing hole, which is convenient for the power generation panel Heat dissipation and improve power generation efficiency.
优选地,所述的左卡头具有向下弯曲的左卡扣,右卡头具有向上弯曲的右卡扣,左卡扣与右卡扣相互勾接固定,左卡扣与右卡扣的勾接处填充密封胶条,形成水汽密封区,左卡扣与右卡槽的外壁间形成纵向导水槽,便于雨水流下。Preferably, the left clip has a left clip that is bent downward, the right clip has a right clip that is bent upward, the left clip and the right clip are hooked and fixed to each other, and the hooks of the left clip and the right clip are The joints are filled with sealing strips to form a water vapor sealing area, and a longitudinal water channel is formed between the outer wall of the left clip and the right clip slot, which is convenient for rainwater to flow down.
优选地,所述的上连接件底部具有安装座,所述的安装座与上连接件一体成型,安装座与发电面板的夹角为锐角,该锐角优选30°,可以使上连接件的底角与屋面檩条形成嵌入式安装,使安装更便捷。Preferably, the bottom of the upper connector has a mounting seat, the mounting seat and the upper connector are integrally formed, and the included angle between the mounting seat and the power generation panel is an acute angle, and the acute angle is preferably 30°, which can make the bottom of the upper connector Corner and roof purlin form embedded installation, making installation more convenient.
优选地,下连接件的底部具有半包围式导流框,可以在大气环境下雨时,使雨水中的泥土等颗粒顺利流出发电面板,提升发电面板的实际发电效率。Preferably, the bottom of the lower connector has a semi-enclosed guide frame, which can make the soil and other particles in the rain flow smoothly out of the power generation panel when it rains in the atmospheric environment, thereby improving the actual power generation efficiency of the power generation panel.
优选地,所述的密封胶条均采用胀塞的方式填充,可以使密封更严实,避免室内外水汽交互。Preferably, the sealant strips are filled by way of plugging, which can make the seal tighter and avoid the interaction between indoor and outdoor water vapor.
优选地,所述的上承重台、左承重台、下承重台和右承重台上还铣有用于放置接线板的容置槽。Preferably, the upper bearing platform, the left bearing platform, the lower bearing platform and the right bearing platform are also milled with accommodating grooves for placing the wiring board.
优选地,所述的发电面板四周都装有金属保护框,可以在安装过程中解决玻璃基发电面板易碎角的缺点。Preferably, the power generation panel is equipped with a metal protective frame around it, which can solve the shortcoming of the fragile corners of the glass-based power generation panel during the installation process.
优选地,左连接件和右连接件采用低强度边框支撑设计,如此设计,首先便于发电面板正负极导线连接,更可以在保证受力强度的情况下节约成本。Preferably, the left connector and the right connector adopt a low-strength frame support design. This design facilitates the connection of the positive and negative wires of the power generation panel first, and can save costs while ensuring the force strength.
优选地,还包括特制檩条,所述的特制檩条整体呈“亚”字形,特制檩条的上表面具有用于与上连接件连装的卡装槽,所述的卡装槽的侧壁与底壁之间的夹角为30°,在保证受力强度的情况下,大大提高安装效率,节约投资成本。Preferably, it also includes a special purlin, the special purlin is in the shape of "sub" as a whole, and the upper surface of the special purlin has a clamping groove for connecting with the upper connecting piece, and the side wall and the bottom of the clamping groove are installed. The included angle between the walls is 30°, which greatly improves the installation efficiency and saves the investment cost under the condition of ensuring the force strength.
附图说明Description of drawings
图1是本发明BIPV屋面发电瓦构件单元的示意图。Fig. 1 is a schematic diagram of the BIPV roof power generation tile component unit of the present invention.
图2是左连接件与右连接件的连接方式示意图。FIG. 2 is a schematic diagram of the connection mode of the left connecting piece and the right connecting piece.
图3是上连接件与下连接件的连接方式示意图。FIG. 3 is a schematic diagram of the connection mode of the upper connector and the lower connector.
图4是上连接件立体结构示意图。FIG. 4 is a schematic diagram of the three-dimensional structure of the upper connector.
图5是特制檩条的结构剖面图。Figure 5 is a structural cross-sectional view of a specially made purlin.
具体实施方式Detailed ways
以下结合附图对本发明的具体实施方式进行详细说明。应当理解的是,此处所描述的具体实施方式仅用于说明和解释本发明,并不用于限制本发明。The specific embodiments of the present invention will be described in detail below with reference to the accompanying drawings. It should be understood that the specific embodiments described herein are only used to illustrate and explain the present invention, but not to limit the present invention.
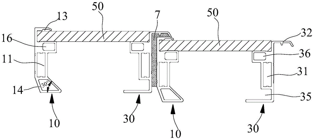
一种BIPV屋面发电瓦构件,如图1—图5所示,包括上连接件10、左连接件20、下连接件30、右连接件40以及发电面板50,发电面板50四周都装有金属保护框,可以在安装过程中解决玻璃基发电面板易碎角的缺点。上连接件10、左连接件20、下连接件30和右连接件40共同围成一个用于安装发电面板50的四边形边框;A BIPV roof power generation tile component, as shown in Figures 1-5, includes an
左连接件20和右连接件40采用低强度边框支撑设计,如此设计,首先便于发电面板正负极导线连接,更可以在保证受力强度的情况下节约成本。所述的左连接件20具有左固定孔21、左卡头22、左卡槽23和左承重台26,右连接件40具有右固定孔41、右卡头42、右卡槽43和右承重台,发电面板50的左右两端分别承担在左承重台26和右承重台46上,并卡在左卡槽23和右卡槽43内,所述的左卡头22具有向下弯曲的左卡扣221,右卡头42具有向上弯曲的右卡扣421,左卡扣221与右卡扣421相互勾接固定并采用密封胶条进行密封,从而将左连接件20与右连接件40卡接固定,左卡扣221与相邻的右卡槽43的外壁间形成纵向导水槽8,便于雨水流下,左卡扣221与右卡扣421的勾接处以及左固定孔21与右固定孔41的相叠处具有独立密封空间,密封空间内填充密封胶条7,形成水汽密封区。The
所述的上连接件10具有上固定孔11、上卡槽13和上承重台16,下连接件30具有下固定孔31、下卡头32和下承重台36,发电面板50的上下两端分别承担在上承重台16和下承重台36上,发电面板50的上端卡在上卡槽13内,发电面板50的下端抵在下卡头32的侧壁上,下卡头32卡在上卡槽13的上壁上,下卡头32与上卡槽13的外壁间以及上固定孔11与下固定孔31的相叠处具有独立密封空间,密封空间内填充密封胶条7,实现水汽密封。上承重台16、左承重台26、下承重台36和右承重台46用于承载发电面板50和安装时工人的重量。上承重台16的表面还铣有用于放置接线板的容置槽161,左承重台26、下承重台36和右承重台46的上表面也铣有用于放置接线板的容置槽。所述的上连接件10的底部还具有安装座14,安装座14与上连接件10一体成型,安装座14与发电面板50的夹角为30°,配合特制檩条100,可以使上连接件10的底部与屋面檩条形成嵌入式安装,使安装更便捷。下连接件30的底部具有半包围式导流框35,可以在大气环境下雨时,使雨水中的泥土等颗粒顺利流出,提升发电面板的实际发电效率。The
所述的上固定孔11、左固定孔21、下固定孔31和右固定孔41均位于发电面板50下方,L形角码6的一端穿入上固定孔11,另一端穿入左固定孔21中,将上连接件10与左连接件20固定;L形角码6的一端穿入左固定孔21,另一端穿入下固定孔31中,将左连接件20与下连接件30固定;L形角码6的一端穿入下固定孔31,另一端穿入右固定孔41中,将下连接件10与右连接件40固定;L形角码6的一端穿入右固定孔41,另一端穿入上固定孔11中,将右连接件40与上连接件10固定,从而将上连接件10、左连接件20、下连接件30和右连接件40围成一个用于安装发电面板50的四边形防水边框。上固定孔11、左固定孔21、下固定孔31和右固定孔41的侧壁间形成散热空间,方便发电面板50散热,提高发电效率。The
还包括特制檩条,所述的特制檩条100整体呈“亚”字形,特制檩条100的上表面具有用于与上连接件10连装的卡装槽101,所述的卡装槽101的侧壁与底壁之间的夹角为30°,特制檩条100与上连接件10相互卡装,在保证受力强度的情况下,大大提高安装效率,节约投资成。It also includes specially made purlins, the said specially made
上面所述的密封胶条7均采用胀塞的方式填充,可以使密封更严实,避免水汽交互。The above-mentioned
本发明的BIPV屋面发电瓦构件,上连接件10与左连接件20、左连接件20与下连接件30、下连接件30与右连接件40以及右连接件40与上连接件10之间均采用L形角码6固定,结构牢固;上连接件10与下连接件30以及左连接件20与右连接件40之间均采用卡接方式,组装简便高效;上连接件10与下连接件30的重叠处以及左连接件20和右连接件40的重叠处都以胀塞的方式填充密封胶条7,实现水气密封,避免水汽交互,解决了发电面板50在屋顶安装的防水问题;上固定孔11、下固定孔31、左固定孔21和右固定孔41的侧壁间又形成散热空间,方便发电面板50散热,提高发电效率。In the BIPV roof power generation tile component of the present invention, the
以上结合附图详细描述了本发明的优选实施方式,但是,本发明并不限于上述实施方式中的具体细节,在本发明的技术构思范围内,可以对本发明的技术方案进行多种简单变型,这些简单变型均属于本发明的保护范围。The preferred embodiments of the present invention have been described in detail above with reference to the accompanying drawings. However, the present invention is not limited to the specific details of the above-mentioned embodiments. Within the scope of the technical concept of the present invention, various simple modifications can be made to the technical solutions of the present invention, These simple modifications all belong to the protection scope of the present invention.
Claims (9)
Priority Applications (1)
| Application Number | Priority Date | Filing Date | Title |
|---|---|---|---|
| CN202210307282.4A CN114622690A (en) | 2022-03-25 | 2022-03-25 | BIPV roof power generation tile component |
Applications Claiming Priority (1)
| Application Number | Priority Date | Filing Date | Title |
|---|---|---|---|
| CN202210307282.4A CN114622690A (en) | 2022-03-25 | 2022-03-25 | BIPV roof power generation tile component |
Publications (1)
| Publication Number | Publication Date |
|---|---|
| CN114622690A true CN114622690A (en) | 2022-06-14 |
Family
ID=81904066
Family Applications (1)
| Application Number | Title | Priority Date | Filing Date |
|---|---|---|---|
| CN202210307282.4A Pending CN114622690A (en) | 2022-03-25 | 2022-03-25 | BIPV roof power generation tile component |
Country Status (1)
| Country | Link |
|---|---|
| CN (1) | CN114622690A (en) |
Cited By (1)
| Publication number | Priority date | Publication date | Assignee | Title |
|---|---|---|---|---|
| US20230029089A1 (en) * | 2021-06-12 | 2023-01-26 | Arka Energy Inc. | Assembly for mounting tiles over a surface |
Citations (8)
| Publication number | Priority date | Publication date | Assignee | Title |
|---|---|---|---|---|
| CN102683457A (en) * | 2012-05-31 | 2012-09-19 | 马鞍山晶威电子科技有限公司 | A new type of solar cell module frame |
| CN202925776U (en) * | 2012-09-28 | 2013-05-08 | 广东保威新能源有限公司 | Tile type photovoltaic module installation structure |
| CN104104316A (en) * | 2013-04-03 | 2014-10-15 | 沙嫣 | Solar panel installation method |
| CN106468093A (en) * | 2015-08-21 | 2017-03-01 | 丁明朗 | Integrated solar energy roof system |
| CN107086850A (en) * | 2017-05-25 | 2017-08-22 | 甘肃省科学院自然能源研究所 | Buckle type photovoltaic module building element |
| CN108979012A (en) * | 2018-10-09 | 2018-12-11 | 黄石金能光伏有限公司 | Insulation photovoltaic tile and photovoltaic array |
| CN208415731U (en) * | 2018-06-04 | 2019-01-22 | 浙江宝利特新能源股份有限公司 | A kind of integrated photovoltaic system of roof building |
| CN209692677U (en) * | 2019-03-14 | 2019-11-26 | 泰州隆基乐叶光伏科技有限公司 | Photovoltaic module and photovoltaic roof |
-
2022
- 2022-03-25 CN CN202210307282.4A patent/CN114622690A/en active Pending
Patent Citations (8)
| Publication number | Priority date | Publication date | Assignee | Title |
|---|---|---|---|---|
| CN102683457A (en) * | 2012-05-31 | 2012-09-19 | 马鞍山晶威电子科技有限公司 | A new type of solar cell module frame |
| CN202925776U (en) * | 2012-09-28 | 2013-05-08 | 广东保威新能源有限公司 | Tile type photovoltaic module installation structure |
| CN104104316A (en) * | 2013-04-03 | 2014-10-15 | 沙嫣 | Solar panel installation method |
| CN106468093A (en) * | 2015-08-21 | 2017-03-01 | 丁明朗 | Integrated solar energy roof system |
| CN107086850A (en) * | 2017-05-25 | 2017-08-22 | 甘肃省科学院自然能源研究所 | Buckle type photovoltaic module building element |
| CN208415731U (en) * | 2018-06-04 | 2019-01-22 | 浙江宝利特新能源股份有限公司 | A kind of integrated photovoltaic system of roof building |
| CN108979012A (en) * | 2018-10-09 | 2018-12-11 | 黄石金能光伏有限公司 | Insulation photovoltaic tile and photovoltaic array |
| CN209692677U (en) * | 2019-03-14 | 2019-11-26 | 泰州隆基乐叶光伏科技有限公司 | Photovoltaic module and photovoltaic roof |
Cited By (1)
| Publication number | Priority date | Publication date | Assignee | Title |
|---|---|---|---|---|
| US20230029089A1 (en) * | 2021-06-12 | 2023-01-26 | Arka Energy Inc. | Assembly for mounting tiles over a surface |
Similar Documents
| Publication | Publication Date | Title |
|---|---|---|
| CN202280214U (en) | Heat insulating photovoltaic tile | |
| CN208415731U (en) | A kind of integrated photovoltaic system of roof building | |
| CN106357205A (en) | Inclined roof waterproof photovoltaic module mounting device | |
| CN102425274B (en) | Connecting pieces for overall installation of solar panels of large-span hemispherical roof and installation method thereof | |
| CN114622690A (en) | BIPV roof power generation tile component | |
| CN113482252A (en) | Slope roof photovoltaic system and construction method thereof | |
| CN115749149A (en) | Photovoltaic tile | |
| CN215407014U (en) | Distributed photovoltaic slope roof and building integrated construction structure | |
| CN115065308A (en) | Photovoltaic tile, mounting method of photovoltaic tile and photovoltaic power generation system | |
| CN215166641U (en) | Vertical waterproof construction of assembled compound incubation externally-hung wallboard | |
| CN214423787U (en) | A photovoltaic integrated ventilation and heat insulation roof | |
| JP5025125B2 (en) | Frame for solar-powered equipment and installation method of solar-powered equipment using the same | |
| CN217656575U (en) | Photovoltaic heat-preservation integrated plate power generation tile system | |
| JP3077042B2 (en) | Light-heat hybrid panel for rooftop | |
| CN220167326U (en) | Photovoltaic tile for aluminum frame back plate roof | |
| CN202816971U (en) | Solar energy carport installation support system | |
| WO2019242157A1 (en) | Photovoltaic assembly, photovoltaic system, housing panel, and transport | |
| CN114673309A (en) | A new type of thermal insulation and low power consumption BIPV integrated component | |
| JP2565611B2 (en) | Roof with solar cells | |
| CN209277409U (en) | A kind of current collection photovoltaic tile, connection structure and roof structure | |
| CN216531141U (en) | CIGS photovoltaic panel overlapping type lap-joint sloping roof integrated construction system | |
| CN223034352U (en) | A waterproof decorative component and photovoltaic tile system | |
| CN223093706U (en) | Photovoltaic tile hanging structure and photovoltaic tile construction system | |
| CN222771700U (en) | A kind of seam-opening environmentally friendly aluminum plate installation structure | |
| CN223497454U (en) | A building-integrated photovoltaic structure |
Legal Events
| Date | Code | Title | Description |
|---|---|---|---|
| PB01 | Publication | ||
| PB01 | Publication | ||
| SE01 | Entry into force of request for substantive examination | ||
| SE01 | Entry into force of request for substantive examination | ||
| RJ01 | Rejection of invention patent application after publication | ||
| RJ01 | Rejection of invention patent application after publication |
Application publication date: 20220614 |
