CN113819732A - Automatic drying equipment of tea-oil camellia seed - Google Patents

Automatic drying equipment of tea-oil camellia seed Download PDF

Info

Publication number
CN113819732A
CN113819732A CN202111179584.XA CN202111179584A CN113819732A CN 113819732 A CN113819732 A CN 113819732A CN 202111179584 A CN202111179584 A CN 202111179584A CN 113819732 A CN113819732 A CN 113819732A
Authority
CN
China
Prior art keywords
drying
piece
assembly
camellia
spoiler
Prior art date
Legal status (The legal status is an assumption and is not a legal conclusion. Google has not performed a legal analysis and makes no representation as to the accuracy of the status listed.)
Granted
Application number
CN202111179584.XA
Other languages
Chinese (zh)
Other versions
CN113819732B (en
Inventor
侯金波
张明龙
Current Assignee (The listed assignees may be inaccurate. Google has not performed a legal analysis and makes no representation or warranty as to the accuracy of the list.)
Changning Qunfu Ecological Agriculture Development Co.,Ltd.
Original Assignee
Hunan Linda Biotechnology Co ltd
Priority date (The priority date is an assumption and is not a legal conclusion. Google has not performed a legal analysis and makes no representation as to the accuracy of the date listed.)
Filing date
Publication date
Application filed by Hunan Linda Biotechnology Co ltd filed Critical Hunan Linda Biotechnology Co ltd
Priority to CN202111179584.XA priority Critical patent/CN113819732B/en
Publication of CN113819732A publication Critical patent/CN113819732A/en
Application granted granted Critical
Publication of CN113819732B publication Critical patent/CN113819732B/en
Active legal-status Critical Current
Anticipated expiration legal-status Critical

Links

Images

Classifications

    • FMECHANICAL ENGINEERING; LIGHTING; HEATING; WEAPONS; BLASTING
    • F26DRYING
    • F26BDRYING SOLID MATERIALS OR OBJECTS BY REMOVING LIQUID THEREFROM
    • F26B11/00Machines or apparatus for drying solid materials or objects with movement which is non-progressive
    • F26B11/12Machines or apparatus for drying solid materials or objects with movement which is non-progressive in stationary drums or other mainly-closed receptacles with moving stirring devices
    • F26B11/14Machines or apparatus for drying solid materials or objects with movement which is non-progressive in stationary drums or other mainly-closed receptacles with moving stirring devices the stirring device moving in a horizontal or slightly-inclined plane
    • FMECHANICAL ENGINEERING; LIGHTING; HEATING; WEAPONS; BLASTING
    • F26DRYING
    • F26BDRYING SOLID MATERIALS OR OBJECTS BY REMOVING LIQUID THEREFROM
    • F26B21/00Arrangements or duct systems, e.g. in combination with pallet boxes, for supplying and controlling air or gases for drying solid materials or objects
    • F26B21/001Drying-air generating units, e.g. movable, independent of drying enclosure
    • F26B21/35
    • F26B21/50
    • FMECHANICAL ENGINEERING; LIGHTING; HEATING; WEAPONS; BLASTING
    • F26DRYING
    • F26BDRYING SOLID MATERIALS OR OBJECTS BY REMOVING LIQUID THEREFROM
    • F26B25/00Details of general application not covered by group F26B21/00 or F26B23/00
    • F26B25/04Agitating, stirring, or scraping devices
    • FMECHANICAL ENGINEERING; LIGHTING; HEATING; WEAPONS; BLASTING
    • F26DRYING
    • F26BDRYING SOLID MATERIALS OR OBJECTS BY REMOVING LIQUID THEREFROM
    • F26B25/00Details of general application not covered by group F26B21/00 or F26B23/00
    • F26B25/06Chambers, containers, or receptacles
    • YGENERAL TAGGING OF NEW TECHNOLOGICAL DEVELOPMENTS; GENERAL TAGGING OF CROSS-SECTIONAL TECHNOLOGIES SPANNING OVER SEVERAL SECTIONS OF THE IPC; TECHNICAL SUBJECTS COVERED BY FORMER USPC CROSS-REFERENCE ART COLLECTIONS [XRACs] AND DIGESTS
    • Y02TECHNOLOGIES OR APPLICATIONS FOR MITIGATION OR ADAPTATION AGAINST CLIMATE CHANGE
    • Y02PCLIMATE CHANGE MITIGATION TECHNOLOGIES IN THE PRODUCTION OR PROCESSING OF GOODS
    • Y02P60/00Technologies relating to agriculture, livestock or agroalimentary industries
    • Y02P60/80Food processing, e.g. use of renewable energies or variable speed drives in handling, conveying or stacking
    • Y02P60/85Food storage or conservation, e.g. cooling or drying

Landscapes

  • Engineering & Computer Science (AREA)
  • Mechanical Engineering (AREA)
  • General Engineering & Computer Science (AREA)
  • Drying Of Solid Materials (AREA)

Abstract

本发明适用于油茶籽加工技术领域,提供了一种油茶籽自动烘干设备,所述油茶籽自动烘干设备包括:箱体以及位于箱体上的控制箱,其中所述箱体上还设置有进料管;烘干机构,位于所述箱体内;其中所述烘干机构包括驱动组件、烘干组件以及用于配合烘干组件使用的扰流组件,所述扰流组件包括旋转件、导向组件以及至少一组扰流件,所述旋转件通过安装件与所述箱体转动连接,且烘干组件设置于所述安装件上,所述扰流件通过伸缩件与所述旋转件连接,所述伸缩件远离所述扰流件一端与所述导向组件贴合连接。本发明通过扰流组件的设置,有效提高设备的烘干加工质量。

Figure 202111179584

The invention is applicable to the technical field of camellia seed processing, and provides an automatic drying equipment for camellia seeds. The automatic drying equipment for camellia seeds comprises: a box body and a control box located on the box body, wherein the box body is further provided with There is a feeding pipe; a drying mechanism is located in the box; wherein the drying mechanism includes a drive assembly, a drying assembly and a spoiler assembly used in conjunction with the drying assembly, and the spoiler assembly includes a rotating part, A guide assembly and at least one set of spoilers, the rotating piece is rotatably connected to the box through a mounting piece, and the drying assembly is arranged on the mounting piece, and the spoiler is connected to the rotating piece through a telescopic piece connected, and one end of the telescopic element away from the spoiler is closely connected with the guide assembly. The invention effectively improves the drying and processing quality of the equipment through the arrangement of the spoiler assembly.

Figure 202111179584

Description

Automatic drying equipment of tea-oil camellia seed
Technical Field
The invention relates to the technical field of camellia seed processing, in particular to automatic drying equipment for camellia seeds.
Background
The camellia seeds are the alias of camellia seeds and are fruits of camellia trees. The oil tea tree is a main woody oil tree in China and is known as an oriental tree. The camellia oil squeezed from camellia seeds is high-quality edible oil, the content of unsaturated fatty acid is more than 90%, erucic acid is not contained, and the camellia oil is more storage-resistant and less prone to rancidity than other edible oil.
Most of the existing oil tea seed drying methods are that oil tea seeds are directly laid in trays, then the trays are placed on a shelf and pushed into a drying room, and the method easily causes that the oil tea seeds covered inside are difficult to contact with high-temperature gas, so that the oil tea seeds are heated unevenly, and the oil pressing quality is seriously affected. Therefore, in view of the above current situation, it is urgently needed to provide an automatic drying device for camellia seeds to overcome the shortcomings in the current practical application.
Disclosure of Invention
The embodiment of the invention aims to provide automatic drying equipment for camellia seeds, and aims to solve the following problems: most of the existing oil tea seed drying methods are that oil tea seeds are directly laid on trays, then the trays are placed on a shelf and pushed into a drying room, and the method easily causes that the oil tea seeds covered inside are difficult to contact with high-temperature gas, so that the oil tea seeds are heated unevenly, the oil pressing quality is seriously affected, and the oil tea seeds are difficult to be widely applied.
The embodiment of the invention is realized in such a way that the automatic drying equipment for the camellia seeds comprises:
the device comprises a box body and a control box positioned on the box body, wherein the box body is also provided with a feeding pipe;
the drying mechanism is positioned in the box body; wherein the drying mechanism comprises a driving component, a drying component and a turbulence component used for being matched with the drying component for use, the turbulence component comprises a rotating part, a guiding component and at least one set of turbulence component, the rotating part is rotatably connected with the box body through an installation part, the drying component is arranged on the installation part, the guiding component is arranged in the rotating part, the guiding component is fixedly connected with the box body, the turbulence component is connected with the rotating part through a telescopic part, one end of the telescopic part, far away from the turbulence component, is connected with the guiding component in a laminating way, a resetting component is also arranged on the telescopic part, the driving component drives the rotating part to drive the turbulence component to rotate in a way that the guiding component is used as an axis to rotate by driving the installation part to rotate, and the reciprocating telescopic motion perpendicular to the rotating part is realized when the turbulence component rotates in a way that the telescopic part is matched with the guiding component in a sliding way, the drying operation of the disturbed flow oil tea seeds is realized by matching with the drying assembly.
Compared with the prior art, the embodiment of the invention has the following beneficial effects: the oil tea seed drying device is provided with the turbulence component, the rotating piece can be driven to rotate by taking the guide component as an axis through the driving component driving the mounting piece arranged in the turbulence component to rotate, so that the turbulence component mounted on the rotating piece is driven to rotate, meanwhile, the reciprocating telescopic motion perpendicular to the rotating piece is intermittently performed when the turbulence component rotates in a manner that the telescopic piece is attached to the guide component to slide, the sufficient drying operation of the oil tea seeds after stirring and turbulence can be realized by matching with the drying component, and the problems that the oil tea seeds covered in the oil tea seed drying device are difficult to contact with high-temperature gas, the oil tea seeds are heated unevenly and the oil quality is seriously affected by the existing drying method are solved.
Drawings
Fig. 1 is a schematic front view of an embodiment of the present invention.
Fig. 2 is a schematic perspective view of a drying mechanism according to an embodiment of the present invention.
Fig. 3 is a schematic bottom perspective view of the drying mechanism in the embodiment of the present invention.
Fig. 4 is a schematic partial sectional structural view of a drying mechanism in an embodiment of the present invention.
Fig. 5 is a schematic perspective view of a guide assembly according to an embodiment of the present invention.
Fig. 6 is a schematic perspective view of a portion of a telescopic member according to an embodiment of the present invention.
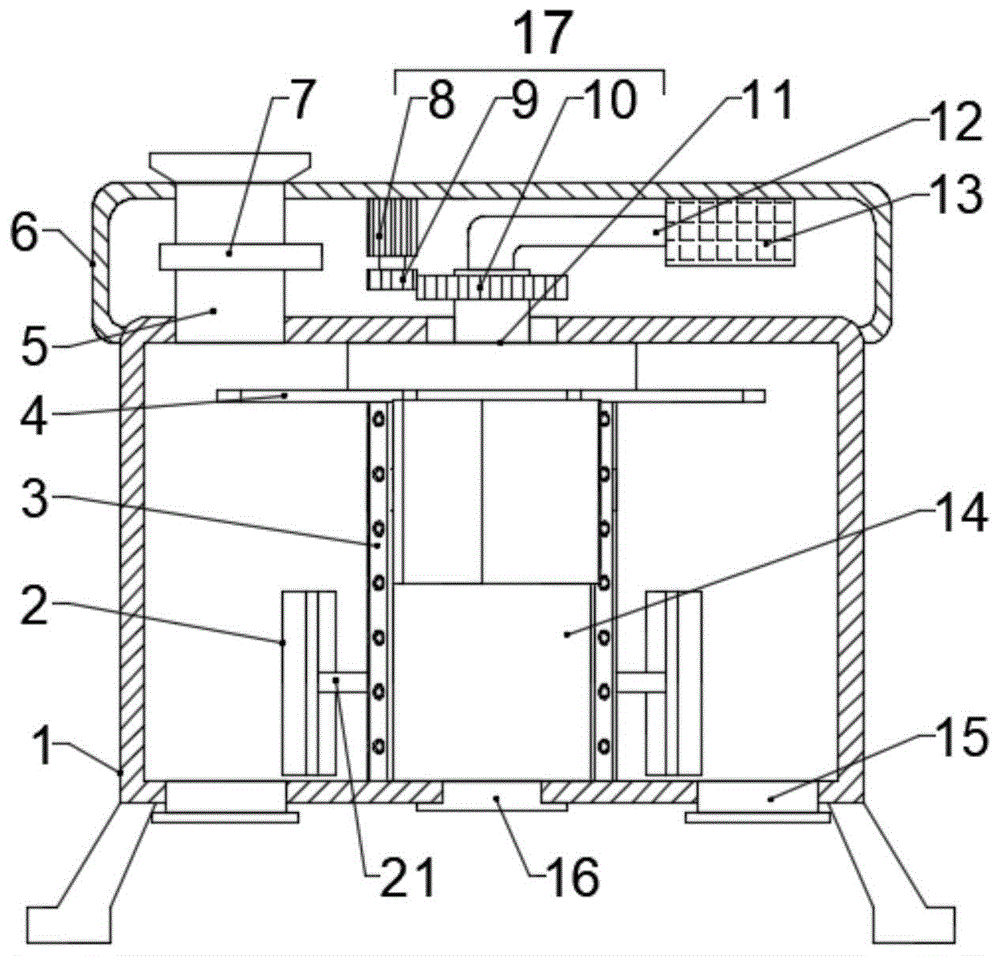
In the drawings: 1-a box body, 2-a flow disturbing component, 3-a drying component, 4-a first supporting component, 5-a feeding pipe, 6-a control box, 7-a control valve, 8-a driving unit, 9-a driving gear, 10-a driven gear, 11-a mounting component, 12-a guide pipe, 13-a heat supply component, 14-a rotating component, 15-a discharging port, 16-a second supporting component, 17-a driving component, 18-a rotating pipe, 19-a mounting platform, 20-a guiding component, 21-a telescopic component, 22-an air nozzle, 23-a linkage component, 24-a guide wheel, 25-a resetting component, 26-a flow disturbing component and 27-a drying component.
Detailed Description
In order to make the objects, technical solutions and advantages of the present invention more apparent, the present invention is described in further detail below with reference to the accompanying drawings and embodiments. It should be understood that the specific embodiments described herein are merely illustrative of the invention and are not intended to limit the invention.
Specific implementations of the present invention are described in detail below with reference to specific embodiments.
Referring to fig. 1 to 4, an automatic drying apparatus for camellia seeds according to an embodiment of the present invention includes:
the device comprises a box body 1 and a control box 6 positioned on the box body 1, wherein a feeding pipe 5 is also arranged on the box body 1;
the drying mechanism is positioned in the box body 1; wherein stoving mechanism includes drive assembly 17, stoving subassembly 27 and is used for cooperating the vortex subassembly 26 that stoving subassembly 27 used, vortex subassembly 26 includes rotating member 14, direction subassembly and at least a set of vortex spare 2, rotating member 14 through installed part 11 with box 1 rotates to be connected, and stoving subassembly 27 set up in on the installed part 11, the direction subassembly set up in rotating member 14, and direction subassembly and box 1 fixed connection, vortex spare 2 through extensible member 21 with rotating member 14 is connected, extensible member 21 keeps away from vortex spare 2 one end with the direction subassembly laminating is connected, and still is provided with reset 25 on the extensible member 21, drive assembly 17 rotates through driving installed part 11, drives rotating member 14 and uses direction subassembly to drive vortex spare 2 for the mode of axle pivoted to rotate, cooperates the gliding mode of direction subassembly of extensible member 21 laminating, the turbulent flow piece 2 rotates and does reciprocating telescopic motion perpendicular to the rotating piece 14, and the drying assembly 27 is matched to achieve drying operation of the disturbed flow oil-tea camellia seeds.
In the embodiment of the invention, firstly, the camellia seeds to be processed are conveyed into the box body 1 through the feeding pipe 5 during working, the drying component 27 works to realize the drying treatment of the camellia seeds, meanwhile, the driving component 17 drives the mounting component 11 to rotate, so as to drive the rotating component 14 to rotate, so as to drive the turbulence component 2 mounted on the rotating component 14 to rotate, and the turbulence component 2 is used to realize the stirring turbulence treatment of the camellia seeds in the box body 1, so that the turbulence component 2 is attached to the guide component to slide, so as to realize the reciprocating telescopic motion perpendicular to the rotating component 14 when the turbulence component 2 rotates, the camellia seeds covered inside are sufficiently dried by matching with the drying component 27, and further the oil extraction quality is improved, wherein the telescopic component 21 adopts a rod-shaped structure, the telescopic component 21 is connected with the rotating component 14 in a sliding manner, and the reset component 25 can adopt a spring, the resetting piece 25 is used for facilitating the close fit connection between the telescopic piece 21 and the guide assembly; compared with the prior art, the oil-tea camellia seed drying device is provided with the turbulence component 26, the driving component 17 drives the mounting component 11 arranged in the turbulence component 26 to rotate, so that the rotating component 14 can be driven to rotate by taking the guide component as an axis, the turbulence component 2 mounted on the rotating component 14 is driven to rotate, meanwhile, the expansion component 21 is matched with the sliding mode of the guide component, the turbulence component 2 intermittently performs reciprocating expansion and contraction motion perpendicular to the rotating component 14 while rotating, the full drying operation of the oil-tea camellia seed after stirring turbulence can be realized by matching with the drying component 27, and the problems that the oil-tea camellia seed covered in the oil-tea camellia seed drying device is difficult to contact with high-temperature gas due to the fact that the existing drying method easily causes uneven heating of the oil-tea camellia seed and the oil quality is seriously affected are solved.
In an embodiment of the present invention, referring to fig. 1-3, the drying assembly 27 includes:
at least one set of first supports 4 connected to the mounting 11;
the drying part 3 is arranged on the first support part 4, wherein at least one group of air nozzles 22 are further arranged on the drying part 3; and
a heat supply unit 13 disposed in the control box 6 for supplying gas with temperature to the drying unit 3.
In this embodiment, a plurality of groups of the first supporting members 4 are uniformly distributed on the mounting member 11, the first supporting members 4 and the drying member 3 can both adopt a plate-shaped structure, the drying member 3 and the first supporting member 4 are connected in a sliding manner, the heat supplying member 13 can adopt a hot air blower, and the heat supplying member 13 and the mounting member 11 are connected through a conduit 12, wherein the connection modes of the air nozzle 22, the drying member 3, the mounting member 11 and the air conduit between the conduit 12 are not particularly limited, and can be flexibly applied in practical use; during operation can be to the box 1 internal release gas that has the temperature through drying 3, can also realize controlling gaseous temperature through heat supply 13, is convenient for dry the processing.
In an embodiment of the present invention, referring to fig. 1-3, the drying assembly 27 further includes:
and the linkage piece 23 is used for connecting the drying piece 3 and the turbulence component 26.
In this embodiment, the linkage member 23 may be a linkage plate, one end of the linkage member 23 is fixedly connected to the expansion member 21, and the other end of the linkage member 23 is fixedly connected to the drying member 3; during operation can drive stoving piece 3 through the motion of extensible member 21 and reciprocate to slide on first support piece 4, cooperates the stirring vortex effect of vortex piece 2 simultaneously, effectively improves drying quality.
In one embodiment of the present invention, referring to fig. 4 and 5, the guide assembly includes:
the second supporting piece 16 is fixedly connected with the box body 1, and the second supporting piece 16 is rotatably connected with the rotating piece 14; and
at least one set of guides 20 is located on the second support 16.
In this embodiment, the second supporting member 16 may be a supporting shaft, the guiding member 20 is a guiding block, and the top projection of the guiding member 20 is a circular arc structure with a convex surface, so that the guiding member 20 facilitates the telescopic member 21 to perform the reciprocating telescopic motion of the spoiler 2 perpendicular to the rotating member 14 when sliding on the side surface of the guiding member 20.
In one embodiment of the present invention, referring to fig. 1 and 2, the mounting member 11 includes:
a mounting table 19 connected to the rotary member 14, wherein the mounting table 19 and the first support member 4 are communicated with each other; and
a rotating pipe 18 positioned on the mounting table 19 is connected with the driving assembly 17.
In this embodiment, the rotating tube 18 is rotatably connected to the box body 1, and the rotating member 14 can rotate in the box body 1 conveniently through the cooperation between the rotating tube 18 and the mounting platform 19.
In one embodiment of the present invention, referring to fig. 1, the driving assembly 17 includes:
a drive unit 8 located within the control box 6; and
a transmission for connection between the drive unit 8 and the mounting 11.
In this embodiment, drive unit 8 can adopt servo motor, the driving medium includes driving gear 9 and driven gear 10, driving gear 9 with drive unit 8's output shaft is connected, driven gear 10 with 18 fixed connection of commentaries on classics pipe, and driven gear 10 and driving gear 9 intermeshing can drive installed part 11 through drive unit 8, driving gear 9 and driven gear 10 mutually supporting and rotate.
In an embodiment of the present invention, referring to fig. 1, the spoiler 2 has a wavy plate-shaped structure; in this embodiment, the wavy structure through vortex piece 2 is convenient for improve its vortex effect for the camellia seed that covers inside is thoroughly turned over, and then improves drying quality.
In an embodiment of the present invention, referring to fig. 1, the rotating member 14 is a cylindrical structure, and the inside of the rotating member 14 is a hollow structure; in this embodiment, the rotating member 14 may be made of a high temperature resistant material, so as to improve the service life of the device.
In an embodiment of the present invention, referring to fig. 1, the feeding pipe 5 is further provided with a control valve 7 for controlling the amount of camellia seeds entering the box body 1, wherein the bottom of the box body 1 is further provided with a feeding port 15; in this embodiment, be convenient for discharge the tea-oil camellia seed of processing completion through feed opening 15, be convenient for control the feeding volume through control valve 7, avoid the tea-oil camellia seed to form in box 1 and pile up, improve the stoving processingquality of tea-oil camellia seed.
In an embodiment of the present invention, please refer to fig. 6, further comprising a guide wheel 24, wherein the guide wheel 24 is disposed on the telescopic member 21; in this embodiment, the guide wheel 24 is rotatably connected with the telescopic member 21, and the guide wheel 24 facilitates the telescopic member 21 to slide on the surface of the guide member 20, thereby improving the stability of the device during operation.
In this embodiment, the control of the control valve 7, the driving unit 8, and the heat supplying member 13 may be performed by using a PLC controller disclosed in the prior art, and the specific types and circuit connections of the PLC controller, the control valve 7, the driving unit 8, and the heat supplying member 13 are not specifically limited, and may be flexibly set in actual application.
In summary, the working principle of the invention is as follows: when in work, firstly, the oil-tea camellia seeds to be processed are conveyed into the box body 1 through the feed pipe 5, the feed quantity can be automatically controlled through the control valve 7 arranged on the feed pipe 5, thereby improving the drying treatment efficiency, realizing the drying treatment of the camellia seeds by the operation of the drying component 27, meanwhile, the driving component 17 with the same structure drives the mounting component 11 to rotate, so as to drive the rotating component 14 to rotate, thereby driving the turbulence member 2 arranged on the rotating member 14 to rotate, realizing the stirring and turbulence treatment of the camellia seeds in the box body 1 through the turbulence member 2, leading the camellia seeds, slide on the direction subassembly through the laminating of extensible member 21, realize vortex piece 2 in the pivoted, the reciprocating telescoping motion of perpendicular to rotating member 14 is done to intermittent type nature, and cooperation stoving subassembly 27 makes the tea-oil camellia seed that covers in inside obtain abundant drying process, and then improves the quality of extracting oil, and the tea-oil camellia seed that the processing was accomplished can discharge through feed opening 15.
The above description is only for the purpose of illustrating the preferred embodiments of the present invention and is not to be construed as limiting the invention, and any modifications, equivalents and improvements made within the spirit and principle of the present invention are intended to be included within the scope of the present invention.

Claims (10)

1.一种油茶籽自动烘干设备,其特征在于,所述油茶籽自动烘干设备包括:1. an automatic drying equipment for Camellia oleifera seeds, is characterized in that, the automatic drying equipment for Camellia oleifera seeds comprises: 箱体以及位于箱体上的控制箱,其中所述箱体上还设置有进料管;a box body and a control box located on the box body, wherein the box body is also provided with a feeding pipe; 烘干机构,位于所述箱体内;其中所述烘干机构包括驱动组件、烘干组件以及用于配合烘干组件使用的扰流组件,所述扰流组件包括旋转件、导向组件以及至少一组扰流件,所述旋转件通过安装件与所述箱体转动连接,且烘干组件设置于所述安装件上,所述导向组件设置于所述旋转件内,且导向组件与箱体固定连接,所述扰流件通过伸缩件与所述旋转件连接,所述伸缩件远离所述扰流件一端与所述导向组件贴合连接,且伸缩件上还设置有复位件,驱动组件通过带动安装件转动,带动旋转件以导向组件为轴转动的方式带动扰流件转动,配合伸缩件贴合导向组件滑动的方式,实现扰流件在转动的同时,做垂直于旋转件的往复伸缩运动,配合烘干组件实现对扰流后油茶籽的烘干作业。A drying mechanism, located in the box; wherein the drying mechanism includes a drive assembly, a drying assembly and a spoiler assembly used in conjunction with the drying assembly, the spoiler assembly including a rotating member, a guide assembly and at least one A set of spoilers, the rotating member is rotatably connected to the box body through a mounting piece, the drying component is arranged on the mounting piece, the guide component is arranged in the rotating piece, and the guide component is connected to the box body Fixed connection, the spoiler is connected to the rotating member through a telescopic piece, the end of the telescopic piece away from the spoiler is connected to the guide assembly, and the telescopic piece is also provided with a reset piece to drive the assembly. By driving the mounting piece to rotate, driving the rotating piece to rotate the spoiler with the guide assembly as the axis, and cooperating with the telescopic piece to fit the guide assembly to slide, so that the spoiler rotates and reciprocates perpendicular to the rotating piece at the same time. Telescopic movement, cooperate with drying components to realize the drying of camellia seeds after turbulence. 2.根据权利要求1所述的油茶籽自动烘干设备,其特征在于,所述烘干组件包括:2. Camellia oil automatic drying equipment according to claim 1, is characterized in that, described drying component comprises: 至少一组第一支撑件,与所述安装件相连接;at least one set of first support members connected with the mounting member; 烘干件,所述烘干件设置于所述第一支撑件上,其中所述烘干件上还设置有至少一组喷气口;以及a drying piece, the drying piece is arranged on the first support piece, wherein the drying piece is further provided with at least one group of air jets; and 位于所述控制箱内的供热件,用于向所述烘干件提供带有温度的气体。The heating element located in the control box is used for supplying gas with temperature to the drying element. 3.根据权利要求2所述的油茶籽自动烘干设备,其特征在于,所述烘干组件还包括:3. Camellia oil automatic drying equipment according to claim 2, is characterized in that, described drying assembly also comprises: 联动件,用于所述烘干件与所述扰流组件之间的连接。The linkage part is used for the connection between the drying part and the spoiler assembly. 4.根据权利要求1所述的油茶籽自动烘干设备,其特征在于,所述导向组件包括:4. Camellia oil automatic drying equipment according to claim 1, is characterized in that, described guide assembly comprises: 第二支撑件,所述第二支撑件与所述箱体之间固定连接,第二支撑件与所述旋转件之间转动连接;以及a second supporting member, the second supporting member is fixedly connected to the box body, and the second supporting member is rotatably connected to the rotating member; and 至少一组导向件,位于所述第二支撑件上。At least one set of guide members is located on the second support member. 5.根据权利要求2所述的油茶籽自动烘干设备,其特征在于,所述安装件包括:5. Camellia oil automatic drying equipment according to claim 2, is characterized in that, described installation piece comprises: 安装台,与所述旋转件相连接,且安装台与所述第一支撑件相互连通;以及an installation table, connected with the rotating member, and the installation table and the first support member communicate with each other; and 位于所述安装台上的转管,与所述驱动组件相连接。The rotating tube located on the mounting table is connected with the driving assembly. 6.根据权利要求1所述的油茶籽自动烘干设备,其特征在于,所述驱动组件包括:6. Camellia oil automatic drying equipment according to claim 1, is characterized in that, described drive assembly comprises: 驱动单元,位于所述控制箱内;以及a drive unit located within the control box; and 传动件,用于所述驱动单元与所述安装件之间的连接。A transmission part is used for the connection between the driving unit and the mounting part. 7.根据权利要求1所述的油茶籽自动烘干设备,其特征在于,所述扰流件为波浪形板状结构。7 . The automatic drying equipment for camellia seeds according to claim 1 , wherein the spoiler is a wavy plate-like structure. 8 . 8.根据权利要求1所述的油茶籽自动烘干设备,其特征在于,所述旋转件为圆柱形结构,且旋转件内部为中空结构。8 . The automatic drying equipment for camellia seeds according to claim 1 , wherein the rotating member is a cylindrical structure, and the interior of the rotating member is a hollow structure. 9 . 9.根据权利要求1所述的油茶籽自动烘干设备,其特征在于,所述进料管上还设置有控制阀,用于对进入所述箱体内油茶籽的量进行控制。9 . The automatic drying equipment for camellia seeds according to claim 1 , wherein a control valve is further provided on the feed pipe for controlling the amount of camellia seeds entering the box. 10 . 10.根据权利要求1所述的油茶籽自动烘干设备,其特征在于,还包括导轮,所述导轮设置于所述伸缩件上。10 . The automatic drying equipment for camellia seeds according to claim 1 , further comprising a guide wheel, and the guide wheel is arranged on the telescopic piece. 11 .
CN202111179584.XA 2021-10-11 2021-10-11 Automatic drying equipment of tea-oil camellia seed Active CN113819732B (en)

Priority Applications (1)

Application Number Priority Date Filing Date Title
CN202111179584.XA CN113819732B (en) 2021-10-11 2021-10-11 Automatic drying equipment of tea-oil camellia seed

Applications Claiming Priority (1)

Application Number Priority Date Filing Date Title
CN202111179584.XA CN113819732B (en) 2021-10-11 2021-10-11 Automatic drying equipment of tea-oil camellia seed

Publications (2)

Publication Number Publication Date
CN113819732A true CN113819732A (en) 2021-12-21
CN113819732B CN113819732B (en) 2022-09-02

Family

ID=78920069

Family Applications (1)

Application Number Title Priority Date Filing Date
CN202111179584.XA Active CN113819732B (en) 2021-10-11 2021-10-11 Automatic drying equipment of tea-oil camellia seed

Country Status (1)

Country Link
CN (1) CN113819732B (en)

Citations (6)

* Cited by examiner, † Cited by third party
Publication number Priority date Publication date Assignee Title
JPS6458511A (en) * 1987-08-29 1989-03-06 Matsuji Nakagome Apparatus for drying plastic particle
CN107062847A (en) * 2017-03-22 2017-08-18 无锡职业技术学院 A kind of high efficiency flash drying machine
CN208296513U (en) * 2018-03-29 2018-12-28 湖南聚尔康茶油生物科技有限公司 A kind of tea seed drying box
CN208720697U (en) * 2018-09-14 2019-04-09 金溪斯普瑞药业有限公司 A kind of drying kettle of pharmaceutical intermediate
CN210901326U (en) * 2019-07-08 2020-07-03 玛依努尔·赛买提 Livestock feed drying device
CN113091440A (en) * 2021-05-11 2021-07-09 曾坤 Intelligent drying and forming system and method for concentrated granular pig feed

Patent Citations (6)

* Cited by examiner, † Cited by third party
Publication number Priority date Publication date Assignee Title
JPS6458511A (en) * 1987-08-29 1989-03-06 Matsuji Nakagome Apparatus for drying plastic particle
CN107062847A (en) * 2017-03-22 2017-08-18 无锡职业技术学院 A kind of high efficiency flash drying machine
CN208296513U (en) * 2018-03-29 2018-12-28 湖南聚尔康茶油生物科技有限公司 A kind of tea seed drying box
CN208720697U (en) * 2018-09-14 2019-04-09 金溪斯普瑞药业有限公司 A kind of drying kettle of pharmaceutical intermediate
CN210901326U (en) * 2019-07-08 2020-07-03 玛依努尔·赛买提 Livestock feed drying device
CN113091440A (en) * 2021-05-11 2021-07-09 曾坤 Intelligent drying and forming system and method for concentrated granular pig feed

Also Published As

Publication number Publication date
CN113819732B (en) 2022-09-02

Similar Documents

Publication Publication Date Title
CN108375294A (en) A kind of intelligent grain drying convenient for selection being heated evenly
CN113819732B (en) Automatic drying equipment of tea-oil camellia seed
CN219664238U (en) Automatic gluing machine of production heater with adjustable
CN206919585U (en) The uniform electromechanical mechanical drying machine of one kind baking
CN115812811A (en) Fermentation equipment for tea processing
CN207197137U (en) A kind of organic fertilizer raw material stoving odor removal
CN206803659U (en) A kind of tea drier for being easy to cleaning
CN222504155U (en) Air conditioner capable of indoor dust treatment
CN211782487U (en) Dehydration drying device of seed
CN119713807A (en) A sodium benzoate rapid drying device
CN119522993A (en) Automatic fermentation equipment for tea processing
CN211989291U (en) A kind of spraying equipment for environmental protection furniture production
CN208108756U (en) A kind of circulating coffee bean dryer
CN211688952U (en) Automatic stir-fry material device of rapeseed oil raw materials
CN209768926U (en) Flaxseed processing is with turning over stir-fry device
CN222871343U (en) Spray drying device for closed cycle
CN220123906U (en) A cleaning device for fruit and vegetable processing
CN221036423U (en) Metal infiltration tank with drying equipment
CN222104117U (en) A feed dehumidifier for feed production
CN212018391U (en) A glue baking machine
CN221368736U (en) Fodder holds mechanism
CN216953879U (en) Basic copper carbonate quick drying device who is heated evenly
CN223663627U (en) An art ceramic drying device
CN220689604U (en) Drying device convenient to stir
CN218065839U (en) Seed drying device that disinfects

Legal Events

Date Code Title Description
PB01 Publication
PB01 Publication
SE01 Entry into force of request for substantive examination
SE01 Entry into force of request for substantive examination
GR01 Patent grant
GR01 Patent grant
TR01 Transfer of patent right
TR01 Transfer of patent right

Effective date of registration: 20231213

Address after: 421200 Shuanglong Village, Yintian Town, Changning City, Hengyang City, Hunan Province

Patentee after: Changning Qunfu Ecological Agriculture Development Co.,Ltd.

Address before: 410000 507, block a, building 1, Huazhi Biotechnology Co., Ltd., No. 618, Heping Road, Longping high tech park, Furong district, Changsha City, Hunan Province

Patentee before: Hunan Linda Biotechnology Co.,Ltd.