CN113520552B - Amnion membrane rupture device suitable for gynaecology and obstetrics - Google Patents

Amnion membrane rupture device suitable for gynaecology and obstetrics Download PDF

Info

Publication number
CN113520552B
CN113520552B CN202110840571.6A CN202110840571A CN113520552B CN 113520552 B CN113520552 B CN 113520552B CN 202110840571 A CN202110840571 A CN 202110840571A CN 113520552 B CN113520552 B CN 113520552B
Authority
CN
China
Prior art keywords
cylinder
ring
cutter head
seat
adsorption
Prior art date
Legal status (The legal status is an assumption and is not a legal conclusion. Google has not performed a legal analysis and makes no representation as to the accuracy of the status listed.)
Active
Application number
CN202110840571.6A
Other languages
Chinese (zh)
Other versions
CN113520552A (en
Inventor
范开玲
Current Assignee (The listed assignees may be inaccurate. Google has not performed a legal analysis and makes no representation or warranty as to the accuracy of the list.)
Quanzhou Maker Maternity Hospital Co ltd
Original Assignee
Quanzhou Maker Maternity Hospital Co ltd
Priority date (The priority date is an assumption and is not a legal conclusion. Google has not performed a legal analysis and makes no representation as to the accuracy of the date listed.)
Filing date
Publication date
Application filed by Quanzhou Maker Maternity Hospital Co ltd filed Critical Quanzhou Maker Maternity Hospital Co ltd
Priority to CN202110840571.6A priority Critical patent/CN113520552B/en
Publication of CN113520552A publication Critical patent/CN113520552A/en
Application granted granted Critical
Publication of CN113520552B publication Critical patent/CN113520552B/en
Active legal-status Critical Current
Anticipated expiration legal-status Critical

Links

Images

Classifications

    • AHUMAN NECESSITIES
    • A61MEDICAL OR VETERINARY SCIENCE; HYGIENE
    • A61BDIAGNOSIS; SURGERY; IDENTIFICATION
    • A61B17/00Surgical instruments, devices or methods
    • A61B17/42Gynaecological or obstetrical instruments or methods
    • A61B17/4208Instruments for rupturing the amniotic membrane
    • AHUMAN NECESSITIES
    • A61MEDICAL OR VETERINARY SCIENCE; HYGIENE
    • A61BDIAGNOSIS; SURGERY; IDENTIFICATION
    • A61B90/00Instruments, implements or accessories specially adapted for surgery or diagnosis and not covered by any of the groups A61B1/00 - A61B50/00, e.g. for luxation treatment or for protecting wound edges
    • A61B90/08Accessories or related features not otherwise provided for
    • AHUMAN NECESSITIES
    • A61MEDICAL OR VETERINARY SCIENCE; HYGIENE
    • A61BDIAGNOSIS; SURGERY; IDENTIFICATION
    • A61B90/00Instruments, implements or accessories specially adapted for surgery or diagnosis and not covered by any of the groups A61B1/00 - A61B50/00, e.g. for luxation treatment or for protecting wound edges
    • A61B90/08Accessories or related features not otherwise provided for
    • A61B2090/0801Prevention of accidental cutting or pricking
    • A61B2090/08021Prevention of accidental cutting or pricking of the patient or his organs
    • AHUMAN NECESSITIES
    • A61MEDICAL OR VETERINARY SCIENCE; HYGIENE
    • A61BDIAGNOSIS; SURGERY; IDENTIFICATION
    • A61B2217/00General characteristics of surgical instruments
    • A61B2217/002Auxiliary appliance
    • A61B2217/005Auxiliary appliance with suction drainage system
    • AHUMAN NECESSITIES
    • A61MEDICAL OR VETERINARY SCIENCE; HYGIENE
    • A61BDIAGNOSIS; SURGERY; IDENTIFICATION
    • A61B2217/00General characteristics of surgical instruments
    • A61B2217/002Auxiliary appliance
    • A61B2217/007Auxiliary appliance with irrigation system

Landscapes

  • Health & Medical Sciences (AREA)
  • Surgery (AREA)
  • Life Sciences & Earth Sciences (AREA)
  • Biomedical Technology (AREA)
  • Medical Informatics (AREA)
  • Veterinary Medicine (AREA)
  • Public Health (AREA)
  • Engineering & Computer Science (AREA)
  • General Health & Medical Sciences (AREA)
  • Heart & Thoracic Surgery (AREA)
  • Nuclear Medicine, Radiotherapy & Molecular Imaging (AREA)
  • Molecular Biology (AREA)
  • Animal Behavior & Ethology (AREA)
  • Gynecology & Obstetrics (AREA)
  • Pregnancy & Childbirth (AREA)
  • Reproductive Health (AREA)
  • Oral & Maxillofacial Surgery (AREA)
  • Pathology (AREA)
  • Infusion, Injection, And Reservoir Apparatuses (AREA)

Abstract

The invention provides an amniotic membrane rupture device with high safety suitable for obstetrics and gynecology department, relates to the technical field of medical instruments, and solves the problems that safe limiting can not be realized due to the extension distance of a tool bit, if the extension distance is too long, a baby can be easily cut, and limiting can not be realized after the conventional device is inserted into a pudendum, if the conventional device is carelessly collided in operation, the baby can be easily bruised. An amnion membrane rupturing device with high safety suitable for obstetrics and gynecology department comprises a cylinder body; the film breaking mechanism is connected in the barrel in a sliding mode, the drainage structure is arranged in the barrel, and the blocking seat is further arranged on the barrel. Because the cutter head seat is provided with the mixing holes in an annular array shape, the mixing holes are in a conical hole structure, and the mixing holes are in a vortex shape when the push rod is pushed up and down, the vortex formed at the mixing holes can be used for impact cleaning of blockages at the cutter head holes.

Description

一种适用于妇产科的羊膜破膜器A kind of amniotic membrane breaker suitable for obstetrics and gynecology

技术领域technical field

本发明属于医疗器械技术领域,更具体地说,特别涉及一种适用于妇产科的羊膜破膜器。The invention belongs to the technical field of medical instruments, and more specifically relates to an amniotic membrane breaker suitable for obstetrics and gynecology.

背景技术Background technique

目前,在临床产科中,有时需要采用人工破膜的方法来辅助生产。At present, in clinical obstetrics, it is sometimes necessary to use artificial rupture of membranes to assist production.

如申请号:CN201810207584.8,本发明公开了一种具有清洗功能的产科羊膜破膜器,该破膜器包括下端封闭的圆形外管、可沿外管内壁滑动的圆柱形刀架、与刀架底面连接的推管、安装在刀架顶面圆周上的多个刺刀,所述刀架设置有顶面开口的圆形凹槽,所述圆形凹槽内置有压缩海绵球,所述压缩海绵球的下端连接有推杆,所述外管顶端设置有阴部撑开圈,所述阴部撑开圈端面上开设有喷液孔,所述推管的管壁上设置有进液通道和排液通道。类似于上述申请的羊膜破膜器目前还存在以下几点不足:For example, the application number: CN201810207584.8, the present invention discloses an obstetric amniotic membrane rupturer with cleaning function, which includes a circular outer tube with a closed lower end, a cylindrical knife holder that can slide along the inner wall of the outer tube, and The push tube connected to the bottom surface of the knife rest, and a plurality of bayonets installed on the circumference of the top surface of the knife rest, the said knife rest is provided with a circular groove with an opening on the top surface, and said circular groove is built with compressed sponge balls, said The lower end of the compressed sponge ball is connected with a push rod, and the top of the outer tube is provided with a pudendal expansion ring, and the end surface of the pudendal expansion ring is provided with a liquid spray hole, and the wall of the push tube is provided with a liquid inlet channel and drain channel. Similar to the amniotic membrane rupture device of the above-mentioned application, there are still the following deficiencies at present:

一个是,现有装置在对羊膜破膜时安全性较低,具体体现在:刀头伸出距离不能够实现安全限位,如伸出过长容易割伤其婴儿,且现有装置在插入阴部后不能够进行限位,如在操作中不慎碰撞容易导致撞伤婴儿;再者是,现有装置防护能力较弱,如不慎掉落容易导致刀头损伤;最后是,现有装置在排液过程中容易导致出现堵塞现象,且自身结构不能够实现堵塞处的清理。One is that the safety of the existing device is low when the amniotic membrane is ruptured, which is specifically reflected in the fact that the extension distance of the cutter head cannot realize a safe limit, and if the extension is too long, it is easy to cut the baby, and the existing device is inserted. It is not possible to limit the position behind the genitals, and if it accidentally collides during operation, it may easily cause injury to the baby; moreover, the existing device has weak protection ability, and if it is accidentally dropped, it may easily cause damage to the cutter head; finally, the existing device It is easy to cause blockage during the liquid discharge process, and its own structure cannot realize the cleaning of the blockage.

于是,有鉴于此,针对现有的结构及缺失予以研究改良,提供一种适用于妇产科的羊膜破膜器,以期达到更具有更加实用价值性的目的。Therefore, in view of this, the existing structure and defects are studied and improved, and an amniotic membrane rupture device suitable for obstetrics and gynecology is provided, in order to achieve the purpose of having more practical value.

发明内容Contents of the invention

为了解决上述技术问题,本发明提供一种适用于妇产科的羊膜破膜器,以解决现有一个是,现有装置在对羊膜破膜时安全性较低,具体体现在:刀头伸出距离不能够实现安全限位,如伸出过长容易割伤其婴儿,且现有装置在插入阴部后不能够进行限位,如在操作中不慎碰撞容易导致撞伤婴儿;再者是,现有装置防护能力胶乳,如不慎掉落容易导致刀头损伤;最后是,现有装置在排液过程中容易导致出现堵塞现象,且自身结构不能够试下堵塞处的清理的问题。In order to solve the above-mentioned technical problems, the present invention provides an amniotic membrane rupture device suitable for obstetrics and gynecology to solve the problem that the existing device is less safe when the amniotic membrane is ruptured, which is specifically reflected in: the knife head extends The distance cannot be safely limited. If it is too long, it will easily cut the baby, and the existing device cannot be limited after being inserted into the genitals. If it accidentally collides during operation, it will easily cause the baby to be injured; Firstly, if the protective latex of the existing device is accidentally dropped, it will easily cause damage to the cutter head; finally, the existing device is prone to clogging during the drainage process, and its own structure cannot solve the problem of cleaning the clogged place.

本发明一种适用于妇产科的羊膜破膜器的目的与功效,由以下具体技术手段所达成:The purpose and effect of a kind of amniotomy device suitable for obstetrics and gynecology of the present invention are achieved by the following specific technical means:

根据本发明提供一种适用于妇产科的羊膜破膜器,包括筒体和破膜机构,所述筒体内滑动连接有破膜机构,且筒体内设置有引流结构,并且筒体上还设置有挡座;所述筒体包括阴部撑开圈和限位环A,所述筒体的前端外周壁上套接有一个阴部撑开圈,且筒体前端内周壁上设有限位环A,用于限制所述破膜机构的外伸距离。According to the present invention, there is provided an amniotic membrane breaker suitable for obstetrics and gynecology, which includes a cylinder body and a membrane rupture mechanism. There is a stopper; the cylinder includes a genital expansion ring and a limit ring A, a genital expansion ring is sleeved on the outer peripheral wall of the front end of the cylinder, and a limit ring A is provided on the inner peripheral wall of the front end of the cylinder, It is used to limit the extension distance of the rupture mechanism.

优选地,所述筒体还设有限位环B,所述筒体内壁熔接有一个限位环B;所述破膜机构包括刀头座、刀头、推杆、挡环和弹性件,所述刀头座为圆柱形结构,且刀头座可滑动连接在筒体内,并且刀头座上呈环形阵列状安装有刀头;所述推杆熔接在刀头座底端面,且推杆上熔接有挡环,并且推杆套接有一个弹性件;所述弹性件头端与限位环B底端面接触,且弹性件尾端与挡环顶端面接触,并且弹性件组成了刀头座和刀头的弹性复位结构,从而在非使用状态下刀头座和刀头呈隐藏状态。Preferably, the cylinder is also provided with a limit ring B, and a limit ring B is welded to the inner wall of the cylinder; the membrane rupture mechanism includes a cutter head seat, a cutter head, a push rod, a retaining ring and an elastic member. The cutter head seat is a cylindrical structure, and the cutter head seat can be slidably connected in the cylinder body, and the cutter head seat is equipped with cutter heads in a circular array; the push rod is welded on the bottom end surface of the cutter head seat, and the push rod The stop ring is welded, and the push rod is sleeved with an elastic piece; the head end of the elastic piece is in contact with the bottom surface of the limit ring B, and the tail end of the elastic piece is in contact with the top surface of the stop ring, and the elastic piece forms the tool head seat And the elastic reset structure of the cutter head, so that the cutter head seat and the cutter head are hidden in the non-use state.

优选地,刀头座设有混合孔,所述刀头座上呈环形阵列状开设有混合孔,且混合孔为锥形孔状结构。Preferably, the cutter head seat is provided with mixing holes, and the cutter head seat is provided with mixing holes in an annular array, and the mixing holes are in the shape of tapered holes.

优选地,引流结构包括多组引流通道,每组引流通道包括头孔、连接孔和尾孔,头孔、连接孔和尾孔依次连通,且多个所述引流通道成环形陈列开设于于筒体的壁上。Preferably, the drainage structure includes multiple groups of drainage channels, each group of drainage channels includes a head hole, a connecting hole and a tail hole, and the head hole, connecting hole and tail hole are connected in sequence, and a plurality of the drainage channels are arranged in a ring and opened in the cylinder on the wall of the body.

优选地,所述引流通道共设有两处,且每处头端引流通道均包括两个所述头孔;两个所述头孔均与对应的连接孔相连通。Preferably, there are two drainage channels, and each head-end drainage channel includes two head holes; both head holes communicate with corresponding connection holes.

优选地,所述头孔和尾孔均呈倾斜状开设于筒体上。Preferably, both the head hole and the tail hole are obliquely opened on the barrel.

优选地,所述筒体还包括引流管和螺纹,所述筒体的外周壁开设有螺纹,且筒体后端外壁上还熔接有一根与筒体内腔连通的引流管,并且引流管组成了辅助引流结构。Preferably, the cylinder also includes a drainage tube and threads, the outer peripheral wall of the cylinder is provided with threads, and a drainage tube communicating with the inner cavity of the cylinder is welded on the outer wall of the rear end of the cylinder, and the drainage tube constitutes Auxiliary drainage structure.

优选地,所述挡座内壁开设有螺纹槽,且挡座与螺纹螺纹式连接,并且挡座组成了筒体的插入深度可调式限位结构。Preferably, the inner wall of the retaining seat is provided with a threaded groove, and the retaining seat is threadedly connected with the thread, and the retaining seat constitutes an adjustable insertion depth limiting structure of the cylinder.

优选地,所述挡座头端经倒角处理,且挡座为阶梯座状结构;所述挡座的高度大于螺纹的高度,且挡座组成了螺纹的防护结构。Preferably, the head end of the blocking seat is chamfered, and the blocking seat has a stepped seat-like structure; the height of the blocking seat is greater than the height of the thread, and the blocking seat constitutes a thread protection structure.

与现有技术相比,本发明具有如下有益效果:Compared with the prior art, the present invention has the following beneficial effects:

通过筒体和破膜机构的配合设置,可实现安全距离的切割,且在不慎掉落时可实现刀头的自我保护,并且还可实现头孔处堵塞物的冲击式清理,具体如下:第一,筒体外壁上方位置套接有一个阴部撑开圈,且筒体内壁上方位置熔接有一个限位环A,并且当刀头座与限位环A底端面接触时刀头露出预设长度,从而可防止刀头露出过长导致割伤婴儿;第二,因刀头座为圆柱形结构,且刀头座滑动连接在筒体内,并且刀头座上呈环形阵列状安装有刀头;推杆熔接在刀头座底端面,且推杆上熔接有挡环,并且推杆外壁套接有一个弹性件;弹性件头端与限位环B底端面接触,且弹性件尾端与挡环顶端面接触,并且弹性件组成了刀头座和刀头的弹性复位结构,从而在非使用状态下刀头座和刀头呈隐藏状态,从而避免本装不慎掉落导致刀头受损;第三,因刀头座上呈环形阵列状开设有混合孔,且混合孔为锥形孔状结构,并且当上下推动推杆时混合孔处呈涡流状,从而通过混合孔处形成的涡流可头孔处堵塞物的冲击式清理。Through the coordinated setting of the cylinder body and the membrane breaking mechanism, the cutting at a safe distance can be realized, and the self-protection of the cutter head can be realized when it is accidentally dropped, and the impact cleaning of the blockage at the head hole can also be realized, as follows: First, a genital expansion ring is sleeved on the upper part of the outer wall of the cylinder, and a limit ring A is welded on the upper part of the inner wall of the cylinder, and when the cutter head seat contacts the bottom end surface of the limit ring A, the cutter head is exposed Length, so as to prevent the cutting head from being exposed too long to cut the baby; second, because the head seat is a cylindrical structure, and the head seat is slidably connected in the cylinder, and the head is installed in a circular array on the head seat ; The push rod is welded on the bottom end surface of the cutter head seat, and a stop ring is welded on the push rod, and an elastic piece is sleeved on the outer wall of the push rod; the head end of the elastic piece is in contact with the bottom end surface of the limit ring B, and the tail end of the elastic piece is in contact with The top surface of the retaining ring is in contact, and the elastic member constitutes the elastic reset structure of the cutter head seat and the cutter head, so that the cutter head seat and the cutter head are hidden in the non-use state, so as to avoid the accidental drop of the device and the damage to the cutter head. Thirdly, because there are mixing holes in a circular array on the cutter head seat, and the mixing holes are conical hole-like structures, and when the push rod is pushed up and down, the mixing holes are in a vortex shape, so that the mixture formed at the mixing holes The vortex can clean the blockage at the head hole by impact.

改进了引流结构,第一,因头孔与筒体内壁相连通,且共设置有两组,且两组头孔均与连接孔相连通,且两组头孔共同组成了排液防堵塞结构,从而相比较头孔来说防堵塞能力更强;第二,因头孔和尾孔均呈倾斜状铺设在筒体上,从而提高了液体在引流结构内流通的顺畅性,进而进一步提高了引流结构排液时的防堵塞能力。The drainage structure is improved. First, because the head holes are connected to the inner wall of the cylinder, there are two sets of them, and the two sets of head holes are connected to the connection holes, and the two sets of head holes together form a drainage and anti-clogging structure , so that compared with the head hole, the anti-clogging ability is stronger; second, because the head hole and the tail hole are laid on the cylinder body in an inclined shape, the smoothness of the liquid circulation in the drainage structure is improved, and further improved Anti-clogging ability of the drainage structure when draining.

通过挡座的设置,第一,因挡座为管状座结构,且挡座内壁开设有螺纹槽,且挡座与螺纹螺纹式连接,并且挡座组成了筒体的插入深度可调式限位结构,从而实现了插入深度的限位,防止工作中失误导致插入深度过大造成组织损伤;第二,因挡座的高度大于螺纹的高度,且挡座组成了螺纹的防护结构,从而避免了螺纹与子宫内壁接触造成舒适度降低,且头端经倒角处理的挡座在插入时更加顺滑。Through the setting of the stopper seat, firstly, because the stopper seat is a tubular seat structure, and the inner wall of the stopper seat is provided with a thread groove, and the stopper seat is connected with the screw thread, and the stopper seat constitutes the adjustable limit structure of the insertion depth of the cylinder , so as to realize the limit of the insertion depth, and prevent tissue damage caused by excessive insertion depth due to mistakes in work; second, because the height of the stopper seat is greater than the height of the thread, and the stopper seat forms a protective structure for the thread, thus avoiding the thread The contact with the inner wall of the uterus reduces the comfort, and the stopper with a chamfered head is more smooth during insertion.

附图说明Description of drawings

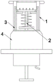
图1是本发明实施例一的主视结构示意图。Fig. 1 is a front view structural diagram of Embodiment 1 of the present invention.

图2是本发明实施例一的局部剖视结构示意图。Fig. 2 is a partial cross-sectional structural schematic diagram of Embodiment 1 of the present invention.

图3是本发明实施例一的剖视结构示意图。Fig. 3 is a schematic cross-sectional structure diagram of Embodiment 1 of the present invention.

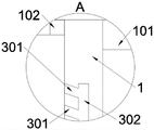
图4是本发明图3的A处放大结构示意图。FIG. 4 is a schematic diagram of the enlarged structure at A in FIG. 3 of the present invention.

图5是本发明图3的B处放大结构示意图。FIG. 5 is a schematic diagram of the enlarged structure at B in FIG. 3 of the present invention.

图6是本发明图3的C处放大结构示意图。FIG. 6 is a schematic diagram of an enlarged structure at point C in FIG. 3 of the present invention.

图7是本发明图3使用时的结构示意图。Fig. 7 is a schematic structural diagram of the present invention when Fig. 3 is used.

图8是本发明图7的D处放大结构示意图。FIG. 8 is a schematic diagram of an enlarged structure at D in FIG. 7 of the present invention.

图9是本发明实施例二的结构示意图(该图示出了与图3剖视截面在周向上错开30°的剖视图)。Fig. 9 is a schematic structural view of Embodiment 2 of the present invention (this figure shows a cross-sectional view staggered by 30° in the circumferential direction from the cross-sectional cross-section in Fig. 3 ).

图中,部件名称与附图编号的对应关系为:In the figure, the corresponding relationship between component names and drawing numbers is:

1、筒体;111、第一常规段;112、第二常规段;12、通气段;13、吸附通道;100、吸附腔室;101、阴部撑开圈;102、限位环A;103、限位环B;104、引流管;105、螺纹;;2、破膜机构;21吸附活塞;22套管;23旋柄;201、刀头座;20101、混合孔;202、刀头;203、推杆;204、挡环;205、弹性件;3、引流结构;301、头孔;302、连接孔;303、尾孔;4、挡座;5、柔性层。1. Cylinder body; 111. First conventional section; 112. Second conventional section; 12. Ventilation section; 13. Adsorption channel; 100. Adsorption chamber; , limit ring B; 104, drainage tube; 105, thread; 2, membrane breaking mechanism; 21 adsorption piston; 203, push rod; 204, stop ring; 205, elastic member; 3, drainage structure; 301, head hole; 302, connection hole; 303, tail hole; 4, stop seat; 5, flexible layer.

具体实施方式detailed description

下面结合附图和实施例对本发明的实施方式作进一步详细描述。以下实施例用于说明本发明,但不能用来限制本发明的范围。Embodiments of the present invention will be further described in detail below in conjunction with the accompanying drawings and examples. The following examples are used to illustrate the present invention, but should not be used to limit the scope of the present invention.

在本发明的描述中,除非另有说明,“多个”的含义是两个或两个以上;术语“上”、“下”、“左”、“右”、“内”、“外”、“前端”、“后端”、“头部”、“尾部”等指示的方位或位置关系为基于附图所示的方位或位置关系,仅是为了便于描述本发明和简化描述,而不是指示或暗示所指的装置或元件必须具有特定的方位、以特定的方位构造和操作,因此不能理解为对本发明的限制。此外,术语“第一”、“第二”、“第三”等仅用于描述目的,而不能理解为指示或暗示相对重要性。In the description of the present invention, unless otherwise stated, the meaning of "plurality" is two or more; the terms "upper", "lower", "left", "right", "inner", "outer" , "front end", "rear end", "head", "tail", etc. indicate the orientation or positional relationship based on the orientation or positional relationship shown in the drawings, and are only for the convenience of describing the present invention and simplifying the description, rather than Nothing indicating or implying that a referenced device or element must have a particular orientation, be constructed, and operate in a particular orientation should therefore not be construed as limiting the invention. In addition, the terms "first", "second", "third", etc. are used for descriptive purposes only and should not be construed as indicating or implying relative importance.

在本发明的描述中,需要说明的是,除非另有明确的规定和限定,术语“相连”、“连接”应做广义理解,例如,可以是固定连接,也可以是可拆卸连接,或一体地连接;可以是机械连接,也可以是电连接;可以是直接相连,也可以通过中间媒介间接相连。对于本领域的普通技术人员而言,可以具体情况理解上述术语在本发明中的具体含义。In the description of the present invention, it should be noted that unless otherwise specified and limited, the terms "connected" and "connected" should be understood in a broad sense, for example, it can be a fixed connection, a detachable connection, or an integral Ground connection; it can be mechanical connection or electrical connection; it can be direct connection or indirect connection through an intermediary. Those of ordinary skill in the art can understand the specific meanings of the above terms in the present invention in specific situations.

实施例一:Embodiment one:

如附图1至附图8所示:As shown in accompanying drawing 1 to accompanying drawing 8:

本发明提供一种适用于妇产科的羊膜破膜器,包括筒体1和破膜机构2,筒体1内滑动连接有破膜机构2,且筒体1内设置有引流结构3,并且筒体1上还设置有挡座4;参考如图7和图8,筒体1的前端(即插入端)的外周壁上套接有一个阴部撑开圈101,且筒体1前端(即插入端)内周壁上设有一个限位环A102,并且当刀头座201与限位环A102底端面接触时刀头202露出预设长度,该预设长度为0.15-0.25cm,例如0.2cm,从而可防止刀头202露出过长导致割伤婴儿;参考如图3和图5,刀头座201包括混合孔20101,刀头座201上呈环形阵列状开设有贯通的混合孔20101,且混合孔20101为锥形孔状结构,并且当上下推动推杆203时混合孔20101处呈涡流状,从而通过混合孔20101处形成的涡流可头孔301处堵塞物的冲击式清理。The present invention provides an amniotic membrane breaker suitable for obstetrics and gynecology, comprising a cylinder body 1 and a membrane rupture mechanism 2, the cylinder body 1 is slidably connected with the membrane rupture mechanism 2, and the cylinder body 1 is provided with a drainage structure 3, and The barrel 1 is also provided with a retaining seat 4; referring to Fig. 7 and Fig. 8, a genital expansion ring 101 is sleeved on the outer peripheral wall of the front end (i.e. the insertion end) of the barrel 1, and the front end of the barrel 1 (i.e. A limit ring A102 is provided on the inner peripheral wall of the insertion end), and the cutter head 202 is exposed to a preset length when the cutter head seat 201 contacts the bottom surface of the limit ring A102, and the preset length is 0.15-0.25cm, such as 0.2cm , so as to prevent the cutter head 202 from being exposed too long and causing cuts on the baby; referring to Figure 3 and Figure 5, the cutter head seat 201 includes a mixing hole 20101, and the cutter head seat 201 is provided with a through mixing hole 20101 in an annular array, and The mixing hole 20101 is a tapered hole structure, and when the push rod 203 is pushed up and down, the mixing hole 20101 is in the shape of a vortex, so that the vortex formed at the mixing hole 20101 can clean the blockage in the head hole 301 in an impact manner.

参考如图3,筒体1还设有限位环B103,筒体1内壁熔接有一个限位环B103;破膜机构2包括刀头座201、刀头202、推杆203、挡环204和弹性件205,刀头座201为圆柱形结构,且刀头座201可滑动连接在筒体1内,并且刀头座201上呈环形阵列状安装有刀头202;推杆203熔接在刀头座201底端面,即推杆203与刀头202相对设于刀头座201的相对两个面上,且推杆203上熔接有挡环204,挡环204相对刀头座201位于限位环B103的另一侧,并且推杆203外壁套接有一个弹性件205,弹性件205具体可为柱状弹簧;弹性件205头端与限位环B103底端面接触,且弹性件205尾端与挡环204顶端面接触,并且弹性件205组成了刀头座201和刀头202的弹性复位结构,从而在非使用状态下刀头座201和刀头202呈隐藏状态,从而避免本破膜器不慎掉落导致刀头202受损。推杆203上与还设有手柄,手柄位于筒体1的外部,并且手柄与刀头座201相对设于推杆203的杆体的两端。参考如图3,引流结构3包括多组引流通道,每组引流通道包括头孔301、连接孔302和尾孔303,头孔301、连接孔302和尾孔303依次连通,且且多个引流通道成环形陈列开设于于筒体1的壁上。Referring to Figure 3, cylinder 1 is also provided with a limit ring B103, and a limit ring B103 is welded to the inner wall of cylinder 1; membrane rupture mechanism 2 includes cutter head seat 201, cutter head 202, push rod 203, retaining ring 204 and elastic 205, the cutter head seat 201 is a cylindrical structure, and the cutter head seat 201 is slidably connected in the cylinder body 1, and the cutter head seat 201 is equipped with cutter heads 202 in an annular array; the push rod 203 is welded on the cutter head seat The bottom end surface of 201, that is, the push rod 203 and the cutter head 202 are arranged on the opposite two surfaces of the cutter head seat 201, and the push rod 203 is welded with a stop ring 204, and the stop ring 204 is located at the limit ring B103 relative to the cutter head seat 201 the other side of the push rod 203, and the outer wall of the push rod 203 is sleeved with an elastic piece 205, the elastic piece 205 can specifically be a columnar spring; The top surface of 204 is in contact, and the elastic member 205 forms the elastic reset structure of the cutter head seat 201 and the cutter head 202, so that the cutter head seat 201 and the cutter head 202 are in a hidden state in the non-use state, thereby avoiding the accidental Dropping results in damage to the cutter head 202 . A handle is also provided on the push rod 203 , the handle is located outside the cylinder body 1 , and the handle and the cutter head seat 201 are oppositely arranged at both ends of the rod body of the push rod 203 . Referring to Fig. 3, the drainage structure 3 includes multiple groups of drainage channels, each group of drainage channels includes a head hole 301, a connecting hole 302 and a tail hole 303, and the head hole 301, the connecting hole 302 and the tail hole 303 are connected in sequence, and a plurality of drainage channels The channels are arranged in a ring on the wall of the cylinder 1 .

参考如图3和图4,引流通道共设有两处,且每处引流通道均包括头孔301;两个所述头孔301均与对应的连接孔302相连通,且四个头孔301共同组成了排液防堵塞结构,从而相比较单一头孔301来说防堵塞能力更强。头孔301靠近限位环A102设置,位于限位环B103与限位环A102,且与限位环B103与限位环A102两者之间的腔室连通,头孔3用于将羊水等导入引流通道,连接孔302与筒体1的轴线平行设置,尾孔303穿出筒体1,用于将引入的羊水等液体外排。Referring to Figure 3 and Figure 4, there are two drainage channels, and each drainage channel includes a head hole 301; the two head holes 301 communicate with the corresponding connection holes 302, and the four head holes 301 are in common A liquid drainage anti-clogging structure is formed, so that the anti-clogging ability is stronger compared with the single head hole 301. The head hole 301 is set close to the limit ring A102, located between the limit ring B103 and the limit ring A102, and communicates with the chamber between the limit ring B103 and the limit ring A102. The head hole 3 is used to introduce amniotic fluid, etc. In the drainage channel, the connecting hole 302 is arranged parallel to the axis of the cylinder body 1 , and the tail hole 303 passes through the cylinder body 1 for draining the introduced amniotic fluid and other fluids.

当刀头座201外拉抵接于限位环B103上时,头孔301露出打开,头孔301连通刀头座201与限位环A102之间的腔室。When the tool bit holder 201 is pulled out to abut against the limiting ring B103, the head hole 301 is exposed and opened, and the head hole 301 communicates with the chamber between the tool bit holder 201 and the limiting ring A102.

参考如图3和图4,头孔301和尾孔303均呈倾斜状设置于筒体1上,且倾斜角度为60度,从而提高了液体在引流结构3内流通的顺畅性,进而进一步提高了引流结构3排液时的防堵塞能力。Referring to Fig. 3 and Fig. 4, the head hole 301 and the tail hole 303 are arranged on the cylinder 1 in an inclined shape, and the inclination angle is 60 degrees, thereby improving the smoothness of liquid circulation in the drainage structure 3, and further improving The anti-clogging ability of the drainage structure 3 when draining is guaranteed.

参考如图3,筒体1还包括引流管104和螺纹105,筒体1开设有螺纹105,且筒体1后端外壁上还熔接有一根与筒体1内腔连通的引流管104,并且引流管104组成了辅助引流结构。Referring to Figure 3, the cylinder 1 also includes a drainage tube 104 and a thread 105, the cylinder 1 is provided with a thread 105, and a drainage tube 104 communicating with the inner cavity of the cylinder 1 is welded on the outer wall of the rear end of the cylinder 1, and The drainage tube 104 constitutes an auxiliary drainage structure.

参考如图3和图6,挡座4内壁开设有螺纹槽,且挡座4与螺纹105螺纹式连接,并且挡座4组成了筒体1的插入深度可调式限位结构,从而实现了插入深度的限位,防止工作中失误导致插入深度过大造成组织损伤。Referring to Fig. 3 and Fig. 6, the inner wall of the retaining seat 4 is provided with a threaded groove, and the retaining seat 4 is threadedly connected with the thread 105, and the retaining seat 4 constitutes the insertion depth adjustable limit structure of the cylinder body 1, thereby realizing the insertion The depth limit prevents tissue damage caused by excessive insertion depth due to mistakes in work.

参考如图3,挡座4头端经倒角处理,且挡座4为阶梯座状结构;挡座4的高度大于螺纹105的高度,且挡座4组成了螺纹105的防护结构,从而避免了螺纹105与子宫内壁接触造成舒适度降低,且头端经倒角处理的挡座4在插入时更加顺滑。Referring to Fig. 3, the head end of the retaining seat 4 is chamfered, and the retaining seat 4 is a stepped seat-like structure; the height of the retaining seat 4 is greater than the height of the thread 105, and the retaining seat 4 forms the protective structure of the thread 105, thereby avoiding The contact between the thread 105 and the inner wall of the uterus reduces the comfort, and the chamfered stopper 4 at the head end is more smooth when inserted.

本实施例的具体使用方式与作用:The specific usage and function of this embodiment:

使用时,将筒体1从阴部插入,而后转动破膜机构2实现破膜;When in use, the cylinder 1 is inserted from the vagina, and then the membrane breaking mechanism 2 is rotated to break the membrane;

在使用过程中,第一,筒体1前端(即插入端)外周壁套接有一个阴部撑开圈101,且筒体1前端(即插入端)内周壁熔接有一个限位环A102,并且当刀头座201与限位环A102底端面接触时刀头202露出长度为0.15-0.25cm,例如0.2cm,从而可防止刀头202露出过长导致割伤婴儿;第二,因刀头座201为圆柱形结构,且刀头座201滑动连接在筒体1内,并且刀头座201上呈环形阵列状安装有刀头202;推杆203熔接在刀头座201底端面,且推杆203上熔接有挡环204,挡环204相对刀头座201位于限位环B103的另一侧,并且推杆203外壁套接有一个弹性件205,弹性件205具体可为圆柱形弹簧;弹性件205头端与限位环B103底端面接触,且弹性件205尾端与挡环204顶端面接触,并且弹性件205组成了刀头座201和刀头202的弹性复位结构,从而在非使用状态下刀头座201和刀头202呈隐藏状态,从而避免该破膜器不慎掉落导致刀头202受损;第三,因头孔301与筒体1前端内腔相连通,且共设置有两组,且两组头孔301均与连接孔302相连通,且两组头孔301共同组成了排液防堵塞结构,从而相比较头孔301来说防堵塞能力更强;第四,因头孔301和尾孔303均呈倾斜状铺设在筒体1上,且倾斜角度为60度,从而提高了液体在引流结构3内流通的顺畅性,进而进一步提高了引流结构3排液时的防堵塞能力;第五,因刀头座201上呈环形阵列状开设有混合孔20101,且混合孔20101为锥形孔状结构,混合孔20101的小端朝向刀头座201设有刀头202的面上,大端朝向刀头座201远离刀头202的面上,并且当上下推动推杆203时混合孔20101处呈涡流状,从而通过混合孔20101处形成的涡流可对头孔301处堵塞物的冲击式清理;第六,因挡座4为管状座结构,且挡座4内壁开设有螺纹槽,且挡座4与螺纹105螺纹式连接,并且挡座4组成了筒体1的插入深度可调式限位结构,从而实现了插入深度的限位,防止工作中失误导致插入深度过大造成组织损伤;第七,因挡座4的高度大于螺纹105的高度,且挡座4组成了螺纹105的防护结构,从而避免了螺纹105与子宫内壁接触造成舒适度降低,且头端经倒角处理的挡座4在插入时更加顺滑。During use, first, a genital expansion ring 101 is sleeved on the outer peripheral wall of the front end (ie, the insertion end) of the cylinder body 1, and a limit ring A102 is welded to the inner peripheral wall of the front end (ie, the insertion end) of the cylinder body 1, and When the cutter head 201 is in contact with the bottom end surface of the stop ring A102, the exposed length of the cutter head 202 is 0.15-0.25cm, such as 0.2cm, so as to prevent the cutter head 202 from being exposed too long and causing the baby to be cut; 201 is a cylindrical structure, and the cutter head seat 201 is slidingly connected in the cylinder body 1, and the cutter head seat 201 is equipped with cutter heads 202 in an annular array; the push rod 203 is welded on the bottom end surface of the cutter head seat 201, and the push rod 203 is welded with a retaining ring 204, the retaining ring 204 is located on the other side of the limit ring B103 relative to the cutter head seat 201, and an elastic member 205 is sleeved on the outer wall of the push rod 203, and the elastic member 205 can be specifically a cylindrical spring; The head end of the part 205 is in contact with the bottom surface of the limit ring B103, and the tail end of the elastic part 205 is in contact with the top surface of the retaining ring 204, and the elastic part 205 forms the elastic return structure of the cutter head seat 201 and the cutter head 202, so that when not in use In this state, the cutter head seat 201 and the cutter head 202 are in a hidden state, so as to avoid the damage to the cutter head 202 caused by the accidental drop of the membrane breaker; There are two groups, and the two groups of head holes 301 are connected with the connection hole 302, and the two groups of head holes 301 together form a liquid drainage anti-clogging structure, so that the anti-blocking ability is stronger than that of the head holes 301; the fourth , because the head hole 301 and the tail hole 303 are laid on the cylinder body 1 in an inclined shape, and the inclination angle is 60 degrees, thereby improving the smoothness of liquid circulation in the drainage structure 3, and further improving the drainage of the drainage structure 3 Anti-clogging ability during; the 5th, be provided with mixing hole 20101 in circular array shape on the cutter head seat 201, and the mixing hole 20101 is a tapered hole-like structure, the small end of mixing hole 20101 is provided with knife toward cutter head seat 201 On the surface of the head 202, the big end faces the cutter head seat 201 away from the surface of the cutter head 202, and when the push rod 203 is pushed up and down, the mixing hole 20101 is in a vortex shape, so that the vortex formed at the mixing hole 20101 can be aligned with the head hole 301 The impact cleaning of blockages; Sixth, because the retaining seat 4 is a tubular seat structure, and the inner wall of the retaining seat 4 is provided with thread grooves, and the retaining seat 4 is threadedly connected with the thread 105, and the retaining seat 4 forms the cylinder body 1 The insertion depth adjustable limit structure realizes the limit of the insertion depth and prevents tissue damage caused by excessive insertion depth caused by mistakes in work; The protective structure of the thread 105 is formed, thereby avoiding the reduction of the comfort caused by the contact between the thread 105 and the inner wall of the uterus, and the stopper 4 whose head end is chamfered is more smooth when inserted.

实施例二:Embodiment two:

该实施例中,与实施例1所不同的是:In this embodiment, the difference from embodiment 1 is:

如图9所示,该图示出了与图3剖视截面在周向上错开30°的剖视图,筒体1的内腔包括常规段和通气段12,通气段的直径大于筒体1常规段的直径,通气段将常规段分隔成两段,两段分别为第一常规段111和第二常规段112,其中,第一常规段111位于该破膜器的前端,即插入端部分,限位环A102和限位环B103位于第一常规段111内。As shown in Figure 9, which shows a cross-sectional view staggered by 30° in the circumferential direction from the cross-sectional section in Figure 3, the inner chamber of the cylinder body 1 includes a conventional section and a ventilation section 12, and the diameter of the ventilation section is larger than that of the conventional section of the cylinder body 1 The diameter of the conventional section is divided into two sections by the ventilation section, the two sections are respectively the first conventional section 111 and the second conventional section 112, wherein the first conventional section 111 is located at the front end of the membrane rupturer, that is, the insertion end part, limited Position ring A 102 and limit ring B 103 are located within first conventional segment 111 .

通气段12靠近限位环B103设置,并位于限位环B103远离限位环A102的一侧,即限位环A102和通气段12相对位于限位环B103两侧,挡环204能够在第二常规段112和通气段内滑动,挡环204的尺寸相对实施例一中的更大,其直径大小与常规段(具体为第二常规段)相配匹,挡环204能够相对第二常规段112(具体为第二常规段)滑动,并且挡环204能够实现与常规段的滑动密封,从而使得挡环204起到密封活塞的作用。当挡环204在通气段内滑动时,挡环204的外周壁与通气段的壁之间形成环形的通气间隙,头孔301与第一常规段连通。Ventilation section 12 is arranged close to limit ring B103, and is located on the side of limit ring B103 away from limit ring A102, that is, limit ring A102 and vent section 12 are relatively located on both sides of limit ring B103, and stop ring 204 can be positioned on the second side of limit ring B103. The normal section 112 and the ventilation section slide, the size of the stop ring 204 is larger than that in the first embodiment, and its diameter matches the regular section (specifically the second regular section), and the stop ring 204 can be opposite to the second regular section 112 (Specifically, the second conventional segment) slides, and the stop ring 204 can realize a sliding seal with the conventional segment, so that the stop ring 204 plays a role of sealing the piston. When the baffle ring 204 slides in the ventilation section, an annular ventilation gap is formed between the peripheral wall of the baffle ring 204 and the wall of the ventilation section, and the head hole 301 communicates with the first conventional section.

进一步地,挡环204远离该破膜器插入端一侧的外周圈上设有导气部,导气部呈倒角状,导气部用于挡环204快速滑动到通气段内,实现第二常规段112与外部的气体导通。Further, an air guide part is provided on the outer circumference of the retaining ring 204 away from the insertion end of the membrane rupturer. The air guide part is chamfered, and the air guide part is used for the retaining ring 204 to quickly slide into the ventilation section to realize the first The two conventional sections 112 are in communication with the outside gas.

引流通道头孔301沿着筒体1轴线方向的宽度大于刀头座201的厚度。如此,在刀头座201移动的过程中,使得外部与通气段之间能够通过引流通道实现气体流通,实现压力补偿,从而使得推杆在手术时能够顺利动作。The width of the drainage channel head hole 301 along the axial direction of the barrel body 1 is greater than the thickness of the cutter head seat 201 . In this way, during the movement of the cutter head seat 201 , the gas flow between the outside and the ventilation section can be realized through the drainage channel, and pressure compensation can be realized, so that the push rod can move smoothly during the operation.

该实施例中的混合孔20101还具有限流作用,具体参看后续的使用方法描述。The mixing hole 20101 in this embodiment also has a flow-limiting effect, for details, refer to the subsequent description of the usage method.

破膜机构2还包括吸附活塞21,吸附活塞21可滑动套接于推杆203上,吸附活塞21与挡环204彼此平行且间隔预设距离设置,吸附活塞21位于挡环204和推杆23的手柄之间,吸附活塞21远离挡环204的端面上连接有套管22,套管22的第一端与挡环204固定连接,第二端伸出筒体1,并旋拧于筒体1上,即螺纹连接于筒体1上,套管22的第二端端头上设有旋柄23,旋柄23外露出筒体1,并且旋柄23相对手柄更加靠近筒体1设置,吸附活塞21朝向挡环204的端面上设有密封圈,密封圈套设于推杆203上,用于实现吸附活塞21与推杆203之间的滑动密封。The rupture mechanism 2 also includes an adsorption piston 21, which is slidably sleeved on the push rod 203. The adsorption piston 21 and the retaining ring 204 are arranged parallel to each other and at a preset distance. The adsorption piston 21 is located between the retaining ring 204 and the push rod 23. Between the handles, the end surface of the adsorption piston 21 away from the stop ring 204 is connected with a sleeve 22, the first end of the sleeve 22 is fixedly connected with the stop ring 204, the second end extends out of the cylinder 1, and is screwed on the cylinder 1, that is, screwed on the cylinder 1, the second end of the sleeve 22 is provided with a turning handle 23, the turning handle 23 is exposed from the cylinder 1, and the turning handle 23 is arranged closer to the cylinder 1 relative to the handle, A sealing ring is provided on the end surface of the adsorption piston 21 facing the retaining ring 204 , and the sealing ring is sleeved on the push rod 203 for realizing sliding sealing between the adsorption piston 21 and the push rod 203 .

当刀头座201抵接于限位环B103上时,吸附活塞、挡环204以及筒体1之间围设形成吸附腔室100,筒体1的壁上开设有吸附通道13,吸附通道13共开设有四条,并且四条吸附通道13沿着筒体1的周向均匀分布,相邻的两条吸附通道13之间彼此间隔60°,吸附通道13连通外部与吸附腔室100,吸附通道13的一端开设于筒体1插入端的端面上,另一端开设于筒体1第二常规段112的内壁上,具体开设于吸附腔室100对应的筒体1的内壁上,如此,实现了筒体1插入端与吸附腔室100之间的连通。When the cutter head seat 201 abuts against the limit ring B103, an adsorption chamber 100 is formed between the adsorption piston, the retaining ring 204 and the cylinder body 1, and an adsorption channel 13 is opened on the wall of the cylinder body 1, and the adsorption channel 13 There are four in total, and the four adsorption channels 13 are evenly distributed along the circumference of the cylinder 1, and the two adjacent adsorption channels 13 are spaced 60° apart from each other. The adsorption channels 13 communicate with the outside and the adsorption chamber 100, and the adsorption channels 13 One end is set on the end surface of the insertion end of the cylinder body 1, and the other end is set on the inner wall of the second conventional section 112 of the cylinder body 1, specifically on the inner wall of the cylinder body 1 corresponding to the adsorption chamber 100, so that the cylinder body 1 Communication between the insertion end and the adsorption chamber 100.

进一步地,筒体1前端,即插入端的端面上还设有柔性层5,柔性层5具体可为医用橡胶材料制成,柔性层用于羊膜的柔性接触,并实现密封吸附作用。并且,柔性层对应吸附通道的位置开设有开孔,开孔用于与吸附通道连通。该实施例中,为了刀头202能够顺利伸出柔性层,相对实施例一中的刀头202作了适应性增长。Further, a flexible layer 5 is provided on the front end of the cylinder body 1, that is, on the end surface of the insertion end. The flexible layer 5 can specifically be made of medical rubber material. The flexible layer is used for flexible contact with the amniotic membrane and realizes sealing and adsorption. In addition, the flexible layer is provided with openings at positions corresponding to the adsorption channels, and the openings are used to communicate with the adsorption channels. In this embodiment, in order for the cutter head 202 to extend out of the flexible layer smoothly, an adaptive increase is made compared to the cutter head 202 in the first embodiment.

对于该实施例中的破膜器的其他部分结构的描述,可参见实施例一,此处不再一一赘述。For the description of other partial structures of the membrane rupturer in this embodiment, reference may be made to Embodiment 1, and details will not be repeated here.

使用方法:Instructions:

本实施例中的破膜器使用时,可参考如下步骤:When using the membrane breaker in this embodiment, refer to the following steps:

1、首先在弹性件205推杆外拉抵接于限位环B103上,此时挡环204位于第二常规段112内,首先将该破膜器的插入端插入阴部,并使得柔性层5紧贴于羊膜上,然后通过外旋旋柄使得吸附活塞外旋,吸附腔室的空间增大,即吸附活塞与限位环B103的距离增大,使得吸附腔室的真空度增大,从而使得羊膜通过吸附通道吸附在柔性层上;1. First, the push rod of the elastic member 205 is pulled out and abuts against the limit ring B103. At this time, the stop ring 204 is located in the second conventional section 112. First, insert the insertion end of the membrane rupturer into the vagina, and make the flexible layer 5 Closely attached to the amniotic membrane, and then the adsorption piston is rotated outward through the external rotation handle, and the space of the adsorption chamber increases, that is, the distance between the adsorption piston and the limit ring B103 increases, so that the vacuum degree of the adsorption chamber increases, thereby Make the amnion adsorb on the flexible layer through the adsorption channel;

2、外拉筒体1,使得羊膜与婴儿产生一定的隔离距离;2. Pull the cylinder 1 outward, so that the amniotic membrane and the baby have a certain isolation distance;

3、通过推杆快速前推挡环204,使得挡环204在惯性力作用下自第二常规段进入通气段,此时挡环204的外周壁与通气段的壁之间形成通气间隙,此过程中,刀头座201与羊膜之间的气体分成两路,一路通过引流通道外排,此为主要排气路径,另一路通过混合孔20101进入通气段内,再自通气间隙进入挡环204和吸附活塞之间的真空区内,由于混合孔20101具有限流作用,此一路的流量较小,仅仅起到压力补偿的作用,以方便刀头座201继续前推,并不影响对羊膜的吸附;3. Push the retaining ring 204 forward quickly through the push rod, so that the retaining ring 204 enters the ventilation section from the second conventional section under the action of inertial force. At this time, a ventilation gap is formed between the outer peripheral wall of the retaining ring 204 and the wall of the ventilation section. During the process, the gas between the cutter head seat 201 and the amniotic membrane is divided into two paths, one path is discharged through the drainage channel, which is the main exhaust path, and the other path enters the ventilation section through the mixing hole 20101, and then enters the retaining ring 204 from the ventilation gap In the vacuum area between the suction piston and the adsorption piston, since the mixing hole 20101 has a flow-limiting effect, the flow rate of this path is small, and it only plays the role of pressure compensation, so that the cutter head seat 201 can continue to push forward without affecting the effect on the amniotic membrane. Adsorption;

4、当刀头座201快速前推至超过头孔301,并快速撞击羊膜,在对羊膜的吸附力未解除前,刀头座201上的刀头202将羊膜破裂。4. When the cutter head seat 201 is quickly pushed forward to exceed the head hole 301 and hits the amniotic membrane quickly, the cutter head 202 on the cutter head seat 201 will rupture the amniotic membrane before the adsorption force on the amniotic membrane is released.

该实施例中,破膜器合理的结构设计,使得羊膜能够被吸附外拉并与羊膜内的婴儿间隔一定距离,一方面由于破膜时羊膜被吸附撑紧,刀头202能够较为容易准确的将羊膜破裂,破膜准确度和效率均大大提高,另一方面由于破膜时羊膜与羊膜内的婴儿间隔一定距离,能够进一步防止婴儿被刺伤,大大提高了手术的安全性。In this embodiment, the reasonable structural design of the amniotic membrane device enables the amniotic membrane to be absorbed and pulled out and kept at a certain distance from the baby in the amniotic membrane. Rupturing the amniotic membrane greatly improves the accuracy and efficiency of membrane rupture. On the other hand, when the amniotic membrane is ruptured, there is a certain distance between the amniotic membrane and the baby in the amniotic membrane, which can further prevent the baby from being stabbed and greatly improve the safety of the operation.

本发明的实施例是为了示例和描述起见而给出的,而并不是无遗漏的或者将本发明限于所公开的形式。很多修改和变化对于本领域的普通技术人员而言是显而易见的。选择和描述实施例是为了更好说明本发明的原理和实际应用,并且使本领域的普通技术人员能够理解本发明从而设计适于特定用途的带有各种修改的各种实施例。The embodiments of the present invention have been presented for purposes of illustration and description, but are not intended to be exhaustive or to limit the invention to the form disclosed. Many modifications and changes will be apparent to those of ordinary skill in the art. The embodiment was chosen and described in order to better explain the principles of the invention and the practical application, and to enable others of ordinary skill in the art to understand the invention and design various embodiments with various modifications as are suited to the particular use.

Claims (7)

1.一种适用于妇产科的羊膜破膜器,其特征在于:包括筒体(1)和破膜机构(2),所述筒体(1)内滑动连接有破膜机构(2),且筒体(1)内设置有引流结构(3),并且筒体(1)上还设置有挡座(4);所述筒体(1)包括阴部撑开圈(101)和限位环A(102),所述筒体(1)的前端外周壁上套接有一个阴部撑开圈(101),且筒体(1)前端内周壁上设有限位环A(102),用于限制所述破膜机构(2)的外伸距离;1. An amniotic membrane rupture device suitable for obstetrics and gynecology, characterized in that it includes a cylinder (1) and a membrane rupture mechanism (2), and the cylinder (1) is slidably connected with a membrane rupture mechanism (2) , and the cylinder body (1) is provided with a drainage structure (3), and the cylinder body (1) is also provided with a stopper (4); Ring A (102), a genital expansion ring (101) is sleeved on the outer peripheral wall of the front end of the cylinder body (1), and a limit ring A (102) is provided on the inner peripheral wall of the front end of the cylinder body (1). To limit the extension distance of the rupture mechanism (2); 所述筒体(1)还设有限位环B(103),所述筒体(1)内壁熔接有一个限位环B(103);所述破膜机构(2)包括刀头座(201)、刀头(202)、推杆(203)、挡环(204)和弹性件(205),所述刀头座(201)为圆柱形结构,且刀头座(201)可滑动连接在筒体(1)内,并且刀头座(201)上呈环形阵列状安装有刀头(202);所述推杆(203)熔接在刀头座(201)底端面,且推杆(203)上熔接有挡环(204),并且推杆(203)套接有一个弹性件(205);所述弹性件(205)头端与限位环B(103)底端面接触,且弹性件(205)尾端与挡环(204)顶端面接触,并且弹性件(205)组成了刀头座(201)和刀头(202)的弹性复位结构,从而在非使用状态下刀头座(201)和刀头(202)呈隐藏状态;The barrel (1) is also provided with a limit ring B (103), and the inner wall of the barrel (1) is welded with a limit ring B (103); the membrane rupture mechanism (2) includes a cutter head seat (201 ), a cutter head (202), a push rod (203), a retaining ring (204) and an elastic member (205), the cutter head seat (201) is a cylindrical structure, and the cutter head seat (201) is slidably connected to Inside the barrel (1), the cutter head (202) is installed in a circular array on the cutter head seat (201); the push rod (203) is welded on the bottom end surface of the cutter head seat (201), and the push rod (203 ) is welded with a retaining ring (204), and the push rod (203) is sleeved with an elastic piece (205); The tail end of (205) is in contact with the top surface of the retaining ring (204), and the elastic member (205) constitutes the elastic reset structure of the cutter head seat (201) and the cutter head (202), so that the cutter head seat ( 201) and the cutter head (202) are hidden; 刀头座(201)设有混合孔(20101),所述刀头座(201)上呈环形阵列状开设有混合孔(20101),且混合孔(20101)为锥形孔状结构;The cutter head seat (201) is provided with a mixing hole (20101), and the cutter head seat (201) is provided with a circular array of mixing holes (20101), and the mixing hole (20101) is a tapered hole structure; 筒体(1)的内腔包括常规段和通气段(12),通气段的直径大于筒体(1)常规段的直径,通气段将常规段分隔成两段,两段分别为第一常规段(111)和第二常规段(112),其中,第一常规段(111)位于该破膜器的前端,即插入端部分,限位环A(102)和限位环B(103)位于第一常规段(111)内;The inner cavity of the cylinder (1) includes a conventional section and a ventilation section (12). The diameter of the ventilation section is larger than that of the conventional section of the cylinder (1). The ventilation section divides the conventional section into two sections, which are respectively the first conventional section. segment (111) and the second conventional segment (112), wherein the first conventional segment (111) is located at the front end of the rupture device, that is, the insertion end part, the limit ring A (102) and the limit ring B (103) located within the first regular section (111); 通气段(12)靠近限位环B(103)设置,并位于限位环B(103)远离限位环A(102)的一侧,即限位环A(102)和通气段(12)相对位于限位环B(103)两侧,挡环(204)能够在第二常规段(112)和通气段内滑动,挡环(204)的直径大小与第二常规段相配匹,挡环(204)能够相对第二常规段(112)滑动,并且挡环(204)能够实现与常规段的滑动密封,从而使得挡环(204)起到密封活塞的作用,当挡环(204)在通气段内滑动时,挡环(204)的外周壁与通气段的壁之间形成环形的通气间隙,引流结构(3)与第一常规段连通;The ventilation section (12) is set close to the limit ring B (103), and is located on the side of the limit ring B (103) away from the limit ring A (102), that is, the limit ring A (102) and the ventilation section (12) Relatively located on both sides of the limit ring B (103), the stop ring (204) can slide in the second conventional section (112) and the ventilation section. The diameter of the stop ring (204) matches the second regular section. The stop ring (204) can slide relative to the second conventional segment (112), and the retaining ring (204) can realize the sliding seal with the conventional segment, so that the retaining ring (204) plays the role of sealing the piston, when the retaining ring (204) is in When sliding in the ventilation section, an annular ventilation gap is formed between the outer peripheral wall of the retaining ring (204) and the wall of the ventilation section, and the drainage structure (3) communicates with the first conventional section; 破膜机构(2)还包括吸附活塞(21),吸附活塞(21)可滑动套接于推杆(203)上,吸附活塞(21)与挡环(204)彼此平行且间隔预设距离设置,吸附活塞(21)位于挡环(204)和推杆(203)的手柄之间,吸附活塞(21)远离挡环(204)的端面上连接有套管(22),套管(22)伸出筒体(1),并旋拧于筒体(1)上,套管(22)的端头上设有旋柄(23),旋柄(23)外露出筒体(1),并且旋柄(23)相对手柄更加靠近筒体(1)设置,吸附活塞(21)朝向挡环(204)的端面上设有密封圈,密封圈套设于推杆(203)上,用于实现吸附活塞(21)与推杆(203)之间的滑动密封;The rupture mechanism (2) also includes an adsorption piston (21), which is slidably sleeved on the push rod (203), and the adsorption piston (21) and the retaining ring (204) are set parallel to each other and separated by a preset distance , the adsorption piston (21) is located between the stop ring (204) and the handle of the push rod (203), the end surface of the adsorption piston (21) away from the stop ring (204) is connected with a sleeve (22), the sleeve (22) Extend the cylinder (1) and screw it on the cylinder (1), the end of the sleeve (22) is provided with a handle (23), the handle (23) is exposed from the cylinder (1), and The rotary handle (23) is set closer to the cylinder (1) than the handle, and the end surface of the adsorption piston (21) facing the retaining ring (204) is provided with a sealing ring, which is sleeved on the push rod (203) to realize adsorption Sliding seal between piston (21) and push rod (203); 当刀头座(201)抵接于限位环B(103)上时,吸附活塞、挡环(204)以及筒体(1)之间围设形成吸附腔室(100),筒体(1)的壁上开设有吸附通道(13),吸附通道(13)共开设有四条,并且四条吸附通道(13)沿着筒体(1)的周向均匀分布,吸附通道(13)连通外部与吸附腔室(100),吸附通道(13)的一端开设于筒体(1)插入端的端面上,另一端开设于筒体(1)第二常规段(112)的内壁上,具体开设于吸附腔室(100)对应的筒体(1)的内壁上。When the cutter head seat (201) abuts against the limit ring B (103), an adsorption chamber (100) is formed between the adsorption piston, the retaining ring (204) and the cylinder (1), and the cylinder (1 ) is provided with adsorption channels (13) on the wall, and there are four adsorption channels (13) in total, and the four adsorption channels (13) are evenly distributed along the circumference of the cylinder (1), and the adsorption channels (13) communicate with the outside and In the adsorption chamber (100), one end of the adsorption channel (13) is opened on the end surface of the insertion end of the cylinder body (1), and the other end is opened on the inner wall of the second conventional section (112) of the cylinder body (1). On the inner wall of the cylinder (1) corresponding to the chamber (100). 2.如权利要求1所述一种适用于妇产科的羊膜破膜器,其特征在于:引流结构(3)包括多组引流通道,每组引流通道包括头孔(301)、连接孔(302)和尾孔(303),头孔(301)、连接孔(302)和尾孔(303)依次连通,且多个所述引流通道成环形陈列开设于筒体(1)的壁上。2. An amniotic membrane breaker suitable for obstetrics and gynecology as claimed in claim 1, characterized in that the drainage structure (3) includes multiple sets of drainage channels, and each set of drainage channels includes a head hole (301), a connecting hole ( 302) and the tail hole (303), the head hole (301), the connection hole (302) and the tail hole (303) are connected in sequence, and a plurality of the drainage channels are arranged in a ring on the wall of the cylinder (1). 3.如权利要求2所述一种适用于妇产科的羊膜破膜器,其特征在于:所述引流通道共设有两处,且每处头端引流通道均包括两个所述头孔(301);两个所述头孔(301)均与对应的连接孔(302)相连通。3. An amniotic membrane rupture device suitable for obstetrics and gynecology as claimed in claim 2, wherein there are two drainage channels, and each head drainage channel includes two head holes (301); the two head holes (301) communicate with the corresponding connection holes (302). 4.如权利要求2所述一种适用于妇产科的羊膜破膜器,其特征在于:所述头孔(301)和尾孔(303)均呈倾斜状开设于筒体(1)上。4. An amniotic membrane rupture device suitable for obstetrics and gynecology as claimed in claim 2, characterized in that: the head hole (301) and the tail hole (303) are both obliquely opened on the cylinder (1) . 5.如权利要求1所述一种适用于妇产科的羊膜破膜器,其特征在于:所述筒体(1)还包括引流管(104)和螺纹(105),所述筒体(1)的外周壁开设有螺纹(105),且筒体(1)后端外壁上还熔接有一根与筒体(1)内腔连通的引流管(104),并且引流管(104)组成了辅助引流结构。5. An amniotic membrane rupture device suitable for obstetrics and gynecology according to claim 1, characterized in that: the cylinder (1) also includes a drainage tube (104) and a thread (105), the cylinder ( 1) The outer peripheral wall is provided with threads (105), and a drainage tube (104) communicating with the inner cavity of the cylinder (1) is welded on the outer wall of the rear end of the cylinder (1), and the drainage tube (104) constitutes Auxiliary drainage structure. 6.如权利要求5所述一种适用于妇产科的羊膜破膜器,其特征在于:所述挡座(4)内壁开设有螺纹槽,且挡座(4)与螺纹(105)螺纹式连接,并且挡座(4)组成了筒体(1)的插入深度可调式限位结构。6. An amniotic membrane rupturer suitable for obstetrics and gynecology as claimed in claim 5, characterized in that: the inner wall of the stopper (4) is provided with a threaded groove, and the stopper (4) is threaded with the thread (105) type connection, and the stopper (4) constitutes the insertion depth adjustable limit structure of the cylinder (1). 7.如权利要求1所述一种适用于妇产科的羊膜破膜器,其特征在于:所述挡座(4)头端经倒角处理,且挡座(4)为阶梯座状结构;所述挡座(4)的高度大于螺纹(105)的高度,且挡座(4)组成了螺纹(105)的防护结构。7. An amniotic membrane rupture device suitable for obstetrics and gynecology according to claim 1, characterized in that: the head end of the stopper (4) is chamfered, and the stopper (4) is a stepped seat structure ; The height of the retaining seat (4) is greater than the height of the thread (105), and the retaining seat (4) forms a protective structure for the thread (105).
CN202110840571.6A 2021-07-24 2021-07-24 Amnion membrane rupture device suitable for gynaecology and obstetrics Active CN113520552B (en)

Priority Applications (1)

Application Number Priority Date Filing Date Title
CN202110840571.6A CN113520552B (en) 2021-07-24 2021-07-24 Amnion membrane rupture device suitable for gynaecology and obstetrics

Applications Claiming Priority (1)

Application Number Priority Date Filing Date Title
CN202110840571.6A CN113520552B (en) 2021-07-24 2021-07-24 Amnion membrane rupture device suitable for gynaecology and obstetrics

Publications (2)

Publication Number Publication Date
CN113520552A CN113520552A (en) 2021-10-22
CN113520552B true CN113520552B (en) 2022-12-27

Family

ID=78120750

Family Applications (1)

Application Number Title Priority Date Filing Date
CN202110840571.6A Active CN113520552B (en) 2021-07-24 2021-07-24 Amnion membrane rupture device suitable for gynaecology and obstetrics

Country Status (1)

Country Link
CN (1) CN113520552B (en)

Citations (4)

* Cited by examiner, † Cited by third party
Publication number Priority date Publication date Assignee Title
US5395379A (en) * 1993-07-22 1995-03-07 Deutchman; Mark E. Extractor for childbirth and aspirator/injector device
CN106974710A (en) * 2017-04-27 2017-07-25 黄士玉 A kind of gynemetrics's film breaking unit and its application method
CN107456261A (en) * 2017-06-15 2017-12-12 青岛江河湖海创新技术研究院有限公司 A kind of obstetrics and gynecology department membrane-repturing device
CN213129810U (en) * 2020-05-12 2021-05-07 张洪梅 Membrane rupture device convenient to operate for obstetrics and gynecology department

Family Cites Families (8)

* Cited by examiner, † Cited by third party
Publication number Priority date Publication date Assignee Title
CN203017048U (en) * 2012-12-20 2013-06-26 刘艳丽 Membrane rupturing needle specific for puerpera
CN206239487U (en) * 2016-08-02 2017-06-13 张保霞 A kind of gynemetrics's amnion broken instrument
CN208002869U (en) * 2017-12-02 2018-10-26 陈萍 Cardiological clinic drains puncture outfit
CN108451609B (en) * 2018-03-14 2021-01-15 德州市人民医院 Obstetrical amniotic membrane rupture device with cleaning function
CN109259831A (en) * 2018-09-21 2019-01-25 王书君 A kind of amniotic fluid rupture of membranes drainage device of obstetrics and gynecology department anti-overflow
CN209884282U (en) * 2018-11-21 2020-01-03 朱燕 Amniotic fluid membrane rupturing device for obstetrics and gynecology department
CN209789973U (en) * 2019-02-25 2019-12-17 孙芬 Laparoscope puncture outfit
CN213129802U (en) * 2020-07-29 2021-05-07 罗洁 Puncture needle for nephrology department

Patent Citations (4)

* Cited by examiner, † Cited by third party
Publication number Priority date Publication date Assignee Title
US5395379A (en) * 1993-07-22 1995-03-07 Deutchman; Mark E. Extractor for childbirth and aspirator/injector device
CN106974710A (en) * 2017-04-27 2017-07-25 黄士玉 A kind of gynemetrics's film breaking unit and its application method
CN107456261A (en) * 2017-06-15 2017-12-12 青岛江河湖海创新技术研究院有限公司 A kind of obstetrics and gynecology department membrane-repturing device
CN213129810U (en) * 2020-05-12 2021-05-07 张洪梅 Membrane rupture device convenient to operate for obstetrics and gynecology department

Also Published As

Publication number Publication date
CN113520552A (en) 2021-10-22

Similar Documents

Publication Publication Date Title
US6228058B1 (en) Sleeve trocar with penetration indicator
US5718676A (en) Grooved phaco-emulsification needle
US3765417A (en) Arcuate tampon applicator
CN113520552B (en) Amnion membrane rupture device suitable for gynaecology and obstetrics
CN108883258B (en) Medical device for delivering a plug to a void
CN106974710B (en) A kind of gynemetrics's film breaking unit
CN108451609A (en) Obstetrics' amnion broken instrument with cleaning function
CN205597978U (en) Ultrasonic knife sleeve pipe aspirator and ultrasonic knife
CN208065232U (en) Built-in multi-channel type handle energy converter and ultrasonic surgical apparatus
CN215606151U (en) Water plugging structure of intravaginal hysteroscope
CN213283210U (en) Thrombus suction device for vascular surgery
CN214402787U (en) A grouting check device and grouting machine
CN103622830B (en) There is the postoperative suction hose of anti-function of choking
CN213552142U (en) Suction structure for embolectomy
CN209951910U (en) A quantitative spray type debridement applicator
CN121512632A (en) A medical ultrasonic scalpel with a built-in internal suction device
CN216394860U (en) Drainage tube device based on puncture and indwelling
CN107693092A (en) A kind of portable disposable uterine cavity tissue sucker
CN207886236U (en) A kind of haemorrhoids ligation apparatus
CN219126570U (en) Tissue removal instrument
CN217828025U (en) A uterine rotary cutter for gynecological surgery
CN219397506U (en) Cervical mucus suction device
CN206463339U (en) A kind of novel nasal cavity inbalation administration device
CN206304161U (en) The attractor of device for endoscopic thyroid surgery
CN219764067U (en) Airflow control part and handheld suction device

Legal Events

Date Code Title Description
PB01 Publication
PB01 Publication
SE01 Entry into force of request for substantive examination
SE01 Entry into force of request for substantive examination
TA01 Transfer of patent application right

Effective date of registration: 20221206

Address after: 362018 Comprehensive Building of Quanzhou Bozhi Cultural Goods Co., Ltd., No. 252, Yunlu Road, Donghai Street, Fengze District, Quanzhou, Fujian

Applicant after: Quanzhou Maker Maternity Hospital Co.,Ltd.

Address before: 276800 Antai Crystal Garden, Donggang District, Rizhao City, Shandong Province

Applicant before: Fan Kailing

TA01 Transfer of patent application right
GR01 Patent grant
GR01 Patent grant
PE01 Entry into force of the registration of the contract for pledge of patent right

Denomination of invention: A type of amniocentesis device suitable for obstetrics and gynecology

Granted publication date: 20221227

Pledgee: Fujian Straits bank Limited by Share Ltd. Quanzhou branch

Pledgor: Quanzhou Maker Maternity Hospital Co.,Ltd.

Registration number: Y2024980056850

PE01 Entry into force of the registration of the contract for pledge of patent right