CN113443508A - Tensioning equipment and control system for wire and cable production - Google Patents

Tensioning equipment and control system for wire and cable production Download PDF

Info

Publication number
CN113443508A
CN113443508A CN202110310670.3A CN202110310670A CN113443508A CN 113443508 A CN113443508 A CN 113443508A CN 202110310670 A CN202110310670 A CN 202110310670A CN 113443508 A CN113443508 A CN 113443508A
Authority
CN
China
Prior art keywords
wall
rod
clamping
wire
fixedly connected
Prior art date
Legal status (The legal status is an assumption and is not a legal conclusion. Google has not performed a legal analysis and makes no representation as to the accuracy of the status listed.)
Granted
Application number
CN202110310670.3A
Other languages
Chinese (zh)
Other versions
CN113443508B (en
Inventor
蔡财兴
Current Assignee (The listed assignees may be inaccurate. Google has not performed a legal analysis and makes no representation or warranty as to the accuracy of the list.)
Shenzhen Mingmou Technology Co ltd
Original Assignee
Shenzhen Mingmou Technology Co ltd
Priority date (The priority date is an assumption and is not a legal conclusion. Google has not performed a legal analysis and makes no representation as to the accuracy of the date listed.)
Filing date
Publication date
Application filed by Shenzhen Mingmou Technology Co ltd filed Critical Shenzhen Mingmou Technology Co ltd
Priority to CN202110310670.3A priority Critical patent/CN113443508B/en
Publication of CN113443508A publication Critical patent/CN113443508A/en
Application granted granted Critical
Publication of CN113443508B publication Critical patent/CN113443508B/en
Expired - Fee Related legal-status Critical Current
Anticipated expiration legal-status Critical

Links

Images

Classifications

    • BPERFORMING OPERATIONS; TRANSPORTING
    • B65CONVEYING; PACKING; STORING; HANDLING THIN OR FILAMENTARY MATERIAL
    • B65HHANDLING THIN OR FILAMENTARY MATERIAL, e.g. SHEETS, WEBS, CABLES
    • B65H51/00Forwarding filamentary material
    • B65H51/18Gripping devices with linear motion
    • BPERFORMING OPERATIONS; TRANSPORTING
    • B65CONVEYING; PACKING; STORING; HANDLING THIN OR FILAMENTARY MATERIAL
    • B65HHANDLING THIN OR FILAMENTARY MATERIAL, e.g. SHEETS, WEBS, CABLES
    • B65H59/00Adjusting or controlling tension in filamentary material, e.g. for preventing snarling; Applications of tension indicators
    • B65H59/38Adjusting or controlling tension in filamentary material, e.g. for preventing snarling; Applications of tension indicators by regulating speed of driving mechanism of unwinding, paying-out, forwarding, winding, or depositing devices, e.g. automatically in response to variations in tension
    • B65H59/384Adjusting or controlling tension in filamentary material, e.g. for preventing snarling; Applications of tension indicators by regulating speed of driving mechanism of unwinding, paying-out, forwarding, winding, or depositing devices, e.g. automatically in response to variations in tension using electronic means
    • B65H59/388Regulating forwarding speed
    • HELECTRICITY
    • H01ELECTRIC ELEMENTS
    • H01BCABLES; CONDUCTORS; INSULATORS; SELECTION OF MATERIALS FOR THEIR CONDUCTIVE, INSULATING OR DIELECTRIC PROPERTIES
    • H01B13/00Apparatus or processes specially adapted for manufacturing conductors or cables
    • BPERFORMING OPERATIONS; TRANSPORTING
    • B65CONVEYING; PACKING; STORING; HANDLING THIN OR FILAMENTARY MATERIAL
    • B65HHANDLING THIN OR FILAMENTARY MATERIAL, e.g. SHEETS, WEBS, CABLES
    • B65H2701/00Handled material; Storage means
    • B65H2701/30Handled filamentary material
    • B65H2701/34Handled filamentary material electric cords or electric power cables
    • B65H2701/341Handled filamentary material electric cords or electric power cables in a manufacturing process

Landscapes

  • Engineering & Computer Science (AREA)
  • Manufacturing & Machinery (AREA)
  • Tension Adjustment In Filamentary Materials (AREA)

Abstract

本发明属于电线电缆生产技术领域,尤其是一种电线电缆生产用拉紧设备及控制系统,针对电线电缆生产所用的拉紧牵引设备设计结构简单、功能单一、使用不方便的问题,现提出以下方案,包括安装板,所述安装板设置为U形,且安装板的一侧外壁固定连接有电机,且电机输出轴的一端固定连接有轴杆,且轴杆的外壁固定连接有转轮,且转轮的外壁开有多个等距离分布的杆孔,且杆孔的内壁插接有连接杆,且连接杆的两端均固定连接有滑杆,且滑杆的一端设置有限位板。本发明实现对电缆的拉紧牵引,且装置具有防脱功能,夹紧套和夹紧环能够形成圆孔,电缆从此圆孔中穿过,夹杆和防滑凸起能够对电缆起到固定作用,防止其脱落。

Figure 202110310670

The invention belongs to the technical field of wire and cable production, in particular to a tensioning device and a control system for wire and cable production. Aiming at the problems of simple design structure, single function and inconvenient use of the tensioning and pulling device used in wire and cable production, the following is now proposed. The solution includes a mounting plate, the mounting plate is set in a U shape, and one outer wall of the mounting plate is fixedly connected with a motor, and one end of the output shaft of the motor is fixedly connected with a shaft, and the outer wall of the shaft is fixedly connected with a runner, The outer wall of the runner is provided with a plurality of equally spaced rod holes, and the inner wall of the rod holes is inserted with a connecting rod, and both ends of the connecting rod are fixedly connected with sliding rods, and one end of the sliding rod is provided with a limit plate. The invention realizes the tension and traction of the cable, and the device has the function of preventing falling off. The clamping sleeve and the clamping ring can form a circular hole through which the cable passes, and the clamping rod and the anti-slip protrusion can fix the cable. , to prevent it from falling off.

Figure 202110310670

Description

Tensioning equipment and control system for wire and cable production
Technical Field
The invention relates to the technical field of wire and cable production, in particular to tensioning equipment and a control system for wire and cable production.
Background
The cable is an electric energy or signal transmission device, and generally comprises several or several groups of conducting wires, and the cable comprises a power cable, a control cable, a compensation cable, a shielding cable, a high-temperature cable, a computer cable, a signal cable, a coaxial cable, a fire-resistant cable, a marine cable, a mining cable, an aluminum alloy cable and the like. They are composed of single or multi-strand wires and insulating layers, and are used for connecting circuits, electric appliances and the like. In the production process of the electric wire and the electric cable, equipment is needed to pull the electric wire and the electric cable so as to smoothly complete the steps of coating, winding and the like.
In the prior art, a tractor or a traction wheel is often used for generating traction force, and an anti-falling mechanism is additionally arranged to prevent the cable from losing tension when the equipment is failed accidentally. In addition, when utilizing traction wheel traction cable, need two traction wheel cooperations to use, need artifical the regulation during use, it is inconvenient to operate, for raise the efficiency and solve above-mentioned problem, we need find a method urgently
Disclosure of Invention
Based on the technical problems of simple design structure, single function and inconvenient use of tensioning traction equipment for wire and cable production, the invention provides tensioning equipment for wire and cable production and a control system.
The invention provides a tensioning device and a control system for wire and cable production, which comprises a mounting plate, wherein the mounting plate is arranged in a U shape, the outer wall of one side of the mounting plate is fixedly connected with a motor, one end of an output shaft of the motor is fixedly connected with a shaft rod, the outer wall of the shaft rod is fixedly connected with a rotating wheel, the outer wall of the rotating wheel is provided with a plurality of rod holes which are distributed equidistantly, the inner wall of each rod hole is inserted with a connecting rod, two ends of each connecting rod are fixedly connected with a sliding rod, one end of each sliding rod is provided with a limit plate, the outer wall of each sliding rod is connected with an adjusting block in a sliding manner, the outer wall of the top of each adjusting block is fixedly connected with a corner limiting block, each adjusting block is rotatably connected with a rotating rod, one end of each rotating rod is fixedly connected with a wheel carrier, the inner wall of each wheel carrier is rotatably connected with a wheel rod, the outer wall of each wheel rod is rotatably connected with a clamping wheel, and the outer wall of one side of each wheel carrier is fixedly connected with a connecting block, and the one end of connecting block has been inserted and has been pressed from both sides the line cover, sliding connection between pressing from both sides line cover and the connecting block, and the outer wall of pressing from both sides the line cover opens and to have the round hole, and the inner wall of round hole has been inserted and has been led the power pole, weld between the one end of lead power pole and the outer wall of wheel carrier, the other end fixedly connected with wire clamping ring of lead power pole, and wire clamping ring set up to the semicircular in shape, one side outer wall of wire clamping ring is provided with a plurality of anti-skidding archs, a plurality of wire clamping covers, wire clamping ring at runner both sides bisymmetry, one side outer wall fixedly connected with clamping bar of wire clamping cover, the clamping bar passes the wire clamping ring, sliding connection between clamping bar and the wire clamping ring, the one end of clamping bar is provided with the clamp splice, and one side outer wall of clamp splice is provided with the inclined plane, one side outer wall of wire clamping cover is provided with anti-skidding line.
Preferably, the outer wall of the sliding rod is sleeved with a spring, and the spring is located between the adjusting block and the connecting rod.
Preferably, the outer wall of the wheel rod is fixedly connected with limiting blocks at two sides of the clamping wheel.
Preferably, the outer wall of mounting panel is opened there is the operation mouth, one side outer wall fixedly connected with support frame of mounting panel, and rotates on the outer wall of support frame and is connected with adjustable support threaded rod, and the one end of adjustable support threaded rod is provided with changes the handle.
Preferably, one side outer wall fixed connection elastic rod of mounting panel, and the outer wall fixed connection of elastic rod has annular elastic strip, and adjustable support threaded rod passes the operation mouth, and the one end of adjustable support threaded rod supports on the outer wall of annular elastic strip.
Preferably, a guide angle plate is fixedly connected between the adjacent outer walls of the mounting plates.
Preferably, the bottom outer wall fixedly connected with bracing piece of mounting panel, and the bottom outer wall fixedly connected with carriage of bracing piece, and the both sides of carriage are provided with the guide pulley.
Preferably, carriage sliding connection has tensile regulation rail, and is provided with the race on the tensile regulation rail, the bottom inner wall fixedly connected with rack of tensile regulation rail, one side outer wall fixedly connected with connecting plate of tensile regulation rail, the carriage inner wall rotates and is connected with limit gear, and limit gear meshes with the rack mutually, is provided with control motor on the limit gear, and control motor has the controller through electric connection.
Preferably, the inner wall of the operation opening is rotatably connected with a friction reducing wheel, and the friction reducing wheel replaces an annular elastic strip.
The invention provides a use method of a tensioning device for producing wires and cables, which comprises the following steps:
t1: the cable clamping device comprises a rotating wheel, a motor, a clamping sleeve, a clamping ring and the like, wherein the rotating wheel is driven by the motor to rotate, the clamping sleeve, the clamping ring and the like positioned on two sides of the rotating wheel are in an open state in a normal state, the clamping sleeve and the clamping ring are firstly contacted with a guide angle plate along with the rotation of the rotating wheel, the clamping sleeve and the like in the open state are close to the inner side under the action of the guide angle plate, when the clamping sleeve is close to the top end of the rotating wheel, a cable enters from an open opening of the clamping sleeve, and the cable is locked along with the closing of the clamping sleeve and the clamping ring.
T2: then when the clamping sleeve moves to the top end along with the rotating wheel, the symmetrical clamping sleeve and the clamping ring are closed under the extrusion force of the annular elastic strip to clamp the cable, and after the clamping sleeve leaves the extrusion range of the annular elastic strip, the power is released; at the moment, the next group of clamping sleeves are just extruded by the annular elastic strip to clamp the cable, continuous traction force is generated on the cable through force transmission of each group of clamping rings and the clamping sleeves, and the adjustable supporting threaded rod abuts against the annular elastic strip and is used for adjusting the tightness of clamping.
T3: and finally, when the rotating wheel rotates and the cable is pulled, the controller receives an electric signal and transmits the electric signal to the control motor according to an operation instruction, the control motor drives the limiting gear to rotate, and the limiting gear and the gear strip complete the movement of the sliding frame in the stretching adjusting rail so as to adjust the stretching force when the cable is pulled.
The beneficial effects of the invention are as follows:
1. the cable tensioning device is provided with the components such as the wire clamping ring, the wire clamping sleeve, the force guide rod, the clamping wheel, the rotating rod, the corner limiting block and the rotating wheel, the cable is tensioned and pulled through the linkage and the matching of the components, the device has an anti-drop function, the clamping sleeve and the clamping ring can form a round hole, the cable penetrates through the round hole, the clamping rod and the anti-slip bulge can fix the cable and prevent the cable from dropping, the clamping sleeve and the clamping ring are normally in an open state when rotating along with the rotating wheel, only when passing through the annular elastic strip, the clamping sleeve and the clamping ring can be closed and clamp the cable, and the closed state and the open state of each clamping sleeve and the clamping ring are matched with each other along with the rotation of the rotating wheel, so that the effect of tensioning the cable can be achieved.
2. The cable tension adjusting device is provided with components such as a tension adjusting component, a gear rack, a limiting gear, a control motor, a controller and a sliding frame, the effect of adjusting the tension of a cable can be achieved through linkage matching of the components, when the controller senses that equipment is in an abnormal state, the cable tension adjusting device can be matched with the clamping ring and the clamping block to fix the position of the cable, and the tension can be adjusted through movement.
3. According to the invention, the friction reducing wheel is arranged, and the annular elastic strip is replaced by the friction reducing wheel, so that the friction force of the clamping wheel is reduced on the basis of not influencing the original function, the clamping wheel can rotate more smoothly, and the convenience in operation of the device is improved to a certain extent.
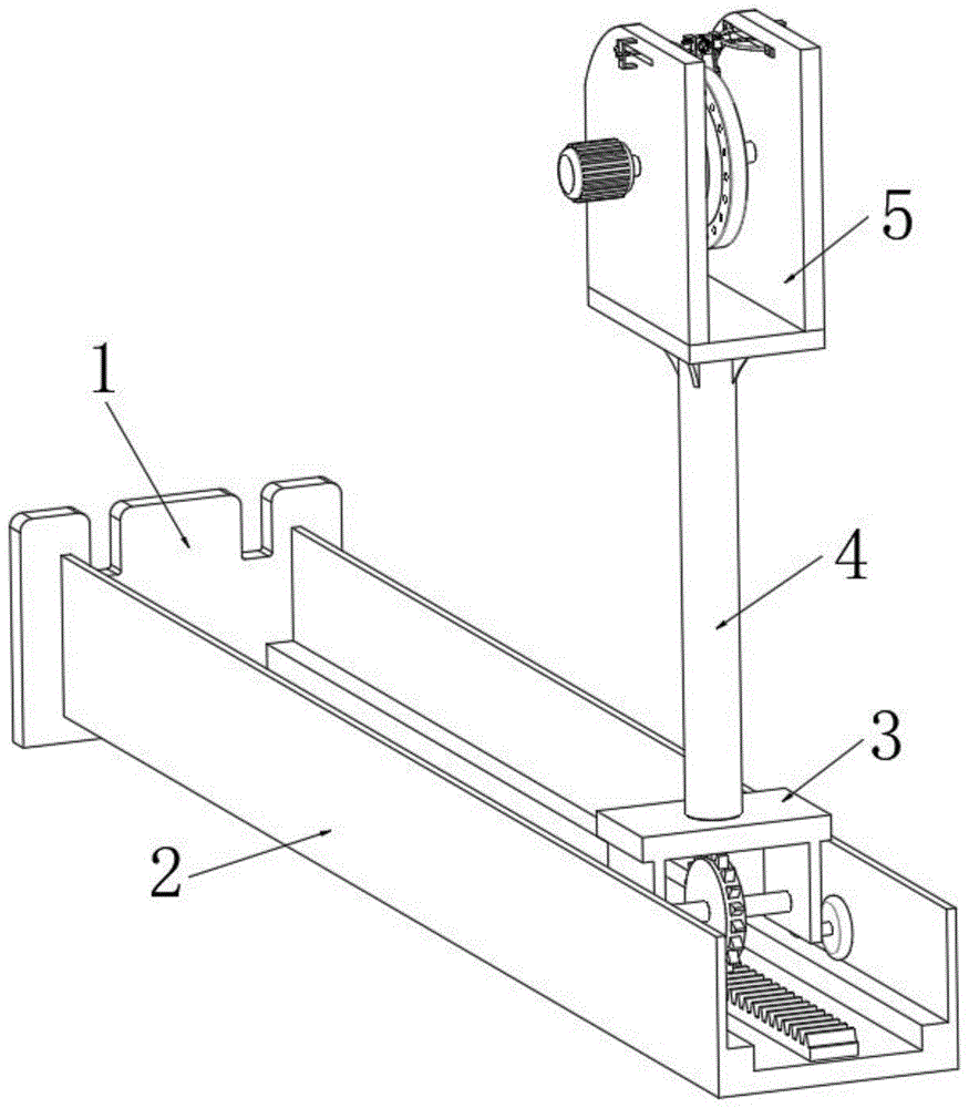
Drawings
FIG. 1 is a schematic view of the overall structure of a tension apparatus and a control system for manufacturing electric wires and cables according to the present invention;
FIG. 2 is a schematic view of a tension adjusting rail structure of a tension apparatus and a control system for manufacturing electric wires and cables according to the present invention;
FIG. 3 is a schematic view of a part of the tension apparatus and control system for manufacturing electric wires and cables according to the present invention;
FIG. 4 is a schematic view of a mounting plate structure of a tension device and a control system for manufacturing electric wires and cables according to the present invention;
FIG. 5 is a schematic view of a structure of a tension device and a control system for manufacturing electric wires and cables according to the present invention;
FIG. 6 is a schematic view of a partial structure of a pulley of a tension apparatus and a control system for manufacturing electric wires and cables according to the present invention;
FIG. 7 is a schematic view of a clamping sleeve structure of a tensioning device and a control system for manufacturing electric wires and cables according to the present invention;
FIG. 8 is a schematic view of a clamp ring structure of a tension apparatus and a control system for manufacturing electric wires and cables according to the present invention;
fig. 9 is a schematic structural view of a friction reducing wheel of a tension device and a control system for producing wires and cables according to the present invention.
In the figure: the device comprises a connecting plate 1, a stretching adjusting rail 2, a sliding frame 3, a supporting rod 4, a mounting plate 5, a wheel groove 6, a gear bar 7, a guide wheel 8, a limit gear 9, a motor 10, a guide angle plate 11, a supporting frame 12, an operation opening 13, an elastic rod 14, an annular elastic strip 15, an adjustable supporting threaded rod 16, a rotating wheel 17, a rod hole 18, a connecting rod 19, an adjusting block 20, a rotating rod 21, a spring 22, a sliding rod 23, a corner limit block 24, a wheel frame 25, a clamping wheel 26, a limit block 27, a connecting block 28, a force guide rod 29, a wire clamping sleeve 30, an anti-skid thread 31, a clamping rod 32, a clamping block 33, a wire clamping ring 34, an anti-skid protrusion 35 and a friction reducing wheel 36.
Detailed Description
The technical solutions in the embodiments of the present invention will be clearly and completely described below with reference to the drawings in the embodiments of the present invention, and it is obvious that the described embodiments are only a part of the embodiments of the present invention, and not all of the embodiments.
Example 1:
referring to fig. 1-7, a tensioning device and a control system for wire and cable production, comprising a mounting plate 5, wherein the mounting plate 5 is U-shaped, the outer wall of one side of the mounting plate 5 is connected with a motor 10 through a bolt, one end of the output shaft of the motor 10 is connected with a shaft rod through a bolt, the outer wall of the shaft rod is connected with a rotating wheel 17 through a bolt, the outer wall of the rotating wheel 17 is provided with a plurality of rod holes 18 distributed equidistantly, the inner wall of the rod hole 18 is inserted with a connecting rod 19, both ends of the connecting rod 19 are welded with a sliding rod 23, one end of the sliding rod 23 is provided with a limiting plate, the outer wall of the sliding rod 23 is slidably connected with an adjusting block 20, the outer wall of the top of the adjusting block 20 is welded with a corner limiting block 24, the adjusting block 20 is rotatably connected with a rotating rod 21, one end of the rotating rod 21 is welded with a wheel carrier 25, the inner wall of the wheel carrier 25 is rotatably connected with a wheel rod, and the outer wall of the wheel rod is rotatably connected with a clamping wheel 26 through a bearing, the outer wall of one side of the wheel frame 25 is connected with a connecting block 28 through a bolt, a wire clamping sleeve 30 is inserted into one end of the connecting block 28, the wire clamping sleeve 30 is connected with the connecting block 28 in a sliding mode, a round hole is formed in the outer wall of the wire clamping sleeve 30, a force guide rod 29 is inserted into the inner wall of the round hole, one end of the force guide rod 29 is welded with the outer wall of the wheel frame 25, a wire clamping ring 34 is welded to the other end of the force guide rod 29, the wire clamping ring 34 is semi-annular, a plurality of anti-skidding protrusions 35 are arranged on the outer wall of one side of the wire clamping ring 34, the wire clamping sleeves 30 and the wire clamping ring 34 are symmetric in pairs on two sides of the rotating wheel 17, a clamping rod 32 is welded to the outer wall of one side of the wire clamping sleeve 30, the clamping rod 32 penetrates through the wire clamping ring 34, the clamping rod 32 is connected with the wire clamping ring 34 in a sliding mode, a clamping block 33 is arranged at one end of the clamping rod 32, an inclined plane is arranged on the outer wall of one side of the clamping block 33, and anti-skidding patterns 31 are arranged on the outer wall of one side of the wire clamping sleeve 30.
In the invention, the outer wall of the sliding rod 23 is sleeved with the spring 22, and the spring 22 is positioned between the adjusting block 20 and the connecting rod 19.
The outer wall of the wheel rod of the invention is positioned at two sides of the clamping wheel 26 and is connected with a limiting block 27 through a bolt.
The outer wall of the mounting plate 5 is provided with an operation opening 13, the outer wall of one side of the mounting plate 5 is connected with a support frame 12 through a bolt, the outer wall of the support frame 12 is rotatably connected with an adjustable support threaded rod 16, and one end of the adjustable support threaded rod 16 is provided with a rotating handle.
According to the invention, the outer wall of one side of the mounting plate 5 is connected with an elastic rod 14 through a bolt, an annular elastic strip 15 is welded on the outer wall of the elastic rod 14, an adjustable supporting threaded rod 16 penetrates through the operation opening 13, and one end of the adjustable supporting threaded rod 16 abuts against the outer wall of the annular elastic strip 15.
In the invention, the adjacent outer walls of the mounting plates 5 are connected with guide angle plates 11 through bolts.
According to the invention, the outer wall of the bottom of the mounting plate 5 is connected with a support rod 4 through a bolt, the outer wall of the bottom of the support rod 4 is connected with a sliding frame 3 through a bolt, and guide wheels 8 are arranged on two sides of the sliding frame 3.
According to the invention, a sliding frame 3 is connected with a stretching adjusting rail 2 in a sliding manner, a wheel groove 6 is arranged on the stretching adjusting rail 2, the inner wall of the bottom of the stretching adjusting rail 2 is connected with a gear rack 7 through a bolt, the outer wall of one side of the stretching adjusting rail 2 is connected with a connecting plate 1 through a bolt, the inner wall of the sliding frame 3 is connected with a limiting gear 9 in a rotating manner, the limiting gear 9 is meshed with the gear rack 7, a control motor is arranged on the limiting gear 9, and the control motor is electrically connected with a controller.
In the invention, the inner wall of the operation opening 13 is rotatably connected with a friction reducing wheel 36, and the friction reducing wheel 36 replaces the annular elastic strip 15.
The invention provides a use method of a tensioning device for producing wires and cables, which comprises the following steps:
t1: firstly, the motor 10 drives the rotating wheel 17 to rotate, the rotating wheel 17 is provided with a plurality of clamping wheels 26, clamping sleeves 30, clamping rings 34 and other components, in a normal state, the clamping sleeves 30 and the clamping rings 34 positioned on two sides of the rotating wheel 17 are in an open state, along with the rotation of the rotating wheel 17, the clamping wheels 26 firstly contact the guide angle plate 11, under the action of the guide angle plate 11, the components in the open state, such as the clamping sleeves 30 and the like, are close to the top end of the rotating wheel 17, cables enter from the open openings of the clamping sleeves 30, and the cables are locked along with the closing of the clamping sleeves 30 and the clamping rings 34.
T2: then when the clamping sleeve 30 moves to the topmost end along with the rotating wheel 17, the symmetrical clamping sleeve 30 and the clamping ring 34 are closed under the extrusion force of the annular elastic strip 15 to clamp the cable, and after the clamping sleeve leaves the extrusion range of the annular elastic strip 15, the power is released; at the moment, the next group of clamping sleeves 30 is just extruded by the annular elastic strip 15 to clamp the cable, and continuous traction force is generated on the cable through the force transmission of each group of clamping rings 34 and the clamping sleeves 30, so that the supporting threaded rod 16 can be adjusted to abut against the annular elastic strip 16 for adjusting the tightness of clamping.
T3: finally, when the rotating wheel 17 rotates to pull the cable, the controller receives an electric signal and transmits the electric signal to the control motor according to an operation instruction, the control motor drives the limit gear 9 to rotate, the limit gear 9 and the gear strip 7 complete the movement of the sliding frame 3 in the stretching adjusting rail 2, and the stretching force when the cable is pulled is adjusted.
Example 2:
referring to fig. 8, a tension apparatus and a control system for manufacturing electric wires and cables, this embodiment further includes a friction reducing wheel 36 rotatably connected to an inner wall of the operation opening 13, in which the friction reducing wheel 36 replaces the annular elastic strip 15
The above description is only for the preferred embodiment of the present invention, but the scope of the present invention is not limited thereto, and any person skilled in the art should be considered to be within the technical scope of the present invention, and the technical solutions and the inventive concepts thereof according to the present invention should be equivalent or changed within the scope of the present invention.

Claims (10)

1.一种电线电缆生产用拉紧设备及控制系统,包括安装板(5),其特征在于,所述安装板(5)设置为U形,且安装板(5)的一侧外壁固定连接有电机(10),且电机(10)输出轴的一端固定连接有轴杆,且轴杆的外壁固定连接有转轮(17),且转轮(17)的外壁开有多个等距离分布的杆孔(18),且杆孔(18)的内壁插接有连接杆(19),且连接杆(19)的两端均固定连接有滑杆(23),且滑杆(23)的一端设置有限位板,所述滑杆(23)的外壁滑动连接有调节块(20),且调节块(20)的顶部外壁固定连接有转角限制块(24),所述调节块(20)上转动连接有转杆(21),且转杆(21)的一端固定连接有轮架(25),轮架(25)的内壁转动连接有轮杆,且轮杆的外壁转动连接有夹紧轮(26),所述轮架(25)的一侧外壁固定连接有连接块(28),且连接块(28)的一端插有夹线套(30),夹线套(30)与连接块(28)之间滑动连接,且夹线套(30)的外壁开有圆孔,且圆孔的内壁插有导力杆(29),所述导力杆(29)的一端与轮架(25)的外壁之间焊接,所述导力杆(29)的另一端固定连接有夹线环(34),且夹线环(34)设置为半环形,所述夹线环(34)的一侧外壁设置有多个防滑凸起(35),多个夹线套(30)、夹线环(34)在转轮(17)两侧两两对称,所述夹线套(30)的一侧外壁固定连接有夹杆(32),夹杆(32)穿过夹线环(34),夹杆(32)与夹线环(34)之间滑动连接,所述夹杆(32)的一端设置有夹块(33),夹块(33)的一侧外壁设置有倾斜面,所述夹线套(30)的一侧外壁设置有防滑纹(31)。1. A tensioning device and a control system for wire and cable production, comprising a mounting plate (5), characterized in that the mounting plate (5) is arranged in a U shape, and one side outer wall of the mounting plate (5) is fixedly connected There is a motor (10), and one end of the output shaft of the motor (10) is fixedly connected with a shaft rod, and the outer wall of the shaft rod is fixedly connected with a runner (17), and the outer wall of the runner (17) is provided with a plurality of equidistantly distributed The rod hole (18) of the rod hole (18), and the inner wall of the rod hole (18) is inserted with a connecting rod (19), and both ends of the connecting rod (19) are fixedly connected with a sliding rod (23), and the sliding rod (23) A limiting plate is provided at one end, an adjustment block (20) is slidably connected to the outer wall of the sliding rod (23), and a corner limiting block (24) is fixedly connected to the top outer wall of the adjustment block (20). The adjustment block (20) A turning rod (21) is rotatably connected to the upper part, and one end of the turning rod (21) is fixedly connected with a wheel frame (25), the inner wall of the wheel frame (25) is rotatably connected with a wheel rod, and the outer wall of the wheel rod is rotatably connected with a clamping A wheel (26), one side outer wall of the wheel frame (25) is fixedly connected with a connecting block (28), and one end of the connecting block (28) is inserted with a wire clamping sleeve (30), and the wire clamping sleeve (30) is connected to The blocks (28) are slidably connected, and the outer wall of the wire clamping sleeve (30) is provided with a circular hole, and a guiding rod (29) is inserted into the inner wall of the circular hole, and one end of the guiding rod (29) is connected to the wheel frame. Welding between the outer walls of (25), the other end of the force guide rod (29) is fixedly connected with a wire clamping ring (34), and the wire clamping ring (34) is set in a semi-circular shape, and the wire clamping ring (34) A plurality of anti-skid protrusions (35) are arranged on the outer wall of one side of the runner, a plurality of wire clamping sleeves (30) and wire clamping rings (34) are symmetrical on both sides of the runner (17), and the wire clamping sleeves (30) A clamping rod (32) is fixedly connected to the outer wall of one side, the clamping rod (32) passes through the wire clamping ring (34), and the clamping rod (32) and the wire clamping ring (34) are slidably connected, and the clamping rod (32) ) is provided with a clamping block (33), one outer wall of the clamping block (33) is provided with an inclined surface, and one side outer wall of the wire clamping sleeve (30) is provided with an anti-skid pattern (31). 2.根据权利要求1所述的一种电线电缆生产用拉紧设备及控制系统,其特征在于,所述滑杆(23)的外壁套接有弹簧(22),且弹簧(22)位于调节块(20)与连接杆(19)之间。2. A kind of tensioning equipment and control system for wire and cable production according to claim 1, characterized in that, the outer wall of the sliding rod (23) is sleeved with a spring (22), and the spring (22) is located in the adjusting between the block (20) and the connecting rod (19). 3.根据权利要求1所述的一种电线电缆生产用拉紧设备及控制系统,其特征在于,所述轮杆的外壁位于夹紧轮(26)的两侧固定连接有限位块(27)。3. The tensioning device and control system for wire and cable production according to claim 1, wherein the outer wall of the wheel rod is located on both sides of the clamping wheel (26) and is fixedly connected to the limiting block (27) . 4.根据权利要求1所述的一种电线电缆生产用拉紧设备及控制系统,其特征在于,所述安装板(5)的外壁开有操作口(13),安装板(5)的一侧外壁固定连接有支撑架(12),且支撑架(12)的外壁上转动连接有可调节支撑螺纹杆(16),可调节支撑螺纹杆(16)的一端设置有转把。4. The tensioning device and control system for wire and cable production according to claim 1, characterized in that, the outer wall of the mounting plate (5) is provided with an operation port (13), and one of the mounting plate (5) is provided with an operation port (13). A support frame (12) is fixedly connected to the side outer wall, and an adjustable support threaded rod (16) is rotatably connected to the outer wall of the support frame (12), and one end of the adjustable support threaded rod (16) is provided with a turning handle. 5.根据权利要求4所述的一种电线电缆生产用拉紧设备及控制系统,其特征在于,所述安装板(5)的一侧外壁固定连接有弹性杆(14),且弹性杆(14)的外壁固定连接有环形弹性条(15),可调节支撑螺纹杆(16)穿过操作口(13),且可调节支撑螺纹杆(16)的一端抵在环形弹性条(15)的外壁上。5. A kind of tensioning equipment and control system for wire and cable production according to claim 4, characterized in that an elastic rod (14) is fixedly connected to one side outer wall of the mounting plate (5), and the elastic rod ( 14) An annular elastic strip (15) is fixedly connected to the outer wall, the adjustable support threaded rod (16) passes through the operation port (13), and one end of the adjustable support threaded rod (16) abuts against the annular elastic strip (15). on the outer wall. 6.根据权利要求1所述的一种电线电缆生产用拉紧设备及控制系统,其特征在于,所述安装板(5)相邻的外壁之间固定连接有导向角板(11)。6 . The tensioning device and control system for wire and cable production according to claim 1 , wherein a guide angle plate ( 11 ) is fixedly connected between adjacent outer walls of the mounting plate ( 5 ). 7 . 7.根据权利要求1所述的一种电线电缆生产用拉紧设备及控制系统,其特征在于,所述安装板(5)的底部外壁固定连接有支撑杆(4),且支撑杆(4)的底部外壁固定连接有滑动架(3),且滑动架(3)的两侧设置有导轮(8)。7. A kind of tensioning equipment and control system for wire and cable production according to claim 1, characterized in that, the bottom outer wall of the mounting plate (5) is fixedly connected with a support rod (4), and the support rod (4) A sliding frame (3) is fixedly connected to the bottom outer wall of the ), and guide wheels (8) are provided on both sides of the sliding frame (3). 8.根据权利要求7所述的一种电线电缆生产用拉紧设备及控制系统,其特征在于,所述滑动架(3)滑动连接有拉伸调节轨(2),且拉伸调节轨(2)上设置有轮槽(6),拉伸调节轨(2)的底部内壁固定连接有齿轮条(7),所述拉伸调节轨(2)的一侧外壁固定连接有连接板(1),所述滑动架(3)内壁转动连接有限位齿轮(9),且限位齿轮(9)与齿轮条(7)相啮合,限位齿轮(9)上设置有控制电机,且控制电机通过电性连接有控制器。8. A kind of tensioning equipment and control system for wire and cable production according to claim 7, characterized in that, the sliding frame (3) is slidably connected with a stretch-adjusting rail (2), and the stretch-adjusting rail ( 2) A wheel groove (6) is provided thereon, a gear rack (7) is fixedly connected to the bottom inner wall of the stretching adjustment rail (2), and a connecting plate (1) is fixedly connected to one outer wall of the stretching adjustment rail (2). ), the inner wall of the sliding frame (3) is rotatably connected to the limit gear (9), and the limit gear (9) is meshed with the gear rack (7), the limit gear (9) is provided with a control motor, and the control motor A controller is electrically connected. 9.根据权利要求5所述的一种电线电缆生产用拉紧设备及控制系统,其特征在于,所述操作口(13)的内壁转动连接有减摩轮(36),减摩轮(36)代替环形弹性条(15)。9 . The tensioning device and control system for wire and cable production according to claim 5 , wherein an anti-friction wheel ( 36 ) is rotatably connected to the inner wall of the operating port ( 13 ), and the anti-friction wheel ( 36 ). ) in place of the annular elastic strip (15). 10.一种废水净化用自洁式内旋流膜分离装置的使用方法,其特征在于,包括以下步骤:10. A method of using a self-cleaning internal cyclone membrane separation device for wastewater purification, characterized in that it comprises the following steps: T1:首先电机(10)带动转轮(17)转动,转轮(17)上设置有多个夹紧轮(26)、夹紧套(30)、夹紧环(34)等部件,常态时,位于转轮(17)两侧的夹紧套(30)和夹紧环(34)处于张开状态,随着转轮(17)的转动,夹紧轮(26)首先接触到导向角板(11),并在导向角板(11)的作用下,使处于张开状态的夹紧套(30)等部件向内侧靠拢,夹紧套(30)向转轮(17)最顶端靠近时,电缆从夹紧套(30)张开的豁口中进入,随着夹紧套(30)和夹紧环(34)的闭合,电缆被锁住。T1: First, the motor (10) drives the runner (17) to rotate, and the runner (17) is provided with a plurality of clamping wheels (26), clamping sleeves (30), clamping rings (34) and other components. , the clamping sleeve (30) and the clamping ring (34) located on both sides of the runner (17) are in an open state, with the rotation of the runner (17), the clamping wheel (26) first contacts the guide angle plate (11), and under the action of the guide angle plate (11), the parts such as the clamping sleeve (30) in the open state are brought closer to the inside, and when the clamping sleeve (30) approaches the top of the runner (17) , the cable enters from the opening of the clamping sleeve (30), and the cable is locked as the clamping sleeve (30) and the clamping ring (34) are closed. T2:然后夹紧套(30)随着转轮(17)移动至最顶端时,在环形弹性条(15)的挤压力下,对称的夹紧套(30)和夹紧环(34)才会闭合,将电缆夹住,当离开环形弹性条(15)的挤压范围后,便松开电力;此时,下一组夹紧套(30)正好受到环形弹性条(15)的挤压,夹住电缆,经过各组夹紧环(34)、夹紧套(30)的传力,对电缆产生持续不断的牵引力,可调节支撑螺纹杆(16)抵在环形弹性条(16)上,用于调节夹紧的松紧。T2: Then when the clamping sleeve (30) moves to the top with the runner (17), under the pressing force of the annular elastic strip (15), the symmetrical clamping sleeve (30) and the clamping ring (34) It will be closed and the cable will be clamped. When it leaves the extrusion range of the annular elastic strip (15), the power will be released; at this time, the next set of clamping sleeves (30) are just squeezed by the annular elastic strip (15). Press and clamp the cable, and through the force transmission of each group of clamping rings (34) and clamping sleeves (30), a continuous traction force is generated on the cable, and the adjustable support threaded rod (16) is pressed against the annular elastic strip (16) , used to adjust the tightness of the clamping. T3:最后,在转轮(17)旋转,牵引电缆时,控制器接收电信号并根据操作指令,将电信号传导给控制电机,控制电机带动限位齿轮(9)的旋转,限位齿轮(9)与齿轮条(7),完成滑动架(3)在拉伸调节轨(2)中的移动,以此调节牵引电缆时的拉伸力。T3: Finally, when the runner (17) rotates and pulls the cable, the controller receives the electrical signal and transmits the electrical signal to the control motor according to the operation instruction, and the control motor drives the rotation of the limit gear (9), and the limit gear ( 9) With the gear rack (7), complete the movement of the sliding frame (3) in the tension adjusting rail (2), so as to adjust the tension force when pulling the cable.
CN202110310670.3A 2021-03-23 2021-03-23 Tensioning equipment and control system for wire and cable production Expired - Fee Related CN113443508B (en)

Priority Applications (1)

Application Number Priority Date Filing Date Title
CN202110310670.3A CN113443508B (en) 2021-03-23 2021-03-23 Tensioning equipment and control system for wire and cable production

Applications Claiming Priority (1)

Application Number Priority Date Filing Date Title
CN202110310670.3A CN113443508B (en) 2021-03-23 2021-03-23 Tensioning equipment and control system for wire and cable production

Publications (2)

Publication Number Publication Date
CN113443508A true CN113443508A (en) 2021-09-28
CN113443508B CN113443508B (en) 2023-01-17

Family

ID=77809237

Family Applications (1)

Application Number Title Priority Date Filing Date
CN202110310670.3A Expired - Fee Related CN113443508B (en) 2021-03-23 2021-03-23 Tensioning equipment and control system for wire and cable production

Country Status (1)

Country Link
CN (1) CN113443508B (en)

Cited By (1)

* Cited by examiner, † Cited by third party
Publication number Priority date Publication date Assignee Title
CN120319543A (en) * 2025-06-19 2025-07-15 山西壹泰科电工设备有限公司 An electron accelerator cable irradiation device

Citations (10)

* Cited by examiner, † Cited by third party
Publication number Priority date Publication date Assignee Title
JPS5798466A (en) * 1980-12-08 1982-06-18 Nippon Telegr & Teleph Corp <Ntt> Cable traction machine
FR2663795A1 (en) * 1990-06-22 1991-12-27 France Telecom METHOD FOR PLACING A CABLE INSIDE A HIGH LENGTH CONDUIT AND DEVICE FOR IMPLEMENTING SAID METHOD
CN1238739A (en) * 1996-11-28 1999-12-15 奈克斯特罗姆·霍尔丁公司 Capstan arrangement for cable treatment plant
CN109775435A (en) * 2019-01-31 2019-05-21 广东拓斯达科技股份有限公司 A kind of copper wire clamp driving mechanism and the copper wire stack equipment for having the mechanism
CN111498586A (en) * 2020-04-21 2020-08-07 江苏千瑞纺织科技有限公司 Spinning thread conveying device for jacquard weaving machine
CN111573412A (en) * 2020-05-31 2020-08-25 胡晓霖 Wire harness traction equipment
CN111717723A (en) * 2020-05-27 2020-09-29 杭州优朴信息技术有限公司 Cable conveyer of roller type
CN111847100A (en) * 2020-07-27 2020-10-30 南京蔚特尔智能科技有限公司 Continuous supply equipment and method for laying communication cable
CN112010120A (en) * 2020-08-27 2020-12-01 安徽华海特种电缆集团有限公司 Mobile marine cable for traveling crane
CN212304489U (en) * 2020-07-01 2021-01-05 贾兴林 Cable pulling device for power distribution network

Patent Citations (10)

* Cited by examiner, † Cited by third party
Publication number Priority date Publication date Assignee Title
JPS5798466A (en) * 1980-12-08 1982-06-18 Nippon Telegr & Teleph Corp <Ntt> Cable traction machine
FR2663795A1 (en) * 1990-06-22 1991-12-27 France Telecom METHOD FOR PLACING A CABLE INSIDE A HIGH LENGTH CONDUIT AND DEVICE FOR IMPLEMENTING SAID METHOD
CN1238739A (en) * 1996-11-28 1999-12-15 奈克斯特罗姆·霍尔丁公司 Capstan arrangement for cable treatment plant
CN109775435A (en) * 2019-01-31 2019-05-21 广东拓斯达科技股份有限公司 A kind of copper wire clamp driving mechanism and the copper wire stack equipment for having the mechanism
CN111498586A (en) * 2020-04-21 2020-08-07 江苏千瑞纺织科技有限公司 Spinning thread conveying device for jacquard weaving machine
CN111717723A (en) * 2020-05-27 2020-09-29 杭州优朴信息技术有限公司 Cable conveyer of roller type
CN111573412A (en) * 2020-05-31 2020-08-25 胡晓霖 Wire harness traction equipment
CN212304489U (en) * 2020-07-01 2021-01-05 贾兴林 Cable pulling device for power distribution network
CN111847100A (en) * 2020-07-27 2020-10-30 南京蔚特尔智能科技有限公司 Continuous supply equipment and method for laying communication cable
CN112010120A (en) * 2020-08-27 2020-12-01 安徽华海特种电缆集团有限公司 Mobile marine cable for traveling crane

Non-Patent Citations (1)

* Cited by examiner, † Cited by third party
Title
陈宇晓: "电缆输送机的设计与制造", 《光纤与电缆及其应用技术》 *

Cited By (2)

* Cited by examiner, † Cited by third party
Publication number Priority date Publication date Assignee Title
CN120319543A (en) * 2025-06-19 2025-07-15 山西壹泰科电工设备有限公司 An electron accelerator cable irradiation device
CN120319543B (en) * 2025-06-19 2025-09-12 山西壹泰科电工设备有限公司 Cable irradiation device of electron accelerator

Also Published As

Publication number Publication date
CN113443508B (en) 2023-01-17

Similar Documents

Publication Publication Date Title
CN112978482A (en) Take-up reel for preventing cable from winding during winding for power electrical engineering and use method
CN113443508A (en) Tensioning equipment and control system for wire and cable production
CN117410884B (en) Cable erection device for electromechanical installation
CN108471082B (en) A lifting device for electric construction
CN115296212A (en) Cable trunk laying device on construction site
CN116613676B (en) Tightening device for installation of electric wires and cables
CN115800102A (en) Power cable laying method
CN113241676A (en) Electric power construction tensioner bullwheel
CN220290539U (en) Adjustable pay-off device for soft flat cable pressing processing
CN109384159B (en) Traction device of vertical lifting system
CN213242069U (en) Photovoltaic is stretching device for cable
CN211915030U (en) High-performance aluminum alloy material traction device
CN118970559B (en) Wiring device for distribution box
CN116395614B (en) Electric power operation and maintenance insulating operation platform frame
CN216435541U (en) Production traction equipment of power cable for frequency converter
CN119132797B (en) A mounting and fixing structure for an oil-immersed transformer
CN118983146B (en) New energy cable comprehensive cable machine
CN219874803U (en) Tensioning device for mineral insulated cable
CN221543621U (en) Take-up device for network engineering
CN220873315U (en) Twisting and tensioning device for aluminum alloy conductor
CN215713936U (en) Cleaning device with stepless speed change rotating mechanism for polyester fibers
CN222867328U (en) Cable wire bundling machine with tensioning structure
CN118529541B (en) Intelligent heat treatment wire continuous paying-off device
CN222892852U (en) Electric power construction cable traction machine
CN223047067U (en) Installation loop wheel machine convenient to adjust for electromechanical installation

Legal Events

Date Code Title Description
PB01 Publication
PB01 Publication
SE01 Entry into force of request for substantive examination
SE01 Entry into force of request for substantive examination
GR01 Patent grant
GR01 Patent grant
CF01 Termination of patent right due to non-payment of annual fee
CF01 Termination of patent right due to non-payment of annual fee

Granted publication date: 20230117