CN113199008A - Vacuum low-pressure casting device and method for large aluminum and magnesium alloy castings - Google Patents

Vacuum low-pressure casting device and method for large aluminum and magnesium alloy castings Download PDF

Info

Publication number
CN113199008A
CN113199008A CN202110540946.7A CN202110540946A CN113199008A CN 113199008 A CN113199008 A CN 113199008A CN 202110540946 A CN202110540946 A CN 202110540946A CN 113199008 A CN113199008 A CN 113199008A
Authority
CN
China
Prior art keywords
vacuum
casting
crucible
cavity
pressure
Prior art date
Legal status (The legal status is an assumption and is not a legal conclusion. Google has not performed a legal analysis and makes no representation as to the accuracy of the status listed.)
Pending
Application number
CN202110540946.7A
Other languages
Chinese (zh)
Inventor
曹韩学
谯攀
龙思远
Current Assignee (The listed assignees may be inaccurate. Google has not performed a legal analysis and makes no representation or warranty as to the accuracy of the list.)
Chongqing University
Original Assignee
Chongqing University
Priority date (The priority date is an assumption and is not a legal conclusion. Google has not performed a legal analysis and makes no representation as to the accuracy of the date listed.)
Filing date
Publication date
Application filed by Chongqing University filed Critical Chongqing University
Priority to CN202110540946.7A priority Critical patent/CN113199008A/en
Publication of CN113199008A publication Critical patent/CN113199008A/en
Pending legal-status Critical Current

Links

Images

Classifications

    • BPERFORMING OPERATIONS; TRANSPORTING
    • B22CASTING; POWDER METALLURGY
    • B22DCASTING OF METALS; CASTING OF OTHER SUBSTANCES BY THE SAME PROCESSES OR DEVICES
    • B22D18/00Pressure casting; Vacuum casting
    • B22D18/04Low pressure casting, i.e. making use of pressures up to a few bars to fill the mould
    • BPERFORMING OPERATIONS; TRANSPORTING
    • B22CASTING; POWDER METALLURGY
    • B22DCASTING OF METALS; CASTING OF OTHER SUBSTANCES BY THE SAME PROCESSES OR DEVICES
    • B22D18/00Pressure casting; Vacuum casting
    • B22D18/06Vacuum casting, i.e. making use of vacuum to fill the mould
    • BPERFORMING OPERATIONS; TRANSPORTING
    • B22CASTING; POWDER METALLURGY
    • B22DCASTING OF METALS; CASTING OF OTHER SUBSTANCES BY THE SAME PROCESSES OR DEVICES
    • B22D18/00Pressure casting; Vacuum casting
    • B22D18/08Controlling, supervising, e.g. for safety reasons

Landscapes

  • Engineering & Computer Science (AREA)
  • Mechanical Engineering (AREA)
  • Casting Support Devices, Ladles, And Melt Control Thereby (AREA)

Abstract

本发明公开了一种用于大型铝、镁合金铸件的真空低压铸造装置及铸造方法。所述装置包括模具系统和铸造系统;所述模具系统包括上模和下模,在上模和下模的分型面上设有至少一个排气块;包括真空系统,所述真空系统包括真空泵、负压罐、真空管道,所述真空泵与负压罐相连,所述真空管道的一端与负压罐相连,另一端延伸至排气块处并与排气块密封连接,通过真空泵能够对型腔抽真空;还包括控制系统,所述控制系统分别与模具系统、铸造系统和真空系统相连,用于控制模具系统、真空系统及铸造系统的工作。本发明设置简单、易于实施,能够满足大型铝、镁合金铸件的真空低压铸造要求,且成本较低。

Figure 202110540946

The invention discloses a vacuum low-pressure casting device and a casting method for large-scale aluminum and magnesium alloy castings. The device includes a mold system and a casting system; the mold system includes an upper mold and a lower mold, and at least one exhaust block is provided on the parting surface of the upper mold and the lower mold; and a vacuum system includes a vacuum pump , negative pressure tank, vacuum pipeline, the vacuum pump is connected with the negative pressure tank, one end of the vacuum pipeline is connected with the negative pressure tank, and the other end extends to the exhaust block and is sealed with the exhaust block. The cavity is evacuated; and a control system is also included. The control system is respectively connected with the mold system, the casting system and the vacuum system, and is used for controlling the work of the mold system, the vacuum system and the casting system. The invention is simple to set and easy to implement, can meet the vacuum low pressure casting requirements of large aluminum and magnesium alloy castings, and has low cost.

Figure 202110540946

Description

Vacuum low-pressure casting device and method for large aluminum and magnesium alloy castings
Technical Field
The invention relates to the field of low-pressure casting, in particular to a vacuum low-pressure casting device and a casting method for large aluminum and magnesium alloy castings.
Background
The common technological processes for producing large aluminum alloy, magnesium alloy and other castings mainly include sand casting, pressure casting, low-pressure casting and the like. Low pressure casting is a process whereby liquid metal is forced under relatively low pressure into a mold-filling cavity to form a casting. The molten metal can rise stably from bottom to top, and can not splash when filling, and the atmosphere and pressure can be regulated, so that it is specially applicable to aluminium and magnesium alloy.
In the production process of the existing low-pressure casting process, because gas in a mold cavity of a mold can not be completely removed when the metal liquid is filled, part of gas is remained in a casting to form gas holes, and the problems of metal liquid oxidation and slag inclusion are caused. At present, the improvement method of the low-pressure casting process is to add a sealing cover outside a mould, then vacuumize the mould and perform exhaust treatment.
However, such improvements are not suitable for producing large castings. Because the large casting is too large in size, a larger die, a larger hoisting device, a larger drying device and the like are needed for production. If the improved method is adopted, the sealing cover is additionally arranged outside the die, so that the equipment is complex, the installation process steps are complicated, the maintenance is inconvenient, the problem of poor sealing performance exists, the quality of the casting is difficult to guarantee, and the control of the production cost is also not facilitated.
Disclosure of Invention
Aiming at the defects in the prior art, the invention aims to solve the problems that equipment is complex, the quality of a large casting cannot be ensured and the casting cost cannot be controlled due to the fact that a sealing cover is additionally arranged outside a mould in the vacuum low-pressure casting process of the large casting, and provides a vacuum low-pressure casting device for the large aluminum and magnesium alloy casting, which is simple in arrangement, easy to implement, capable of meeting the vacuum low-pressure casting requirement of the large casting and low in cost.
In order to solve the technical problems, the invention adopts the following technical scheme:
a vacuum low-pressure casting device for large aluminum and magnesium alloy castings comprises a die system and a casting system; the mould system comprises an upper mould and a lower mould, wherein at least one exhaust block is arranged on the parting surface of the upper mould and the lower mould, and a cavity is formed between the upper mould and the lower mould; the casting system comprises a heat preservation furnace, a crucible is arranged in a hearth of the heat preservation furnace, a liquid lifting pipe is arranged in the crucible, a pouring gate is arranged at the upper end of the liquid lifting pipe, and the pouring gate is communicated with a cavity; the lower end of the liquid lifting pipe penetrates through the lower die and then extends to be close to the bottom of the crucible; the upper part of the holding furnace is also provided with an inflation tube, one end of the inflation tube is communicated with the air pump, and the other end of the inflation tube extends into the crucible after penetrating through the holding furnace and the crucible;
the vacuum system comprises a vacuum pump, a negative pressure tank and a vacuum pipeline, wherein the vacuum pump is connected with the negative pressure tank, one end of the vacuum pipeline is connected with the negative pressure tank, the other end of the vacuum pipeline extends to the exhaust block and is in sealed connection with the exhaust block, and the cavity can be vacuumized through the vacuum pump;
the casting device is characterized by further comprising a control system, wherein the control system is respectively connected with the mold system, the casting system and the vacuum system and is used for controlling the mold system, the vacuum system and the casting system to work.
Through setting up vacuum system, vacuum system includes vacuum pump, negative pressure jar and vacuum pipe, the vacuum pump links to each other with the negative pressure jar, the one end and the negative pressure jar of vacuum pipe link to each other, and the other end extends to exhaust piece department and with exhaust piece sealing connection, can be to the die cavity evacuation through the vacuum pump. Like this, need not to add the sealed cowling of establishing and being used for the evacuation outside the mould, but on the basis of current mould, set up vacuum channel on the mould to vacuum channel and exhaust block sealing connection can open and establish one or more evacuation passageway, and evacuation passageway quantity, position, size are nimble adjustable, accomplish the regulation to the vacuum in the mould die cavity through vacuum pump and vacuum pipeline. The device sets up simply, and easy to carry out has practiced thrift the cost of establishing the sealed cowling to realized the mould evacuation, can obtain the good foundry goods of quality.
Through setting up control system, control system links to each other with mould system, casting system and vacuum system respectively for control mould system, vacuum system and casting system's work, like this, can realize the automatic control to mould system, casting system and vacuum system, make the device degree of automation high, ensure that the parameter of every foundry goods is unanimous, and process stability is high, and the product quality uniformity is good.
Furthermore, a vacuum gauge, a flow control valve and a vacuum valve are connected to the vacuum pipeline, so that the process of vacuumizing the cavity can be controlled conveniently, and the vacuum degree in the cavity can be read conveniently.
Furthermore, a through hole is formed in the upper die or the lower die corresponding to the exhaust block, extends to the exhaust block and is connected with the exhaust block in a sealing mode; the vacuum pipeline is inserted into the through hole and is in sealing connection with the through hole, so that the vacuum pipeline is convenient to arrange, and the whole device is clean and tidy.
Furthermore, the through hole and the exhaust block and the vacuum pipeline and the through hole are respectively in sealing connection through sealing strips, so that the cavity is easily vacuumized and the vacuum degree is kept.
Furthermore, the control system is used for controlling the opening and closing of the upper die and the lower die, the heating of the heat preservation furnace and the work of the air pump and the vacuum pump, so that the intellectualization of vacuum low-pressure casting of aluminum and magnesium alloy castings is realized conveniently, and the product consistency is good.
The invention also provides a vacuum low-pressure casting method of the large casting, which adopts the vacuum low-pressure casting device for the large aluminum and magnesium alloy casting and comprises the following steps:
s1, controlling the upper die and the lower die to be closed through a control system, controlling a vacuum pump, a flow control valve and a vacuum valve to be opened, and vacuumizing the cavity to enable the vacuum degree in the cavity to be 0.005-0.03 Mpa; therefore, the mold is pre-vacuumized before mold filling after mold closing, most of gas in the cavity can be discharged, and the risk that metal liquid is carried with gas and is trapped inside a casting is reduced.
S2, maintaining the vacuum degree in S1, controlling the air pump to work to pressurize the crucible, enabling the air pressure in the crucible to reach a first set value, and filling the metal liquid into the cavity until the cavity is filled; therefore, vacuum is synchronously pumped during mold filling, gas in the cavity is further exhausted, and the risk that the metal liquid is carried with the gas and is trapped in the casting is further reduced.
And S3, after the molding cavity is filled, the vacuum pump, the flow control valve and the vacuum valve are closed through the control system, the air pump is continuously controlled to work to pressurize the crucible, the air pressure in the crucible reaches a second set value, and the metal liquid is solidified and molded under the air pressure. Therefore, after the vacuumizing is stopped, the crucible is continuously pressurized, so that the metal liquid is solidified and formed under higher pressure, shrinkage porosity and shrinkage cavity of the casting caused by solidification are effectively supplemented, the internal structure of the casting is compact, and the surface smoothness is high.
S4, controlling the air pump to be closed by the control system, discharging the air pressure in the crucible, enabling the metal liquid in the liquid lifting pipe to flow back into the crucible, and taking out the casting after the casting is cooled;
and S5, repeating the steps S1-S4, and processing the next casting.
According to the casting method provided by the invention, because the mold is pre-vacuumized before mold filling after mold closing, most of gas in the cavity is exhausted, and the mold is synchronously vacuumized during mold filling, further the gas in the cavity is exhausted, the risk that metal liquid carries the gas and is trapped in the casting is reduced, the flowing mold filling of large, thin-wall and complex structural members is facilitated, the mold filling defects such as oxidation, inclusion and the like caused by multi-sprue mold filling are particularly facilitated to be eliminated, and the product quality is high. The method is simple to operate, high in production efficiency and beneficial to cost control of large castings.
In the method provided by the invention, after an upper die and a lower die are closed, before the metal liquid is filled, a vacuum pump and a vacuum channel are opened, and a die cavity is pre-vacuumized; then introducing compressed air into the crucible to press the metal liquid into a mold cavity, and keeping the vacuumizing channel in an open state in the process; after the mold filling is finished, closing the vacuumizing channel; solidifying and molding the metal liquid under pressure, removing air pressure after the casting is solidified, and enabling the unsolidified metal liquid to flow back to the crucible; and opening the mold to take the casting after the casting is cooled, and entering the next working cycle.
Because the through hole is directly arranged on the mould, the vacuum pipeline is inserted into the through hole, and the through hole is respectively connected with the exhaust block and the vacuum pipeline in a sealing way, so that a vacuumizing channel is formed between the through hole and the vacuum pipeline. The position and the number of the vacuum channels are flexible and adjustable, the vacuumizing effect is good, and the high vacuum degree of a mold cavity can be realized. The vacuum pumping process and the casting process can realize integrated control, the process stability is high, and the product quality consistency is good; because the mold cavity is pre-vacuumized and vacuumized simultaneously in the mold filling process, the mold filling method is favorable for the flowing mold filling of large, thin-wall and complex structural parts, is particularly favorable for eliminating the mold filling defects such as oxidation, inclusion and the like caused by the multi-sprue mold filling, and has high product quality; the method and the device have the advantages of simple structure, convenient installation and maintenance, high production efficiency and contribution to cost control.
Wherein the first set value in the crucible is 0.06-0.08Mpa, and the second set value is 0.12-0.15 Mpa. Thus, the casting requirement of the casting can be met, and the casting with good quality can be obtained.
Compared with the prior art, the invention has the following advantages:
1. through setting up vacuum system, vacuum system includes vacuum pump, negative pressure jar and vacuum pipe, the vacuum pump links to each other with the negative pressure jar, the one end and the negative pressure jar of vacuum pipe link to each other, and the other end extends to exhaust piece department and with exhaust piece sealing connection, can be to the die cavity evacuation through the vacuum pump. Therefore, a sealing cover for vacuumizing is not required to be additionally arranged on the outer side of the mold, but a vacuum channel is arranged on the exhaust block on the basis of the existing mold, the vacuum channel is in sealing connection with the exhaust block, one or more vacuumizing channels can be opened, the number, the position and the size of the vacuumizing channels are flexible and adjustable, and the adjustment of the vacuum degree in the mold cavity of the mold is completed through the vacuum pump and the vacuum pipeline. The device sets up simply, and easy to carry out has practiced thrift the cost of establishing the sealed cowling to realized the mould evacuation, can obtain the good foundry goods of quality.
2. Through setting up control system, control system links to each other with mould system, casting system and vacuum system respectively for control mould system, vacuum system and casting system's work, like this, can realize the automatic control to mould system, casting system and vacuum system, make the device degree of automation high, ensure that the parameter of every foundry goods is unanimous, and process stability is high, and the product quality uniformity is good.
Drawings
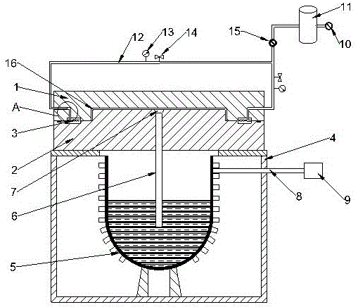
Fig. 1 is a schematic view of a vacuum low-pressure casting apparatus for large aluminum, magnesium alloy castings according to the present invention (control system not shown).
Fig. 2 is an enlarged view of a portion a in fig. 1.
FIG. 3 is a flow chart of a vacuum low-pressure casting method of a large casting according to the present invention.
FIG. 4 is a metallographic microscope photograph of a large casting of A356 aluminum alloy prepared in example 1.
FIG. 5 is a macro topography of a large casting of A356 aluminum alloy prepared by a prior art low pressure casting method.
FIG. 6 is a metallographic microscope photograph of a large casting of A356 aluminum alloy prepared in example 3.
In the figure, an upper die 1, a lower die 2, an exhaust block 3, a holding furnace 4, a crucible 5, a riser 6, a pouring gate 7, an inflation tube 8, an air pump 9, a vacuum pump 10, a negative pressure tank 11, a vacuum pipeline 12, a vacuum gauge 13, a flow control valve 14, a vacuum valve 15 and a casting 16.
Detailed Description
The invention will be further explained with reference to the drawings and the embodiments.
Referring to fig. 1 and 2, the vacuum low-pressure casting device for large aluminum and magnesium alloy castings comprises a die system and a casting system. The mold system includes an upper mold 1 and a lower mold 2. At least one exhaust block 3 is arranged on the parting surface of the upper die 1 and the lower die 2. A cavity is formed between the upper die 1 and the lower die 2. The casting system comprises a heat preservation furnace 4, and a crucible 5 is arranged in a hearth of the heat preservation furnace 4. A liquid lifting pipe 6 is arranged in the crucible 5, the upper end of the liquid lifting pipe 6 is provided with a pouring gate 7, and the pouring gate 7 is communicated with the cavity. The lower end of the liquid lifting pipe 6 passes through the lower die 2 and extends to be close to the bottom of the crucible 5. An air charging pipe 8 is arranged at the upper part of the holding furnace 4, one end of the air charging pipe 8 is communicated with an air pump 9, and the other end of the air charging pipe 8 extends into the crucible 5 after penetrating through the holding furnace 4 and the crucible 5.
Still include vacuum system, vacuum system includes vacuum pump 10, negative pressure jar 11, vacuum pipe 12, vacuum pump 10 links to each other with negative pressure jar 11, vacuum pipe 12's one end links to each other with negative pressure jar 11, and the other end extends to exhaust block 3 department and with exhaust block 3 sealing connection, can be to the die cavity evacuation through vacuum pump 10. In specific implementation, one or more exhaust blocks 3 can be arranged according to the shape and complexity of the casting 16, and through holes are formed in the positions, corresponding to the exhaust blocks 3, of the upper die 1 or the lower die 2, and extend to the exhaust blocks 3 and are connected with the exhaust blocks 3 in a sealing mode. The vacuum pipe 12 is inserted into the through hole and is hermetically connected with the through hole, so that the vacuum pipe 12 is conveniently arranged, the arrangement of the vacuum pipe 12 is flexible, and the whole device can be kept neat. The through hole is hermetically connected with the exhaust block 3, and the vacuum pipeline 12 is hermetically connected with the through hole through sealing strips, so that the cavity is easily vacuumized and the vacuum degree is kept. The vacuum pipe 12 is connected with a vacuum gauge 13, a flow control valve 14 and a vacuum valve 15, so that the process of vacuumizing the cavity and the vacuum degree in the cavity can be conveniently controlled and read.
The casting device is characterized by further comprising a control system, wherein the control system is respectively connected with the mold system, the casting system and the vacuum system and is used for controlling the mold system, the vacuum system and the casting system to work. The control system is specifically used for controlling the opening and closing of the upper die 1 and the lower die 2, the heating of the holding furnace 4, the operation of the air pump 9 and the vacuum pump 10, and is convenient for realizing the intellectualization of vacuum low-pressure casting of aluminum and magnesium alloy castings 16, so that the product consistency is good.
Referring to fig. 3, the vacuum low-pressure casting method using the vacuum low-pressure casting device for large aluminum and magnesium alloy castings 16 comprises the following steps:
s1, controlling the upper die 1 and the lower die 2 to be closed through a control system, controlling the vacuum pump 10, the flow control valve 14 and the vacuum valve 15 to be opened, and vacuumizing the cavity to enable the vacuum degree in the cavity to be 0.005-0.03 Mpa; in this way, the mold is pre-evacuated prior to mold closing and filling, allowing the majority of the gas in the cavity to be vented, reducing the risk of the metal liquid becoming entrained in the gas and trapped inside the casting 16.
S2, keeping the vacuum degree in the cavity, controlling the air pump 9 to work to pressurize the crucible 5, making the air pressure in the crucible 5 reach a first set value, and filling the metal liquid into the cavity until the cavity filling is completed. In specific implementation, the first set value in the crucible 5 is 0.06-0.08 Mpa. In this way, the simultaneous evacuation during filling further evacuates the gas in the mould cavity, further reducing the risk of the metal liquid becoming entrained with the gas and trapped inside the casting 16.
And S3, after the filling of the forming cavity is finished, the vacuum pump 10, the flow control valve 14 and the vacuum valve 15 are closed through the control system, the air pump 9 is continuously controlled to work to pressurize the crucible 5, the air pressure in the crucible 5 reaches a second set value, and the metal liquid is solidified and formed under the air pressure. In specific implementation, the second set value is 0.12-0.15 MPa. Therefore, after the vacuumizing is stopped, the crucible 5 is continuously pressurized, so that the metal liquid is solidified and formed under a larger pressure, shrinkage porosity of the casting 16 caused by solidification is effectively supplemented, the internal structure of the casting 16 is compact, and the surface finish is high.
S4, the control system closes the air pump 9, releases the air pressure in the crucible 5, and the metal liquid in the riser tube 6 flows back to the crucible 5, and the casting 16 is taken out after the casting 16 is cooled;
and S5, repeating the steps S1-S4, and processing the next casting 16.
Example 1
A large A356 aluminum alloy casting product is cast in vacuum at low pressure. The exhaust block and the vacuum channel are respectively provided with 2.
The method comprises the following specific steps:
and S1, controlling the upper die and the lower die to be closed through the control system, controlling the vacuum pump, the flow control valve and the vacuum valve to be opened, and vacuumizing the cavity to enable the vacuum degree in the cavity to be 0.02 MPa. (the degree of vacuum in this example is expressed in terms of absolute pressure, the same applies hereinafter.)
S2, maintaining the vacuum degree in S1, controlling the air pump to work to pressurize the crucible, and enabling the air pressure in the crucible to reach 0.06 MPa. Preheating the mould to 170-180 ℃, and filling the molten metal which is smelted to 680 ℃ into the cavity until the cavity is filled;
s3, after the molding cavity is filled, the vacuum pump, the flow control valve and the vacuum valve are closed through the control system, the air pump is continuously controlled to work to pressurize the crucible, the air pressure in the crucible is increased to 0.12MPa, the pressure is kept for 140S, and the metal liquid is solidified and molded under the air pressure;
s4, controlling the air pump to be closed by the control system, discharging the air pressure in the crucible, enabling the metal liquid in the liquid lifting pipe to flow back into the crucible, and taking out the casting after the casting is cooled;
and S5, repeating the steps S1-S4, and processing the next casting. The structure of the cast article produced in this example is shown in FIG. 4, in which the arrows indicate pores (the same applies below).
Comparative example 1
A356 aluminum alloy large casting is prepared by a conventional low-pressure casting method. The specific method comprises the steps of controlling the upper die and the lower die to be closed, preheating the die to 170-180 ℃, controlling the air pump to work to pressurize the crucible, enabling the air pressure in the crucible to reach 0.06MPa, and filling the molten metal which is melted to 680 ℃ into the cavity until the cavity is filled. And continuously controlling the air pump to work to pressurize the crucible, increasing the air pressure in the crucible to 0.12MPa, and keeping the pressure for 140s to solidify and form the metal liquid under the air pressure. The structure of a356 aluminum alloy large casting produced by the low pressure casting method is shown in fig. 5, and it can be seen from fig. 5 that the casting produced in comparative example 1 has a large number of pores and a large pore diameter, and has a significant visual perception of pores.
Comparing fig. 4 and 5, it can be seen that the density of the casting prepared by the preparation method provided by the invention is high, and the casting prepared by the embodiment has fewer pores and high quality.
Example 2
A large A356 aluminum alloy casting product is vacuum low pressure cast, 4 exhaust blocks and vacuum channels are respectively arranged.
The method comprises the following specific steps:
s1, controlling the upper die and the lower die to be closed through the control system, controlling the vacuum pump, the flow control valve and the vacuum valve to be opened, and vacuumizing the cavity to enable the vacuum degree in the cavity to be 0.02 MPa;
s2, maintaining the vacuum degree in S1, controlling the air pump to work to pressurize the crucible, and enabling the air pressure in the crucible to reach 0.06 MPa. Preheating the mould to 170-180 ℃, and filling the molten metal which is smelted to 680 ℃ into the cavity until the cavity is filled;
s3, after the molding cavity is filled, the vacuum pump, the flow control valve and the vacuum valve are closed through the control system, the air pump is continuously controlled to work to pressurize the crucible, the air pressure in the crucible is increased to 0.12MPa, the pressure is kept for 140S, and the metal liquid is solidified and molded under the air pressure;
s4, controlling the air pump to be closed by the control system, discharging the air pressure in the crucible, enabling the metal liquid in the liquid lifting pipe to flow back into the crucible, and taking out the casting after the casting is cooled;
and S5, repeating the steps S1-S4, and processing the next casting.
Example 3
A large A356 aluminum alloy casting product is vacuum low pressure cast, and 2 exhaust passages are arranged.
The method comprises the following specific steps:
s1, controlling the upper die and the lower die to be closed through the control system, controlling the vacuum pump, the flow control valve and the vacuum valve to be opened, and vacuumizing the cavity to enable the vacuum degree in the cavity to be 0.01 MPa;
s2, maintaining the vacuum degree in S1, controlling the air pump to work to pressurize the crucible, and enabling the air pressure in the crucible to reach 0.06 MPa. Preheating the mould to 170-180 ℃, and filling the molten metal which is smelted to 680 ℃ into the cavity until the cavity is filled;
s3, after the molding cavity is filled, the vacuum pump, the flow control valve and the vacuum valve are closed through the control system, the air pump is continuously controlled to work to pressurize the crucible, the air pressure in the crucible is increased to 0.12MPa, the pressure is kept for 140S, and the metal liquid is solidified and molded under the air pressure;
s4, controlling the air pump to be closed by the control system, discharging the air pressure in the crucible, enabling the metal liquid in the liquid lifting pipe to flow back into the crucible, and taking out the casting after the casting is cooled;
and S5, repeating the steps S1-S4, and processing the next casting. The structure of the cast prepared in this example is shown in fig. 6. As can be seen from a comparison between fig. 4 and 6, the casting obtained has a denser structure, fewer pores, and smaller pore size as the degree of vacuum increases.
Example 4
A certain AZ91D magnesium alloy large casting product is cast in vacuum at low pressure, and 2 exhaust passages are arranged.
The method comprises the following specific steps:
s1, controlling the upper die and the lower die to be closed through the control system, controlling the vacuum pump, the flow control valve and the vacuum valve to be opened, and vacuumizing the cavity to enable the vacuum degree in the cavity to be 0.01 MPa;
s2, maintaining the vacuum degree in S1, controlling the air pump to work to pressurize the crucible, and enabling the air pressure in the crucible to reach 0.08 MPa. Preheating the mould to 170-180 ℃, and filling the molten metal which is smelted to 680 ℃ into the cavity until the cavity is filled;
s3, after the molding cavity is filled, the vacuum pump, the flow control valve and the vacuum valve are closed through the control system, the air pump is continuously controlled to work to pressurize the crucible, the air pressure in the crucible is increased to 0.15MPa, the pressure is kept for 150S, and the metal liquid is solidified and molded under the air pressure;
s4, controlling the air pump to be closed by the control system, discharging the air pressure in the crucible, enabling the metal liquid in the liquid lifting pipe to flow back into the crucible, and taking out the casting after the casting is cooled;
and S5, repeating the steps S1-S4, and processing the next casting.
Example 5
A certain AZ91D magnesium alloy large casting product is cast in vacuum at low pressure, and 4 exhaust passages are arranged.
The method comprises the following specific steps:
s1, controlling the upper die and the lower die to be closed through the control system, controlling the vacuum pump, the flow control valve and the vacuum valve to be opened, and vacuumizing the cavity to enable the vacuum degree in the cavity to be 0.01 MPa;
s2, maintaining the vacuum degree in S1, controlling the air pump to work to pressurize the crucible, and enabling the air pressure in the crucible to reach 0.08 MPa. Preheating the mould to 170-180 ℃, and filling the molten metal which is smelted to 680 ℃ into the cavity until the cavity is filled;
s3, after the molding cavity is filled, the vacuum pump, the flow control valve and the vacuum valve are closed through the control system, the air pump is continuously controlled to work to pressurize the crucible, the air pressure in the crucible is increased to 0.15MPa, the pressure is kept for 150S, and the metal liquid is solidified and molded under the air pressure;
s4, controlling the air pump to be closed by the control system, discharging the air pressure in the crucible, enabling the metal liquid in the liquid lifting pipe to flow back into the crucible, and taking out the casting after the casting is cooled;
and S5, repeating the steps S1-S4, and processing the next casting.
Example 6
A certain AZ91D magnesium alloy large casting is cast in vacuum at low pressure, and 2 exhaust passages are arranged.
The method comprises the following specific steps:
s1, controlling the upper die and the lower die to be closed through the control system, controlling the vacuum pump, the flow control valve and the vacuum valve to be opened, and vacuumizing the cavity to enable the vacuum degree in the cavity to be 0.02 MPa;
s2, maintaining the vacuum degree in S1, controlling the air pump to work to pressurize the crucible, and enabling the air pressure in the crucible to reach 0.08 MPa. Preheating the mould to 170-180 ℃, and filling the molten metal which is smelted to 680 ℃ into the cavity until the cavity is filled;
s3, after the molding cavity is filled, the vacuum pump, the flow control valve and the vacuum valve are closed through the control system, the air pump is continuously controlled to work to pressurize the crucible, the air pressure in the crucible is increased to 0.15MPa, the pressure is kept for 150S, and the metal liquid is solidified and molded under the air pressure;
s4, controlling the air pump to be closed by the control system, discharging the air pressure in the crucible, enabling the metal liquid in the liquid lifting pipe to flow back into the crucible, and taking out the casting after the casting is cooled;
and S5, repeating the steps S1-S4, and processing the next casting.
According to the casting device provided by the invention, as the sealing structure of the vacuumizing channel is directly arranged on the mold, the position and the number of the vacuumizing channel are flexible and adjustable, the vacuumizing effect is good, and the high vacuum degree of the mold cavity can be realized; the vacuum pumping process and the casting process can realize integrated control, the process stability is high, and the product quality consistency is good. The device has simple structure, convenient installation and maintenance, high production efficiency and contribution to cost control.
According to the casting method provided by the invention, because the mold is pre-vacuumized before mold filling after mold closing, most of gas in the cavity is exhausted, and the mold is synchronously vacuumized during mold filling, further the gas in the cavity is exhausted, the risk that metal liquid carries the gas and is trapped in the casting is reduced, the flowing mold filling of large, thin-wall and complex structural parts is facilitated, the mold filling defects of oxidation, inclusion and the like caused by multi-sprue mold filling are particularly facilitated to be eliminated, and the product quality is high. The method is simple to operate, high in production efficiency and beneficial to cost control of large castings.
Finally, it should be noted that the above embodiments are only used for illustrating the technical solutions of the present invention and not for limiting the technical solutions, and those skilled in the art should understand that modifications or equivalent substitutions can be made on the technical solutions of the present invention without departing from the spirit and scope of the technical solutions, and all that should be covered by the claims of the present invention.

Claims (7)

1. A vacuum low-pressure casting device for large aluminum and magnesium alloy castings comprises a die system and a casting system; the mould system comprises an upper mould and a lower mould, wherein at least one exhaust block is arranged on the parting surface of the upper mould and the lower mould, and a cavity is formed between the upper mould and the lower mould; the casting system comprises a heat preservation furnace, a crucible is arranged in a hearth of the heat preservation furnace, a liquid lifting pipe is arranged in the crucible, a pouring gate is arranged at the upper end of the liquid lifting pipe, and the pouring gate is communicated with a cavity; the lower end of the liquid lifting pipe penetrates through the lower die and then extends to be close to the bottom of the crucible; the upper part of the holding furnace is also provided with an inflation tube, one end of the inflation tube is communicated with the air pump, and the other end of the inflation tube extends into the crucible after penetrating through the holding furnace and the crucible; it is characterized in that the preparation method is characterized in that,
the vacuum system comprises a vacuum pump, a negative pressure tank and a vacuum pipeline, wherein the vacuum pump is connected with the negative pressure tank, one end of the vacuum pipeline is connected with the negative pressure tank, the other end of the vacuum pipeline extends to the exhaust block and is in sealed connection with the exhaust block, and the cavity can be vacuumized through the vacuum pump;
the casting device is characterized by further comprising a control system, wherein the control system is respectively connected with the mold system, the casting system and the vacuum system and is used for controlling the mold system, the vacuum system and the casting system to work.
2. The vacuum low-pressure casting apparatus for large-size aluminum and magnesium alloy castings according to claim 1, wherein a vacuum gauge, a flow control valve and a vacuum valve are connected to the vacuum line.
3. The vacuum low-pressure casting device for large-size aluminum and magnesium alloy castings according to claim 1, wherein a through hole is formed in the upper die or the lower die, and the through hole extends to the exhaust block and is connected with the exhaust block in a sealing manner; the vacuum pipeline is inserted into the through hole and is connected with the through hole in a sealing mode.
4. The vacuum low-pressure casting device for large-size aluminum and magnesium alloy castings according to claim 3, wherein the through hole and the exhaust block, and the vacuum pipeline and the through hole are respectively connected in a sealing manner through sealing strips.
5. The vacuum low-pressure casting device for large-size aluminum and magnesium alloy castings according to claim 1, wherein the control system is used for controlling the opening and closing of the upper die and the lower die, the heating of the holding furnace, and the operation of the air pump and the vacuum pump.
6. A vacuum low-pressure casting method for large-scale aluminum and magnesium alloy castings, characterized in that the vacuum low-pressure casting device for large-scale aluminum and magnesium alloy castings according to any one of claims 1 to 5 is adopted, and comprises the following steps:
s1, controlling the upper die and the lower die to be closed through the casting system, controlling the vacuum pump, the flow control valve and the vacuum valve to be opened, and vacuumizing the cavity to enable the vacuum degree in the cavity to be 0.005-0.03 Mpa;
s2, maintaining the vacuum degree in S1, controlling the air pump to work to pressurize the crucible, enabling the air pressure in the crucible to reach a first set value, and filling the metal liquid into the cavity until the cavity is filled;
s3, after the molding cavity is filled, the vacuum pump and the flow control valve are closed through the control system, the air pump is continuously controlled to work to pressurize the crucible, the air pressure in the crucible reaches a second set value, and the metal liquid is solidified and molded under the air pressure;
s4, controlling the air pump to be closed by the control system, discharging the air pressure in the crucible, enabling the metal liquid in the liquid lifting pipe to flow back into the crucible, and taking out the casting after the casting is cooled;
and S5, repeating the steps S1-S4, and processing the next casting.
7. A method of vacuum low pressure casting of large castings according to claim 6, characterized in that the first setting in the crucible is 0.06-0.08MPa and the second setting is 0.12-0.15 MPa.
CN202110540946.7A 2021-05-18 2021-05-18 Vacuum low-pressure casting device and method for large aluminum and magnesium alloy castings Pending CN113199008A (en)

Priority Applications (1)

Application Number Priority Date Filing Date Title
CN202110540946.7A CN113199008A (en) 2021-05-18 2021-05-18 Vacuum low-pressure casting device and method for large aluminum and magnesium alloy castings

Applications Claiming Priority (1)

Application Number Priority Date Filing Date Title
CN202110540946.7A CN113199008A (en) 2021-05-18 2021-05-18 Vacuum low-pressure casting device and method for large aluminum and magnesium alloy castings

Publications (1)

Publication Number Publication Date
CN113199008A true CN113199008A (en) 2021-08-03

Family

ID=77031637

Family Applications (1)

Application Number Title Priority Date Filing Date
CN202110540946.7A Pending CN113199008A (en) 2021-05-18 2021-05-18 Vacuum low-pressure casting device and method for large aluminum and magnesium alloy castings

Country Status (1)

Country Link
CN (1) CN113199008A (en)

Cited By (4)

* Cited by examiner, † Cited by third party
Publication number Priority date Publication date Assignee Title
CN114406230A (en) * 2022-01-26 2022-04-29 邢书明 Device and method for integral forming of front frame of electric bicycle
CN114951606A (en) * 2022-06-08 2022-08-30 保定市立中车轮制造有限公司 Vacuum suspension casting equipment and process
CN117206500A (en) * 2023-11-06 2023-12-12 南通通力油泵有限公司 Low-pressure casting die for fuel injection pump body
CN117983794A (en) * 2024-04-07 2024-05-07 泰州市双宇汽车零部件有限公司 Casting device for skylight window reinforcing piece

Citations (8)

* Cited by examiner, † Cited by third party
Publication number Priority date Publication date Assignee Title
JP2003266168A (en) * 2002-03-15 2003-09-24 Fujino Gijutsu Consultant:Kk Vertical-type casting apparatus and vertical-type casting method
KR100704074B1 (en) * 2005-12-15 2007-04-06 대림기업 주식회사 Vacuum Press Low Pressure Casting Machine and Construction Method
CN1960822A (en) * 2004-04-01 2007-05-09 新东工业株式会社 Pouring method, device and casting of vacuum suction casting
CN101274361A (en) * 2008-05-08 2008-10-01 南昌航空大学 Low speed vacuum squeeze casting technology
CN105880508A (en) * 2014-05-08 2016-08-24 重庆硕龙科技有限公司 Vacuum high pressure casting method and device
CN106132593A (en) * 2014-03-31 2016-11-16 日产自动车株式会社 Casting method and casting device
CN108480597A (en) * 2018-05-28 2018-09-04 华中科技大学 A kind of condition of high vacuum degree of die casting fast implements device
CN108746553A (en) * 2018-08-23 2018-11-06 苏州沧海真空机械有限公司 Vacuum and the compound aluminum alloy casting apparatus and its method of low pressure

Patent Citations (8)

* Cited by examiner, † Cited by third party
Publication number Priority date Publication date Assignee Title
JP2003266168A (en) * 2002-03-15 2003-09-24 Fujino Gijutsu Consultant:Kk Vertical-type casting apparatus and vertical-type casting method
CN1960822A (en) * 2004-04-01 2007-05-09 新东工业株式会社 Pouring method, device and casting of vacuum suction casting
KR100704074B1 (en) * 2005-12-15 2007-04-06 대림기업 주식회사 Vacuum Press Low Pressure Casting Machine and Construction Method
CN101274361A (en) * 2008-05-08 2008-10-01 南昌航空大学 Low speed vacuum squeeze casting technology
CN106132593A (en) * 2014-03-31 2016-11-16 日产自动车株式会社 Casting method and casting device
CN105880508A (en) * 2014-05-08 2016-08-24 重庆硕龙科技有限公司 Vacuum high pressure casting method and device
CN108480597A (en) * 2018-05-28 2018-09-04 华中科技大学 A kind of condition of high vacuum degree of die casting fast implements device
CN108746553A (en) * 2018-08-23 2018-11-06 苏州沧海真空机械有限公司 Vacuum and the compound aluminum alloy casting apparatus and its method of low pressure

Cited By (5)

* Cited by examiner, † Cited by third party
Publication number Priority date Publication date Assignee Title
CN114406230A (en) * 2022-01-26 2022-04-29 邢书明 Device and method for integral forming of front frame of electric bicycle
CN114951606A (en) * 2022-06-08 2022-08-30 保定市立中车轮制造有限公司 Vacuum suspension casting equipment and process
CN114951606B (en) * 2022-06-08 2023-10-24 保定市立中车轮制造有限公司 Vacuum suspension casting equipment and process
CN117206500A (en) * 2023-11-06 2023-12-12 南通通力油泵有限公司 Low-pressure casting die for fuel injection pump body
CN117983794A (en) * 2024-04-07 2024-05-07 泰州市双宇汽车零部件有限公司 Casting device for skylight window reinforcing piece

Similar Documents

Publication Publication Date Title
CN113199008A (en) Vacuum low-pressure casting device and method for large aluminum and magnesium alloy castings
CN1190285C (en) Antigravitational vacuum method and apparatus for asting Mg allor or Al alloy with lost mould
CN2471451Y (en) Pressurized casting apparatus with vacuum and protective gas protection alternatively
CN102019401B (en) Cast forming method of small titanium alloy or titanium-aluminum alloy complicated casting
CN106975738A (en) Vacuum die-cast equipment and high vacuum die casting method
CN111940702B (en) Casting mold, differential pressure casting method and low pressure casting method
CN113523223A (en) A kind of aluminum/magnesium alloy vacuum die casting method and device
CN103540873A (en) Liquid-state near-net forming method and device for continuous carbon fiber enhanced aluminum-based composite material
CN110976814B (en) A kind of semi-continuous anti-gravity casting method of aluminum alloy automobile frame
CN108080601A (en) A kind of low-pressure charging casting machine fills the casting device and casting method of type High Pressure Solidification with low pressure
CN114951606A (en) Vacuum suspension casting equipment and process
CN108772555B (en) Explosion-proof device of vacuum suction casting chamber and control method thereof
CN108127101A (en) A kind of large thin-wall aluminium alloy castings plaster casting method
CN114054721A (en) A mold casting device
CN101224493A (en) Vacuum pressure absorbing and casting device
CN111069569A (en) Low-pressure filling type gravity compensation type casting mold and casting method thereof
CN110756763A (en) High-vacuum die-casting production process for rear rocker arm of motorcycle
CN108097923A (en) A kind of differential pressure pressurization casting machine fills the casting device and casting method of type High Pressure Solidification with low pressure
JP2933255B2 (en) Suction differential pressure casting method
CN119733816A (en) An extrusion casting device for forming aluminum-based composite materials
CN201419235Y (en) Vacuum die casting mechanism of aluminum alloy die casting mould for bracket
CN211614279U (en) Compound low pressure cast aluminium equipment
CN215144607U (en) Negative pressure die-casting device for heat-resistant steel exhaust manifold
CN117505818A (en) Multifunctional antigravity casting equipment and application method thereof
CN106694846A (en) Multi-pouring-gate die-casting die

Legal Events

Date Code Title Description
PB01 Publication
PB01 Publication
SE01 Entry into force of request for substantive examination
SE01 Entry into force of request for substantive examination
RJ01 Rejection of invention patent application after publication
RJ01 Rejection of invention patent application after publication

Application publication date: 20210803