CN113116690B - Massage chair - Google Patents
Massage chair Download PDFInfo
- Publication number
- CN113116690B CN113116690B CN202110445306.8A CN202110445306A CN113116690B CN 113116690 B CN113116690 B CN 113116690B CN 202110445306 A CN202110445306 A CN 202110445306A CN 113116690 B CN113116690 B CN 113116690B
- Authority
- CN
- China
- Prior art keywords
- seat
- plate
- elastic
- rod
- fixedly connected
- Prior art date
- Legal status (The legal status is an assumption and is not a legal conclusion. Google has not performed a legal analysis and makes no representation as to the accuracy of the status listed.)
- Active
Links
Images
Classifications
-
- A—HUMAN NECESSITIES
- A61—MEDICAL OR VETERINARY SCIENCE; HYGIENE
- A61H—PHYSICAL THERAPY APPARATUS, e.g. DEVICES FOR LOCATING OR STIMULATING REFLEX POINTS IN THE BODY; ARTIFICIAL RESPIRATION; MASSAGE; BATHING DEVICES FOR SPECIAL THERAPEUTIC OR HYGIENIC PURPOSES OR SPECIFIC PARTS OF THE BODY
- A61H7/00—Devices for suction-kneading massage; Devices for massaging the skin by rubbing or brushing not otherwise provided for
- A61H7/007—Kneading
-
- A—HUMAN NECESSITIES
- A61—MEDICAL OR VETERINARY SCIENCE; HYGIENE
- A61H—PHYSICAL THERAPY APPARATUS, e.g. DEVICES FOR LOCATING OR STIMULATING REFLEX POINTS IN THE BODY; ARTIFICIAL RESPIRATION; MASSAGE; BATHING DEVICES FOR SPECIAL THERAPEUTIC OR HYGIENIC PURPOSES OR SPECIFIC PARTS OF THE BODY
- A61H2201/00—Characteristics of apparatus not provided for in the preceding codes
- A61H2201/01—Constructive details
- A61H2201/0119—Support for the device
- A61H2201/0138—Support for the device incorporated in furniture
- A61H2201/0149—Seat or chair
-
- A—HUMAN NECESSITIES
- A61—MEDICAL OR VETERINARY SCIENCE; HYGIENE
- A61H—PHYSICAL THERAPY APPARATUS, e.g. DEVICES FOR LOCATING OR STIMULATING REFLEX POINTS IN THE BODY; ARTIFICIAL RESPIRATION; MASSAGE; BATHING DEVICES FOR SPECIAL THERAPEUTIC OR HYGIENIC PURPOSES OR SPECIFIC PARTS OF THE BODY
- A61H2205/00—Devices for specific parts of the body
- A61H2205/04—Devices for specific parts of the body neck
-
- A—HUMAN NECESSITIES
- A61—MEDICAL OR VETERINARY SCIENCE; HYGIENE
- A61H—PHYSICAL THERAPY APPARATUS, e.g. DEVICES FOR LOCATING OR STIMULATING REFLEX POINTS IN THE BODY; ARTIFICIAL RESPIRATION; MASSAGE; BATHING DEVICES FOR SPECIAL THERAPEUTIC OR HYGIENIC PURPOSES OR SPECIFIC PARTS OF THE BODY
- A61H2205/00—Devices for specific parts of the body
- A61H2205/08—Trunk
-
- A—HUMAN NECESSITIES
- A61—MEDICAL OR VETERINARY SCIENCE; HYGIENE
- A61H—PHYSICAL THERAPY APPARATUS, e.g. DEVICES FOR LOCATING OR STIMULATING REFLEX POINTS IN THE BODY; ARTIFICIAL RESPIRATION; MASSAGE; BATHING DEVICES FOR SPECIAL THERAPEUTIC OR HYGIENIC PURPOSES OR SPECIFIC PARTS OF THE BODY
- A61H2205/00—Devices for specific parts of the body
- A61H2205/08—Trunk
- A61H2205/081—Back
Landscapes
- Health & Medical Sciences (AREA)
- Dermatology (AREA)
- Epidemiology (AREA)
- Pain & Pain Management (AREA)
- Physical Education & Sports Medicine (AREA)
- Rehabilitation Therapy (AREA)
- Life Sciences & Earth Sciences (AREA)
- Animal Behavior & Ethology (AREA)
- General Health & Medical Sciences (AREA)
- Public Health (AREA)
- Veterinary Medicine (AREA)
- Massaging Devices (AREA)
Abstract
本发明涉及一种座椅,更具体的说是一种按摩椅。一种按摩椅,包括座板部、弹性板和靠板部,所述座板部和靠板部之间设置有弹性板,弹性板能够弯曲。还包括连接片,弹性板的两侧均连接有连接片,两个连接片分别连接在座板部和靠板部上。还包括直杆和凸座,座板部上固连有直杆,靠板部上固连有凸座,直杆滑动连接在凸座上。还包括弹性杆I,直杆上固连有弹性杆I,弹性杆I的另一端固连在凸座上。还包括梯形条,弹性板的下侧从左至右设置有多个梯形条。还包括半圆筒、条形座和滑动杆,条形座是固定连接在直杆上的,滑动杆可以在条形座上滑动,本发明可以利用弹性板对腰部进行不同程度的挤压按摩。
The invention relates to a seat, more specifically a massage chair. A massage chair comprises a seat plate, an elastic plate and a back plate, an elastic plate is arranged between the seat plate and the back plate, and the elastic plate can be bent. A connecting piece is also included, the two sides of the elastic plate are connected with connecting pieces, and the two connecting pieces are respectively connected to the seat board part and the back board part. It also includes a straight rod and a convex seat, the straight rod is fixedly connected to the seat plate part, the convex seat is fixedly connected to the leaning plate part, and the straight rod is slidably connected to the convex seat. It also includes elastic rod 1, which is fixedly connected with elastic rod 1 on the straight rod, and the other end of elastic rod 1 is fixedly connected on the convex seat. It also includes trapezoidal strips, and a plurality of trapezoidal strips are arranged on the lower side of the elastic plate from left to right. It also includes a semi-cylinder, a strip seat and a sliding rod. The strip seat is fixedly connected to the straight rod, and the slide rod can slide on the strip seat. The present invention can utilize the elastic plate to squeeze and massage the waist in different degrees.
Description
技术领域technical field
本发明涉及一种座椅,更具体的说是一种按摩椅。The invention relates to a seat, more specifically a massage chair.
背景技术Background technique
按摩椅利用机械的滚动力作用和机械力挤压来进行按摩,人工推拿按摩能够疏通经络,使气血循环,保持机体的阴阳平衡,所以按摩后可感到肌肉放松,关节灵活,使人精神振奋,消除疲劳,对保证身体健康有重要作用。Massage chairs use mechanical rolling force and mechanical force extrusion to perform massage. Manual massage can dredge the meridians, circulate Qi and blood, and maintain the balance of yin and yang in the body. Therefore, after massage, you can feel muscle relaxation, joint flexibility, and refreshment. , eliminate fatigue, and play an important role in ensuring good health.
专利号为201520009797.1公开的一种背部振动按摩椅,包括底盘、带座气囊的座垫、带侧气囊的扶手、靠背和头靠,所述扶手设置在座垫两侧,扶手上端设置有手臂放置槽,所述靠背设置在座垫后端,靠背前端表面设置有面片,面片上部均设有多组橡胶囊和多个按摩器,面片下部设置腰部凸起,面片周围的靠背上设置有外围片,靠背上端设置有颈部凸起,所述颈部凸起和腰部凸起上设置有多个橡胶囊,颈部凸起上端设置有头靠,头靠上设置有带耳机的耳罩,所述靠背内部对应橡胶囊处、手臂放置槽内部、颈部凸起和腰部凸起内部分别设置有振动电机,该实用新型结构简单,设计合理,按摩功能全面,但是该专利无法利用弹性板对腰部进行不同程度的挤压按摩。Patent No. 201520009797.1 discloses a back vibration massage chair, which includes a chassis, a seat cushion with seat airbags, an armrest with side airbags, a backrest and a headrest. groove, the backrest is arranged at the rear end of the seat cushion, the front surface of the backrest is provided with a face piece, the upper part of the face piece is provided with multiple sets of rubber bags and a plurality of massagers, the lower part of the face piece is provided with a waist bulge, and the backrest around the face piece A peripheral sheet is provided, a neck protrusion is provided on the upper end of the backrest, a plurality of rubber bags are arranged on the neck protrusion and the waist protrusion, a headrest is arranged on the upper end of the neck protrusion, and a headrest with earphones is arranged on the headrest. Earmuffs, the interior of the backrest corresponding to the rubber bag, the interior of the arm placement groove, the interior of the neck protrusion and the waist protrusion are respectively provided with vibration motors. This utility model has a simple structure, reasonable design, and comprehensive massage functions, but this patent cannot be used. The elastic board squeezes and massages the waist in different degrees.
发明内容Contents of the invention
为克服现有技术的不足,本发明提供一种按摩椅,其有益效果为本发明可以利用弹性板对腰部进行不同程度的挤压按摩。In order to overcome the deficiencies of the prior art, the invention provides a massage chair, the beneficial effect of which is that the invention can use the elastic plate to squeeze and massage the waist in different degrees.
一种按摩椅,包括座板部、弹性板和靠板部,所述座板部和靠板部之间设置有弹性板,弹性板能够弯曲。A massage chair comprises a seat plate, an elastic plate and a back plate, an elastic plate is arranged between the seat plate and the back plate, and the elastic plate can be bent.
一种按摩椅还包括连接片,弹性板的两侧均连接有连接片,两个连接片分别连接在座板部和靠板部上。A massage chair further includes a connecting piece connected to both sides of the elastic plate, and the two connecting pieces are connected to the seat board and the back board respectively.
一种按摩椅还包括直杆和凸座,座板部上固连有直杆,靠板部上固连有凸座,直杆滑动连接在凸座上。A massage chair also includes a straight rod and a convex seat, the straight rod is fixedly connected to the seat plate, the convex seat is fixedly connected to the back plate, and the straight rod is slidably connected to the convex seat.
一种按摩椅还包括弹性杆I,直杆上固连有弹性杆I,弹性杆I的另一端固连在凸座上。A massage chair also includes an elastic rod I, the straight rod is fixedly connected with the elastic rod I, and the other end of the elastic rod I is fixedly connected with the convex seat.
一种按摩椅还包括梯形条,弹性板的下侧从左至右设置有多个梯形条。A massage chair further includes trapezoidal bars, and a plurality of trapezoidal bars are arranged on the lower side of the elastic plate from left to right.
一种按摩椅还包括半圆筒、条形座和滑动杆,条形座是固定连接在直杆上的,滑动杆可以在条形座上滑动,半圆筒是固连在滑动杆的一端的,半圆筒能够压在多个梯形条上。A massage chair also includes a semi-cylinder, a bar-shaped seat and a sliding rod, the bar-shaped seat is fixedly connected to the straight rod, the sliding rod can slide on the bar-shaped seat, and the semi-cylinder is fixedly connected to one end of the sliding rod. Half cylinders can be pressed on multiple trapezoidal bars.
一种按摩椅还包括伸缩杆,伸缩杆固定连接在条形座上,伸缩杆的端部固定连接在滑动杆的端部。A massage chair further includes a telescopic rod, the telescopic rod is fixedly connected to the strip seat, and the end of the telescopic rod is fixedly connected to the end of the sliding rod.
一种按摩椅还包括防滑棱,将座板部设置成弧形,座板部上从左至右固定连接有多个防滑棱。A massage chair further includes an anti-slip edge, the seat plate is arranged in an arc shape, and a plurality of anti-slip edges are fixedly connected to the seat plate from left to right.
一种按摩椅还包括头靠部,靠板部的上部固连有头靠部,靠板部的上部为上扬的弧形形状。A massage chair further includes a headrest part, the upper part of the board part is fixedly connected with the headrest part, and the upper part of the board part is in the shape of an upward arc.
一种按摩椅还包括支撑部、转轮和支架,支撑部设置在座板部的下部,支架位于靠板部的下部,个转轮设置在支架的下部。A massage chair further includes a supporting part, a running wheel and a bracket, the supporting part is arranged at the lower part of the seat board part, the bracket is arranged at the lower part of the back board part, and the two rotating wheels are arranged at the lower part of the bracket.
本发明一种按摩椅的有益效果是:The beneficial effect of a kind of massage chair of the present invention is:
利用弹性板对腰部进行不同程度的挤压按摩。Use the elastic board to squeeze and massage the waist in different degrees.
附图说明Description of drawings
下面结合附图和具体实施方法对本发明做进一步详细的说明。The present invention will be described in further detail below in conjunction with the accompanying drawings and specific implementation methods.
图1为按摩椅的结构示意图;Fig. 1 is the structural representation of massage chair;
图2为按摩椅的部分结构示意图一;Fig. 2 is a partial structural schematic diagram 1 of the massage chair;
图3为按摩椅的部分结构示意图二;Fig. 3 is a partial structural schematic diagram 2 of the massage chair;
图4为座板部的结构示意图一;Fig. 4 is a schematic diagram of the structure of the seat plate portion;
图5为座板部的结构示意图二;Fig. 5 is a structural schematic diagram II of the seat plate;
图6为弹性板的结构示意图一;Fig. 6 is a structural schematic diagram 1 of the elastic plate;
图7为弹性板的结构示意图二;Fig. 7 is the structural schematic diagram two of elastic plate;
图8为靠板部的结构示意图一;Fig. 8 is a schematic diagram of the structure of the backing part;
图9为靠板部的结构示意图二;Fig. 9 is a structural schematic diagram II of the backing part;
图10为半圆筒的结构示意图一;Fig. 10 is a structural schematic diagram one of a half cylinder;
图11为半圆筒的结构示意图二;Fig. 11 is the structural representation two of half cylinder;
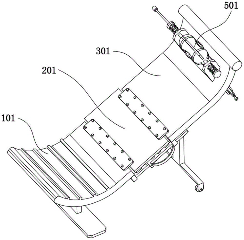
图12为颈椎枕的结构示意图。Fig. 12 is a structural schematic diagram of a cervical pillow.
图中:座板部101;支撑部102;防滑棱103;直杆104;弹性杆I105;In the figure:
弹性板201;连接片202;梯形条203;
靠板部301;头靠部302;滑孔303;凸座304;转轮305;支架306;调节梁307;圆杆308;弹性杆II309;Backing
半圆筒401;条形座402;伸缩杆403;滑动杆404;
颈椎枕501;弧形橡胶条502;安置槽503;软杆504;挡片505;滑片506;条孔507;连接部508。
具体实施方式Detailed ways
请参阅图1和图4-9,是本发明提供的一种实施例,该实施例解决的主要技术问题是用弹性板201对腰部进行不同程度的挤压按摩,进一步地,Please refer to Fig. 1 and Fig. 4-9, it is a kind of embodiment provided by the present invention, the main technical problem that this embodiment solves is to use
由于弹性板201设置在座板部101和靠板部301之间,并且弹性板201可以进行弯曲,座板部101相当于椅子的座位部分,靠板部301相当于椅子的靠背部分,弹性板201可以向上弯曲,进而将弹性板201弯曲成不同的程度,利用弹性板201对人的腰部进行挤压,进而利用弹性板201对腰部进行不同程度的挤压按摩Since the
请参阅图6,是本发明提供的一种实施例,该实施例解决的主要技术问题是将弹性板201连接在座板部101和靠板部301之间,进一步地,Please refer to Fig. 6, it is an embodiment provided by the present invention, the main technical problem solved by this embodiment is to connect the
由于两个连接片202分别固定连接在弹性板201的左右两侧,两个连接片202起到了连接的作用,进而将弹性板201连接在座板部101和靠板部301之间;弹性板201可以向上弯曲,利用弹性板201对人的腰部进行挤压。Since the two connecting
请参阅图1和图4-9,,是本发明提供的一种实施例,该实施例解决的主要技术问题是座板部101和靠板部301移动适应弹性板201的弯曲变化,进一步地,Please refer to Fig. 1 and Fig. 4-9, it is an embodiment provided by the present invention, the main technical problem solved by this embodiment is that the movement of the
由于直杆104固定连接在座板部101上,并且凸座304固定连接在靠板部301上,并且直杆104滑动连接在凸座304上,进而座板部101可以通过直杆104在靠板部301上的凸座304上滑动,使得座板部101可以相对靠板部301滑动,进而当弹性板201弯曲时,座板部101可以相对靠板部301靠近,使得座板部101和靠板部301移动适应弹性板201的弯曲变化。Because the
请参阅图1和图4-5,是本发明提供的一种实施例,该实施例解决的主要技术问题是两个弹性杆I105给座板部101和靠板部301之间相互远离的力,将弹性板201抻平,进一步地,Please refer to Fig. 1 and Fig. 4-5, it is an embodiment provided by the present invention, the main technical problem solved by this embodiment is the force that the two elastic rods I105 give the
由于直杆104上固定连接有弹性杆I105,并且弹性杆I105的另一端固定连接在在凸座304上,进而两个弹性杆I105给座板部101和靠板部301之间相互远离的力,将弹性板201抻平,在需要时再将弹性板201弯曲对人的腰部进行挤压式按摩。Since the
请参阅图3和图7,是本发明提供的一种实施例,该实施例解决的主要技术问题是多个梯形条203可以对弯曲后的弹性板201进行加固处理,进一步地,Please refer to Fig. 3 and Fig. 7, it is an embodiment provided by the present invention, the main technical problem that this embodiment solves is that a plurality of
由于弹性板201的下侧从左至右设置有多个梯形条203,进而弹性板201弯曲时多个梯形条203可以对弯曲后的弹性板201进行加固处理,防止弹性板201弯曲后容易凹陷,防止弹性板201对人按摩时造成不适。Since the lower side of the
请参阅图1-12,是本发明提供的一种实施例,该实施例解决的主要技术问题是通过调整半圆筒401压在多个梯形条203上的不同程度控制弹性板201弯曲,进而对人的腰部进行按摩,进一步地,Please refer to Fig. 1-12, which is an embodiment provided by the present invention. The main technical problem solved by this embodiment is to control the bending of the
由于直杆104上固定连接有条形座402,条形座402上滑动连接有滑动杆404,半圆筒401固定连接在滑动杆404的一端,半圆筒401压在多个梯形条203上,进而使得滑动杆404可以在条形座402上进行上下滑动,进而调整半圆筒401的位置,当半圆筒401压在多个梯形条203上,通过调整半圆筒401压在多个梯形条203上的不同程度控制弹性板201弯曲,进而对人的腰部进行按摩。Because the
请参阅图图1-12,是本发明提供的一种实施例,该实施例解决的主要技术问题是带动滑动杆404在条形座402上进行上下滑动,进一步地,Please refer to Figures 1-12, which is an embodiment provided by the present invention. The main technical problem solved by this embodiment is to drive the sliding
由于条形座402上固定连接有伸缩杆403,伸缩杆403伸缩时可以带动滑动杆404在条形座402上进行上下滑动,进而调整半圆筒401的位置,当半圆筒401压在多个梯形条203上,通过调整半圆筒401压在多个梯形条203上的不同程度控制弹性板201弯曲,进而对人的腰部进行按摩。Since the
请参阅图4,是本发明提供的一种实施例,该实施例解决的主要技术问题是人在按摩时臀部不易发生移动影响按摩效果,进一步地,Please refer to Figure 4, which is an embodiment provided by the present invention. The main technical problem solved by this embodiment is that the buttocks of a person are not easy to move during massage and affect the massage effect. Further,
由于座板部101为弧形,并且其上设置有多个防滑棱103,进而使得人的臀部坐在座板部101上时不易发生移动,多个防滑棱103也起到了增大摩擦力的作用,进而使得人在按摩时臀部不易发生移动影响按摩效果。Since the
请参阅图8-9,是本发明提供的一种实施例,该实施例解决的主要技术问题是人在躺在按摩椅上时头部可以枕在靠板部301上,进一步地,Please refer to Fig. 8-9, which is an embodiment provided by the present invention. The main technical problem solved by this embodiment is that the head of a person can rest on the
由于靠板部301的上部为弧形,进而可以将靠板部301凸起,由于靠板部301的上部设置有头靠部302,进而人在躺在按摩椅上时头部可以枕在靠板部301上。Since the top of the
请参阅图5和图8,是本发明提供的一种实施例,该实施例解决的主要技术问题是适应支撑部102和靠板部301之间发生滑动,进一步地,Please refer to Fig. 5 and Fig. 8, it is an embodiment provided by the present invention, the main technical problem solved by this embodiment is to adapt to the sliding between the
由于支撑部102设置在座板部101的下部,支架306设置在靠板部301的下部,支撑部102起到了支撑座板部101的作用,支架306起到了支撑靠板部301的作用,当支撑部102和靠板部301之间发生滑动时,支架306可以通过其下侧的转轮305左右移动,适应支撑部102和靠板部301之间发生滑动。Since the
所述按摩椅还包括滑孔303和颈椎枕501,靠板部301的上部设置有滑孔303,滑孔303上设置有颈椎枕501,颈椎枕501的中部细两端粗。The massage chair also includes a sliding
请参阅图1-12,是本发明提供的一种实施例,该实施例解决的主要技术问题是颈椎可以居中躺在颈椎枕501上,进一步地,Please refer to Fig. 1-12, which is an embodiment provided by the present invention. The main technical problem solved by this embodiment is that the cervical vertebra can be centered on the
人在躺在按摩椅上时,人的颈椎部位需要躺在颈椎枕501上,颈椎枕501的中部细两端粗,使得颈椎可以居中躺在颈椎枕501上。When a person is lying on the massage chair, the cervical spine of the person needs to lie on the
所述按摩椅还包括弧形橡胶条502和安置槽503,靠板部301上设置有多个安置槽503,多个安置槽503上均设置有弧形橡胶条502。The massage chair further includes arc-shaped rubber strips 502 and
请参阅图1-12,是本发明提供的一种实施例,该实施例解决的主要技术问题是对人的颈椎部位进行按摩,进一步地,Please refer to Fig. 1-12, which is an embodiment provided by the present invention. The main technical problem solved by this embodiment is to massage the cervical spine of a person. Further,
多个安置槽503的作用是在颈椎枕501上设置多个弧形橡胶条502,多个弧形橡胶条502的作用是对人的颈椎部位进行按摩。The function of the plurality of
所述按摩椅还包括软杆504、挡片505、滑片506和连接部508,滑片506前后各设置有一个,两个滑片506的下部之间通过连接部508相连接,两个滑片506均滑动连接在滑孔303上,颈椎枕501的前后两端均固定连接有软杆504,两个软杆504分别插在两个滑片506的上部,两个软杆504的外端均固定连接有挡片505,两个软杆504上均套接有压缩弹簧,压缩弹簧位于相对应的挡片505与滑片506之间。The massage chair also includes a
请参阅图1-12,是本发明提供的一种实施例,该实施例解决的主要技术问题是人躺在颈椎枕501上就具有一种弹性的感觉,使人的颈椎部位更加舒适,进一步地,Please refer to Fig. 1-12, it is a kind of embodiment provided by the present invention, and the main technical problem that this embodiment solves is that people just have a kind of elastic feeling lying on the
人在躺在在颈椎枕501上时,对颈椎枕501有一个向下的压力,进而拉动两个软杆504向内移动,两个软杆504为软质材料制成,进而两个软杆504可以进行弯曲,这时颈椎枕501相对两个滑片506向下移动,人躺在颈椎枕501上就具有一种弹性的感觉,使人的颈椎部位更加舒适。两个软杆504上的压缩弹簧可以将颈椎枕501恢复至与原来位置。When a person lies on the
所述按摩椅还包括调节梁307、圆杆308、弹性杆II309和条孔507,靠板部301下侧的前后两端均固定连接有圆杆308,两个圆杆308的下部均设置有挡头,调节梁307的前后两端分别滑动连接在两个圆杆308上,调节梁307与圆杆308之间通过螺钉压紧的方式固定,两个滑片506的下部均设置有条孔507,调节梁307穿过两个条孔507,调节梁307的前后两端均固定连接有两个弹性杆II309,同侧的两个弹性杆II309分别固定连接在滑片506的中部和下部。The massage chair also includes an
请参阅图1-12,是本发明提供的一种实施例,该实施例解决的主要技术问题是多个弹性杆II309使得颈椎枕501更加具有弹性移动的性质,使得人躺在其上时更加舒适,进一步地,Please refer to Fig. 1-12, it is a kind of embodiment that the present invention provides, and the main technical problem that this embodiment solves is that a plurality of elastic rods II309 make
调节梁307可以在两个圆杆308上竖向滑动,进而带动两个滑片506上下移动,进而调整颈椎枕501的高度适应不同的人使用,并且两个滑片506均可以通过其上的条孔507相对调节梁307竖向滑动,多个弹性杆II309使得颈椎枕501更加具有弹性移动的性质,使得人躺在其上时更加舒适。The
所述其中一个挡片505的外侧固定连接有联轴器。A shaft coupling is fixedly connected to the outer side of one of the blocking
请参阅图1-12,是本发明提供的一种实施例,该实施例解决的主要技术问题是颈椎枕501转动时通过多个弧形橡胶条502对人的颈椎进行旋转按摩,进一步地,Please refer to Fig. 1-12, which is an embodiment provided by the present invention. The main technical problem solved by this embodiment is that when the
联轴器可以连接外部电机,使得电机带动软杆504和颈椎枕501转动,颈椎枕501转动时通过多个弧形橡胶条502对人的颈椎进行旋转按摩。The shaft coupling can be connected with an external motor, so that the motor drives the
Claims (4)
Priority Applications (1)
| Application Number | Priority Date | Filing Date | Title |
|---|---|---|---|
| CN202110445306.8A CN113116690B (en) | 2021-04-25 | 2021-04-25 | Massage chair |
Applications Claiming Priority (1)
| Application Number | Priority Date | Filing Date | Title |
|---|---|---|---|
| CN202110445306.8A CN113116690B (en) | 2021-04-25 | 2021-04-25 | Massage chair |
Publications (2)
| Publication Number | Publication Date |
|---|---|
| CN113116690A CN113116690A (en) | 2021-07-16 |
| CN113116690B true CN113116690B (en) | 2023-03-31 |
Family
ID=76780339
Family Applications (1)
| Application Number | Title | Priority Date | Filing Date |
|---|---|---|---|
| CN202110445306.8A Active CN113116690B (en) | 2021-04-25 | 2021-04-25 | Massage chair |
Country Status (1)
| Country | Link |
|---|---|
| CN (1) | CN113116690B (en) |
Citations (5)
| Publication number | Priority date | Publication date | Assignee | Title |
|---|---|---|---|---|
| GB2084456A (en) * | 1980-09-03 | 1982-04-15 | Interieur Form Sa | Reclinable seat |
| CN2262381Y (en) * | 1996-11-26 | 1997-09-17 | 皮惊天 | Relying on sleep and leisure |
| CN102188115A (en) * | 2010-03-02 | 2011-09-21 | 林园淳 | Chair |
| CN209347584U (en) * | 2018-06-29 | 2019-09-06 | 上海丁阁仕电子商务有限公司 | A kind of adjustable waist height massage armchair |
| CN210446278U (en) * | 2019-09-18 | 2020-05-05 | 林恩伟 | Computer chair capable of preventing long-time sitting |
Family Cites Families (14)
| Publication number | Priority date | Publication date | Assignee | Title |
|---|---|---|---|---|
| JPH0672445U (en) * | 1993-03-30 | 1994-10-11 | 正作 萩原 | Waist rest for seats |
| JP4249872B2 (en) * | 1999-09-09 | 2009-04-08 | ファミリー株式会社 | Massage machine |
| CN2660997Y (en) * | 2003-11-03 | 2004-12-08 | 杨楠 | Vertebral column caring chair |
| JP4721254B2 (en) * | 2004-09-08 | 2011-07-13 | 俊壱 木原 | Chair |
| CN2907391Y (en) * | 2006-05-18 | 2007-06-06 | 鄂州市安信休闲用品有限公司 | Folding rocking-chair with sunshade covering |
| CN102379566A (en) * | 2011-09-22 | 2012-03-21 | 缪同强 | Therapeutic massage office chair |
| CN102895089A (en) * | 2012-09-26 | 2013-01-30 | 辛萍 | Health-care massage chair |
| CN204519952U (en) * | 2015-01-27 | 2015-08-05 | 浙江大唐家具有限公司 | A kind of position of back, the adjustable back structure of radian |
| CN205285651U (en) * | 2015-10-28 | 2016-06-08 | 刘丹宁 | Just, mode massage armchair |
| CN206729595U (en) * | 2017-01-09 | 2017-12-12 | 遵义医学院 | A kind of new type of health seat |
| NO343283B1 (en) * | 2017-06-06 | 2019-01-14 | Knut Einar Kopperud | Back rest to be used with seat or chair |
| CN107307644A (en) * | 2017-07-07 | 2017-11-03 | 周学蒙 | A kind of intelligent barbed chair |
| CN210124464U (en) * | 2019-05-29 | 2020-03-06 | 安吉县宇航家具有限公司 | Swivel chair with elastic support waist cushion |
| CN210329987U (en) * | 2019-06-21 | 2020-04-17 | 东阳市亿煌家具有限公司 | Redwood furniture chair with adjustable backrest |
-
2021
- 2021-04-25 CN CN202110445306.8A patent/CN113116690B/en active Active
Patent Citations (5)
| Publication number | Priority date | Publication date | Assignee | Title |
|---|---|---|---|---|
| GB2084456A (en) * | 1980-09-03 | 1982-04-15 | Interieur Form Sa | Reclinable seat |
| CN2262381Y (en) * | 1996-11-26 | 1997-09-17 | 皮惊天 | Relying on sleep and leisure |
| CN102188115A (en) * | 2010-03-02 | 2011-09-21 | 林园淳 | Chair |
| CN209347584U (en) * | 2018-06-29 | 2019-09-06 | 上海丁阁仕电子商务有限公司 | A kind of adjustable waist height massage armchair |
| CN210446278U (en) * | 2019-09-18 | 2020-05-05 | 林恩伟 | Computer chair capable of preventing long-time sitting |
Also Published As
| Publication number | Publication date |
|---|---|
| CN113116690A (en) | 2021-07-16 |
Similar Documents
| Publication | Publication Date | Title |
|---|---|---|
| CN113499542B (en) | A combined magnetic therapy chair with automatic dual-position switching | |
| KR101468845B1 (en) | Apparatus for air-press massage | |
| EP3086750A2 (en) | Apparatus for stimulating synchronized body motions of a user | |
| CN110433022A (en) | A lumbar traction device driven by pneumatic muscles | |
| CN212187147U (en) | Massage chair for medical care | |
| CN103598961B (en) | A kind of spine health-care, treatment artificial intelligence electric massage chair | |
| CN109820362B (en) | Multifunctional leisure body-building office chair | |
| CN108371605B (en) | A kind of electric massage chair for medical treatment and nursing | |
| CN113116690B (en) | Massage chair | |
| CN206006573U (en) | The micro- treatment rocking chair of spinal column | |
| CN201743285U (en) | Health-care computer chair | |
| CN210044385U (en) | Waist treatment rehabilitation chair | |
| CN112716768A (en) | Massage armchair with adjustable function | |
| CN209171726U (en) | An adjustable office chair suitable for patients with acute low back pain | |
| CN209807722U (en) | A new type of multifunctional office chair | |
| CN215081040U (en) | A rehabilitation wheelchair | |
| CN212233789U (en) | A chair cushion and seat back combination device suitable for male ergonomics | |
| CN211675253U (en) | Novel vertebra massager | |
| CN210698643U (en) | Lumbar vertebra rehabilitation exercise therapeutic device with adjustable curvature | |
| CN201492634U (en) | Massage chair | |
| CN221061166U (en) | A spinal cord injury rehabilitation treatment device | |
| CN113332093A (en) | Massage chair for conditioning neck and back | |
| CN220212416U (en) | A medical laboratory waist support chair with adjustable waist support pad | |
| CN220546022U (en) | An easily adjustable recliner | |
| CN112674527A (en) | Adjustable intelligent massage sofa |
Legal Events
| Date | Code | Title | Description |
|---|---|---|---|
| PB01 | Publication | ||
| PB01 | Publication | ||
| SE01 | Entry into force of request for substantive examination | ||
| SE01 | Entry into force of request for substantive examination | ||
| GR01 | Patent grant | ||
| GR01 | Patent grant | ||
| TR01 | Transfer of patent right |
Effective date of registration: 20250530 Address after: 511356 Guangdong Province Guangzhou City Zengcheng District Xin Cheng Avenue 400 Xin Cheng Headquarters Center Building 25 402 Patentee after: Beile (Guangzhou) Intelligent Information Technology Co.,Ltd. Country or region after: China Address before: 150006 No. 2 Bank Street, Nangang District, Harbin City, Heilongjiang Province Patentee before: Harbin yaoyitang Health Technology Co.,Ltd. Country or region before: China |
|
| TR01 | Transfer of patent right |
