CN112971698A - High-reliability ophthalmological detection device - Google Patents
High-reliability ophthalmological detection device Download PDFInfo
- Publication number
- CN112971698A CN112971698A CN202110129246.9A CN202110129246A CN112971698A CN 112971698 A CN112971698 A CN 112971698A CN 202110129246 A CN202110129246 A CN 202110129246A CN 112971698 A CN112971698 A CN 112971698A
- Authority
- CN
- China
- Prior art keywords
- plate
- support
- support plate
- arc
- connecting piece
- Prior art date
- Legal status (The legal status is an assumption and is not a legal conclusion. Google has not performed a legal analysis and makes no representation as to the accuracy of the status listed.)
- Withdrawn
Links
- 238000001514 detection method Methods 0.000 title claims abstract description 31
- 239000002184 metal Substances 0.000 claims description 7
- 239000010813 municipal solid waste Substances 0.000 claims description 4
- 229920001971 elastomer Polymers 0.000 claims description 3
- 238000003466 welding Methods 0.000 claims description 3
- 230000000694 effects Effects 0.000 abstract description 6
- 230000009286 beneficial effect Effects 0.000 abstract description 2
- 210000003128 head Anatomy 0.000 description 12
- 210000001508 eye Anatomy 0.000 description 9
- 238000012360 testing method Methods 0.000 description 9
- 101001010782 Drosophila melanogaster Fez family zinc finger protein erm Proteins 0.000 description 4
- 238000010586 diagram Methods 0.000 description 3
- 208000032765 Device extrusion Diseases 0.000 description 2
- 238000010276 construction Methods 0.000 description 2
- 238000011161 development Methods 0.000 description 2
- 201000010099 disease Diseases 0.000 description 2
- 208000037265 diseases, disorders, signs and symptoms Diseases 0.000 description 2
- 238000003384 imaging method Methods 0.000 description 2
- 238000000034 method Methods 0.000 description 2
- 208000027418 Wounds and injury Diseases 0.000 description 1
- 230000000712 assembly Effects 0.000 description 1
- 238000000429 assembly Methods 0.000 description 1
- 210000005252 bulbus oculi Anatomy 0.000 description 1
- 230000006378 damage Effects 0.000 description 1
- 239000003814 drug Substances 0.000 description 1
- 238000005516 engineering process Methods 0.000 description 1
- 238000001125 extrusion Methods 0.000 description 1
- 229920001821 foam rubber Polymers 0.000 description 1
- 230000036541 health Effects 0.000 description 1
- 208000014674 injury Diseases 0.000 description 1
- 238000007689 inspection Methods 0.000 description 1
- 238000012986 modification Methods 0.000 description 1
- 230000004048 modification Effects 0.000 description 1
- 230000000149 penetrating effect Effects 0.000 description 1
- 230000008569 process Effects 0.000 description 1
- 238000011160 research Methods 0.000 description 1
- 230000000007 visual effect Effects 0.000 description 1
Images
Classifications
-
- A—HUMAN NECESSITIES
- A61—MEDICAL OR VETERINARY SCIENCE; HYGIENE
- A61B—DIAGNOSIS; SURGERY; IDENTIFICATION
- A61B3/00—Apparatus for testing the eyes; Instruments for examining the eyes
- A61B3/0083—Apparatus for testing the eyes; Instruments for examining the eyes provided with means for patient positioning
-
- A—HUMAN NECESSITIES
- A61—MEDICAL OR VETERINARY SCIENCE; HYGIENE
- A61B—DIAGNOSIS; SURGERY; IDENTIFICATION
- A61B3/00—Apparatus for testing the eyes; Instruments for examining the eyes
- A61B3/0075—Apparatus for testing the eyes; Instruments for examining the eyes provided with adjusting devices, e.g. operated by control lever
-
- A—HUMAN NECESSITIES
- A61—MEDICAL OR VETERINARY SCIENCE; HYGIENE
- A61B—DIAGNOSIS; SURGERY; IDENTIFICATION
- A61B3/00—Apparatus for testing the eyes; Instruments for examining the eyes
- A61B3/10—Objective types, i.e. instruments for examining the eyes independent of the patients' perceptions or reactions
- A61B3/14—Arrangements specially adapted for eye photography
Landscapes
- Life Sciences & Earth Sciences (AREA)
- Health & Medical Sciences (AREA)
- Medical Informatics (AREA)
- Biophysics (AREA)
- Ophthalmology & Optometry (AREA)
- Engineering & Computer Science (AREA)
- Biomedical Technology (AREA)
- Heart & Thoracic Surgery (AREA)
- Physics & Mathematics (AREA)
- Molecular Biology (AREA)
- Surgery (AREA)
- Animal Behavior & Ethology (AREA)
- General Health & Medical Sciences (AREA)
- Public Health (AREA)
- Veterinary Medicine (AREA)
- Eye Examination Apparatus (AREA)
Abstract
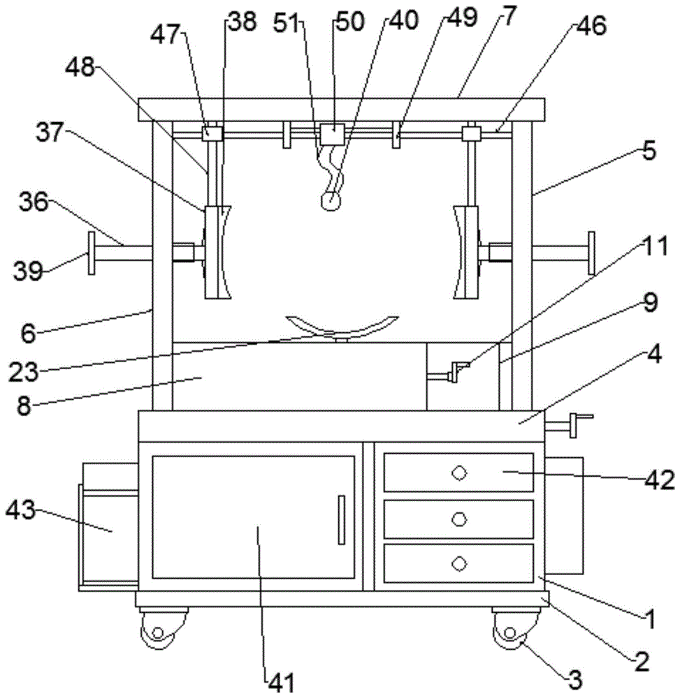
本发明公开了一种高可靠性眼科检测装置,包括支撑箱,支撑箱的底端设置有底板,支撑箱与底板为一体连接结构,底板的底端边角处均设置有万向轮,放置框的中部设置有穿插开口槽的调节装置,调节装置包括位于连接台的上端中部的固定板,连接件一和连接件二的中部之间设置有转动螺杆,横向螺杆位于弧形托板的一端均设置有限位夹板,限位夹板的相对应一侧均设置有弧形板,横向螺杆远离限位夹板的一端设置有限位块二,顶板的下端中部设置有滑动结构,滑动结构的底端中部设置有照明灯。有益效果:提高托板位置调节的准确度,提高眼部的检测效果,提高承托的舒适性,可以给病人提供一个舒适的检测环境。
The invention discloses a high-reliability ophthalmic detection device, comprising a support box, the bottom end of the support box is provided with a bottom plate, the support box and the bottom plate are integrally connected, and the corners of the bottom end of the bottom plate are provided with universal wheels for placing The middle part of the frame is provided with an adjusting device which is inserted through the opening slot. The adjusting device includes a fixing plate located in the middle part of the upper end of the connecting table. A rotating screw rod is arranged between the middle part of the connecting piece 1 and the connecting piece 2, and the transverse screw rod is located at one end of the arc-shaped supporting plate. Limiting splints are all provided, and the corresponding side of the limiting splint is provided with an arc-shaped plate, the end of the transverse screw away from the limiting splint is provided with a second limiting block, the middle of the lower end of the top plate is provided with a sliding structure, and the middle of the bottom end of the sliding structure is provided. Lights are provided. Beneficial effects: the accuracy of adjusting the position of the support plate is improved, the detection effect of the eye is improved, the comfort of the support is improved, and a comfortable detection environment can be provided for the patient.
Description
Claims (10)
Priority Applications (1)
| Application Number | Priority Date | Filing Date | Title |
|---|---|---|---|
| CN202110129246.9A CN112971698A (en) | 2021-01-29 | 2021-01-29 | High-reliability ophthalmological detection device |
Applications Claiming Priority (1)
| Application Number | Priority Date | Filing Date | Title |
|---|---|---|---|
| CN202110129246.9A CN112971698A (en) | 2021-01-29 | 2021-01-29 | High-reliability ophthalmological detection device |
Publications (1)
| Publication Number | Publication Date |
|---|---|
| CN112971698A true CN112971698A (en) | 2021-06-18 |
Family
ID=76346740
Family Applications (1)
| Application Number | Title | Priority Date | Filing Date |
|---|---|---|---|
| CN202110129246.9A Withdrawn CN112971698A (en) | 2021-01-29 | 2021-01-29 | High-reliability ophthalmological detection device |
Country Status (1)
| Country | Link |
|---|---|
| CN (1) | CN112971698A (en) |
Citations (16)
| Publication number | Priority date | Publication date | Assignee | Title |
|---|---|---|---|---|
| CN107374582A (en) * | 2017-08-02 | 2017-11-24 | 杨文龙 | A kind of ophthalmology disease reliability detecting device |
| CN107468204A (en) * | 2017-08-12 | 2017-12-15 | 谢阳萍 | A kind of high reliability ophthalmology detection means |
| CN206761747U (en) * | 2017-01-06 | 2017-12-19 | 刘照义 | A kind of puncture servicing unit for Nephrology dept. |
| CN108158554A (en) * | 2017-12-21 | 2018-06-15 | 曾传金 | A kind of adjustable inspection ancillary equipment of ophthalmic |
| CN108451709A (en) * | 2017-11-13 | 2018-08-28 | 惠安集睿信息科技有限公司 | A kind of ophthalmic nursing treatment observation platform |
| CN208481487U (en) * | 2017-12-29 | 2019-02-12 | 宁波市第二医院 | A kind of inspection nursing assistant device of critically ill patient |
| CN208551759U (en) * | 2017-11-27 | 2019-03-01 | 青岛康明眼科医院有限公司 | A kind of comfortable eye examination bracket |
| CN209203264U (en) * | 2018-11-13 | 2019-08-06 | 青岛山大齐鲁医院(山东大学齐鲁医院(青岛)) | Head positioning device for MRI who facilitates use |
| CN209404737U (en) * | 2017-10-27 | 2019-09-20 | 马艳玲 | A kind of eye examination head fixing device |
| CN209421902U (en) * | 2018-09-20 | 2019-09-24 | 张同河 | A kind of ophthalmology eyeground patient's support device |
| CN110801550A (en) * | 2019-11-12 | 2020-02-18 | 青岛大学附属医院 | Fixing device for pediatric nursing based on wedge block buffering principle |
| CN111012571A (en) * | 2019-12-27 | 2020-04-17 | 刘梅 | Head stabilizing device for ophthalmologic operation and using method thereof |
| CN210811956U (en) * | 2019-09-03 | 2020-06-23 | 华厦眼科医院集团股份有限公司 | Multi-functional ophthalmic therapy auxiliary device |
| CN211093994U (en) * | 2019-10-25 | 2020-07-28 | 黄珍珍 | Operation panel for eye detection |
| CN211324934U (en) * | 2019-09-09 | 2020-08-25 | 长春爱尔眼科医院有限公司 | Head fixing device for ophthalmologic examination |
| CN212089834U (en) * | 2020-01-08 | 2020-12-08 | 高静 | Animal doctor is with atomizing device of dosing |
-
2021
- 2021-01-29 CN CN202110129246.9A patent/CN112971698A/en not_active Withdrawn
Patent Citations (16)
| Publication number | Priority date | Publication date | Assignee | Title |
|---|---|---|---|---|
| CN206761747U (en) * | 2017-01-06 | 2017-12-19 | 刘照义 | A kind of puncture servicing unit for Nephrology dept. |
| CN107374582A (en) * | 2017-08-02 | 2017-11-24 | 杨文龙 | A kind of ophthalmology disease reliability detecting device |
| CN107468204A (en) * | 2017-08-12 | 2017-12-15 | 谢阳萍 | A kind of high reliability ophthalmology detection means |
| CN209404737U (en) * | 2017-10-27 | 2019-09-20 | 马艳玲 | A kind of eye examination head fixing device |
| CN108451709A (en) * | 2017-11-13 | 2018-08-28 | 惠安集睿信息科技有限公司 | A kind of ophthalmic nursing treatment observation platform |
| CN208551759U (en) * | 2017-11-27 | 2019-03-01 | 青岛康明眼科医院有限公司 | A kind of comfortable eye examination bracket |
| CN108158554A (en) * | 2017-12-21 | 2018-06-15 | 曾传金 | A kind of adjustable inspection ancillary equipment of ophthalmic |
| CN208481487U (en) * | 2017-12-29 | 2019-02-12 | 宁波市第二医院 | A kind of inspection nursing assistant device of critically ill patient |
| CN209421902U (en) * | 2018-09-20 | 2019-09-24 | 张同河 | A kind of ophthalmology eyeground patient's support device |
| CN209203264U (en) * | 2018-11-13 | 2019-08-06 | 青岛山大齐鲁医院(山东大学齐鲁医院(青岛)) | Head positioning device for MRI who facilitates use |
| CN210811956U (en) * | 2019-09-03 | 2020-06-23 | 华厦眼科医院集团股份有限公司 | Multi-functional ophthalmic therapy auxiliary device |
| CN211324934U (en) * | 2019-09-09 | 2020-08-25 | 长春爱尔眼科医院有限公司 | Head fixing device for ophthalmologic examination |
| CN211093994U (en) * | 2019-10-25 | 2020-07-28 | 黄珍珍 | Operation panel for eye detection |
| CN110801550A (en) * | 2019-11-12 | 2020-02-18 | 青岛大学附属医院 | Fixing device for pediatric nursing based on wedge block buffering principle |
| CN111012571A (en) * | 2019-12-27 | 2020-04-17 | 刘梅 | Head stabilizing device for ophthalmologic operation and using method thereof |
| CN212089834U (en) * | 2020-01-08 | 2020-12-08 | 高静 | Animal doctor is with atomizing device of dosing |
Similar Documents
| Publication | Publication Date | Title |
|---|---|---|
| CN112402032A (en) | Head fixing device for ophthalmic therapy | |
| CN211324934U (en) | Head fixing device for ophthalmologic examination | |
| CN114587902B (en) | Head fixing device for ophthalmology treatment | |
| CN210170389U (en) | Limb immobilization device for nursing in operating room | |
| CN209172531U (en) | A kind of ophthalmology diagnosis fixes device with Maxillary region | |
| CN204274912U (en) | Lithotomy position examination bed | |
| CN109528153B (en) | Ophthalmologic examination instrument | |
| CN112971698A (en) | High-reliability ophthalmological detection device | |
| CN209734358U (en) | Eye surgery is auxiliary treatment device for postoperative | |
| CN216496326U (en) | Department of neurology inspection auxiliary device | |
| CN211797523U (en) | Operation table for ophthalmic treatment | |
| CN113712498A (en) | Traditional chinese medical science ophthalmology inspection desk | |
| CN215273688U (en) | Fixer for finger-jointing in hand-foot microsurgery operation | |
| CN112370020B (en) | Intelligent mammary gland detection device | |
| CN211155725U (en) | An ophthalmic multi-purpose ophthalmic examination device | |
| CN211432839U (en) | Bracket structure based on ophthalmology inspection | |
| CN214678855U (en) | Multi-purpose formula ophthalmology inspection device | |
| CN213157412U (en) | Lifting device for neurology examination | |
| CN209916477U (en) | Orthopedics nursing support holder | |
| CN208838185U (en) | A kind of fixation device of Multifunctional eye examination instrument | |
| CN216454946U (en) | Eyesight detection equipment for ophthalmology | |
| CN113679424A (en) | Heart ultrasonic examination device | |
| CN217162080U (en) | An eye care diagnostic equipment | |
| CN219721179U (en) | Physical examination device | |
| CN221266140U (en) | Multi-purpose ophthalmic examination device |
Legal Events
| Date | Code | Title | Description |
|---|---|---|---|
| PB01 | Publication | ||
| PB01 | Publication | ||
| SE01 | Entry into force of request for substantive examination | ||
| SE01 | Entry into force of request for substantive examination | ||
| TA01 | Transfer of patent application right | ||
| TA01 | Transfer of patent application right |
Effective date of registration: 20211117 Address after: 100000 No. 142, unit 1, No. 12, Malian Road South Street, Xicheng District, Beijing Applicant after: Yu Suping Applicant after: THE AFFILIATED HOSPITAL OF QINGDAO University Address before: No.16 Jiangsu Road, Shinan District, Qingdao, Shandong 266500 Applicant before: THE AFFILIATED HOSPITAL OF QINGDAO University |
|
| TA01 | Transfer of patent application right | ||
| TA01 | Transfer of patent application right |
Effective date of registration: 20211228 Address after: No.16 Jiangsu Road, Shinan District, Qingdao, Shandong 266500 Applicant after: THE AFFILIATED HOSPITAL OF QINGDAO University Address before: 100000 No. 142, unit 1, No. 12, Malian Road South Street, Xicheng District, Beijing Applicant before: Yu Suping Applicant before: THE AFFILIATED HOSPITAL OF QINGDAO University |
|
| WW01 | Invention patent application withdrawn after publication | ||
| WW01 | Invention patent application withdrawn after publication |
Application publication date: 20210618 |
