CN112914832B - A kind of thyroid surgery nursing belt - Google Patents
A kind of thyroid surgery nursing belt Download PDFInfo
- Publication number
- CN112914832B CN112914832B CN202110251464.XA CN202110251464A CN112914832B CN 112914832 B CN112914832 B CN 112914832B CN 202110251464 A CN202110251464 A CN 202110251464A CN 112914832 B CN112914832 B CN 112914832B
- Authority
- CN
- China
- Prior art keywords
- hose
- plate
- layer
- slot
- air supply
- Prior art date
- Legal status (The legal status is an assumption and is not a legal conclusion. Google has not performed a legal analysis and makes no representation as to the accuracy of the status listed.)
- Expired - Fee Related
Links
- 230000000474 nursing effect Effects 0.000 title claims abstract description 39
- 210000001685 thyroid gland Anatomy 0.000 title claims description 13
- 238000001356 surgical procedure Methods 0.000 title claims description 7
- 239000003814 drug Substances 0.000 claims abstract description 55
- 238000009423 ventilation Methods 0.000 claims abstract description 29
- OKTJSMMVPCPJKN-UHFFFAOYSA-N Carbon Chemical compound [C] OKTJSMMVPCPJKN-UHFFFAOYSA-N 0.000 claims abstract description 22
- 238000004891 communication Methods 0.000 claims abstract description 20
- 230000000903 blocking effect Effects 0.000 claims abstract description 15
- 235000017166 Bambusa arundinacea Nutrition 0.000 claims abstract description 11
- 235000017491 Bambusa tulda Nutrition 0.000 claims abstract description 11
- 241001330002 Bambuseae Species 0.000 claims abstract description 11
- 229920000742 Cotton Polymers 0.000 claims abstract description 11
- 235000015334 Phyllostachys viridis Nutrition 0.000 claims abstract description 11
- 239000011425 bamboo Substances 0.000 claims abstract description 11
- 239000003610 charcoal Substances 0.000 claims abstract description 11
- 239000000835 fiber Substances 0.000 claims abstract description 11
- 239000004744 fabric Substances 0.000 claims abstract description 10
- 229940079593 drug Drugs 0.000 claims description 23
- 238000009434 installation Methods 0.000 claims description 12
- VYPSYNLAJGMNEJ-UHFFFAOYSA-N Silicium dioxide Chemical compound O=[Si]=O VYPSYNLAJGMNEJ-UHFFFAOYSA-N 0.000 claims description 6
- 239000004745 nonwoven fabric Substances 0.000 claims description 6
- 239000000741 silica gel Substances 0.000 claims description 6
- 229910002027 silica gel Inorganic materials 0.000 claims description 6
- 238000007790 scraping Methods 0.000 claims description 3
- 230000002093 peripheral effect Effects 0.000 claims description 2
- 230000008859 change Effects 0.000 abstract description 8
- 229920001296 polysiloxane Polymers 0.000 abstract description 6
- 230000008901 benefit Effects 0.000 abstract description 4
- 230000000694 effects Effects 0.000 description 25
- 238000013461 design Methods 0.000 description 7
- 238000010586 diagram Methods 0.000 description 6
- 238000003780 insertion Methods 0.000 description 6
- 230000037431 insertion Effects 0.000 description 6
- 238000000034 method Methods 0.000 description 6
- 238000001179 sorption measurement Methods 0.000 description 4
- 230000001681 protective effect Effects 0.000 description 3
- 238000000926 separation method Methods 0.000 description 3
- XEEYBQQBJWHFJM-UHFFFAOYSA-N Iron Chemical compound [Fe] XEEYBQQBJWHFJM-UHFFFAOYSA-N 0.000 description 2
- 230000000844 anti-bacterial effect Effects 0.000 description 2
- 230000006835 compression Effects 0.000 description 2
- 238000007906 compression Methods 0.000 description 2
- 230000007812 deficiency Effects 0.000 description 2
- 238000000605 extraction Methods 0.000 description 2
- 230000004048 modification Effects 0.000 description 2
- 238000012986 modification Methods 0.000 description 2
- 238000003825 pressing Methods 0.000 description 2
- 230000008569 process Effects 0.000 description 2
- 206010069503 Ectopic thyroid Diseases 0.000 description 1
- 208000003717 Lingual Thyroid Diseases 0.000 description 1
- 229910000639 Spring steel Inorganic materials 0.000 description 1
- 230000009471 action Effects 0.000 description 1
- 244000052616 bacterial pathogen Species 0.000 description 1
- 210000004534 cecum Anatomy 0.000 description 1
- 230000003749 cleanliness Effects 0.000 description 1
- 230000008602 contraction Effects 0.000 description 1
- 201000010099 disease Diseases 0.000 description 1
- 208000037265 diseases, disorders, signs and symptoms Diseases 0.000 description 1
- 238000006073 displacement reaction Methods 0.000 description 1
- 230000005489 elastic deformation Effects 0.000 description 1
- 230000005611 electricity Effects 0.000 description 1
- 230000013020 embryo development Effects 0.000 description 1
- 238000001914 filtration Methods 0.000 description 1
- 230000006872 improvement Effects 0.000 description 1
- 229910052742 iron Inorganic materials 0.000 description 1
- 230000006651 lactation Effects 0.000 description 1
- 230000007774 longterm Effects 0.000 description 1
- 230000000849 parathyroid Effects 0.000 description 1
- 230000035699 permeability Effects 0.000 description 1
- 239000004033 plastic Substances 0.000 description 1
- 230000002980 postoperative effect Effects 0.000 description 1
- 230000035935 pregnancy Effects 0.000 description 1
- 230000009467 reduction Effects 0.000 description 1
- 230000001568 sexual effect Effects 0.000 description 1
- 239000007779 soft material Substances 0.000 description 1
- 230000001515 vagal effect Effects 0.000 description 1
Images
Classifications
-
- A—HUMAN NECESSITIES
- A61—MEDICAL OR VETERINARY SCIENCE; HYGIENE
- A61F—FILTERS IMPLANTABLE INTO BLOOD VESSELS; PROSTHESES; DEVICES PROVIDING PATENCY TO, OR PREVENTING COLLAPSING OF, TUBULAR STRUCTURES OF THE BODY, e.g. STENTS; ORTHOPAEDIC, NURSING OR CONTRACEPTIVE DEVICES; FOMENTATION; TREATMENT OR PROTECTION OF EYES OR EARS; BANDAGES, DRESSINGS OR ABSORBENT PADS; FIRST-AID KITS
- A61F13/00—Bandages or dressings; Absorbent pads
- A61F13/12—Bandages or dressings; Absorbent pads specially adapted for the head or neck
- A61F13/128—Bandages or dressings; Absorbent pads specially adapted for the head or neck specially adapted for the neck
-
- A—HUMAN NECESSITIES
- A61—MEDICAL OR VETERINARY SCIENCE; HYGIENE
- A61F—FILTERS IMPLANTABLE INTO BLOOD VESSELS; PROSTHESES; DEVICES PROVIDING PATENCY TO, OR PREVENTING COLLAPSING OF, TUBULAR STRUCTURES OF THE BODY, e.g. STENTS; ORTHOPAEDIC, NURSING OR CONTRACEPTIVE DEVICES; FOMENTATION; TREATMENT OR PROTECTION OF EYES OR EARS; BANDAGES, DRESSINGS OR ABSORBENT PADS; FIRST-AID KITS
- A61F13/00—Bandages or dressings; Absorbent pads
- A61F13/00051—Accessories for dressings
-
- A—HUMAN NECESSITIES
- A61—MEDICAL OR VETERINARY SCIENCE; HYGIENE
- A61F—FILTERS IMPLANTABLE INTO BLOOD VESSELS; PROSTHESES; DEVICES PROVIDING PATENCY TO, OR PREVENTING COLLAPSING OF, TUBULAR STRUCTURES OF THE BODY, e.g. STENTS; ORTHOPAEDIC, NURSING OR CONTRACEPTIVE DEVICES; FOMENTATION; TREATMENT OR PROTECTION OF EYES OR EARS; BANDAGES, DRESSINGS OR ABSORBENT PADS; FIRST-AID KITS
- A61F13/00—Bandages or dressings; Absorbent pads
- A61F13/00051—Accessories for dressings
- A61F13/00063—Accessories for dressings comprising medicaments or additives, e.g. odor control, PH control, debriding, antimicrobic
-
- A—HUMAN NECESSITIES
- A61—MEDICAL OR VETERINARY SCIENCE; HYGIENE
- A61F—FILTERS IMPLANTABLE INTO BLOOD VESSELS; PROSTHESES; DEVICES PROVIDING PATENCY TO, OR PREVENTING COLLAPSING OF, TUBULAR STRUCTURES OF THE BODY, e.g. STENTS; ORTHOPAEDIC, NURSING OR CONTRACEPTIVE DEVICES; FOMENTATION; TREATMENT OR PROTECTION OF EYES OR EARS; BANDAGES, DRESSINGS OR ABSORBENT PADS; FIRST-AID KITS
- A61F13/00—Bandages or dressings; Absorbent pads
- A61F13/01—Non-adhesive bandages or dressings
- A61F13/01008—Non-adhesive bandages or dressings characterised by the material
-
- A—HUMAN NECESSITIES
- A61—MEDICAL OR VETERINARY SCIENCE; HYGIENE
- A61F—FILTERS IMPLANTABLE INTO BLOOD VESSELS; PROSTHESES; DEVICES PROVIDING PATENCY TO, OR PREVENTING COLLAPSING OF, TUBULAR STRUCTURES OF THE BODY, e.g. STENTS; ORTHOPAEDIC, NURSING OR CONTRACEPTIVE DEVICES; FOMENTATION; TREATMENT OR PROTECTION OF EYES OR EARS; BANDAGES, DRESSINGS OR ABSORBENT PADS; FIRST-AID KITS
- A61F13/00—Bandages or dressings; Absorbent pads
- A61F13/01—Non-adhesive bandages or dressings
- A61F13/01021—Non-adhesive bandages or dressings characterised by the structure of the dressing
- A61F13/01029—Non-adhesive bandages or dressings characterised by the structure of the dressing made of multiple layers
-
- A—HUMAN NECESSITIES
- A61—MEDICAL OR VETERINARY SCIENCE; HYGIENE
- A61F—FILTERS IMPLANTABLE INTO BLOOD VESSELS; PROSTHESES; DEVICES PROVIDING PATENCY TO, OR PREVENTING COLLAPSING OF, TUBULAR STRUCTURES OF THE BODY, e.g. STENTS; ORTHOPAEDIC, NURSING OR CONTRACEPTIVE DEVICES; FOMENTATION; TREATMENT OR PROTECTION OF EYES OR EARS; BANDAGES, DRESSINGS OR ABSORBENT PADS; FIRST-AID KITS
- A61F13/00—Bandages or dressings; Absorbent pads
- A61F13/01—Non-adhesive bandages or dressings
- A61F13/01034—Non-adhesive bandages or dressings characterised by a property
-
- A—HUMAN NECESSITIES
- A61—MEDICAL OR VETERINARY SCIENCE; HYGIENE
- A61F—FILTERS IMPLANTABLE INTO BLOOD VESSELS; PROSTHESES; DEVICES PROVIDING PATENCY TO, OR PREVENTING COLLAPSING OF, TUBULAR STRUCTURES OF THE BODY, e.g. STENTS; ORTHOPAEDIC, NURSING OR CONTRACEPTIVE DEVICES; FOMENTATION; TREATMENT OR PROTECTION OF EYES OR EARS; BANDAGES, DRESSINGS OR ABSORBENT PADS; FIRST-AID KITS
- A61F13/00—Bandages or dressings; Absorbent pads
- A61F13/01—Non-adhesive bandages or dressings
- A61F13/01034—Non-adhesive bandages or dressings characterised by a property
- A61F13/01046—Air-vapor permeability
-
- A—HUMAN NECESSITIES
- A61—MEDICAL OR VETERINARY SCIENCE; HYGIENE
- A61M—DEVICES FOR INTRODUCING MEDIA INTO, OR ONTO, THE BODY; DEVICES FOR TRANSDUCING BODY MEDIA OR FOR TAKING MEDIA FROM THE BODY; DEVICES FOR PRODUCING OR ENDING SLEEP OR STUPOR
- A61M35/00—Devices for applying media, e.g. remedies, on the human body
- A61M35/10—Wearable devices, e.g. garments, glasses or masks
Landscapes
- Health & Medical Sciences (AREA)
- General Health & Medical Sciences (AREA)
- Veterinary Medicine (AREA)
- Biomedical Technology (AREA)
- Heart & Thoracic Surgery (AREA)
- Life Sciences & Earth Sciences (AREA)
- Engineering & Computer Science (AREA)
- Public Health (AREA)
- Animal Behavior & Ethology (AREA)
- Vascular Medicine (AREA)
- Chemical & Material Sciences (AREA)
- Otolaryngology (AREA)
- Medicinal Chemistry (AREA)
- Anesthesiology (AREA)
- Hematology (AREA)
- Respiratory Apparatuses And Protective Means (AREA)
Abstract
本申请公开了一种甲状腺术后护理带,其包括:主护板、侧护板、透气孔、第一绑带、勾面魔术贴、第二绑带、毛面魔术贴、插槽、凹孔、第一磁铁块、导向通孔、导向杆、软质橡胶板、药棉层、形变杆、挡块、连通嘴、限位阻挡气囊、气泵、刮勾、连杆、过滤罩、第一软管、三通管、第二软管、接口、第三软管、握持气囊、第一单向阀、第二单向阀、硅胶条、出气孔、空腔、活动板、间槽、连接弹簧、第二磁铁块、无纺布层、竹炭纤维层、熔喷布层和活性炭过滤网。本申请的有益之处在于便于进行伤口处药物的更换,更换时无需进行整个护理带的取下,提高了换药的效率;同时具有主动供气结构可进行护理包围处的主动供气,通过气泵和手动供气,供气较好。
The present application discloses a post-thyroidectomy nursing belt, which includes: a main guard plate, a side guard plate, a ventilation hole, a first strap, a hooked Velcro, a second strap, a woolen Velcro, a slot, a concave Hole, first magnet block, guide through hole, guide rod, soft rubber plate, cotton wool layer, deformation rod, stopper, communication mouth, limit blocking airbag, air pump, scraper hook, connecting rod, filter cover, first soft Tube, Tee Tube, Second Hose, Interface, Third Hose, Holding Airbag, First Check Valve, Second Check Valve, Silicone Strip, Air Outlet, Cavity, Movable Plate, Slot, Connection Spring, second magnet block, non-woven layer, bamboo charcoal fiber layer, melt-blown cloth layer and activated carbon filter. The benefits of the present application lie in that it is convenient to replace the medicine at the wound, without removing the entire nursing belt during the replacement, which improves the efficiency of the dressing change; at the same time, it has an active air supply structure, which can carry out active air supply at the nursing enclosure. Air pump and manual air supply, air supply is better.
Description
技术领域technical field
本发明涉及一种护理带,具体涉及一种甲状腺术后护理带,属于甲状腺术后护理应用技术领域。The invention relates to a nursing belt, in particular to a nursing belt after thyroidectomy, and belongs to the technical field of nursing after thyroidectomy.
背景技术Background technique
甲状腺切除是一种对甲状腺进行切除的医疗手术;在胚胎发育过程中,甲状腺部分或全部未下降而停留在舌盲孔处,即成为舌甲状腺;在颈部有正常位置的甲状腺而伴有舌甲状腺者,又称为副甲状腺;甲状腺组织全部集中于舌根部而颈部正常位置上无甲状腺者,又称迷走甲状腺;本病小儿少见,性成熟期、妊娠、哺乳期的女性多见;需要进行切除手术。Thyroidectomy is a medical operation to remove the thyroid gland; during embryonic development, part or all of the thyroid gland does not descend and stays at the cecum of the tongue, which is called the lingual thyroid gland; there is a normal thyroid gland in the neck accompanied by the tongue Thyroid, also known as parathyroid; thyroid tissue is all concentrated in the base of the tongue and no thyroid in the normal position of the neck, also known as vagal thyroid; this disease is rare in children, more common in women during sexual maturity, pregnancy and lactation; need Perform excision surgery.
在专利文献“CN209107696U一种甲状腺术后护理带”中,通过适当加压术后位置,用于防护,其加压位置具有药物与伤口接触,进行护理,但其缺少便于进行更换药物的设计,不易进行更换药物,需要进行整体的拆除;进一步在专利文献“CN212118427U甲状腺术后护理带”中,虽设计了可以进行开闭的盖板,用于打开,进行换药,但其开闭可能不便,需要解开锁紧组件,同时换药无法一步实现,可能需要打开后,进行药物的均匀涂抹更换;进一步现有技术中护理带的透气效果可能不佳,缺少主动供气的结构,不易进行供气,进行解决护理包围处闷热的效果。现在尚没有一种便于进行更换伤口处药物且提高透气效果的甲状腺术后护理带。In the patent document "CN209107696U a kind of post-thyroidectomy nursing belt", the post-operative position is appropriately pressurized for protection, and the pressurized position has drugs in contact with the wound for nursing care, but it lacks a design that is convenient for replacing drugs. It is not easy to replace the medicine, and it needs to be dismantled as a whole; further, in the patent document "CN212118427U thyroid surgery care belt", although a cover plate that can be opened and closed is designed for opening and changing the medicine, it may be inconvenient to open and close. , the locking component needs to be unlocked, and the dressing change cannot be achieved in one step, it may be necessary to uniformly apply and replace the drug after opening; further, the ventilation effect of the nursing belt in the prior art may be poor, and the structure of active gas supply is lacking, and it is not easy to supply gas. , for the effect of solving the sultry heat surrounded by nursing care. At present, there is no post-thyroidectomy care belt that facilitates the replacement of wound drugs and improves the ventilation effect.
发明内容SUMMARY OF THE INVENTION
为了解决现有技术的不足,本申请采用可抽拉设计的药物板件,便于从整个护理带的顶部取出以及塞入,为整体的换药提供了便捷,提高了换药的效率;同时具有主动供气结构可进行护理包围处的主动供气,提高了透气效果。In order to solve the deficiencies of the prior art, the present application adopts a drug plate with a drawable design, which is convenient for taking out and inserting from the top of the entire nursing belt, which provides convenience for the overall dressing change and improves the efficiency of dressing change; The active air supply structure can carry out active air supply at the nursing enclosure, improving the ventilation effect.
更为了解决现有技术中的问题:塞入后缺少限位结构,安装的稳定性不足,易出现脱离;采用活动板与插槽的底部之间形成间槽,为塞入后的挡块提供阻挡,实现限位。In order to solve the problems in the prior art: there is a lack of a limiting structure after being inserted, the stability of the installation is insufficient, and it is easy to detach; a slot is formed between the movable plate and the bottom of the slot to provide the stopper after insertion. Block, achieve limit.
进一步为了解决现有技术中的问题:活动板不易进行移动,形成足够大的位置,用于药物板件和挡块的穿过。In order to further solve the problem in the prior art, the movable plate is not easy to move, and a position large enough is formed for the passage of the drug plate and the stopper.
为了解决现有技术的不足,本申请提供一种甲状腺术后护理带,其包括:主护板、侧护板、第一绑带、勾面魔术贴、第二绑带、毛面魔术贴、活动板、药物板件、过滤层、主动供气结构和硅胶条;其中,所述主护板的两侧均固定连接有所述侧护板,两个所述侧护板的一侧边分别固定连接有三个所述第一绑带和三个所述第二绑带,所述第一绑带的表面上缝合连接有所述勾面魔术贴,所述第二绑带的表面上缝合连接有所述毛面魔术贴,所述主护板的背面顶部中间位置上开设有插槽,所述插槽的内部设置有所述活动板,所述活动板的底部与插槽的底部之间形成间槽,所述插槽中设置有可抽拉拆除的所述药物板件,所述药物板件便有拆装分离,提高了换药的效率;所述侧护板的内部具有内腔,所述主护板的内部开设有空腔,所述空腔为U型结构,所述空腔的内部和所述内腔的内部均填充安装有所述过滤层,所述主护板的底部与所述主动供气结构连接,所述主动供气结构的输出端与所述空腔连通安装;所述侧护板的表面开设有若干个均匀分布的透气孔,所述主护板的背面开设有若干个出气孔,且若干个出气孔围成U型结构,所述出气孔与所述空腔连通安装;所述主护板背面和所述侧护板背面的四周边沿处固定粘接有所述硅胶条。In order to solve the deficiencies of the prior art, the present application provides a post-thyroidectomy nursing belt, which includes: a main guard plate, a side guard plate, a first strap, a hooked Velcro, a second strap, a woolen Velcro, A movable plate, a medicine plate, a filter layer, an active air supply structure and a silica gel strip; wherein, the side shields are fixedly connected to both sides of the main shield, and one side of the two side shields are respectively Three first straps and three second straps are fixedly connected, the hook surface Velcro is sewed and connected on the surface of the first strap, and the surface of the second strap is sewed and connected There is the woolen Velcro, a slot is opened at the top middle position of the back of the main shield, the movable plate is arranged inside the slot, and the bottom of the movable plate is between the bottom of the slot and the bottom of the slot. A slot is formed, and the medicine plate that can be pulled and removed is arranged in the slot, and the medicine plate can be disassembled and separated, which improves the efficiency of changing medicine; the interior of the side shield has an inner cavity , the interior of the main guard plate is provided with a cavity, the cavity is a U-shaped structure, the interior of the cavity and the interior of the inner cavity are filled and installed with the filter layer, and the main guard plate has a U-shaped structure. The bottom is connected with the active air supply structure, and the output end of the active air supply structure is installed in communication with the cavity; the surface of the side shield is provided with a number of evenly distributed ventilation holes, and the main shield There are several air outlet holes on the back, and the several air outlets form a U-shaped structure, and the air outlet holes are connected to the cavity for installation; The silica gel strip is connected.
进一步地,所述活动板的表面四角处均固定连接有连接弹簧,所述连接弹簧的末端与插槽的槽壁固定连接。Further, connecting springs are fixedly connected to the four corners of the surface of the movable plate, and the ends of the connecting springs are fixedly connected to the groove wall of the slot.
进一步地,所述活动板的中部固定嵌合连接有第二磁铁块,所述第二磁铁块的背面设置有第一磁铁块,所述第一磁铁块与开设在主护板正面的凹孔嵌合连接。Further, the middle part of the movable plate is fixedly fitted with a second magnet block, the back of the second magnet block is provided with a first magnet block, and the first magnet block is connected to the concave hole opened on the front of the main guard plate. Chimeric connection.
进一步地,所述活动板的板面上固定连接有两个导向杆,所述导向杆与开设在主护板上的导向通孔间隙配合连接。Further, two guide rods are fixedly connected on the plate surface of the movable plate, and the guide rods are connected with the guide through holes opened on the main guard plate in clearance fit.
进一步地,所述药物板件包括:软质橡胶板、药棉层、形变杆和挡块,所述软质橡胶板的背面固定粘接有所述药棉层,所述软质橡胶板的正面固定嵌合连接有多个等间距分布的所述形变杆,多个所述形变杆的底端连接有所述挡块。Further, the medicine plate member includes: a soft rubber plate, a cotton wool layer, a deformation rod and a stopper, the back of the soft rubber plate is fixedly bonded with the medicine cotton layer, and the front side of the soft rubber plate is fixed A plurality of the deformation rods distributed at equal intervals are fitted and connected, and the bottom ends of the plurality of deformation rods are connected with the stopper.
进一步地,所述挡块包括:连通嘴和限位阻挡气囊,所述连通嘴固定粘接在所述限位阻挡气囊的顶部,所述连通嘴的顶端与形变杆连接,所述形变杆为空心管状结构。Further, the block includes: a communication mouth and a limit blocking airbag, the communication mouth is fixedly bonded to the top of the limit blocking airbag, the top end of the communication mouth is connected with a deformation rod, and the deformation rod is Hollow tubular structure.
进一步地,所述过滤层包括:无纺布层、竹炭纤维层和熔喷布层,所述无纺布层和所述熔喷布层分别粘合连接在所述竹炭纤维层的两个面上。Further, the filter layer comprises: a non-woven layer, a bamboo charcoal fiber layer and a melt-blown cloth layer, and the non-woven fabric layer and the melt-blown cloth layer are bonded and connected on two sides of the bamboo charcoal fiber layer respectively. superior.
进一步地,所述主动供气结构包括:气泵、第一软管、第二软管、接口、过滤罩、活性炭过滤网和连杆,所述气泵的进气口与所述过滤罩固定套接,所述过滤罩的一侧固定嵌合安装有所述活性炭过滤网,所述气泵的出气口与所述第一软管的一端固定套接,所述第一软管的末端与所述第二软管的一端连通安装,所述第二软管的末端与所述接口固定套接,所述接口顶端与主护板的底部固定连接,且接口与空腔连通安装,所述过滤罩与所述气泵外壳的一侧之间固定连接有四个所述连杆,且四个连杆呈矩形阵列分布。Further, the active air supply structure includes: an air pump, a first hose, a second hose, an interface, a filter cover, an activated carbon filter screen and a connecting rod, and the air inlet of the air pump is fixedly sleeved with the filter cover One side of the filter cover is fixedly fitted with the activated carbon filter screen, the air outlet of the air pump is fixedly sleeved with one end of the first hose, and the end of the first hose is connected to the first hose. One end of the two hoses is connected and installed, the end of the second hose is fixedly sleeved with the interface, the top of the interface is fixedly connected with the bottom of the main shield, and the interface is installed in communication with the cavity, and the filter cover is connected to the Four connecting rods are fixedly connected between one side of the air pump housing, and the four connecting rods are distributed in a rectangular array.
进一步地,所述气泵的外壳底部固定连接有刮勾,所述刮勾为L型的板状结构,所述气泵的外壳背面安装有电池以及控制开关。Further, a scraper hook is fixedly connected to the bottom of the casing of the air pump, the scraper hook is an L-shaped plate-like structure, and a battery and a control switch are installed on the back of the casing of the air pump.
进一步地,所述第一软管和所述第二软管之间连接有三通管,所述三通管还与第三软管的一端连接,所述第三软管的末端固定安装有第一单向阀,所述第一单向阀固定安装在握持气囊的底部,所述握持气囊的顶部固定安装有第二单向阀。Further, a tee pipe is connected between the first hose and the second hose, the tee pipe is also connected to one end of a third hose, and the end of the third hose is fixedly installed with a third hose. A one-way valve, the first one-way valve is fixedly installed on the bottom of the holding airbag, and the top of the holding airbag is fixedly installed with a second one-way valve.
本申请的有益之处在于:提供了一种便于进行更换伤口处药物且提高透气效果的甲状腺术后护理带,采用可抽拉设计的药物板件,便于从整个护理带的顶部取出以及塞入,为整体的换药提供了便捷,提高了换药的效率;在进行安装后,同时具有限位的效果,药物板件安装后不易出现脱离;同时具有主动供气结构可进行护理包围处的主动供气,提高了透气效果,避免护理处长期覆盖,出现闷热,不易透气,同时主动供气采用两种方案,可通过气泵进行供气以及手动握捏气囊进行供气,整体的供气效果较好。The benefits of the present application are: to provide a post-thyroidectomy care belt that facilitates the replacement of drugs at the wound and improves the ventilation effect, and adopts a drug plate with a drawable design, which is convenient for taking out and inserting from the top of the entire care belt , which provides convenience for the overall dressing change and improves the efficiency of dressing change; after installation, it also has the effect of limiting the position, and the drug plate is not easy to be separated after installation; at the same time, it has an active air supply structure, which can be used to care for the surrounding area. Active air supply improves the ventilation effect, avoids long-term coverage of the nursing area, which is stuffy and not easy to breathe. At the same time, there are two options for active air supply, which can be supplied by an air pump and manually squeezed by the airbag. The overall air supply effect better.
附图说明Description of drawings
构成本申请的一部分的附图用来提供对本申请的进一步理解,使得本申请的其它特征、目的和优点变得更明显。本申请的示意性实施例附图及其说明用于解释本申请,并不构成对本申请的不当限定。在附图中:The accompanying drawings, which constitute a part of this application, are used to provide a further understanding of the application and make other features, objects and advantages of the application more apparent. The accompanying drawings and descriptions of the exemplary embodiments of the present application are used to explain the present application, and do not constitute an improper limitation of the present application. In the attached image:
图1是根据本申请一种实施例的一种甲状腺术后护理带的结构示意图;1 is a schematic structural diagram of a post-thyroidectomy nursing belt according to an embodiment of the present application;
图2是图1所示实施例中插槽内部、主护板背面和侧护板背面的结构示意图;FIG. 2 is a schematic structural diagram of the interior of the slot, the back of the main shield and the back of the side shield in the embodiment shown in FIG. 1;
图3是图1所示实施例中主护板、侧护板和硅胶条的结构示意图;3 is a schematic structural diagram of the main guard plate, the side guard plate and the silicone strip in the embodiment shown in FIG. 1;
图4是图1所示实施例中侧护板与过滤层的结构示意图;Fig. 4 is the structural representation of the side guard plate and the filter layer in the embodiment shown in Fig. 1;
图5是图1所示实施例中主护板与过滤层的结构示意图;Fig. 5 is the structural representation of the main guard plate and the filter layer in the embodiment shown in Fig. 1;
图6是图1所示实施例中活动板表面的结构示意图;Fig. 6 is the structural representation of the movable plate surface in the embodiment shown in Fig. 1;
图7是图1所示实施例中药物板件的结构示意图;Fig. 7 is the structural representation of the medicine plate in the embodiment shown in Fig. 1;
图8是图1所示实施例中药物板件与插槽安装的结构示意图;FIG. 8 is a schematic structural diagram of the installation of the drug plate and the slot in the embodiment shown in FIG. 1;
图9是图1所示实施例中形变杆与挡块的结构示意图;FIG. 9 is a schematic structural diagram of a deformation rod and a stopper in the embodiment shown in FIG. 1;
图10是图1所示实施例中过滤罩与活性炭过滤网的结构示意图。FIG. 10 is a schematic structural diagram of a filter cover and an activated carbon filter in the embodiment shown in FIG. 1 .
图中附图标记的含义:The meaning of the reference numbers in the figure:
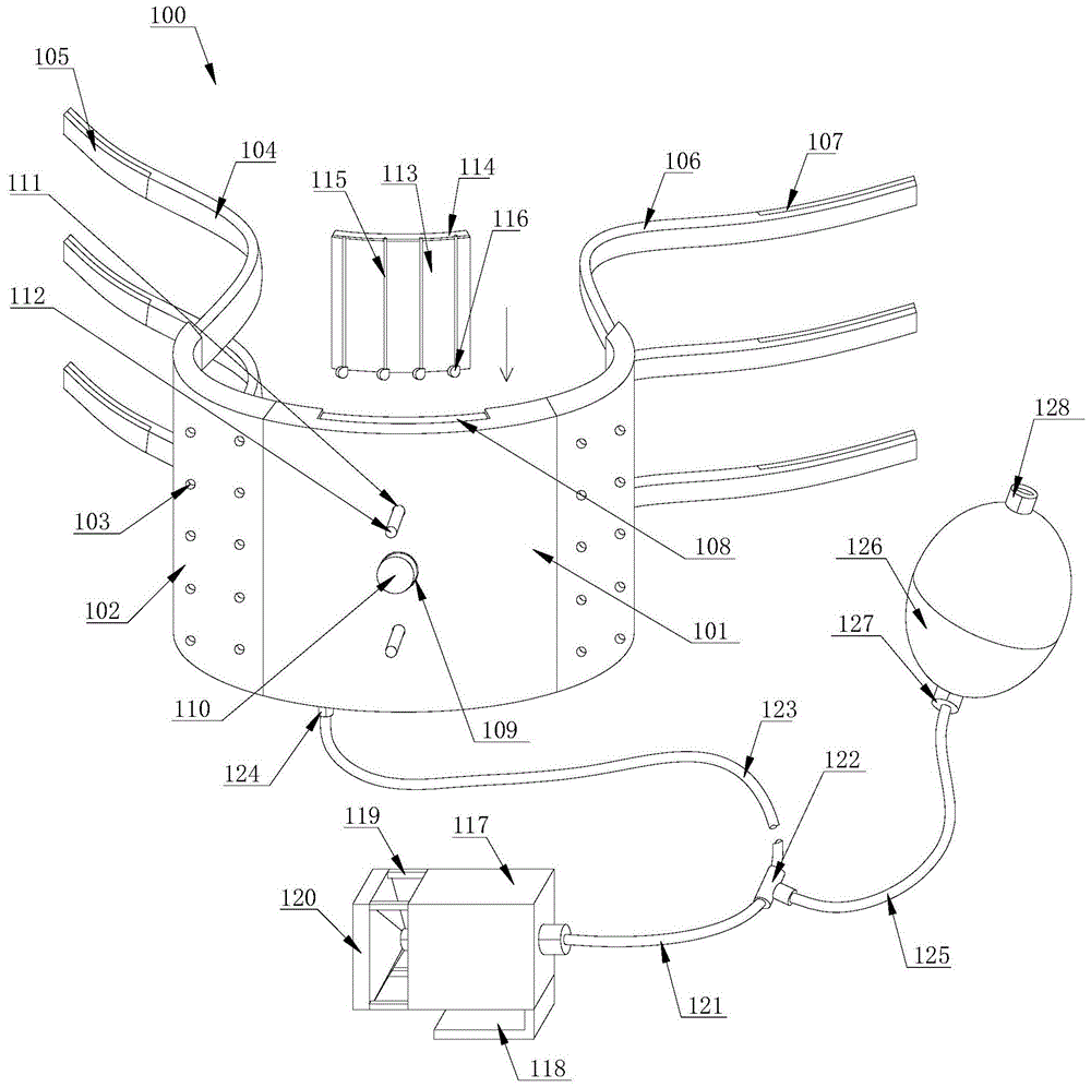
护理带100,主护板101,侧护板102,透气孔103,第一绑带104,勾面魔术贴105,第二绑带106,毛面魔术贴107,插槽108,凹孔109,第一磁铁块110,导向通孔111,导向杆112,软质橡胶板113,药棉层114,形变杆115,挡块116,连通嘴1161,限位阻挡气囊1162,气泵117,刮勾118,连杆119,过滤罩120,第一软管121,三通管122,第二软管123,接口124,第三软管125,握持气囊126,第一单向阀127,第二单向阀128,硅胶条129,出气孔130,空腔131,活动板132,间槽133,连接弹簧134,第二磁铁块135,无纺布层136,竹炭纤维层137,熔喷布层138,活性炭过滤网139。
具体实施方式Detailed ways
为了使本技术领域的人员更好地理解本申请方案,下面将结合本申请实施例中的附图,对本申请实施例中的技术方案进行清楚、完整地描述,显然,所描述的实施例仅仅是本申请一部分的实施例,而不是全部的实施例。基于本申请中的实施例,本领域普通技术人员在没有做出创造性劳动前提下所获得的所有其他实施例,都应当属于本申请保护的范围。In order to make those skilled in the art better understand the solutions of the present application, the technical solutions in the embodiments of the present application will be clearly and completely described below with reference to the accompanying drawings in the embodiments of the present application. Obviously, the described embodiments are only The embodiments are part of the present application, but not all of the embodiments. Based on the embodiments in the present application, all other embodiments obtained by those of ordinary skill in the art without creative work shall fall within the scope of protection of the present application.
需要说明的是,本申请的说明书和权利要求书及上述附图中的术语“第一”、“第二”等是用于区别类似的对象,而不必用于描述特定的顺序或先后次序。应该理解这样使用的数据在适当情况下可以互换,以便这里描述的本申请的实施例。此外,术语“包括”和“具有”以及他们的任何变形,意图在于覆盖不排他的包含,例如,包含了一系列步骤或单元的过程、方法、系统、产品或设备不必限于清楚地列出的那些步骤或单元,而是可包括没有清楚地列出的或对于这些过程、方法、产品或设备固有的其它步骤或单元。It should be noted that the terms "first", "second", etc. in the description and claims of the present application and the above drawings are used to distinguish similar objects, and are not necessarily used to describe a specific sequence or sequence. It is to be understood that the data so used are interchangeable under appropriate circumstances for the embodiments of the application described herein. Furthermore, the terms "comprising" and "having", and any variations thereof, are intended to cover non-exclusive inclusion, for example, a process, method, system, product or device comprising a series of steps or units is not necessarily limited to those expressly listed Rather, those steps or units may include other steps or units not expressly listed or inherent to these processes, methods, products or devices.
在本申请中,术语“上”、“下”、“左”、“右”、“前”、“后”、“顶”、“底”、“内”、“外”、“中”、“竖直”、“水平”、“横向”、“纵向”等指示的方位或位置关系为基于附图所示的方位或位置关系。这些术语主要是为了更好地描述本申请及其实施例,并非用于限定所指示的装置、元件或组成部分必须具有特定方位,或以特定方位进行构造和操作。In this application, the terms "upper", "lower", "left", "right", "front", "rear", "top", "bottom", "inner", "outer", "middle", The orientation or positional relationship indicated by "vertical", "horizontal", "horizontal", "longitudinal", etc. is based on the orientation or positional relationship shown in the drawings. These terms are primarily used to better describe the present application and its embodiments, and are not intended to limit the fact that the indicated device, element, or component must have a particular orientation, or be constructed and operated in a particular orientation.
并且,上述部分术语除了可以用于表示方位或位置关系以外,还可能用于表示其他含义,例如术语“上”在某些情况下也可能用于表示某种依附关系或连接关系。对于本领域普通技术人员而言,可以根据具体情况理解这些术语在本申请中的具体含义。In addition, some of the above-mentioned terms may be used to express other meanings besides orientation or positional relationship. For example, the term "on" may also be used to express a certain attachment or connection relationship in some cases. For those of ordinary skill in the art, the specific meanings of these terms in the present application can be understood according to specific situations.
此外,术语“安装”、“设置”、“设有”、“连接”、“相连”、“套接”应做广义理解。例如,可以是固定连接,可拆卸连接,或整体式构造;可以是机械连接,或电连接;可以是直接相连,或者是通过中间媒介间接相连,又或者是两个装置、元件或组成部分之间内部的连通。对于本领域普通技术人员而言,可以根据具体情况理解上述术语在本申请中的具体含义。Furthermore, the terms "installed", "set up", "provided with", "connected", "connected", "socketed" should be construed broadly. For example, it may be a fixed connection, a detachable connection, or an integral structure; it may be a mechanical connection, or an electrical connection; it may be directly connected, or indirectly connected through an intermediary, or between two devices, elements, or components. internal communication. For those of ordinary skill in the art, the specific meanings of the above terms in this application can be understood according to specific situations.
需要说明的是,在不冲突的情况下,本申请中的实施例及实施例中的特征可以相互组合。下面将参考附图并结合实施例来详细说明本申请。It should be noted that the embodiments in the present application and the features of the embodiments may be combined with each other in the case of no conflict. The present application will be described in detail below with reference to the accompanying drawings and in conjunction with the embodiments.
参照图1至图10,护理带100包括:主护板101、侧护板102、第一绑带104、勾面魔术贴105、第二绑带106、毛面魔术贴107、活动板132、药物板件、过滤层、主动供气结构和硅胶条129。1 to 10 , the
参照图1,作为具体方案,其中,主护板101的两侧均固定连接有侧护板102,两个侧护板102的一侧边分别固定连接有三个第一绑带104和三个第二绑带106,第一绑带104的表面上缝合连接有勾面魔术贴105,第二绑带106的表面上缝合连接有毛面魔术贴107,通过第一绑带104和第二绑带106可捆绑在脖子处,佩戴后,通过主护板101和侧护板102为护理处提供覆盖,压在护理处,实现防护,在进行佩戴后,通过毛面魔术贴107和勾面魔术贴105实现粘接,完成安装、绑紧,主护板101的背面顶部中间位置上开设有插槽108,插槽108中具有活动板132,活动板132可进行活动,可调节与脖子处皮肤之间的间距,从而为药物板件的塞入、拔出提供空间,插槽108的内部设置有活动板132,活动板132的底部与插槽108的底部之间形成间槽133,插槽108中设置有可抽拉拆除的药物板件,药物板件便有拆装分离,提高了换药的效率,间槽133为药物板件底部的挡块116提供塞入后的放置空间,进行阻挡,避免出现脱离,提高了安装塞入后的稳定性。Referring to FIG. 1 , as a specific solution, side shields 102 are fixedly connected to both sides of the
参照图4和图5,作为具体方案,侧护板102的内部具有内腔,内腔为过滤层提供了安装的空间,主护板101的内部开设有空腔131,空腔131为U型结构,空腔131为过滤层提供了安装的空间,空腔131的内部和内腔的内部均填充安装有过滤层,主护板101的底部与主动供气结构连接,主动供气结构的输出端与空腔131连通安装,主动供气结构可为空腔131内部提供供气,提供主动透气的效果,从而实现透气,提高了透气的效果,避免闷热,造成伤口处出现损坏,提高了整体的使用效果。4 and 5 , as a specific solution, the interior of the
参照图1至图5,作为具体方案,侧护板102的表面开设有若干个均匀分布的透气孔103,透气孔103穿过整个侧护板102,用于透气,使得护理区域内部通过透气孔103与外界空间连通,进行透气,主护板101的背面开设有若干个出气孔130,且若干个出气孔130围成U型结构,出气孔130U型结构的设计,用于伤口处四周的包围,便于进行透气,提高其透气的效果,出气孔130与空腔131连通安装,出气孔130用于出气,配合主动供气结构进行使用,通过主动供气结构进行供气,通过出气孔130进行出气,实现主动供气,为处理区域提供透气,具有较好的透气效果。1 to 5 , as a specific solution, a number of evenly distributed
参照图2至图3,作为具体方案,主护板101背面和侧护板102背面的四周边沿处固定粘接有硅胶条129,硅胶条129用于和人体直接进行接触,通过硅胶条129自身的柔软性,提高了舒适度,避免压伤皮肤,其中硅胶条129也可采用其他的软质材料进行替换,如橡胶。Referring to FIGS. 2 to 3 , as a specific solution, a
参照图2至图6,采用这样的方案,活动板132的表面四角处均固定连接有连接弹簧134,连接弹簧134的末端与插槽108的槽壁固定连接,实现活动板132的弹性连接,在施加压力的作用,其可进行移动,增加间隔用于药物板件的塞入,施加的压力取消后,通过连接弹簧134的弹力,可使药物板件压在伤口处,进行护理,同时活动板132失去压力,位置复位,可与插槽108底部形成间槽133,为药物板件底部的挡块116提供限位阻挡,避免出现脱离,提高了限位的效果。Referring to FIGS. 2 to 6 , using such a scheme, the four corners of the surface of the
参照图1至图8,采用这样的方案,活动板132的中部固定嵌合连接有第二磁铁块135,第二磁铁块135的背面设置有第一磁铁块110,第一磁铁块110与开设在主护板101正面的凹孔109嵌合连接,增设了第一磁铁块110和第二磁铁块135,通过在凹孔109中放入第一磁铁块110或取出第一磁铁块110,实现对第二磁铁块135的吸附以及吸附的取消,实现活动板132压缩连接弹簧134的驱动以及取消,为活动板132的移动提供驱动。Referring to FIGS. 1 to 8 , in such a scheme, a
参照图1、图2、图6和图8,采用这样的方案,活动板132的板面上固定连接有两个导向杆112,导向杆112与开设在主护板101上的导向通孔111间隙配合连接,通过拉动导向杆112,可实现活动板132的驱动,进行压缩连接弹簧134,从而增加间隔,便于药物板件的塞入,松开后,通过连接弹簧134的弹力,实现药物板件的压动,活动板132复位,可为挡块116提供阻挡,进行限位,同时使药物板件压在伤口处,进行护理,上述为活动板132的驱动提供了一个实施方案。Referring to FIG. 1 , FIG. 2 , FIG. 6 and FIG. 8 , in this solution, two
参照图7,采用这样的方案,药物板件包括:软质橡胶板113、药棉层114、形变杆115和挡块116,软质橡胶板113的背面固定粘接有药棉层114,软质橡胶板113的正面固定嵌合连接有多个等间距分布的形变杆115,多个形变杆115的底端连接有挡块116,软质橡胶板113、药棉层114、形变杆115均具有柔然软性,可进行形变弯折,便于处于弯折状态塞入到插槽108中,适用于小范围的操作环境操作(脖子处与下巴处之间的操作空间不足,避免无法容纳药物板件),其中形变杆115可采用塑料或弹簧钢制成,可进行形变,其中药棉层114上进行浸入药物或涂抹药物,与人体接触,其中挡块116可采用硬块,可选用:石块、铁块等。Referring to FIG. 7 , in such a scheme, the drug board includes: a
参照图9,采用这样的方案,挡块116包括:连通嘴1161和限位阻挡气囊1162,连通嘴1161固定粘接在限位阻挡气囊1162的顶部,连通嘴1161的顶端与形变杆115连接,形变杆115为空心管状结构,形变杆115的空心设计和挡块116的气囊柔性设计,提供了挡块116的另一种技术方案,其在充气后,处于较大的形状,嵌入到间槽133中,进行阻挡,其可通过外部的细针,穿过形变杆115和连通嘴1161,可进行扎破限位阻挡气囊1162,用于放气,实现自动变小,进行取消限位,适用于活动板132组件损坏,难以移动的意外情况下,药物板件的抽出,为药物板件的取出提供了一个实施方案,避免意外情况下,难以去除,影响换药作用。Referring to FIG. 9 , in such a scheme, the
参照图4和图5,采用这样的方案,过滤层包括:无纺布层136、竹炭纤维层137和熔喷布层138,无纺布层136和熔喷布层138分别粘合连接在竹炭纤维层137的两个面上,具有过滤的效果,通过无纺布层136、竹炭纤维层137和熔喷布层138的三层设计,用于阻挡飞沫或病菌的进入,起到保护的作用,提高了使用的效果,同时进行增加了竹炭纤维层137,具有抗菌的功能,提高了抗菌的效果。4 and 5, adopt such a scheme, the filter layer comprises:
参照图1,采用这样的方案,主动供气结构包括:气泵117、第一软管121、第二软管123、接口124、过滤罩120、活性炭过滤网139和连杆119,气泵117的进气口与过滤罩120固定套接,过滤罩120的一侧固定嵌合安装有活性炭过滤网139,气泵117的出气口与第一软管121的一端固定套接,第一软管121的末端与第二软管123的一端连通安装,第二软管123的末端与接口124固定套接,接口124顶端与主护板101的底部固定连接,且接口124与空腔131连通安装,过滤罩120与气泵117外壳的一侧之间固定连接有四个连杆119,且四个连杆119呈矩形阵列分布,通过气泵117进行供气,外部空气通过过滤罩120进入到气泵117中,通过活性炭过滤网139进行过滤后,过滤后的空气进入到第一软管121中,通过三通管122进入到第二软管123中,接着通过接口124进入到主护板101中,进入到空腔131中,然后通过无纺布层136、竹炭纤维层137、熔喷布层138进行过滤,从而保持进入空气的清洁,为护理处提供洁净的空气,用于透气作用,提高了透气效果,其中通过气泵117驱动,作为空气输送的驱动元件,供气效果好。Referring to FIG. 1 , with such a solution, the active air supply structure includes: an
参照图1,采用这样的方案,气泵117的外壳底部固定连接有刮勾118,刮勾118为L型的板状结构,气泵117的外壳背面安装有电池以及控制开关,通过刮勾118可悬挂在腰带上,用于悬挂,通过电池进行供电,通过控制开关用于气泵117的开、闭控制。Referring to FIG. 1 , in this solution, a
参照图1,采用这样的方案,第一软管121和第二软管123之间连接有三通管122,三通管122还与第三软管125的一端连接,第三软管125的末端固定安装有第一单向阀127,第一单向阀127固定安装在握持气囊126的底部,握持气囊126的顶部固定安装有第二单向阀128,其中第二单向阀128和第一单向阀127用于气流的单向流动,其中第二单向阀128可使外界空气流入到握持气囊126的内部,握持气囊126内部空气无法通过第二单向阀128进行流出,握持气囊126中的空气通过第一单向阀127可流出,通过第一单向阀127空气无法进入到握持气囊126中,从而在进行握捏握持气囊126时,可进行空气的驱动,使得空气通过第三软管125流入到第二软管123中,进行主动供气,为主动供气提供一种实施的方案,其中通过手动提供驱动供气,提高了透气效果,整体的使用效果较好,整个实施方案适用于气泵117损坏或缺电后的情况下,可提供手动进行供气。Referring to FIG. 1 , in such a solution, a
本申请的技术方案,整个护理带100用于甲状腺术后的防护护理,佩戴在脖子上,通过主护板101和护理带100起到防护的作用,与现有技术相比较,其具有便于换药的功能,通过药物板件作为药物的载体,与手术后的伤口处接触,提供护理防护,其药物板件采用抽拉设计便于进行拆除更换,从而便于进行换药,换药时,无需进行整个护理带100的拆除,换药的效率较高。In the technical solution of the present application, the
同时药物板件整体采用药棉层114、软质橡胶板113、形变杆115构成,具有较好的形变能力,便于处于弯折状态塞入到插槽108中,适用于小范围的操作环境操作(脖子处与下巴处之间的操作空间不足,避免无法容纳药物板件),塞入后具有挡块116,嵌入到间槽133中,从而可提供限位阻挡,提高了安装的稳定性,不易出现脱离,又进一步在活动板132上增设了连接弹簧134,使的活动板132具有弹性,在进行药物板件的塞入时,便于进行弹性形变,活动板132出现位移,便于药物板件的塞入,安装后通过连接弹簧134的弹性压力,可为药物板件提供压力,便于药物较好的与伤口进行接触,提供较好的护理效果。At the same time, the whole medicine plate is composed of a
同时在活动板132上增设了导向杆112,导向杆112直接与活动板132固接,通过拉动导向杆112以及导向通孔111的导向,可进行活动板132的驱动,进行压缩连接弹簧134,使活动板132主动产生较大的位移,便于药物板件的塞入,同时增设了第一磁铁块110和第二磁铁块135,通过在凹孔109中放入第一磁铁块110或取出第一磁铁块110,实现对第二磁铁块135的吸附以及吸附的取消,实现活动板132压缩连接弹簧134的驱动以及取消,上述提出了两种移动活动板132的方式,为药物板件的塞入提供空间,具体为挡块116的通过提供了空间,从而便于药物板件的取出和塞入。At the same time, a
进一步挡块116采用限位阻挡气囊1162和连通嘴1161构成,形变杆115为空心的管子,在进行安装后,通过外部的细针,穿过形变杆115、连通嘴1161,可进行限位阻挡气囊1162的刺破,可进行放气,进行收缩,取消与间槽133的嵌合阻挡,可直接抽出药物板件,无需进行移动活动板132,为药物板件的取出提供了便捷,其适用于活动板132难以移动或损坏的情况下,通过扎破限位阻挡气囊1162,从而降低了限位阻挡气囊1162的体积,从而实现便于取出的特点。Further, the
同时整体的透气性较好,在侧护板102上增设了透气孔103,用于日常的透气作用,用于护理处的透气,设置了过滤层,起到过滤防护的作用,降低病菌的进入,进一步增设了主动供气结构,提高了整体的透气效果,通过气泵117进行供气,通过过滤罩120进气,通过活性炭过滤网139进行过滤,从而使外部空气流入到空腔131中,进一步通过过滤层,从出气孔130进入到护理区域,提高了透气的效果,适用于闷热时使用,同时在主动供气结构处增设了手动供气的元件,通过手捏握持气囊126,从而使得外部空气,通过手捏驱动,进入到空腔131中,进行手动供气,提供了两种主动供气的方案,解决护理区域的闷热情况,提高了使用效果,从而避免了气泵117损坏或电池缺电,造成气泵117无法工作的主动供气。At the same time, the overall air permeability is good, and the ventilation holes 103 are added on the
以上所述仅为本申请的具体实施例而已,并不用于限制本申请,对于本领域的技术人员来说,本申请可以有各种更改和变化。凡在本申请的精神和原则之内,所作的任何修改、等同替换、改进等,均应包含在本申请的保护范围之内。The above descriptions are only specific embodiments of the present application, and are not intended to limit the present application. For those skilled in the art, the present application may have various modifications and changes. Any modification, equivalent replacement, improvement, etc. made within the spirit and principle of this application shall be included within the protection scope of this application.
Claims (7)
Priority Applications (1)
| Application Number | Priority Date | Filing Date | Title |
|---|---|---|---|
| CN202110251464.XA CN112914832B (en) | 2021-03-08 | 2021-03-08 | A kind of thyroid surgery nursing belt |
Applications Claiming Priority (1)
| Application Number | Priority Date | Filing Date | Title |
|---|---|---|---|
| CN202110251464.XA CN112914832B (en) | 2021-03-08 | 2021-03-08 | A kind of thyroid surgery nursing belt |
Publications (2)
| Publication Number | Publication Date |
|---|---|
| CN112914832A CN112914832A (en) | 2021-06-08 |
| CN112914832B true CN112914832B (en) | 2022-05-31 |
Family
ID=76171884
Family Applications (1)
| Application Number | Title | Priority Date | Filing Date |
|---|---|---|---|
| CN202110251464.XA Expired - Fee Related CN112914832B (en) | 2021-03-08 | 2021-03-08 | A kind of thyroid surgery nursing belt |
Country Status (1)
| Country | Link |
|---|---|
| CN (1) | CN112914832B (en) |
Families Citing this family (1)
| Publication number | Priority date | Publication date | Assignee | Title |
|---|---|---|---|---|
| CN116407128B (en) * | 2023-04-28 | 2024-03-08 | 苏州乐普斯电子有限公司 | Adjustable brain electrode fixing band |
Citations (9)
| Publication number | Priority date | Publication date | Assignee | Title |
|---|---|---|---|---|
| US6591429B1 (en) * | 1995-04-28 | 2003-07-15 | Burlington Consolidated Limited Incorporation | Physical protector |
| JP2015518927A (en) * | 2011-10-11 | 2015-07-06 | ティービーアイ イノヴェーションズ エルエルシーTbi Innovations, Llc | Method and apparatus for reducing the effects of damage to objects of concussion or blast force |
| CN209186835U (en) * | 2017-11-28 | 2019-08-02 | 解晓荷 | A kind of fast hemostasis device for general surgical nursing |
| CN110151398A (en) * | 2018-03-08 | 2019-08-23 | 孙雪莲 | A kind of obstetrics and gynecology department tightening abdnominal belt device |
| CN209450791U (en) * | 2018-12-18 | 2019-10-01 | 李素梅 | A kind of multi-purpose band of gynecological and obstetrical nursing |
| CN110882107A (en) * | 2019-12-19 | 2020-03-17 | 江云娟 | Incision recovery nursing device for general surgery department |
| CN210843819U (en) * | 2019-07-27 | 2020-06-26 | 华中科技大学同济医学院附属协和医院 | Postoperative wound dressing for posterior cervical spine surgery |
| CN211610349U (en) * | 2020-01-31 | 2020-10-02 | 连云港市第二人民医院(连云港市临床肿瘤研究所) | Thyroid gland postoperative pressurization fixing device |
| CN112245790A (en) * | 2020-11-13 | 2021-01-22 | 徐树建 | Postoperative protection device for thyroid surgery |
-
2021
- 2021-03-08 CN CN202110251464.XA patent/CN112914832B/en not_active Expired - Fee Related
Patent Citations (9)
| Publication number | Priority date | Publication date | Assignee | Title |
|---|---|---|---|---|
| US6591429B1 (en) * | 1995-04-28 | 2003-07-15 | Burlington Consolidated Limited Incorporation | Physical protector |
| JP2015518927A (en) * | 2011-10-11 | 2015-07-06 | ティービーアイ イノヴェーションズ エルエルシーTbi Innovations, Llc | Method and apparatus for reducing the effects of damage to objects of concussion or blast force |
| CN209186835U (en) * | 2017-11-28 | 2019-08-02 | 解晓荷 | A kind of fast hemostasis device for general surgical nursing |
| CN110151398A (en) * | 2018-03-08 | 2019-08-23 | 孙雪莲 | A kind of obstetrics and gynecology department tightening abdnominal belt device |
| CN209450791U (en) * | 2018-12-18 | 2019-10-01 | 李素梅 | A kind of multi-purpose band of gynecological and obstetrical nursing |
| CN210843819U (en) * | 2019-07-27 | 2020-06-26 | 华中科技大学同济医学院附属协和医院 | Postoperative wound dressing for posterior cervical spine surgery |
| CN110882107A (en) * | 2019-12-19 | 2020-03-17 | 江云娟 | Incision recovery nursing device for general surgery department |
| CN211610349U (en) * | 2020-01-31 | 2020-10-02 | 连云港市第二人民医院(连云港市临床肿瘤研究所) | Thyroid gland postoperative pressurization fixing device |
| CN112245790A (en) * | 2020-11-13 | 2021-01-22 | 徐树建 | Postoperative protection device for thyroid surgery |
Also Published As
| Publication number | Publication date |
|---|---|
| CN112914832A (en) | 2021-06-08 |
Similar Documents
| Publication | Publication Date | Title |
|---|---|---|
| JP3106128B1 (en) | mask | |
| CN112914832B (en) | A kind of thyroid surgery nursing belt | |
| CN107875494A (en) | A kind of breathing mask with safeguard function | |
| CN211703587U (en) | Medical protective cover | |
| CN217280049U (en) | A suspended breathable medical radiation protection device | |
| CN213757641U (en) | Lavender nerve-soothing latex pillow | |
| CN216089027U (en) | Medical protective clothing of cooling dehumidification | |
| CN207885715U (en) | A kind of medical mask that can be supplied oxygen temporarily | |
| CN213156650U (en) | A saliva collection device for stomatology | |
| CN209392350U (en) | Curved surface cupping physiotherapy device | |
| CN209075267U (en) | A kind of clinical ophthalmology nursing postoperative prostrate head position device | |
| CN214387992U (en) | Simple automatic turning-over massage air cushion | |
| CN208896595U (en) | Multifunctional mask that can accommodate gastric tube | |
| CN100560164C (en) | Nose mask | |
| CN209091812U (en) | A kind of intensive care unit protective gloves for nursing care | |
| CN104720152A (en) | Mask | |
| CN204377984U (en) | A kind of mouth mask | |
| CN220213225U (en) | A kind of strap for nursing | |
| CN214967723U (en) | Postoperative care cover for thoracic plastic surgery | |
| CN221787766U (en) | Adsorption type mask | |
| CN214232446U (en) | Protective mask for silymarin extraction | |
| CN214970753U (en) | Artificial respirator for nursing of infectious department | |
| CN209885020U (en) | Lumbar intervertebral disc rehabilitation nursing pad | |
| CN217091086U (en) | Automatic pressure-releasing and exhausting fistulization bag | |
| CN218682065U (en) | Wet rash prevention wearing lining trousers for male bedridden |
Legal Events
| Date | Code | Title | Description |
|---|---|---|---|
| PB01 | Publication | ||
| PB01 | Publication | ||
| SE01 | Entry into force of request for substantive examination | ||
| SE01 | Entry into force of request for substantive examination | ||
| GR01 | Patent grant | ||
| GR01 | Patent grant | ||
| CF01 | Termination of patent right due to non-payment of annual fee |
Granted publication date: 20220531 |
|
| CF01 | Termination of patent right due to non-payment of annual fee |
