CN112728310A - Surveying and mapping device for indoor design - Google Patents

Surveying and mapping device for indoor design Download PDF

Info

Publication number
CN112728310A
CN112728310A CN202011544659.5A CN202011544659A CN112728310A CN 112728310 A CN112728310 A CN 112728310A CN 202011544659 A CN202011544659 A CN 202011544659A CN 112728310 A CN112728310 A CN 112728310A
Authority
CN
China
Prior art keywords
surveying
fixedly connected
bevel gear
box body
rod
Prior art date
Legal status (The legal status is an assumption and is not a legal conclusion. Google has not performed a legal analysis and makes no representation as to the accuracy of the status listed.)
Granted
Application number
CN202011544659.5A
Other languages
Chinese (zh)
Other versions
CN112728310B (en
Inventor
张淑娥
王杨
肖凌
Current Assignee (The listed assignees may be inaccurate. Google has not performed a legal analysis and makes no representation or warranty as to the accuracy of the list.)
HUNAN URBAN CONSTRUCTION COLLEGE
Original Assignee
HUNAN URBAN CONSTRUCTION COLLEGE
Priority date (The priority date is an assumption and is not a legal conclusion. Google has not performed a legal analysis and makes no representation as to the accuracy of the date listed.)
Filing date
Publication date
Application filed by HUNAN URBAN CONSTRUCTION COLLEGE filed Critical HUNAN URBAN CONSTRUCTION COLLEGE
Priority to CN202011544659.5A priority Critical patent/CN112728310B/en
Publication of CN112728310A publication Critical patent/CN112728310A/en
Application granted granted Critical
Publication of CN112728310B publication Critical patent/CN112728310B/en
Expired - Fee Related legal-status Critical Current
Anticipated expiration legal-status Critical

Links

Images

Classifications

    • FMECHANICAL ENGINEERING; LIGHTING; HEATING; WEAPONS; BLASTING
    • F16ENGINEERING ELEMENTS AND UNITS; GENERAL MEASURES FOR PRODUCING AND MAINTAINING EFFECTIVE FUNCTIONING OF MACHINES OR INSTALLATIONS; THERMAL INSULATION IN GENERAL
    • F16MFRAMES, CASINGS OR BEDS OF ENGINES, MACHINES OR APPARATUS, NOT SPECIFIC TO ENGINES, MACHINES OR APPARATUS PROVIDED FOR ELSEWHERE; STANDS; SUPPORTS
    • F16M11/00Stands or trestles as supports for apparatus or articles placed thereon ; Stands for scientific apparatus such as gravitational force meters
    • F16M11/02Heads
    • F16M11/04Means for attachment of apparatus; Means allowing adjustment of the apparatus relatively to the stand
    • FMECHANICAL ENGINEERING; LIGHTING; HEATING; WEAPONS; BLASTING
    • F16ENGINEERING ELEMENTS AND UNITS; GENERAL MEASURES FOR PRODUCING AND MAINTAINING EFFECTIVE FUNCTIONING OF MACHINES OR INSTALLATIONS; THERMAL INSULATION IN GENERAL
    • F16MFRAMES, CASINGS OR BEDS OF ENGINES, MACHINES OR APPARATUS, NOT SPECIFIC TO ENGINES, MACHINES OR APPARATUS PROVIDED FOR ELSEWHERE; STANDS; SUPPORTS
    • F16M11/00Stands or trestles as supports for apparatus or articles placed thereon ; Stands for scientific apparatus such as gravitational force meters
    • F16M11/02Heads
    • F16M11/04Means for attachment of apparatus; Means allowing adjustment of the apparatus relatively to the stand
    • F16M11/06Means for attachment of apparatus; Means allowing adjustment of the apparatus relatively to the stand allowing pivoting
    • F16M11/12Means for attachment of apparatus; Means allowing adjustment of the apparatus relatively to the stand allowing pivoting in more than one direction
    • FMECHANICAL ENGINEERING; LIGHTING; HEATING; WEAPONS; BLASTING
    • F16ENGINEERING ELEMENTS AND UNITS; GENERAL MEASURES FOR PRODUCING AND MAINTAINING EFFECTIVE FUNCTIONING OF MACHINES OR INSTALLATIONS; THERMAL INSULATION IN GENERAL
    • F16MFRAMES, CASINGS OR BEDS OF ENGINES, MACHINES OR APPARATUS, NOT SPECIFIC TO ENGINES, MACHINES OR APPARATUS PROVIDED FOR ELSEWHERE; STANDS; SUPPORTS
    • F16M11/00Stands or trestles as supports for apparatus or articles placed thereon ; Stands for scientific apparatus such as gravitational force meters
    • F16M11/02Heads
    • F16M11/16Details concerning attachment of head-supporting legs, with or without actuation of locking members thereof
    • FMECHANICAL ENGINEERING; LIGHTING; HEATING; WEAPONS; BLASTING
    • F16ENGINEERING ELEMENTS AND UNITS; GENERAL MEASURES FOR PRODUCING AND MAINTAINING EFFECTIVE FUNCTIONING OF MACHINES OR INSTALLATIONS; THERMAL INSULATION IN GENERAL
    • F16MFRAMES, CASINGS OR BEDS OF ENGINES, MACHINES OR APPARATUS, NOT SPECIFIC TO ENGINES, MACHINES OR APPARATUS PROVIDED FOR ELSEWHERE; STANDS; SUPPORTS
    • F16M11/00Stands or trestles as supports for apparatus or articles placed thereon ; Stands for scientific apparatus such as gravitational force meters
    • F16M11/20Undercarriages with or without wheels
    • F16M11/24Undercarriages with or without wheels changeable in height or length of legs, also for transport only, e.g. by means of tubes screwed into each other
    • F16M11/26Undercarriages with or without wheels changeable in height or length of legs, also for transport only, e.g. by means of tubes screwed into each other by telescoping, with or without folding
    • F16M11/28Undercarriages for supports with one single telescoping pillar
    • GPHYSICS
    • G01MEASURING; TESTING
    • G01CMEASURING DISTANCES, LEVELS OR BEARINGS; SURVEYING; NAVIGATION; GYROSCOPIC INSTRUMENTS; PHOTOGRAMMETRY OR VIDEOGRAMMETRY
    • G01C15/00Surveying instruments or accessories not provided for in groups G01C1/00 - G01C13/00

Landscapes

  • Engineering & Computer Science (AREA)
  • General Engineering & Computer Science (AREA)
  • Mechanical Engineering (AREA)
  • Physics & Mathematics (AREA)
  • General Physics & Mathematics (AREA)
  • Radar, Positioning & Navigation (AREA)
  • Remote Sensing (AREA)
  • Position Fixing By Use Of Radio Waves (AREA)
  • Mounting And Adjusting Of Optical Elements (AREA)

Abstract

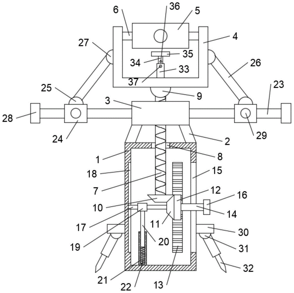
本发明公开了一种室内设计用测绘装置,包括箱体,所述箱体上端设置有支撑杆,支撑杆顶端固定连接有连接块,所述箱体内设置有转动装置,转动装置连接有螺杆,箱体顶端设置有通孔,螺杆穿过通孔与连接块螺纹连接,所述螺杆顶端设置有铰接轴一,铰接轴一铰接有凹块,凹块内设置有测绘仪,测绘仪左右两侧设置有转轴,转轴末端转动连接在凹块内侧壁上;通过转动转轴,可使测绘仪转动,改变其测绘方向,使其更加具有灵活性,且可方便使其进行倒转测绘,增加该测绘装置的实用性,通过转动装置,可使螺杆转动,进而通过连接块,使螺杆带动测绘仪进行上下移动,实现对测绘仪高度的调节。

Figure 202011544659

The invention discloses a surveying and mapping device for interior design, comprising a box body, a support rod is arranged on the upper end of the box body, a connection block is fixedly connected to the top of the support rod, a rotation device is arranged in the box body, and a screw rod is connected to the rotation device, A through hole is arranged at the top of the box body, and the screw rod passes through the through hole and is threadedly connected to the connecting block. The top of the screw rod is provided with a hinge shaft 1, and the hinge shaft 1 is hinged with a concave block. A rotating shaft is provided, and the end of the rotating shaft is rotatably connected to the inner side wall of the concave block; by rotating the rotating shaft, the surveying and mapping instrument can be rotated to change its surveying and mapping direction, making it more flexible, and it can be easily reversed for surveying and mapping, and the surveying and mapping device can be added. Through the rotating device, the screw can be rotated, and then through the connecting block, the screw can drive the surveying instrument to move up and down, and the height of the surveying instrument can be adjusted.

Figure 202011544659

Description

Surveying and mapping device for indoor design
Technical Field
The invention relates to the field of indoor design devices, in particular to a surveying and mapping device for indoor design.
Background
In the construction process of the interior decoration industry, indoor surveying and mapping are important work in construction, the accuracy and the speed of surveying and mapping operation not only reflect the professional level of surveying and mapping personnel, but also are directly related to the economic benefits of owners, so that the control on surveying and mapping errors in the construction process of decoration is particularly important.
The existing surveying and mapping device is not flexible enough, and the surveying and mapping instrument cannot be overturned on the surveying and mapping support, so that the surveying and mapping instrument cannot be overturned to measure indoors, has fewer measuring functions and lower practicability, and cannot meet the existing requirements.
Disclosure of Invention
The present invention is directed to a surveying and mapping apparatus for indoor design, which solves the above-mentioned problems of the prior art.
In order to achieve the purpose, the invention provides the following technical scheme:
the utility model provides a surveying device for indoor decoration, includes the box, the box upper end is provided with the bracing piece, bracing piece top fixedly connected with connecting block, be provided with rotating device in the box, rotating device is connected with the screw rod, and the box top is provided with the through-hole, and the screw rod passes through the through-hole and connecting block threaded connection, the screw rod top is provided with articulated shaft one, and articulated shaft one articulates there is concave, is provided with the surveying instrument in the concave, and the surveying instrument left and right sides is provided with the pivot, and the pivot end is rotated and is connected.
As a further scheme of the invention: the rotating device comprises a first bevel gear, the first bevel gear is fixedly connected to the lower end of the screw rod, a second bevel gear is meshed with the first bevel gear, a gear is fixedly connected to the second bevel gear, a rack is arranged on the inner side wall of the box body, the gear and the rack are meshed, a connecting rod is fixedly connected to the rack, a groove is formed in the right side wall of the box body, and the connecting rod penetrates through the groove and the tail end of the handle.
As a still further scheme of the invention: bevel gear two is kept away from and is provided with the slide bar on the gear lateral wall, is provided with the spout on the inside left side wall of box, and slide bar slidable mounting has a pole cover on the slide bar, and the inside bottom of box is provided with the sleeve, and slidable mounting has the movable rod in the sleeve, movable rod top and pole cover fixed connection, be provided with the spring in the sleeve, spring and movable rod lower extreme fixed connection.
As a still further scheme of the invention: both ends fixedly connected with dead lever about the connecting block, slidable mounting has the slider on the dead lever, is provided with the screw on the slider lateral wall, the slider upper end is provided with articulated shaft two, and articulated shaft two articulates there is the hinge bar, is provided with articulated shaft three about the concave block on the lateral wall, and the hinge bar end is articulated with the articulated shaft three-phase, the terminal fixedly connected with dog of slider.
As a still further scheme of the invention: both ends fixedly connected with fixed block about the box, the fixed block lower extreme is provided with articulated shaft four, and articulated shaft four articulates there is the telescopic link.
As a still further scheme of the invention: the concave block is characterized in that a cylinder is arranged at the bottom end inside the concave block, a moving rod is slidably mounted in the cylinder, the top end of the moving rod is fixedly connected with a flat plate, a clamping groove is formed in the side wall of the moving rod, and a clamping column matched with the clamping groove is formed in the side wall of the cylinder.
As a still further scheme of the invention: and a level gauge is arranged on the surveying instrument.
Compared with the prior art, the invention has the beneficial effects that: by arranging the rotating shaft, the surveying instrument can rotate, the surveying direction of the surveying instrument is changed, the surveying instrument has more flexibility, the surveying instrument can be conveniently overturned, and the practicability of the surveying instrument is improved; the connecting rod drives the gear to rotate by arranging the screw rod and rotating the handle, so that the bevel gear II drives the bevel gear I to rotate, the screw rod rotates to move upwards, the gear rotates on the rack, the gear moves upwards under the action of the rack and keeps moving upwards synchronously with the screw rod, and the surveying and mapping instrument is lifted and lowered; the movable rod is arranged, so that the gear can be supported, and the second bevel gear and the first bevel gear are always kept in a meshed state through the elasticity of the spring; through the arrangement of the sliding blocks, when the ground is uneven, the left sliding block and the right sliding block can slide on the fixing rod, the concave blocks rotate around the hinge shaft, the levelness of the surveying instrument is adjusted, and after the surveying instrument is adjusted to be horizontal, the screws are rotated to fix the sliding blocks, so that the surveying instrument can be kept to be placed horizontally all the time; by arranging the telescopic rod, the telescopic rod is rotated around the four hinge shafts, the telescopic rod is extended, the tail end of the telescopic rod is contacted with the ground, a supporting effect is achieved on the box body, the box body is prevented from tilting, and the stability of the device is improved; through setting up the spirit level, can know the slope situation of surveying instrument, conveniently adjust the surveying instrument, make it keep the level.
Drawings
Fig. 1 is a front sectional view of a surveying and mapping apparatus for interior design.
Fig. 2 is a side view of a gear in the surveying and mapping device for indoor design.
Fig. 3 is a plan view of a concave block in the indoor design surveying and mapping device.
In the figure: 1-box body, 2-supporting rod, 3-connecting block, 4-concave block, 5-surveying instrument, 6-rotating shaft, 7-screw rod, 8-through hole, 9-hinge shaft I, 10-bevel gear I, 11-bevel gear II, 12-gear, 13-rack, 14-connecting rod, 15-groove, 16-handle, 17-sliding rod, 18-sliding groove, 19-rod sleeve, 20-movable rod, 21-sleeve, 22-spring, 23-fixed rod, 24-sliding block, 25-hinge shaft II, 26-hinge rod, 27-hinge shaft III, 28-baffle, 29-screw, 30-fixed block, 31-hinge shaft IV, 32-telescopic rod, 33-cylinder, 34-movable rod, 34-groove, 35-plate, 36-card slot, 37-card column and 38-level meter.
Detailed Description
The technical solutions in the embodiments of the present invention will be clearly and completely described below with reference to the drawings in the embodiments of the present invention, and it is obvious that the described embodiments are only a part of the embodiments of the present invention, and not all of the embodiments. All other embodiments, which can be derived by a person skilled in the art from the embodiments given herein without making any creative effort, shall fall within the protection scope of the present invention.
Example 1
Referring to fig. 1-3, in the embodiment of the present invention, a surveying and mapping apparatus for indoor design includes a case 1, a support rod 2 is disposed at an upper end of the case, a connection block 3 is fixedly connected to a top end of the support rod 2, a rotation device is disposed in the case 1, the rotation device is connected to a screw 7, a through hole 8 is disposed at a top end of the case 1, the screw 7 is threaded to the connection block 3 through the through hole 8, a first hinge shaft 9 is disposed at a top end of the screw 7, the first hinge shaft 9 is hinged to a concave block 4, a surveying and mapping instrument 5 is disposed in the concave block 4, rotation shafts 6 are disposed at left and right sides of the surveying and mapping instrument 5, ends of the rotation shafts 6 are rotatably connected to an inner side wall of the concave block 4, the surveying and mapping instrument 5 can be rotated by rotating the rotation shafts 6 to change, can make screw rod 7 rotate, and then through connecting block 3, make screw rod 7 drive surveying instrument 5 and reciprocate, realize the regulation to surveying instrument 5 height.
The rotating device comprises a first bevel gear 10, the first bevel gear 10 is fixedly connected to the lower end of the screw 7, a second bevel gear 11 is arranged in a meshed mode with the first bevel gear 10, a gear 12 is fixedly connected to the second bevel gear 11, a rack 13 is arranged on the inner side wall of the box body 1, the gear 12 is arranged in a meshed mode with the rack 13, a connecting rod 14 is fixedly connected to the rack 13, a groove 15 is formed in the right side wall of the box body 1, the connecting rod 14 penetrates through the groove 15, a handle 16 is fixedly connected to the tail end of the connecting rod 16, the connecting rod 14 drives the gear 12 to rotate, the second bevel gear 11 drives the first bevel gear 10 to rotate, the screw 7 rotates to move upwards, the gear 12 rotates on the rack 13, the gear moves upwards under the action of the rack 13, the gear keeps moving.
The side wall of the bevel gear II 11 far away from the gear 12 is provided with a sliding rod 17, the left side wall inside the box body 1 is provided with a sliding groove 18, the sliding rod 17 is slidably mounted in the sliding groove 18, the sliding rod 17 is sleeved with a rod sleeve 19, the bottom end inside the box body 1 is provided with a sleeve 21, a movable rod 20 is slidably mounted in the sleeve 21, the top end of the movable rod 20 is fixedly connected with the rod sleeve 19, a spring 22 is arranged in the sleeve 21, the spring 22 is fixedly connected with the lower end of the movable rod 20, the movable rod 20 can support the gear 12, and the bevel gear II 11 and the bevel gear I10 are always kept in a meshed state through the elastic force of the.
Both ends fixedly connected with dead lever 23 about connecting block 3, slidable mounting has slider 24 on dead lever 23, be provided with screw 29 on the slider 24 lateral wall, slider 24 upper end is provided with articulated shaft two 25, articulated shaft two 25 articulates there is articulated rod 26, be provided with articulated shaft three 27 on the lateral wall about concave block 4, articulated rod 26 end is articulated mutually with articulated shaft three 27, the terminal fixedly connected with dog 28 of slider 24, when ground is not at ordinary times, can make about slider 24 slide on dead lever 23, make concave block 4 rotate around articulated shaft one 9, adjust surveying instrument 5's levelness, surveying instrument 5 adjusts the level back at that time, rotating screw 29 fixes slider 24, and then can keep surveying instrument 5 horizontal placement all the time.
Both ends fixedly connected with fixed block 30 about box 1, and fixed block 30 lower extreme is provided with articulated shaft four 31, and articulated shaft four 31 articulates there is telescopic link 32, rotates telescopic link 32 around articulated shaft four 31, and extension telescopic link 32 makes the terminal contact ground of telescopic link 32, plays the supporting role to box 1, prevents that box 1 from askewly falling, improves the device's stability.
The inside bottom of concave 4 is provided with drum 33, and slidable mounting has carriage release lever 34 in drum 33, and carriage release lever 34 top fixedly connected with is dull and stereotyped 35, be provided with draw-in groove 36 on the carriage release lever 34 lateral wall, be provided with on the drum 33 lateral wall with draw-in groove 36 assorted card post 37, with carriage release lever 34 rebound in drum 33, make dull and stereotyped 35 support surveying instrument 5 mutually, make it keep level, will block in post 37 card advances draw-in groove 36, fix it, make surveying instrument 5 keep stable horizontality.
The working principle of the embodiment is as follows: moving the box body 1 to a proper position, rotating the telescopic rod 32 around the four hinged shafts 31, extending the telescopic rod 32, contacting the tail end of the telescopic rod 32 with the ground, supporting the box body 1, preventing the box body 1 from tilting, rotating the handle 16, enabling the connecting rod 14 to drive the gear 12 to rotate, further enabling the bevel gear two 11 to drive the bevel gear one 10 to rotate, enabling the screw rod 7 to rotate and move upwards, enabling the gear 12 to rotate on the rack 13, enabling the gear to move upwards through the action of the rack 13, keeping the gear to move upwards synchronously with the screw rod 7, realizing the height adjustment of the surveying instrument 5, enabling the surveying instrument 5 to rotate through rotating the rotating shaft 6, changing the surveying direction, enabling the surveying instrument to have more flexibility, conveniently enabling the surveying instrument to carry out inverse surveying, increasing the practicability of the surveying instrument, enabling the left and right sliders 24 to slide on the fixed rods 23 when the ground is uneven, enabling the concave blocks 4 to rotate around the, adjust surveying instrument 5's levelness, surveying instrument 5 adjusts the level back at that time, and rotatory screw 29 is fixed slider 24, with carriage release lever 34 rebound in drum 33, makes dull and stereotyped 35 support surveying instrument 5 mutually, makes it keep the level, will block in post 37 card advances draw-in groove 36, fixes it, makes surveying instrument 5 remain stable horizontality.
Example 2
In order to facilitate the knowledge of the level or inclination of the surveying instrument 5, the present embodiment is further improved on the basis of embodiment 1, and the improvement is: be provided with spirit level 38 on surveying instrument 5, through spirit level 38, can know surveying instrument 5's slope situation, conveniently adjust surveying instrument 5, make it keep the level.
The working principle of the embodiment is as follows: in order to conveniently know the level or the inclination of the surveying instrument 5, a level 38 is arranged on the surveying instrument 5, the inclination of the surveying instrument 5 can be known through the level 38, and the surveying instrument 5 can be conveniently adjusted to be kept horizontal.
In conclusion, the rotating shaft 6 is arranged, so that the surveying instrument 5 can rotate, the surveying direction of the surveying instrument can be changed, the surveying instrument has more flexibility, the surveying instrument can be conveniently overturned, and the practicability of the surveying instrument is improved; by arranging the screw 7 and rotating the handle 16, the connecting rod 14 drives the gear 12 to rotate, and further the bevel gear 11 drives the bevel gear I10 to rotate, so that the screw 7 rotates and moves upwards, the gear 12 rotates on the rack 13, and moves upwards under the action of the rack 13, and keeps moving upwards synchronously with the screw 7, thereby realizing the lifting of the surveying instrument 5; the movable rod 20 is arranged to support the gear 12, and the bevel gear II 11 and the bevel gear I10 are always kept in a meshed state through the elastic force of the spring 22; through the arrangement of the sliding blocks 24, when the ground is uneven, the left sliding block 24 and the right sliding block 24 can slide on the fixing rod 23, the concave blocks 4 can rotate around the first hinge shaft 9, the levelness of the surveying instrument 5 is adjusted, and after the surveying instrument 5 is adjusted to be horizontal, the screws 29 are rotated to fix the sliding blocks 24, so that the surveying instrument 5 can be kept to be horizontally placed all the time; by arranging the telescopic rod 32, the telescopic rod 32 rotates around the four hinge shafts 31, the telescopic rod 32 is extended, the tail end of the telescopic rod 32 is contacted with the ground, the box body 1 is supported, the box body 1 is prevented from tilting, and the stability of the device is improved; by providing the level gauge 38, the inclination of the surveying instrument 5 can be known, and the surveying instrument 5 can be adjusted conveniently to be kept horizontal.
It will be evident to those skilled in the art that the invention is not limited to the details of the foregoing illustrative embodiments, and that the present invention may be embodied in other specific forms without departing from the spirit or essential attributes thereof. The present embodiments are therefore to be considered in all respects as illustrative and not restrictive, the scope of the invention being indicated by the appended claims rather than by the foregoing description, and all changes which come within the meaning and range of equivalency of the claims are therefore intended to be embraced therein. Any reference sign in a claim should not be construed as limiting the claim concerned.
Furthermore, it should be understood that although the present description refers to embodiments, not every embodiment may contain only a single embodiment, and such description is for clarity only, and those skilled in the art should integrate the description, and the embodiments may be combined as appropriate to form other embodiments understood by those skilled in the art.

Claims (7)

1. The utility model provides a surveying and mapping device for indoor decoration, includes box (1), its characterized in that, the box upper end is provided with bracing piece (2), bracing piece (2) top fixedly connected with connecting block (3), be provided with rotating device in box (1), rotating device is connected with screw rod (7), and box (1) top is provided with through-hole (8), and through-hole (8) and connecting block (3) threaded connection are passed in screw rod (7), screw rod (7) top is provided with articulated shaft (9), and articulated shaft (9) articulate has concave block (4), is provided with surveying instrument (5) in concave block (4), and the surveying instrument (5) left and right sides is provided with pivot (6), and pivot (6) end is rotated and is connected on concave block (4) inside wall.
2. The surveying and mapping device for indoor design according to claim 1, wherein the rotating device comprises a first bevel gear (10), the first bevel gear (10) is fixedly connected to the lower end of the screw rod (7), a second bevel gear (11) is engaged with the first bevel gear (10), a gear (12) is fixedly connected to the second bevel gear (11), a rack (13) is arranged on the inner side wall of the box body (1), the gear (12) is engaged with the rack (13), a connecting rod (14) is fixedly connected to the rack (13), a groove (15) is formed in the right side wall of the box body (1), and the connecting rod (14) penetrates through the groove (15) and is fixedly connected with a handle (16) at the tail end.
3. The surveying and mapping device for indoor design according to claim 2, wherein a slide bar (17) is arranged on one side wall of the bevel gear II (11) far away from the gear (12), a slide groove (18) is arranged on the left side wall inside the box body (1), the slide bar (17) is slidably mounted in the slide groove (18), a bar sleeve (19) is sleeved on the slide bar (17), a sleeve (21) is arranged at the bottom end inside the box body (1), a movable bar (20) is slidably mounted in the sleeve (21), the top end of the movable bar (20) is fixedly connected with the bar sleeve (19), a spring (22) is arranged in the sleeve (21), and the spring (22) is fixedly connected with the lower end of the movable bar (20).
4. The surveying and mapping device for indoor design according to claim 1, wherein fixing rods (23) are fixedly connected to the left and right ends of the connecting block (3), sliders (24) are slidably mounted on the fixing rods (23), screws (29) are arranged on the side walls of the sliders (24), second hinge shafts (25) are arranged at the upper ends of the sliders (24), second hinge shafts (25) are hinged to hinge rods (26), third hinge shafts (27) are arranged on the left and right side walls of the concave block (4), the tail ends of the hinge rods (26) are hinged to the third hinge shafts (27), and stoppers (28) are fixedly connected to the tail ends of the sliders (24).
5. The surveying and mapping device for indoor design according to claim 1, wherein the left and right ends of the box body (1) are fixedly connected with fixing blocks (30), the lower end of the fixing block (30) is provided with a four hinge shafts (31), and the four hinge shafts (31) are hinged with telescopic rods (32).
6. The surveying and mapping device for indoor design according to claim 1, wherein a cylinder (33) is arranged at the bottom end inside the concave block (4), a moving rod (34) is slidably mounted in the cylinder (33), a flat plate (35) is fixedly connected to the top end of the moving rod (34), a clamping groove (36) is arranged on the side wall of the moving rod (34), and a clamping column (37) matched with the clamping groove (36) is arranged on the side wall of the cylinder (33).
7. Surveying arrangement for interior design according to claim 6, characterized in that a level (38) is arranged on the surveying instrument (5).
CN202011544659.5A 2020-12-24 2020-12-24 A surveying and mapping device for interior design Expired - Fee Related CN112728310B (en)

Priority Applications (1)

Application Number Priority Date Filing Date Title
CN202011544659.5A CN112728310B (en) 2020-12-24 2020-12-24 A surveying and mapping device for interior design

Applications Claiming Priority (1)

Application Number Priority Date Filing Date Title
CN202011544659.5A CN112728310B (en) 2020-12-24 2020-12-24 A surveying and mapping device for interior design

Publications (2)

Publication Number Publication Date
CN112728310A true CN112728310A (en) 2021-04-30
CN112728310B CN112728310B (en) 2022-09-06

Family

ID=75604944

Family Applications (1)

Application Number Title Priority Date Filing Date
CN202011544659.5A Expired - Fee Related CN112728310B (en) 2020-12-24 2020-12-24 A surveying and mapping device for interior design

Country Status (1)

Country Link
CN (1) CN112728310B (en)

Cited By (4)

* Cited by examiner, † Cited by third party
Publication number Priority date Publication date Assignee Title
CN113566077A (en) * 2021-06-09 2021-10-29 王鑫辉 Reciprocating rotation structure and monitoring device for Internet of things
CN114962929A (en) * 2022-05-23 2022-08-30 北京住总集团有限责任公司 Measuring device for civil engineering
CN115046111A (en) * 2022-05-20 2022-09-13 浙江同信工程项目管理有限公司 On-spot intelligent measuring device of building engineering cost
CN117108892A (en) * 2023-10-19 2023-11-24 泰安市金土地测绘整理有限公司 Ground levelness mapping equipment for mapping engineering

Citations (11)

* Cited by examiner, † Cited by third party
Publication number Priority date Publication date Assignee Title
JP2007315435A (en) * 2006-05-23 2007-12-06 Sharp Corp Height adjusting device and projection type image display device
CN207814839U (en) * 2018-01-20 2018-09-04 东莞市思博四通实业有限公司 A height-increasing bracket for facilitating the heightening of a display
CN208138761U (en) * 2018-05-10 2018-11-23 刘尧 A kind of surveying instrument supporting frame
US20190082824A1 (en) * 2017-09-18 2019-03-21 Fellowes, Inc. Multi-positional articulating platform system
CN110956832A (en) * 2018-09-26 2020-04-03 江苏海通交通集团有限公司 Temporary emergency traffic light for road
CN210266526U (en) * 2019-04-17 2020-04-07 王杨 Multi-angle projection arrangement for visual design
CN210266565U (en) * 2019-07-29 2020-04-07 东华理工大学 A special bracket for geographic information mapping instrument
CN210623962U (en) * 2019-07-04 2020-05-26 南京洱屿文化传媒有限公司 VR is strutting arrangement for live
CN210664476U (en) * 2019-10-09 2020-06-02 中化地质矿山总局湖北地质勘查院 Geographic measurement mapping equipment convenient to remove
CN111288975A (en) * 2020-02-26 2020-06-16 淮安信息职业技术学院 An easy-to-move engineering surveying and mapping platform
CN210950618U (en) * 2019-11-29 2020-07-07 山东志宸地理信息工程有限公司 Instrument elevating gear is used in geographical mapping

Patent Citations (11)

* Cited by examiner, † Cited by third party
Publication number Priority date Publication date Assignee Title
JP2007315435A (en) * 2006-05-23 2007-12-06 Sharp Corp Height adjusting device and projection type image display device
US20190082824A1 (en) * 2017-09-18 2019-03-21 Fellowes, Inc. Multi-positional articulating platform system
CN207814839U (en) * 2018-01-20 2018-09-04 东莞市思博四通实业有限公司 A height-increasing bracket for facilitating the heightening of a display
CN208138761U (en) * 2018-05-10 2018-11-23 刘尧 A kind of surveying instrument supporting frame
CN110956832A (en) * 2018-09-26 2020-04-03 江苏海通交通集团有限公司 Temporary emergency traffic light for road
CN210266526U (en) * 2019-04-17 2020-04-07 王杨 Multi-angle projection arrangement for visual design
CN210623962U (en) * 2019-07-04 2020-05-26 南京洱屿文化传媒有限公司 VR is strutting arrangement for live
CN210266565U (en) * 2019-07-29 2020-04-07 东华理工大学 A special bracket for geographic information mapping instrument
CN210664476U (en) * 2019-10-09 2020-06-02 中化地质矿山总局湖北地质勘查院 Geographic measurement mapping equipment convenient to remove
CN210950618U (en) * 2019-11-29 2020-07-07 山东志宸地理信息工程有限公司 Instrument elevating gear is used in geographical mapping
CN111288975A (en) * 2020-02-26 2020-06-16 淮安信息职业技术学院 An easy-to-move engineering surveying and mapping platform

Cited By (6)

* Cited by examiner, † Cited by third party
Publication number Priority date Publication date Assignee Title
CN113566077A (en) * 2021-06-09 2021-10-29 王鑫辉 Reciprocating rotation structure and monitoring device for Internet of things
CN115046111A (en) * 2022-05-20 2022-09-13 浙江同信工程项目管理有限公司 On-spot intelligent measuring device of building engineering cost
CN114962929A (en) * 2022-05-23 2022-08-30 北京住总集团有限责任公司 Measuring device for civil engineering
CN114962929B (en) * 2022-05-23 2024-04-30 北京住总集团有限责任公司 Measuring device for civil engineering
CN117108892A (en) * 2023-10-19 2023-11-24 泰安市金土地测绘整理有限公司 Ground levelness mapping equipment for mapping engineering
CN117108892B (en) * 2023-10-19 2024-02-02 泰安市金土地测绘整理有限公司 Ground levelness mapping equipment for mapping engineering

Also Published As

Publication number Publication date
CN112728310B (en) 2022-09-06

Similar Documents

Publication Publication Date Title
CN112728310A (en) Surveying and mapping device for indoor design
CN208043078U (en) A kind of instrument of surveying and mapping auxiliary stand
CN209315143U (en) A new type of library reading table
CN111155654B (en) Variable hinged support capable of improving ground surface deformation adapting capability of building
CN213394381U (en) Construction machinery engineering measuring instrument with adjusting function
CN107884176B (en) A kind of automotive sunshade panel flip-flop movement durable test stand
CN208403620U (en) A kind of high-availability computer teaching outfit device
CN209310831U (en) Multifunctional data acquisition device stable in installation
CN112562542A (en) Computer software teaching show shelf
CN115355431A (en) Highway engineering construction surveyor's level
CN212273524U (en) A measuring device for garden engineering planning and design
CN211106591U (en) A kind of primary school language with dictation blackboard
CN209894180U (en) Building measuring apparatu with adjustable angle
CN209925903U (en) A suspended level for road construction
CN114279403B (en) Measuring equipment for section based on geological survey
CN216046979U (en) High school student's portable eyeshield desk lamp
CN212963330U (en) Slope gradient measuring scale
CN221075784U (en) Mounting structure of sensing data display
CN211621531U (en) Foundation level measuring device
CN217090175U (en) Ground sample display device
CN209100924U (en) A kind of civil engineering measuring instrument support device of adjustable holder height
CN218034801U (en) Pile hole aperture detection equipment
CN210774051U (en) Level gauge support of quick height-adjusting
CN216144285U (en) Rotation angle adjusting device for servo mechanism
CN217928093U (en) Distancer auxiliary stand is used in environmental impact evaluation

Legal Events

Date Code Title Description
PB01 Publication
PB01 Publication
SE01 Entry into force of request for substantive examination
SE01 Entry into force of request for substantive examination
GR01 Patent grant
GR01 Patent grant
CF01 Termination of patent right due to non-payment of annual fee

Granted publication date: 20220906

CF01 Termination of patent right due to non-payment of annual fee