CN112681718B - A novel pre-buried expansion bolts even wall spare for fixing overhanging type scaffold - Google Patents
A novel pre-buried expansion bolts even wall spare for fixing overhanging type scaffold Download PDFInfo
- Publication number
- CN112681718B CN112681718B CN202110037553.4A CN202110037553A CN112681718B CN 112681718 B CN112681718 B CN 112681718B CN 202110037553 A CN202110037553 A CN 202110037553A CN 112681718 B CN112681718 B CN 112681718B
- Authority
- CN
- China
- Prior art keywords
- expansion
- steel plate
- wall
- screw
- nut
- Prior art date
- Legal status (The legal status is an assumption and is not a legal conclusion. Google has not performed a legal analysis and makes no representation as to the accuracy of the status listed.)
- Active
Links
- 229910000831 Steel Inorganic materials 0.000 claims abstract description 65
- 239000010959 steel Substances 0.000 claims abstract description 65
- 230000008439 repair process Effects 0.000 abstract description 3
- 238000010276 construction Methods 0.000 description 8
- 238000000034 method Methods 0.000 description 5
- 230000009471 action Effects 0.000 description 3
- 230000008569 process Effects 0.000 description 3
- 238000009435 building construction Methods 0.000 description 2
- 238000010586 diagram Methods 0.000 description 2
- 230000004075 alteration Effects 0.000 description 1
- 230000009286 beneficial effect Effects 0.000 description 1
- 230000007547 defect Effects 0.000 description 1
- 238000009434 installation Methods 0.000 description 1
- 238000010030 laminating Methods 0.000 description 1
- 230000004048 modification Effects 0.000 description 1
- 238000012986 modification Methods 0.000 description 1
- 238000000926 separation method Methods 0.000 description 1
- 238000006467 substitution reaction Methods 0.000 description 1
Images
Landscapes
- Bridges Or Land Bridges (AREA)
- Ladders (AREA)
Abstract
A novel embedded expansion bolt wall connecting piece for fixing an overhanging scaffold comprises a steel plate and a pad foot, wherein a vertical bubble column is embedded in the front surface of the steel plate and fixedly connected with the steel plate, a steel pipe is fixedly welded at the center position of the right side of the steel plate, second round holes are formed in the steel plate close to four corners, a screw penetrates through each second round hole and is connected with the second round holes in a sliding manner, and a handle is fixedly connected to the right end of each screw; modified even wall spare earlier is pre-buried in the wall the inside with the expansion nut, adopts pre-buried expansion bolts's the fixed mode of connection, and the later stage is direct runs through the steel sheet with the expansion screw and fills up in the foot to install the expansion screw in the expansion nut, not only the wide and later stage of application repair work load is little, and the engineering quality of fixed point department has also very big guarantee, and the later stage does not have the seepage hidden danger.
Description
Technical Field
The invention belongs to the technical field of construction engineering construction, and particularly relates to a novel embedded expansion bolt wall connecting piece for fixing an overhanging scaffold.
Background
Building engineering is to building construction and affiliated facilities's construction, and in the building construction process, the indispensable expansion bolts that need of construction staff are even the wall spare, and even the wall spare can support scaffold, and at present, the fixed mode of connection that attaches the wall end generally has following several kinds: (1) the pull rod penetrates through the wall body and is fixed on two sides of the wall body, the pull rod needs to be cut off in the later stage of the connection and fixing mode, the later-stage repairing workload is extremely large, and leakage hidden dangers are easily formed at the pre-buried part of the pull rod; (2) the pull rod passes through the door and window entrance to a cave, and it is fixed with horizontal pole centre gripping and back wedge in the wall both sides, but most of engineering all is that the support body sets up and pours the wall post after accomplishing again, so this kind of fixed mode limitation is very big, can only be applicable to few engineering, in addition, has bellied position at the concrete wall, leads to steel sheet and expansion bolts to connect not fastening very easily, though the later stage can be picked out partial unevenness concrete face and chiseled the repair and leveled, but can cost certain expense more.
Aiming at the defects, a novel embedded expansion bolt wall connecting piece for fixing the overhanging scaffold is to be improved.
Disclosure of Invention
The invention aims to provide a novel embedded expansion bolt wall connecting piece for fixing an overhanging scaffold, and the novel embedded expansion bolt wall connecting piece is used for solving the technical problems that after a traditional outer frame is disassembled, the repairing cost is high after connecting fixing points of wall attaching ends of the existing wall connecting piece are disassembled, and the leakage hidden danger is easily caused in the later period.
In order to achieve the purpose, the invention adopts the following technical scheme.
A novel embedded expansion bolt wall connecting piece for fixing a cantilever type scaffold comprises a steel plate and pad feet, wherein a vertical bubble column is embedded in the front surface of the steel plate and fixedly connected with the steel plate, a steel pipe is fixedly welded at the right central position of the steel plate, second round holes are formed in the inner part of the steel plate close to four corners, a screw penetrates through each second round hole and is slidably connected with the second round holes, a handle is fixedly connected with the right end of the screw, a nut is connected with the outer side wall of the screw in a threaded manner, the right side of the nut is in contact with the left side of the steel plate, the pad feet are fixedly connected with the left side of the screw, a third round hole is formed in the pad feet, a first round hole is formed in one side of the inner part of the steel plate close to the second round hole, and an expansion screw is inserted in the first round hole and the third round hole, the left side of inflation screw rod is equipped with the wall, the right side of wall is pre-buried has the inflation nut, the left end of inflation screw rod runs through to the inside wall of inflation nut, the inflation screw rod with the connection can be dismantled to the inflation nut.
Preferably, a scaffold is arranged behind the steel pipe, and the scaffold is detachably connected with the steel pipe through a fastener.
Preferably, the number of the foot pads is four, four the foot pads are distributed on the left side of the steel plate, the foot pads are in contact with the right side of the wall surface.
Preferably, the circle center of the first circular hole coincides with the circle center of the third circular hole.
Preferably, the steel pipe has a specification of a48 × 3.6, and the expansion nut and the expansion screw constitute an expansion bolt.
Compared with the prior art, the invention has the following characteristics and beneficial effects.
1. According to the invention, by arranging the expansion screw, the expansion nut, the steel plate, the steel pipe and other structural elements and the improved wall connecting piece, the expansion nut is embedded in the wall surface, the connection and fixing mode of the embedded expansion bolt is adopted, the expansion screw directly penetrates through the steel plate and the pad in the later period, and the expansion screw is installed in the expansion nut, so that the application range is wide, the later-period repairing workload is small, the engineering quality at a fixed point is greatly guaranteed, and no leakage hidden danger exists in the later period.
2. According to the invention, through arranging the structure elements such as the pad feet, the screw rod, the nut, the handle, the vertical bubble column and the like, wherein the screw rod penetrates through the second round hole in the steel plate, the nut is arranged on the outer wall of the screw rod, when the improved wall connecting piece is used for leveling a wall surface, the left side of the nut is contacted with the right side of the steel plate, and then the expansion nut penetrates through the steel plate and the pad feet for use.
Drawings
The present invention will be described in further detail with reference to the accompanying drawings.
FIG. 1 is a schematic structural diagram of the present invention.
Fig. 2 is an enlarged structural schematic view of the wall connecting member of the present invention.
FIG. 3 is a right-view external structural diagram of FIG. 2 according to the present invention.
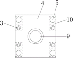
Reference numerals: 1-wall surface, 3-expansion screw rod, 4-steel plate, 5-handle, 6-vertical bubble column, 7-scaffold, 8-fastener, 9-steel pipe, 10-pad, 11-first round hole, 12-second round hole, 13-nut, 14-screw rod, 15-expansion nut and 16-third round hole.
Detailed Description
As shown in fig. 1-3, the present invention provides a technical solution: a novel embedded expansion bolt wall connecting piece for fixing a cantilever type scaffold comprises a steel plate 4 and pad feet 10, wherein a vertical bubble column 6 is embedded in the front surface of the steel plate 4, the vertical bubble column 6 is fixedly connected with the steel plate 4, a steel pipe 9 is fixedly welded at the right side center position of the steel plate 4, second round holes 12 are formed in the steel plate 4 close to four corners, a screw 14 penetrates through each second round hole 12, the screw 14 is in sliding connection with the second round holes 12, a handle 5 is fixedly connected to the right end of the screw 14, a nut 13 is in threaded connection with the outer side wall of the screw 14, the right side of the nut 13 is in contact with the left side of the steel plate 4, the pad feet 10 are fixedly connected to the left end of the screw 14, a third round hole 16 is formed in the pad feet 10, a first round hole 11 is formed in one side of the inner part of the steel plate 4 close to the second round hole 12, and expansion screws 3 are inserted in the first round hole 11 and the third round hole 16, expansion screw 3's left side is equipped with wall 1, the pre-buried expansion nut 15 that has in wall 1's right side, expansion screw 3's left end runs through to expansion nut 15's inside wall, expansion screw 3 can dismantle with expansion nut 15 and be connected, expansion screw 3 installs in expansion nut 15, both connections are firm, in follow-up when needing to dismantle the use tool alright in order to dismantle the separation, follow-up repair work volume to wall 1 is little, pre-buried expansion nut 15, even wall spare attaches the engineering quality of wall department and obtains guaranteeing, construction worker will fill up foot 10 and laminate on wall 1, the staff can observe vertical bubble post 6, can judge whether the side of steel sheet 4 inclines, in case find the slope, the staff can adjust nut 13, be in the vertical face with the side of steel sheet 4.
In this embodiment, the rear of steel pipe 9 is equipped with scaffold 7, and scaffold 7 can be dismantled with steel pipe 9 through fastener 8 and be connected, and fastener 8 is the part that building trade used often, can link together steel pipe 9 and scaffold 7, and follow-up can be dismantled.
In this embodiment, the quantity of the foot 10 of filling up is totally four, four foot 10 of filling up distribute in the left side of steel sheet 4, the right side of foot 10 of filling up and wall 1 contacts, foot 10 of filling up is flat cuboid shape, when even wall spare uses, foot 10 of filling up and wall 1 contact, compare in the component of tradition and wall 1 contact, the area of modified foot 10 of filling up and wall 1 contact is little, it leaves the space to fill up between foot 10 and the steel sheet 4, run into protruding wall 1 in middle part still can normal use sometimes, and, the improved is even wall spare stability is good.
In this embodiment, the circle center of the first circular hole 11 coincides with the circle center of the third circular hole 16, and the circle centers of the first circular hole and the third circular hole coincide with each other, so that the expansion screw 3 can be conveniently inserted into the steel plate 4 and the foot pad 10 by a worker.
In this embodiment, the specification of steel pipe 9 is A48 x 3.6, and expansion nut 15 constitutes expansion bolts with expansion screw 3, and pre-buried expansion nut 15 can avoid the follow-up damage to wall 1 in wall 1 to pre-buried fixed mode, the later stage does not have the seepage hidden danger.
In conclusion, the work flow of the invention is as follows: when the construction, it is pre-buried in wall 1 with expansion nut 15, at the later stage, construction worker will fill up foot 10 laminating on wall 1, at this moment, judge whether the steel sheet 4 side of this moment is vertical through vertical bubble post 6, when the vertical nothing slope of steel sheet 4, construction worker directly runs through steel sheet 4 and fills up foot 10 with expansion screw 3, and install expansion screw 3 in expansion nut 15 alright, when the staff judges the slope of steel sheet 4, the staff rotates nut 13, because steel sheet 4 when the installation, need contact with nut 13, position through proper adjusting nut 13, can be with steel sheet 4 on the plane, even there is the unevenness phenomenon in wall 1, still can use even wall spare, application scope is wide, connect firmly.
It is noted that, herein, relational terms such as first and second, and the like may be used solely to distinguish one entity or action from another entity or action without necessarily requiring or implying any actual such relationship or order between such entities or actions. Also, the terms "comprises," "comprising," or any other variation thereof, are intended to cover a non-exclusive inclusion, such that a process, method, article, or apparatus that comprises a list of elements does not include only those elements but may include other elements not expressly listed or inherent to such process, method, article, or apparatus.
Although embodiments of the present invention have been shown and described, it will be appreciated by those skilled in the art that changes, modifications, substitutions and alterations can be made in these embodiments without departing from the principles and spirit of the invention, the scope of which is defined in the appended claims and their equivalents.
Claims (4)
1. The utility model provides a novel pre-buried expansion bolts even wall spare for fixing overhanging type scaffold, includes steel sheet (4) and pad foot (10), its characterized in that: the steel plate is characterized in that a vertical bubble column (6) is embedded in the front surface of the steel plate (4), the vertical bubble column (6) is fixedly connected with the steel plate (4), a steel pipe (9) is fixedly welded at the center of the right side of the steel plate (4), second round holes (12) are formed in the steel plate (4) close to four corners, a screw rod (14) penetrates through the inside of each second round hole (12), the screw rod (14) is in sliding connection with the second round holes (12), a handle (5) is fixedly connected to the right end of the screw rod (14), a nut (13) is in threaded connection with the outer side wall of the screw rod (14), the right side of the nut (13) is in contact with the left side of the steel plate (4), the left end of the screw rod (14) is fixedly connected with the pad foot (10), and a space is reserved between the pad foot (10) and the steel plate (4); a third round hole (16) is formed in the pad foot (10), a first round hole (11) is formed in one side, close to the second round hole (12), of the inner portion of the steel plate (4), an expansion screw (3) is inserted into the first round hole (11) and the third round hole (16), a wall surface (1) is arranged on the left side of the expansion screw (3), an expansion nut (15) is embedded into the right side of the wall surface (1), the left end of the expansion screw (3) penetrates through the inner side wall of the expansion nut (15), and the expansion screw (3) is detachably connected with the expansion nut (15); the circle center of the first round hole (11) is superposed with the circle center of the third round hole (16).
2. The novel embedded expansion bolt wall connecting piece for fixing the overhanging scaffold according to claim 1, characterized in that: scaffold (7) are arranged behind the steel pipes (9), and the scaffold (7) is detachably connected with the steel pipes (9) through fasteners (8).
3. The novel embedded expansion bolt wall connecting piece for fixing the overhanging scaffold according to claim 1, characterized in that: the quantity of the foot pads (10) is four, four the foot pads (10) distribute in the left side of steel sheet (4), foot pads (10) with the right side of wall (1) contacts.
4. The novel embedded expansion bolt wall connecting piece for fixing the overhanging scaffold according to claim 1, characterized in that: the specification of the steel pipe (9) is A48 multiplied by 3.6, and the expansion nut (15) and the expansion screw (3) form an expansion bolt.
Priority Applications (1)
| Application Number | Priority Date | Filing Date | Title |
|---|---|---|---|
| CN202110037553.4A CN112681718B (en) | 2021-01-12 | 2021-01-12 | A novel pre-buried expansion bolts even wall spare for fixing overhanging type scaffold |
Applications Claiming Priority (1)
| Application Number | Priority Date | Filing Date | Title |
|---|---|---|---|
| CN202110037553.4A CN112681718B (en) | 2021-01-12 | 2021-01-12 | A novel pre-buried expansion bolts even wall spare for fixing overhanging type scaffold |
Publications (2)
| Publication Number | Publication Date |
|---|---|
| CN112681718A CN112681718A (en) | 2021-04-20 |
| CN112681718B true CN112681718B (en) | 2022-07-12 |
Family
ID=75457586
Family Applications (1)
| Application Number | Title | Priority Date | Filing Date |
|---|---|---|---|
| CN202110037553.4A Active CN112681718B (en) | 2021-01-12 | 2021-01-12 | A novel pre-buried expansion bolts even wall spare for fixing overhanging type scaffold |
Country Status (1)
| Country | Link |
|---|---|
| CN (1) | CN112681718B (en) |
Families Citing this family (1)
| Publication number | Priority date | Publication date | Assignee | Title |
|---|---|---|---|---|
| CN117758993A (en) * | 2023-12-26 | 2024-03-26 | 中国建筑第四工程局有限公司 | A new type of scaffolding rear-mounted wall-connecting device |
Family Cites Families (4)
| Publication number | Priority date | Publication date | Assignee | Title |
|---|---|---|---|---|
| US6237233B1 (en) * | 1999-10-13 | 2001-05-29 | Robert J. Cloutier | Door frame adjustment apparatus |
| CN203961252U (en) * | 2014-06-06 | 2014-11-26 | 中国十七冶集团有限公司 | The regularization rigid connecting tube device of scaffold |
| CN204001665U (en) * | 2014-07-11 | 2014-12-10 | 中国建筑第六工程局有限公司 | A kind of scaffold assembling wall-connecting piece |
| CN210918297U (en) * | 2019-10-11 | 2020-07-03 | 中建二局第二建筑工程有限公司 | Auxiliary device for positioning embedded bolt |
-
2021
- 2021-01-12 CN CN202110037553.4A patent/CN112681718B/en active Active
Also Published As
| Publication number | Publication date |
|---|---|
| CN112681718A (en) | 2021-04-20 |
Similar Documents
| Publication | Publication Date | Title |
|---|---|---|
| CN209779689U (en) | Pipe gallery construction aluminum mould board integral type inner support device | |
| CN112681718B (en) | A novel pre-buried expansion bolts even wall spare for fixing overhanging type scaffold | |
| CN204627001U (en) | PC structure floor assembled prefabricated post diagonal brace support system | |
| CN210289062U (en) | Adjustable cushion block for climbing frame | |
| CN211143430U (en) | Externally-hung wallboard connecting structure | |
| CN209129226U (en) | A kind of novel corner fastener structure | |
| CN207646965U (en) | A kind of secondary connector for construction installation and construction installation structure | |
| CN217027640U (en) | U type stone material decorative column pendant system | |
| CN216340826U (en) | Novel beam side pre-embedded type outer frame wall connecting piece | |
| CN215055325U (en) | Steel construction truss plate is short to be chosen board outward and is exempted from formwork device | |
| CN203846655U (en) | Short-cantilever dry-hanging device of stone curtain wall | |
| CN210013444U (en) | Closed Cantilever Scaffolding System | |
| CN210658869U (en) | Frame column connection system | |
| CN108729678A (en) | A kind of connection structure and method hung, pacify integrated detachable steel framed building wall | |
| CN211173109U (en) | Lifting lattice flat frame adjustable free end supporting template early-dismantling system | |
| CN219753902U (en) | Bury anchor instrument formula frame of encorbelmenting | |
| CN210177742U (en) | Wallboard angle sign indicating number structure based on assembled ecological bathroom | |
| CN209837654U (en) | Connecting structure of diagonal outer frame type scaffold | |
| CN220058310U (en) | Assembled steel structure frame | |
| CN207892179U (en) | A kind of cladding steel construction of stull no-welding | |
| CN206570881U (en) | Basin fixing device under a kind of platform | |
| CN214834661U (en) | Detachable building wall connecting component | |
| CN221972986U (en) | A movable socket-type connection plate | |
| CN204947971U (en) | modular photovoltaic bracket | |
| CN218522019U (en) | A prefabricated curtain wall component with various shapes |
Legal Events
| Date | Code | Title | Description |
|---|---|---|---|
| PB01 | Publication | ||
| PB01 | Publication | ||
| SE01 | Entry into force of request for substantive examination | ||
| SE01 | Entry into force of request for substantive examination | ||
| GR01 | Patent grant | ||
| GR01 | Patent grant |