CN112467626B - Cable construction tightening device for high-voltage power grid - Google Patents

Cable construction tightening device for high-voltage power grid Download PDF

Info

Publication number
CN112467626B
CN112467626B CN202011297462.6A CN202011297462A CN112467626B CN 112467626 B CN112467626 B CN 112467626B CN 202011297462 A CN202011297462 A CN 202011297462A CN 112467626 B CN112467626 B CN 112467626B
Authority
CN
China
Prior art keywords
rods
fixedly connected
blocks
support plate
cable
Prior art date
Legal status (The legal status is an assumption and is not a legal conclusion. Google has not performed a legal analysis and makes no representation as to the accuracy of the status listed.)
Active
Application number
CN202011297462.6A
Other languages
Chinese (zh)
Other versions
CN112467626A (en
Inventor
陈志杰
刘艺汇
员楠
张伟贺
尤东海
毋晓辉
陈葆杰
张一弓
刘昕钰
韩淑敏
张玉朋
Current Assignee (The listed assignees may be inaccurate. Google has not performed a legal analysis and makes no representation or warranty as to the accuracy of the list.)
Sanmenxia Power Supply Co of State Grid Henan Electric Power Co Ltd
Original Assignee
Sanmenxia Power Supply Co of State Grid Henan Electric Power Co Ltd
Priority date (The priority date is an assumption and is not a legal conclusion. Google has not performed a legal analysis and makes no representation as to the accuracy of the date listed.)
Filing date
Publication date
Application filed by Sanmenxia Power Supply Co of State Grid Henan Electric Power Co Ltd filed Critical Sanmenxia Power Supply Co of State Grid Henan Electric Power Co Ltd
Priority to CN202011297462.6A priority Critical patent/CN112467626B/en
Publication of CN112467626A publication Critical patent/CN112467626A/en
Application granted granted Critical
Publication of CN112467626B publication Critical patent/CN112467626B/en
Active legal-status Critical Current
Anticipated expiration legal-status Critical

Links

Images

Classifications

    • HELECTRICITY
    • H02GENERATION; CONVERSION OR DISTRIBUTION OF ELECTRIC POWER
    • H02GINSTALLATION OF ELECTRIC CABLES OR LINES, OR OF COMBINED OPTICAL AND ELECTRIC CABLES OR LINES
    • H02G1/00Methods or apparatus specially adapted for installing, maintaining, repairing or dismantling electric cables or lines
    • H02G1/02Methods or apparatus specially adapted for installing, maintaining, repairing or dismantling electric cables or lines for overhead lines or cables
    • H02G1/04Methods or apparatus specially adapted for installing, maintaining, repairing or dismantling electric cables or lines for overhead lines or cables for mounting or stretching

Landscapes

  • Manipulator (AREA)

Abstract

本发明公开了一种高压电网用线缆施工紧线装置,包括底座,所述底座的上端左右两侧固定连接有第一支撑板,左侧所述第一支撑板与第二支撑板互相靠近的一侧转动连接有两对夹紧杆,两对所述夹紧杆之间均固定连接有线缆线圈,两个所述线缆线圈均缠绕有线缆,左侧所述第一支撑板与第二支撑板之间转动连接有两个位于两个所述线缆线圈后侧的螺纹杆。本发明整个装置结构简单,操作方便,可以同时对两根线缆紧线,也可以对一根线缆紧线,且可以对不同粗细的线缆进行紧线,大大提高了紧线装置的实用性,值得推广使用。

Figure 202011297462

The invention discloses a cable tightening device for high-voltage power grids, comprising a base, a first support plate is fixedly connected to the left and right sides of the upper end of the base, and the first support plate and the second support plate on the left side are close to each other Two pairs of clamping rods are rotatably connected to one side of the two pairs of clamping rods, and cable coils are fixedly connected between the two pairs of said clamping rods. Two threaded rods located on the rear side of the two cable coils are rotatably connected with the second support plate. The whole device of the invention has simple structure and convenient operation, can tighten two cables at the same time, or can tighten one cable, and can tighten cables with different thicknesses, which greatly improves the practicality of the tightening device. Sex, it is worth promoting and using.

Figure 202011297462

Description

Cable construction tightening device for high-voltage power grid
Technical Field
The invention relates to the technical field of cable tightening devices, in particular to a cable construction tightening device for a high-voltage power grid.
Background
The electric wire and the cable can be used for transmitting electric energy and information and realizing a wire product for converting electromagnetic energy, and a wire tightening device is required to be used for tightening the electric wire and the cable in the installation process of the cable; the existing cable construction device for the high-voltage power grid is small in application range of the actual outer diameter of a cable in the using process, only one cable can be tightened at a time, the practicability is poor, and in view of the defects, the cable construction tightening device for the high-voltage power grid is provided.
Disclosure of Invention
Object of the invention
In order to solve the technical problems in the background art, the invention provides a cable construction tightening device for a high-voltage power grid.
(II) technical scheme
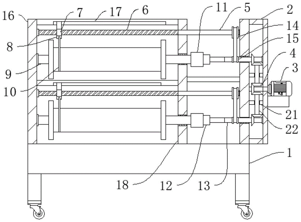
The invention provides a cable construction tightening device for a high-voltage power grid, which comprises a base, wherein the left side and the right side of the upper end of the base are fixedly connected with first supporting plates, the upper end of the base is fixedly connected with a second supporting plate positioned between the two first supporting plates, one side, close to each other, of the first supporting plate and the second supporting plate on the left side is rotatably connected with two pairs of clamping rods, cable coils are fixedly connected between the two pairs of clamping rods, cables are wound on the two cable coils, two threaded rods positioned at the rear sides of the two cable coils are rotatably connected between the first supporting plate and the second supporting plate on the left side, moving blocks are screwed on the outer circumferential surfaces of the two threaded rods, the lower ends of the two moving blocks are fixedly connected with lead blocks, through holes are formed in the front surfaces of the two lead blocks, and the two cables respectively penetrate through the two through holes, two second rotating rods are rotatably connected between the second supporting plate and the right first supporting plate, the left ends of the two second rotating rods penetrate through the left surface of the second supporting plate and are fixedly connected with the right ends of the two threaded rods respectively, the right ends of the two right clamping rods penetrate through the left surface of the second supporting plate and are fixedly connected with connecting blocks respectively, the right sides of the two connecting blocks are rotatably connected with square connecting rods, sliding blocks are sleeved on the outer sides of the two square connecting rods in a sliding manner, square sleeve blocks are fixedly sleeved on the outer sides of the two sliding blocks, and the two square sleeve blocks are inserted into the left sides of the two connecting blocks;
the right ends of the two square connecting rods are fixedly connected with third rotating rods, the right ends of the two third rotating rods penetrate through the right side of the left surface of the first supporting plate and are fixedly sleeved with second driven bevel gears, the right side of the left surface of the first supporting plate is fixedly connected with a supporting frame, the right surface of the supporting frame is fixedly provided with a driving motor, an output shaft of the driving motor penetrates through the right surface of the supporting frame and is fixedly connected with the rotating rods, the right ends of the rotating rods are rotatably connected with the right surface of the first supporting plate, the outer circumferential surface of the rotating rods is fixedly sleeved with a first driving bevel gear, two supporting blocks are fixedly connected between the supporting frame and the first supporting plate on the right side, vertically arranged transmission rods are rotatably connected in the two supporting blocks, and the first driven bevel gears are fixedly sleeved at the ends, close to each other, of the two transmission rods, the first driving bevel gears are in meshed transmission with the two first driven bevel gears, the ends, far away from each other, of the two transmission rods are fixedly sleeved with second driving bevel gears, and the two second driving bevel gears are in meshed transmission with the two second driven bevel gears respectively.
Preferably, two the right-hand member of third dwang all is connected with the left surface rotation of support frame, the right side first backup pad is embedded to be equipped with two first bearings, two the third dwang respectively with two the inner circle fixed connection of first bearing.
Preferably, two the driven pulley, two have all been fixed to have cup jointed to the right-hand member of second dwang the right-hand member of third dwang all is fixed to have cup jointed driving pulley, two driving pulley and two connect through belt drive respectively between the driven pulley.
Preferably, two guide plates are fixedly connected between the second support plate and the left first support plate, the two guide plates are respectively located above the two threaded rods, sliding grooves are formed in the lower ends of the two guide plates, guide blocks are connected in the two sliding grooves in a sliding mode, and the upper ends of the two moving blocks are respectively fixedly connected with the two guide blocks.
Preferably, the middle part of the right end of each connecting block is provided with a round hole, the left end of each square connecting rod is rotatably connected in the two round holes respectively, the right end of each connecting block is provided with a square groove which is positioned beside the round hole and close to one end of the outer side, and the two square sleeve blocks are matched with the two square grooves respectively. Preferably, a second bearing is fixedly embedded in each of the two support blocks, and the two transmission rods are respectively and fixedly connected with inner rings of the two second bearings.
Preferably, the second supporting plate and the right side are fixedly connected with two between the first supporting plate and are located two the limiting plates, two, in the square nest block rear the equal fixedly connected with gag lever post in rear end of square nest block, two the front surface of limiting plate all seted up two with gag lever post assorted spacing hole, two gag lever posts insert one of them spacing downthehole.
Preferably, the equal fixedly connected with supporting leg, four of lower extreme four corners department of base the equal fixedly connected with locking universal wheel of lower extreme of supporting leg.
Compared with the prior art, the invention has the beneficial effects that:
by turning on the driving motor, an output shaft of the driving motor rotates to drive the two third rotating rods to rotate, the two third rotating rods rotate to drive the two square connecting rods to rotate, the two square connecting rods rotate to drive the two pairs of clamping rods to rotate, the two pairs of clamping rods rotate to drive the cable coil to rotate to take up and tighten the cable, the two third rotating rods rotate to drive the two driving belt pulleys to rotate, the two driving belt pulleys rotate to drive the two threaded rods to rotate, the two threaded rods rotate to drive the moving block to slowly move rightwards while taking up the cable coil, and the cable coil is more uniformly taken up; if only one cable needs to be tightened, one limiting rod is moved out of the limiting hole on the left side, the square sleeve block is driven to move rightwards, and then the limiting rod is inserted into the limiting hole on the right side, so that the tightening of one cable is realized; whole device simple structure, convenient operation can be simultaneously to two cable tights, also can be to a cable tights, and can carry out the tights to the cable of different thicknesses, has improved the practicality of tights greatly, is worth using widely.
Drawings
Fig. 1 is a front sectional view of a cable construction tightening device for a high-voltage power grid according to the present invention;
fig. 2 is a top view of a square sleeve block and a limiting plate in the cable tightening device for high-voltage power grid cable construction according to the present invention;
fig. 3 is a left side view of two threaded rods in the cable construction tightening device for the high-voltage power grid according to the invention;
fig. 4 is a left side view of a connection block in the cable construction tightening device for the high-voltage power grid according to the present invention.
In the figure: the device comprises a base 1, a support frame 2, a driving motor 3, a rotating rod 4, a second rotating rod 5, a threaded rod 6, a moving block 7, a lead block 8, a clamping rod 9, a cable 10, a connecting block 11, a square sleeve block 12, a third rotating rod 13, a driven belt pulley 14, a driving belt pulley 15, a first support plate 16, a guide plate 17, a second support plate 18, a limiting plate 19, a limiting rod 20, a support block 21 and a transmission rod 22.
Detailed Description
The technical solutions in the embodiments of the present invention will be clearly and completely described below with reference to the drawings in the embodiments of the present invention, and it is obvious that the described embodiments are only a part of the embodiments of the present invention, and not all of the embodiments.
As shown in figures 1-4, the cable construction stringing device for the high-voltage power grid comprises a base 1, wherein the left side and the right side of the upper end of the base 1 are fixedly connected with first supporting plates 16, the upper end of the base 1 is fixedly connected with a second supporting plate 18 positioned between the two first supporting plates 16, one side, close to each other, of the first supporting plate 16 and the second supporting plate 18 on the left side is rotatably connected with two pairs of clamping rods 9, cable coils are fixedly connected between the two pairs of clamping rods 9, the two cable coils are wound with cables 10, two threaded rods 6 positioned at the rear sides of the two cable coils are rotatably connected between the first supporting plate 16 and the second supporting plate 18 on the left side, moving blocks 7 are screwed on the outer circumferential surfaces of the two threaded rods 6, lead blocks 8 are fixedly connected at the lower ends of the two moving blocks 7, through holes are formed in the front surfaces of the two lead blocks 8, and the inner diameters of the two through holes are larger than the outer diameter of the cables, therefore, cables with different thicknesses can be tightened, the two cables 10 penetrate through the two through holes respectively, the two second rotating rods 5 are rotatably connected between the second supporting plate 18 and the right first supporting plate 16, the left ends of the two second rotating rods 5 penetrate through the left surface of the second supporting plate 18 and are fixedly connected with the right ends of the two threaded rods 6 respectively, the right ends of the two clamping rods 9 on the right side penetrate through the left surface of the second supporting plate 18 and are fixedly connected with connecting blocks 11 respectively, the right sides of the two connecting blocks 11 are rotatably connected with square connecting rods respectively, sliding blocks are sleeved on the outer sides of the two square connecting rods in a sliding manner, square sleeve blocks 12 are fixedly sleeved on the outer sides of the two sliding blocks, and the two square sleeve blocks 12 are inserted into the left sides of the two connecting blocks 11 respectively;
the right ends of the two square connecting rods are fixedly connected with third rotating rods 13, the right ends of the two third rotating rods 13 penetrate through the left surface of a right first supporting plate 16 and are fixedly sleeved with second driven bevel gears, the left surface of the right first supporting plate 16 is fixedly connected with a supporting frame 2, the right surface of the supporting frame 2 is fixedly provided with a driving motor 3, an output shaft of the driving motor 3 penetrates through the right surface of the supporting frame 2 and is fixedly connected with a rotating rod 4, the right end of the rotating rod 4 is rotatably connected with the right surface of the right first supporting plate 16, the outer circumferential surface of the rotating rod 4 is fixedly sleeved with a first driving bevel gear, two supporting blocks 21 are fixedly connected between the supporting frame 2 and the right first supporting plate 16, vertically arranged driving rods 22 are rotatably connected in the two supporting blocks 21, and one ends of the two driving rods 22, which are close to each other, are fixedly sleeved with the first driven bevel gears, the first driving bevel gear is in meshing transmission with the two first driven bevel gears, the ends, far away from each other, of the two transmission rods 22 are fixedly sleeved with the second driving bevel gears, and the two second driving bevel gears are in meshing transmission with the two second driven bevel gears respectively.
In an alternative embodiment, the right ends of the two third rotating rods 13 are both rotatably connected with the left surface of the supporting frame 2, two first bearings are embedded in the right first supporting plate 16, and the two third rotating rods 13 are respectively fixedly connected with the inner rings of the two first bearings.
It should be noted that the two first bearings respectively support the two third rotating levers 13.
In an alternative embodiment, the right ends of the two second rotating rods 5 are fixedly sleeved with driven pulleys 14, the right ends of the two third rotating rods 13 are fixedly sleeved with driving pulleys 15, and the two driving pulleys 15 are respectively in transmission connection with the two driven pulleys 14 through belts.
In an alternative embodiment, two guide plates 17 are fixedly connected between the second support plate 18 and the left first support plate 16, the two guide plates 17 are respectively located above the two threaded rods 6, sliding grooves are formed in the lower ends of the two guide plates 17, guide blocks are slidably connected in the two sliding grooves, and the upper ends of the two moving blocks 7 are respectively fixedly connected with the two guide blocks.
It should be noted that the two guide blocks respectively guide the two moving blocks 7.
In an optional embodiment, the round holes are formed in the middle of the right ends of the two connecting blocks 11, the left ends of the two square connecting rods are rotatably connected in the two round holes respectively, the right ends of the two connecting blocks 11 are provided with square grooves which are located beside the round holes and close to one ends of the outer sides, and the two square sleeve blocks 12 are matched with the two square grooves respectively.
In an alternative embodiment, a second bearing is fixedly embedded in each of the two support blocks 21, and the two transmission rods 22 are fixedly connected with the inner rings of the two second bearings respectively.
It should be noted that the two second bearings respectively support the two transmission rods 22.
In an alternative embodiment, two limiting plates 19 located behind the two square sleeve blocks 12 are fixedly connected between the second supporting plate 18 and the right first supporting plate 16, two limiting rods 20 are fixedly connected to the rear ends of the two square sleeve blocks 12, two limiting holes matched with the limiting rods 20 are formed in the front surfaces of the two limiting plates 19, and the two limiting rods 20 are inserted into one of the limiting holes.
In an optional embodiment, the lower end of the base 1 is fixedly connected with supporting legs at four corners, and the lower ends of the four supporting legs are fixedly connected with locking universal wheels.
The working principle is as follows: by turning on the driving motor 3, the rotation of the output shaft of the driving motor 3 drives the rotation rods 4 to rotate, the rotation rods 4 drive the first driving bevel gears to rotate, the first driving bevel gears drive the two first driven bevel gears to rotate, the two first driven bevel gears drive the two transmission rods 22 to rotate, the two transmission rods 22 drive the two second driving bevel gears to rotate, the two second driving bevel gears drive the two second driven bevel gears to rotate, the two second driven bevel gears drive the two third rotation rods 13 to rotate, the two third rotation rods 13 drive the two square connecting rods to rotate, the two square connecting rods drive the two square sleeve blocks 12 to rotate, the two square sleeve blocks 12 drive the two connecting blocks 11 to rotate, the two connecting blocks 11 drive the two pairs of clamping rods 9 to rotate, and the two pairs of clamping rods 9 rotate the cable coils to take up the cable, the two third rotating rods 13 also drive the two driving belt pulleys 15 to rotate, the two driving belt pulleys 15 drive the two driven belt pulleys 14 to rotate through belt transmission, the two driven belt pulleys 14 drive the two second rotating rods 5 to rotate, the two second rotating rods 5 drive the two threaded rods 6 to rotate, and the two threaded rods 6 drive the moving block 7 to slowly move rightwards while taking up wires, so that the wire coil taking up wires are more uniform; if only need carry out the tightwire to a cable, shift out one of them gag lever post 20 and drive square nest block 12 and remove right in the spacing hole of left side, then insert gag lever post 20 in the spacing hole on right side to the realization is carried out the tightwire to a cable.
In the description of the present invention, it is to be understood that the terms "center", "longitudinal", "lateral", "length", "width", "thickness", "upper", "lower", "front", "rear", "left", "right", "vertical", "horizontal", "top", "bottom", "inner", "outer", "clockwise", "counterclockwise", and the like, indicate orientations and positional relationships based on those shown in the drawings, and are used only for convenience of description and simplicity of description, and do not indicate or imply that the equipment or element being referred to must have a particular orientation, be constructed and operated in a particular orientation, and thus, should not be considered as limiting the present invention.
Furthermore, the terms "first", "second" and "first" are used for descriptive purposes only and are not to be construed as indicating or implying relative importance or implicitly indicating the number of technical features indicated. Thus, a feature defined as "first" or "second" may explicitly or implicitly include one or more of that feature. In the description of the present invention, "a plurality" means two or more unless specifically defined otherwise.
The above description is only for the preferred embodiment of the present invention, but the scope of the present invention is not limited thereto, and any person skilled in the art should be considered to be within the technical scope of the present invention, and the technical solutions and the inventive concepts thereof according to the present invention should be equivalent or changed within the scope of the present invention.

Claims (8)

1.一种高压电网用线缆施工紧线装置,包括底座(1),其特征在于,所述底座(1)的上端左右两侧固定连接有第一支撑板(16),所述底座(1)的上端固定连接有位于两个所述第一支撑板(16)之间的第二支撑板(18),左侧所述第一支撑板(16)与第二支撑板(18)互相靠近的一侧转动连接有两对夹紧杆(9),两对所述夹紧杆(9)之间均固定连接有线缆线圈,两个所述线缆线圈均缠绕有线缆(10),左侧所述第一支撑板(16)与第二支撑板(18)之间转动连接有两个位于两个所述线缆线圈后侧的螺纹杆(6),两个所述螺纹杆(6)的外圆周面均螺接有移动块(7),两个所述移动块(7)的下端均固定连接有引线块(8),两个所述引线块(8)的前表面均开设有通孔,两个所述线缆(10)分别贯穿两个所述通孔,所述第二支撑板(18)与右侧所述第一支撑板(16)之间转动连接有两个第二转动杆(5),两个所述第二转动杆(5)的左端均贯穿第二支撑板(18)的左表面且分别与两个所述螺纹杆(6)的右端固定连接,右侧两个所述夹紧杆(9)的右端均贯穿第二支撑板(18)的左表面且均固定连接有连接块(11),两个所述连接块(11)的右侧均转动连接有方形连杆,两个所述方形连杆的外侧均滑动套接有滑动块,两个所述滑动块的外侧均固定套接有方形套块(12),两个所述方形套块(12)均插入两个所述连接块(11)的左侧;1. A high-voltage power grid cable construction tightening device, comprising a base (1), characterized in that a first support plate (16) is fixedly connected to the left and right sides of the upper end of the base (1), and the base (1). The upper end of 1) is fixedly connected with a second support plate (18) located between the two first support plates (16), and the first support plate (16) and the second support plate (18) on the left side are mutually Two pairs of clamping rods (9) are rotatably connected to the close side, a cable coil is fixedly connected between the two pairs of the clamping rods (9), and a cable (10) is wound around the two cable coils. ), two threaded rods (6) located on the rear side of the two cable coils are rotatably connected between the first support plate (16) and the second support plate (18) on the left side, and the two threaded rods (6) The outer circumferential surface of the rod (6) is screwed with moving blocks (7), and the lower ends of the two moving blocks (7) are fixedly connected with lead blocks (8). The surfaces are provided with through holes, the two cables (10) respectively pass through the two through holes, and the second support plate (18) is rotatably connected with the first support plate (16) on the right side There are two second rotating rods (5), and the left ends of the two second rotating rods (5) pass through the left surface of the second support plate (18) and are respectively connected with the right ends of the two threaded rods (6). Fixed connection, the right ends of the two clamping rods (9) on the right side both penetrate through the left surface of the second support plate (18) and are fixedly connected with a connecting block (11). Square connecting rods are rotatably connected to the right side, sliding blocks are slidably sleeved on the outer sides of the two square connecting rods, and square sleeve blocks (12) are fixed and sleeved on the outer sides of the two sliding blocks. The square sleeve blocks (12) are inserted into the left side of the two connecting blocks (11); 两个所述方形连杆的右端均固定连接有第三转动杆(13),两个所述第三转动杆(13)的右端均贯穿右侧所述第一支撑板(16)的左表面且均固定套接有第二从动锥齿轮,右侧所述第一支撑板(16)的左表面固定连接有支撑架(2),所述支撑架(2)的右表面固定安装有驱动电机(3),所述驱动电机(3)的输出轴贯穿支撑架(2)的右表面且固定连接有转动杆(4),所述转动杆(4)的右端与右侧所述第一支撑板(16)的右表面转动连接,且所述转动杆(4)的外圆周面固定套接有第一主动锥齿轮,所述支撑架(2)与右侧所述第一支撑板(16)之间固定连接有两个支撑块(21),两个所述支撑块(21)内均转动连接有竖向设置的传动杆(22),两个所述传动杆(22)互相靠近的一端均固定套接有第一从动锥齿轮,所述第一主动锥齿轮与两个所述第一从动锥齿轮啮合传动,两个所述传动杆(22)互相远离的一端均固定套接有第二主动锥齿轮,两个所述第二主动锥齿轮分别与两个所述第二从动锥齿轮啮合传动。The right ends of the two square connecting rods are fixedly connected with a third rotating rod (13), and the right ends of the two third rotating rods (13) both penetrate through the left surface of the first support plate (16) on the right side And are fixedly sleeved with a second driven bevel gear, the left surface of the first support plate (16) on the right side is fixedly connected with a support frame (2), and the right surface of the support frame (2) is fixedly installed with a drive A motor (3), the output shaft of the drive motor (3) penetrates the right surface of the support frame (2) and is fixedly connected with a rotating rod (4), the right end of the rotating rod (4) and the first The right surface of the support plate (16) is rotatably connected, and the outer circumferential surface of the rotating rod (4) is fixedly sleeved with a first drive bevel gear, and the support bracket (2) is connected to the first support plate ( 16) Two support blocks (21) are fixedly connected therebetween, and vertically arranged transmission rods (22) are rotatably connected in the two support blocks (21), and the two transmission rods (22) are close to each other A first driven bevel gear is fixedly sleeved at one end, the first driving bevel gear meshes with the two first driven bevel gears, and the ends of the two transmission rods (22) away from each other are fixed A second driving bevel gear is sleeved, and the two second driving bevel gears are respectively engaged with the two second driven bevel gears for transmission. 2.根据权利要求1所述的一种高压电网用线缆施工紧线装置,其特征在于,两个所述第三转动杆(13)的右端均与支撑架(2)的左表面转动连接,右侧所述第一支撑板(16)内嵌设有两个第一轴承,两个所述第三转动杆(13)分别与两个所述第一轴承的内圈固定连接。2. A high-voltage power grid cable construction tightening device according to claim 1, wherein the right ends of the two third rotating rods (13) are both rotatably connected to the left surface of the support frame (2) Two first bearings are embedded in the first support plate (16) on the right side, and the two third rotating rods (13) are respectively fixedly connected with the inner rings of the two first bearings. 3.根据权利要求1所述的一种高压电网用线缆施工紧线装置,其特征在于,两个所述第二转动杆(5)的右端均固定套接有从动皮带轮(14),两个所述第三转动杆(13)的右端均固定套接有主动皮带轮(15),两个所述主动皮带轮(15)与两个所述从动皮带轮(14)之间分别通过皮带传动连接。3. A high-voltage power grid cable construction tightening device according to claim 1, wherein the right ends of the two second rotating rods (5) are fixedly sleeved with driven pulleys (14), The right ends of the two third rotating rods (13) are fixedly sleeved with driving pulleys (15), and the two driving pulleys (15) and the two driven pulleys (14) are respectively driven by belts connect. 4.根据权利要求1所述的一种高压电网用线缆施工紧线装置,其特征在于,所述第二支撑板(18)与左侧所述第一支撑板(16)之间固定连接有两个导向板(17),两个所述导向板(17)分别位于两个所述螺纹杆(6)的上方,两个所述导向板(17)的下端均开设有滑槽,两个所述滑槽内均滑动连接有导向块,两个所述移动块(7)的上端分别与两个所述导向块固定连接。4. A high-voltage power grid cable construction tightening device according to claim 1, characterized in that the second support plate (18) is fixedly connected with the first support plate (16) on the left side There are two guide plates (17), the two guide plates (17) are respectively located above the two threaded rods (6), and the lower ends of the two guide plates (17) are provided with sliding grooves. Guide blocks are slidably connected in each of the sliding grooves, and the upper ends of the two moving blocks (7) are respectively fixedly connected with the two guide blocks. 5.根据权利要求1所述的一种高压电网用线缆施工紧线装置,其特征在于,两个所述连接块(11)的右端中部均开设有圆孔,两个所述方形连杆的左端分别转动连接在两个圆孔内,两个所述连接块(11)的右端均开设有位于圆孔旁靠近外侧的一端的方形槽,两个所述方形套块(12)分别与两个所述方形槽相匹配。5 . The cable tightening device for high-voltage power grid construction according to claim 1 , wherein a circular hole is formed in the middle of the right end of the two connecting blocks ( 11 ), and the two square connecting rods are provided with a circular hole. 6 . The left ends of the two connecting blocks (11) are respectively rotatably connected in the two circular holes, the right ends of the two connecting blocks (11) are both provided with square grooves located at the end near the outer side of the circular holes, and the two square sleeve blocks (12) are respectively connected with Two of the square slots are matched. 6.根据权利要求1所述的一种高压电网用线缆施工紧线装置,其特征在于,两个所述支撑块(21)内均固定嵌设有第二轴承,两个所述传动杆(22)分别与两个所述第二轴承的内圈固定连接。6 . The cable tightening device for high-voltage power grid construction according to claim 1 , wherein a second bearing is fixedly embedded in the two support blocks ( 21 ), and the two transmission rods (22) are respectively fixedly connected with the inner rings of the two second bearings. 7.根据权利要求1所述的一种高压电网用线缆施工紧线装置,其特征在于,所述第二支撑板(18)与右侧所述第一支撑板(16)之间固定连接有两个位于两个所述方形套块(12)后方的限位板(19),两个所述方形套块(12)的后端均固定连接有限位杆(20),两个所述限位板(19)的前表面均开设有两个与限位杆(20)相匹配的限位孔,两个限位杆(20)插入其中一个限位孔内。7 . The cable tightening device for high-voltage power grid construction according to claim 1 , wherein the second support plate ( 18 ) is fixedly connected with the first support plate ( 16 ) on the right side. 8 . There are two limit plates (19) located behind the two square sleeve blocks (12), and the rear ends of the two square sleeve blocks (12) are fixedly connected with limit rods (20). The front surface of the limiting plate (19) is provided with two limiting holes matching with the limiting rods (20), and the two limiting rods (20) are inserted into one of the limiting holes. 8.根据权利要求1所述的一种高压电网用线缆施工紧线装置,其特征在于,所述底座(1)的下端四角处均固定连接有支撑腿,四个所述支撑腿的下端均固定连接有锁止万向轮。8 . The cable tightening device for high-voltage power grid construction according to claim 1 , wherein the four corners of the lower end of the base ( 1 ) are fixedly connected with support legs, and the lower ends of the four support legs are fixedly connected. 9 . Both are fixedly connected with locking universal wheels.
CN202011297462.6A 2020-11-18 2020-11-18 Cable construction tightening device for high-voltage power grid Active CN112467626B (en)

Priority Applications (1)

Application Number Priority Date Filing Date Title
CN202011297462.6A CN112467626B (en) 2020-11-18 2020-11-18 Cable construction tightening device for high-voltage power grid

Applications Claiming Priority (1)

Application Number Priority Date Filing Date Title
CN202011297462.6A CN112467626B (en) 2020-11-18 2020-11-18 Cable construction tightening device for high-voltage power grid

Publications (2)

Publication Number Publication Date
CN112467626A CN112467626A (en) 2021-03-09
CN112467626B true CN112467626B (en) 2022-05-20

Family

ID=74836221

Family Applications (1)

Application Number Title Priority Date Filing Date
CN202011297462.6A Active CN112467626B (en) 2020-11-18 2020-11-18 Cable construction tightening device for high-voltage power grid

Country Status (1)

Country Link
CN (1) CN112467626B (en)

Families Citing this family (1)

* Cited by examiner, † Cited by third party
Publication number Priority date Publication date Assignee Title
CN113649449B (en) * 2021-07-28 2023-07-25 泰兴市龙腾电子有限公司 Stamping die for manufacturing semiconductor lead frame

Family Cites Families (8)

* Cited by examiner, † Cited by third party
Publication number Priority date Publication date Assignee Title
SE7712597L (en) * 1976-11-24 1978-05-25 Zuv Progress PLANETARY FEEDING DEVICE FOR PLANETARY RELEASE WITH ADJUSTMENT OF THE EXHAUST FORCE
CN106219329A (en) * 2016-08-22 2016-12-14 毛学辉 A kind of power communication cable winding apparatus of position adjustable
CN107147047B (en) * 2017-06-21 2019-09-17 唐山祺远供电有限公司 A kind of cable-laying gear in electric power tunnel construction
CN107777449A (en) * 2017-11-20 2018-03-09 成都叶舟科技有限公司 A kind of power construction actinobacillus device
CN108275516A (en) * 2018-01-31 2018-07-13 福州大学 Underwater robot take-up device
CN108275508A (en) * 2018-03-02 2018-07-13 张广山 A kind of fiber optic cable pay off rack easy to use
CN108502652A (en) * 2018-03-06 2018-09-07 杨秀波 A kind of fiber optic cable wrap-up easy to use
CN108298386A (en) * 2018-03-27 2018-07-20 成都亚联科科技有限公司 A kind of communication engineering communications cable draw off gear

Also Published As

Publication number Publication date
CN112467626A (en) 2021-03-09

Similar Documents

Publication Publication Date Title
CN109243809B (en) Transformer winding foot winding device
CN112467626B (en) Cable construction tightening device for high-voltage power grid
CN114779123A (en) High tension transmission line leakage detector
CN210452269U (en) Based on aluminum product processingequipment
CN109368419B (en) Conveying system for cables
CN219552138U (en) Shape deformation detection device for cable production
CN214359444U (en) Wire and cable pay-off device
CN217520907U (en) Stretching device is used in processing production of compound copper line
CN215528831U (en) Winding equipment for motor rotor production
CN214326740U (en) Winding equipment for cable processing
CN213471347U (en) Cutting machine for thermal contraction braided sleeve
CN211569730U (en) Can guarantee take-up is used in optic fibre steel wire production of tightness
CN114628088A (en) Sheath type high-strength superconducting cable twisting device and cable twisting method thereof
CN218828797U (en) Electric wire and cable laying device
CN115890590B (en) Fixing device for manufacturing annular concrete electric pole framework
CN215267404U (en) Traction equipment for laying electric wires and cables
CN213988431U (en) Metal flat wire spiral armoring machine
CN211393383U (en) Pay-off is used in electric power maintenance
CN217018005U (en) Extension device that high extension metal copper wire was used
CN210051789U (en) A handcart switch test instrument wire clamp tool
CN217878703U (en) Drawing device for stretch-proofing detection in wire production
CN112863858A (en) Winding device for small transformer coil
CN223501620U (en) Processing and forming device for electric appliance bus folding ring
CN219314219U (en) Wire winding machine for wire and cable production and manufacture
CN221607389U (en) Efficient feeding device for copper stranded wires

Legal Events

Date Code Title Description
PB01 Publication
PB01 Publication
SE01 Entry into force of request for substantive examination
SE01 Entry into force of request for substantive examination
GR01 Patent grant
GR01 Patent grant