CN112325390A - Mobile air conditioner - Google Patents

Mobile air conditioner Download PDF

Info

Publication number
CN112325390A
CN112325390A CN202011202533.XA CN202011202533A CN112325390A CN 112325390 A CN112325390 A CN 112325390A CN 202011202533 A CN202011202533 A CN 202011202533A CN 112325390 A CN112325390 A CN 112325390A
Authority
CN
China
Prior art keywords
air
air inlet
casing
air conditioner
mobile
Prior art date
Legal status (The legal status is an assumption and is not a legal conclusion. Google has not performed a legal analysis and makes no representation as to the accuracy of the status listed.)
Granted
Application number
CN202011202533.XA
Other languages
Chinese (zh)
Other versions
CN112325390B (en
Inventor
卢绍章
赵阿立
Current Assignee (The listed assignees may be inaccurate. Google has not performed a legal analysis and makes no representation or warranty as to the accuracy of the list.)
Midea Group Co Ltd
GD Midea Air Conditioning Equipment Co Ltd
Original Assignee
Midea Group Co Ltd
GD Midea Air Conditioning Equipment Co Ltd
Priority date (The priority date is an assumption and is not a legal conclusion. Google has not performed a legal analysis and makes no representation as to the accuracy of the date listed.)
Filing date
Publication date
Application filed by Midea Group Co Ltd, GD Midea Air Conditioning Equipment Co Ltd filed Critical Midea Group Co Ltd
Priority to CN202011202533.XA priority Critical patent/CN112325390B/en
Publication of CN112325390A publication Critical patent/CN112325390A/en
Priority to PCT/CN2021/088352 priority patent/WO2022021953A1/en
Application granted granted Critical
Publication of CN112325390B publication Critical patent/CN112325390B/en
Priority to US18/098,338 priority patent/US12467641B2/en
Active legal-status Critical Current
Anticipated expiration legal-status Critical

Links

Images

Classifications

    • FMECHANICAL ENGINEERING; LIGHTING; HEATING; WEAPONS; BLASTING
    • F24HEATING; RANGES; VENTILATING
    • F24FAIR-CONDITIONING; AIR-HUMIDIFICATION; VENTILATION; USE OF AIR CURRENTS FOR SCREENING
    • F24F1/00Room units for air-conditioning, e.g. separate or self-contained units or units receiving primary air from a central station
    • F24F1/02Self-contained room units for air-conditioning, i.e. with all apparatus for treatment installed in a common casing
    • F24F1/028Self-contained room units for air-conditioning, i.e. with all apparatus for treatment installed in a common casing characterised by air supply means, e.g. fan casings, internal dampers or ducts
    • FMECHANICAL ENGINEERING; LIGHTING; HEATING; WEAPONS; BLASTING
    • F24HEATING; RANGES; VENTILATING
    • F24FAIR-CONDITIONING; AIR-HUMIDIFICATION; VENTILATION; USE OF AIR CURRENTS FOR SCREENING
    • F24F1/00Room units for air-conditioning, e.g. separate or self-contained units or units receiving primary air from a central station
    • F24F1/02Self-contained room units for air-conditioning, i.e. with all apparatus for treatment installed in a common casing
    • F24F1/032Self-contained room units for air-conditioning, i.e. with all apparatus for treatment installed in a common casing characterised by heat exchangers
    • F24F1/0323Self-contained room units for air-conditioning, i.e. with all apparatus for treatment installed in a common casing characterised by heat exchangers by the mounting or arrangement of the heat exchangers
    • FMECHANICAL ENGINEERING; LIGHTING; HEATING; WEAPONS; BLASTING
    • F24HEATING; RANGES; VENTILATING
    • F24FAIR-CONDITIONING; AIR-HUMIDIFICATION; VENTILATION; USE OF AIR CURRENTS FOR SCREENING
    • F24F1/00Room units for air-conditioning, e.g. separate or self-contained units or units receiving primary air from a central station
    • F24F1/02Self-contained room units for air-conditioning, i.e. with all apparatus for treatment installed in a common casing
    • F24F1/0328Self-contained room units for air-conditioning, i.e. with all apparatus for treatment installed in a common casing with means for purifying supplied air
    • F24F1/035Self-contained room units for air-conditioning, i.e. with all apparatus for treatment installed in a common casing with means for purifying supplied air characterised by the mounting or arrangement of filters
    • FMECHANICAL ENGINEERING; LIGHTING; HEATING; WEAPONS; BLASTING
    • F24HEATING; RANGES; VENTILATING
    • F24FAIR-CONDITIONING; AIR-HUMIDIFICATION; VENTILATION; USE OF AIR CURRENTS FOR SCREENING
    • F24F13/00Details common to, or for air-conditioning, air-humidification, ventilation or use of air currents for screening
    • F24F13/20Casings or covers
    • FMECHANICAL ENGINEERING; LIGHTING; HEATING; WEAPONS; BLASTING
    • F24HEATING; RANGES; VENTILATING
    • F24FAIR-CONDITIONING; AIR-HUMIDIFICATION; VENTILATION; USE OF AIR CURRENTS FOR SCREENING
    • F24F2221/00Details or features not otherwise provided for
    • F24F2221/12Details or features not otherwise provided for transportable

Landscapes

  • Engineering & Computer Science (AREA)
  • Chemical & Material Sciences (AREA)
  • Combustion & Propulsion (AREA)
  • Mechanical Engineering (AREA)
  • General Engineering & Computer Science (AREA)
  • Physics & Mathematics (AREA)
  • Thermal Sciences (AREA)
  • Air Filters, Heat-Exchange Apparatuses, And Housings Of Air-Conditioning Units (AREA)

Abstract

本发明公开了一种移动空调,涉及空调设备技术领域,包括机壳和出风壳体,机壳包括上壳体和下壳体,下壳体相对于上壳体向后凸出设置;上壳体开设有第一进风口,下壳体开设有第二进风口;出风壳体安装于机壳内,出风壳体的进口安装有换热器;其中,第一进风口与换热器连通且形成有第一进风通道,第二进风口与换热器连通且形成有第二进风通道。本发明通过在机壳的下壳体增设第二进风口并形成第二进风通道,第二进风口进入的空气可以引导至换热器中,作为对机壳的第一进风口的补充进风,从而增大了换热器的换热风量,提高移动空调的换热效果,而且增大了出风壳体的出风量。

Figure 202011202533

The invention discloses a mobile air conditioner, which relates to the technical field of air conditioners. The casing is provided with a first air inlet, and the lower casing is provided with a second air inlet; the air outlet casing is installed in the casing, and a heat exchanger is installed at the inlet of the air outlet casing; wherein, the first air inlet is connected to the heat exchange The heat exchanger communicates with and forms a first air inlet channel, and the second air inlet communicates with the heat exchanger and forms a second air inlet channel. In the present invention, a second air inlet is added to the lower casing of the casing and a second air inlet channel is formed, and the air entered by the second air inlet can be guided into the heat exchanger as a supplementary air inlet to the first air inlet of the casing. Therefore, the heat exchange air volume of the heat exchanger is increased, the heat exchange effect of the mobile air conditioner is improved, and the air outlet volume of the air outlet casing is increased.

Figure 202011202533

Description

Mobile air conditioner
The application is a divisional application with the application date of '2020.07.27', the application number of '202010734600.6' and the application name of 'mobile air conditioner'.
Technical Field
The invention relates to the technical field of air conditioning equipment, in particular to a mobile air conditioner.
Background
In the related art, an air duct of a mobile air conditioner is generally installed at a rear end of a cabinet. When the mobile air conditioner runs, the air pipe can block the air inlet at the rear end of the shell after being installed, and the air inlet amount entering the air outlet shell is influenced; especially, when the mobile air conditioner is mounted close to a wall, the air inlet resistance of the air inlet is very large, and the air inlet volume is influenced, so that the heat exchange capacity and the actual heat exchange effect of the mobile air conditioner are influenced.
Disclosure of Invention
The present invention is directed to solving at least one of the problems of the prior art. Therefore, the invention provides a mobile air conditioner, which is characterized in that a second air inlet communicated with a heat exchanger is additionally arranged on a shell to realize supplementary air inlet, so that the heat exchange capacity and the heat exchange effect of the mobile air conditioner are improved.
The mobile air conditioner according to the embodiment of the invention comprises: the shell comprises an upper shell and a lower shell, wherein the upper shell is provided with a first air inlet; the lower shell is arranged in a protruding mode backwards relative to the upper shell, and a second air inlet is formed in the lower shell; the air outlet shell is arranged in the shell, and the inlet of the air outlet shell is provided with a heat exchanger; the first air inlet is communicated with the heat exchanger and is provided with a first air inlet channel, and the second air inlet is communicated with the heat exchanger and is provided with a second air inlet channel.
The mobile air conditioner provided by the embodiment of the invention at least has the following beneficial effects:
through add the second air intake at the lower casing of casing to form the second inlet air channel with the second air intake intercommunication in the casing, the air that the second air intake got into can guide to the heat exchanger in, as the supplementary air inlet to the first air intake of casing, thereby increased the heat transfer amount of wind of heat exchanger, improved the heat transfer effect of mobile air conditioner, increased the air output of air-out casing moreover.
According to some embodiments of the invention, the second air inlet is located on the top wall, the top wall is provided with a mounting portion for fixing the air pipe, and the second air inlet is arranged along the periphery of the mounting portion
According to some embodiments of the invention, the second air intake opening comprises a plurality of uniformly arranged through holes.
According to some embodiments of the invention, the second air inlet is located in the top wall and is disposed along a periphery of the mounting portion.
According to some embodiments of the invention, the diameter of the largest inscribed circle which can be formed inside the second air inlet is d, and d satisfies: d is more than 0 and less than or equal to 8 mm.
According to some embodiments of the present invention, the mobile air conditioner further includes a middle partition board, the middle partition board is disposed in the casing, the second air intake channel is formed between the middle partition board and the lower casing, and the second air intake is located above the middle partition board.
According to some embodiments of the invention, the mobile air conditioner further comprises a wind guide device located in the lower shell, an installation part for fixing a wind pipe is arranged at the upper part of the lower shell, two ends of the wind guide device are respectively connected with the middle partition plate and the installation part, the outer wall of the wind guide device is streamline, and the second air inlet channel is formed among the wind guide device, the middle partition plate and the lower shell.
According to some embodiments of the present invention, the first air inlet is detachably connected with a first filter assembly, and the first filter assembly is used for filtering air entering from the first air inlet.
According to some embodiments of the present invention, a second filter assembly is disposed in the lower casing, and the second filter assembly is located in the second air inlet channel and is configured to filter air entering from the second air inlet.
According to some embodiments of the invention, the second filter assembly and the first filter assembly are a single piece.
Additional aspects and advantages of the invention will be set forth in part in the description which follows and, in part, will be obvious from the description, or may be learned by practice of the invention.
Drawings
The above and/or additional aspects and advantages of the present invention will become apparent and readily appreciated from the following description of the embodiments, taken in conjunction with the accompanying drawings of which:
fig. 1 is a schematic view of a mobile air conditioner according to an embodiment of the present invention;
FIG. 2 is an enlarged view of a portion of FIG. 1;
FIG. 3 is a schematic structural diagram of a cabinet and a middle partition plate of a mobile air conditioner according to an embodiment of the present invention;
FIG. 4 is a top view of FIG. 1;
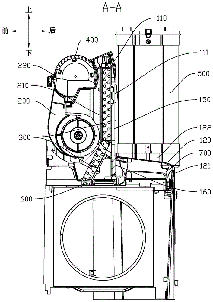
3 FIG. 3 5 3 is 3 a 3 cross 3- 3 sectional 3 view 3 of 3 section 3 A 3- 3 A 3 of 3 FIG. 34 3; 3
FIG. 6 is a schematic structural view of a mobile air conditioner according to an embodiment of the present invention, except that a casing and an air duct are removed;
fig. 7 is a schematic view of the first filter assembly and the second filter assembly of fig. 6.
Reference numerals:
a housing 100; an upper case 110; a first air inlet 111; a lower case 120; a second air inlet 121; a mounting portion 122; a top wall 130; a surrounding wall 140; a first filter assembly 150; a buckle 151; a mounting bracket 152; a grill 153; a second filter assembly 160;
an air outlet housing 200; an air inlet hole 210; an air outlet 220;
a heat exchanger 300;
an air supply mechanism 400;
an air duct 500;
a middle separator 600;
wind deflector 700.
Detailed Description
Reference will now be made in detail to embodiments of the present invention, examples of which are illustrated in the accompanying drawings, wherein like or similar reference numerals refer to the same or similar elements or elements having the same or similar function throughout. The embodiments described below with reference to the accompanying drawings are illustrative only for the purpose of explaining the present invention, and are not to be construed as limiting the present invention.
In the description of the present invention, it should be understood that the orientation or positional relationship referred to, for example, the upper, lower, etc., is indicated based on the orientation or positional relationship shown in the drawings, and is only for convenience of description and simplification of description, but does not indicate or imply that the device or element referred to must have a specific orientation, be constructed in a specific orientation, and be operated, and thus should not be construed as limiting the present invention.
In the description of the present invention, if there are first and second described only for the purpose of distinguishing technical features, it is not understood that relative importance is indicated or implied or that the number of indicated technical features or the precedence of the indicated technical features is implicitly indicated or implied.
In the description of the present invention, unless otherwise explicitly limited, terms such as arrangement, installation, connection and the like should be understood in a broad sense, and those skilled in the art can reasonably determine the specific meanings of the above terms in the present invention in combination with the specific contents of the technical solutions.
Referring to fig. 1, 4 and 5, the mobile air conditioner according to an embodiment of the present invention includes a casing 100 and an air outlet casing 200, where the air outlet casing 200 is installed in the casing 100, the air outlet casing 200 has an air inlet 210 and an air outlet 220, the air inlet 210 is provided with a heat exchanger 300, the air outlet casing 200 is provided with an air supply mechanism 400 at the air outlet 220, the air outlet casing 200 is internally provided with a wind wheel (not shown in the figure), the wind wheel drives air in an indoor environment to pass through the heat exchanger 300, the heat exchanger 300 exchanges heat with the air to implement cooling or heating of the air, the air after heat exchange enters the air outlet casing 200 and is blown out to the indoor environment through the air supply mechanism 400 to implement adjustment of an indoor environment temperature.
Referring to fig. 1 and 3, the casing 100 includes an upper casing 110, the upper casing 110 is provided with a first air inlet 111, the first air inlet 111 is communicated with the external environment, the first air inlet 111 is a main air inlet of the mobile air conditioner, the first air inlet 111 is communicated with the heat exchanger 300, and a first air inlet channel is formed as a main air inlet channel of the air outlet casing 200, for allowing air of the external environment to enter the heat exchanger 300 for heat exchange. When the mobile air conditioner operates in a refrigerating mode, the wind wheel in the air outlet shell 200 rotates to drive air to enter the machine shell 100 from the first air inlet 111 and exchange heat through the heat exchanger 300, and the air after heat exchange is blown out from the air supply mechanism 400 under the guiding action of the wind wheel to adjust the temperature of the external environment.
Referring to fig. 1, 2 and 3, in the mobile air conditioner according to an embodiment of the present invention, the casing 100 further includes a lower casing 120, and the lower casing 120 and the upper casing 110 may be manufactured in an integral molding manner, for example, in an integral injection molding manner. The lower case 120 is protruded rearward with respect to the upper case 110, and a mounting portion 122 is provided at an upper portion of the lower case 120, and the mounting portion 122 is used to fix the air duct 500. Since the installation position of the air duct 500 of the mobile air conditioner of this embodiment is fixed behind the first air inlet 111, the air duct 500 can shield a part of the first air inlet 111, thereby affecting the air intake volume of the mobile air conditioner. In order to increase the intake air volume of the mobile air conditioner, the lower housing 120 is provided with a second intake vent 121, and it can be understood that the second intake vent 121 is located below the first intake vent 111 and is spaced apart from the first intake vent. The second air inlet 121 is communicated with the external environment, the second air inlet 121 can serve as an auxiliary air inlet of the mobile air conditioner, the second air inlet 121 is communicated with the heat exchanger 300, and a second air inlet channel is formed and serves as a supplementary air inlet channel of the air outlet shell 200 for supplying supplementary air of the external environment to enter the heat exchanger 300 for heat exchange. The second air inlet 121 and the mounting portion 122 are arranged in a staggered manner, so that the air duct formed by connecting the mounting portion 122 with the air pipe 500 and the second air inlet channel are isolated from each other, air channeling cannot occur, and the heat exchange efficiency is influenced.
Referring to fig. 4 and 5, the air volume supplemented from the second air inlet 121 is guided into the air outlet housing 200 through the second air inlet channel, so that the heat exchange efficiency of the heat exchanger 300 is enhanced, the heat exchange effect of the mobile air conditioner is improved, the air volume of the air supply mechanism 400 is increased, and the user experience is better. Moreover, when the mobile air conditioner is installed near a wall, because the first air inlet 111 is blocked by the wall surface or the air pipe 500, the effective air inlet area is small, the air inlet volume is small, and at the moment, the second air inlet 121 can play a role in supplementing the air volume, so that the capacity of the mobile air conditioner and the actual heat exchange effect are improved.
It is understood that the second air inlet channel is defined between the internal structures of the casing 100, and the second air inlet channel may be arranged in a manner that each second air inlet 121 is independently provided with one second air inlet channel, or a plurality of second air inlets 121 share one second air inlet channel, which is not specifically limited herein.
Referring to fig. 3 and 5, in some embodiments of the present invention, the mobile air conditioner further includes a middle partition 600, the middle partition 600 is located in the casing 100, a cavity for accommodating the air outlet casing 200 is formed between the middle partition 600 and the casing 100, the air outlet casing 200 is mounted on the middle partition 600, the second air inlet 121 is located above the middle partition 600, and a second air inlet channel communicating the second air inlet 121 and the heat exchanger 300 is defined between the middle partition 600 and the lower casing 120, so that the second air inlet channel has better sealing performance, and air entering from the second air inlet 121 is prevented from escaping into the casing 100, thereby reducing loss of air entering from the second air inlet channel. In addition, the second air inlet 121 collects the supplementary intake airflow into the air outlet casing 200 through the sealed second intake passage, thereby improving the heat exchange efficiency of the mobile air conditioner.
Referring to fig. 5 and 6, in some embodiments of the present invention, the mobile air conditioner further includes a wind deflector 700, the wind deflector 700 is located in the lower casing 120, and two ends of the wind deflector 700 are respectively connected to the middle partition 600 and the mounting portion 122 of the lower casing 120 for mounting the wind pipe 500, so that the wind channel for heat exchange between the mobile air conditioner and the outdoor environment is isolated from the second wind inlet channel and sealed from each other, and wind channeling between the two is avoided, thereby affecting the wind blowing effect of the wind blowing mechanism 400. In addition, as shown in fig. 6, the outer wall of the air guide device 700 is streamlined, and a second air inlet channel is formed among the air guide device 700, the middle partition plate 600 and the lower shell 120, so that the resistance of the second air inlet channel is smaller, air inlet is smoother, the heat exchange efficiency of the heat exchanger 300 is enhanced, the heat exchange efficiency of the mobile air conditioner is improved, air inlet noise can be effectively reduced, and the mobile air conditioner can run more stably and quietly.
Referring to fig. 1 and 2, the lower housing 120 includes a top wall 130 and a surrounding wall 140, and the surrounding wall 140 is disposed around left, rear, and right ends of the top wall 130. It is understood that the second wind inlet 121 is located on the surrounding wall 140, that is, the second wind inlet 121 may be disposed on the left side wall surface, the right side wall surface, the left and right side wall surfaces, or the rear side wall surface of the surrounding wall 140, or disposed on all the wall surfaces of the surrounding wall 140. The second air inlet 121 is disposed on the peripheral wall 140, so that the influence of the air duct 500 on the second air inlet 121 can be reduced, and the effect of supplementing the air volume to the second air inlet 121 is ensured.
Referring to fig. 2, the second air inlet 121 includes a plurality of uniformly arranged through holes, the shape of the through holes is not particularly limited, as long as the aperture size required for air inlet is satisfied, the plurality of through holes can increase the supplemented air volume, and increase the heat exchange effect of the mobile air conditioner. For example, the second air inlet 121 includes one or more elongated holes, and the elongated holes may extend in a horizontal direction or in a vertical direction, and are not limited herein; the plurality of elongated holes are uniformly arranged on the wall 140, or are arranged in an array on the wall 140, and are not particularly limited herein. In addition, the second air inlet 121 includes a plurality of circular holes or polygonal holes, and the plurality of circular holes or polygonal holes are uniformly arranged on the peripheral wall 140.
It can be appreciated that, in order to further increase the air intake effect, the air duct 500 is generally installed on the top wall 130, so that there is a certain block to the first air inlet 111 of the upper housing 110, thereby affecting the air intake of the air outlet housing 200. Therefore, by disposing the second air inlet 121 on the top wall 130 and along the periphery of the mounting portion 122, the air inlet amount can be further supplemented near the first air inlet 111, the air inlet amount of the outlet casing 200 can be effectively increased, and air leakage with the air duct 500 is avoided, thereby improving the heat exchange efficiency of the mobile air conditioner.
Referring to fig. 2, in an embodiment of the present invention, the size of the second intake vent 121 disposed on the top wall 130 is required to satisfy a certain requirement, for example, the diameter of the largest inscribed circle that can be formed inside the second intake vent 121 is d, where d satisfies: d is more than 0 and less than or equal to 8 mm. It should be noted that, in the solution of the embodiment of the present invention, a diameter of a maximum inscribed circle that can be formed inside the second air inlet 121 is d, where the maximum inscribed circle may be understood as a maximum inscribed circle that can be formed by an outer contour trajectory of each through hole corresponding to the second air inlet 121.
For example, when the second air inlet 121 is a long hole, d refers to the length of the shorter side of the long hole; when the second air inlet 121 is a circular hole, d refers to the diameter of the circular hole. When d meets the above parameter requirements, it is avoided that the foreign matter falls into the casing 100 from the second air inlet 121 to damage the operation of the mobile air conditioner, which is convenient for cleaning the lower casing 120 and meets the requirements of safety regulations.
Referring to fig. 6 and 7, in some embodiments of the present invention, the first air inlet 111 is detachably connected to the first filter assembly 150, the first filter assembly 150 is connected to the upper housing 110 by a plurality of fasteners 151, and the plurality of fasteners 151 may be disposed along a circumferential direction of the first filter assembly 150. Of course, the first filter assembly 150 may be mounted on the upper housing 110 in other detachable manners, such as bolts. It should be noted that the first filter assembly 150 covers the first air inlet 111, and filters the air entering from the first air inlet 111, so as to prevent the air from polluting the heat exchanger 300, and improve the quality of the air blown out by the air supply mechanism 400, thereby improving the user experience.
Referring to fig. 5 and 6, in some embodiments of the present invention, in order to prevent the intake airflow from the second intake opening 121 from polluting the surface of the heat exchanger 300, the second filter assembly 160 is disposed in the lower housing 120, the second filter assembly 160 is located in the second intake passage, and the second filter assembly 160 filters the intake airflow from the second intake opening 121, so as to prevent the supplementary intake air from polluting the heat exchanger 300, and further improve the quality of the air blown by the air supply mechanism 400, thereby improving the user experience.
Referring to fig. 6 and 7, in some embodiments of the present invention, the second filter assembly 160 is fixedly connected to the first filter assembly 150, so that a user can remove the second filter assembly 160 while removing the first filter assembly 150, and the second filter assembly 160 can be drawn out upward through the first air inlet 111 as the first filter assembly 150, so that the second filter assembly 160 can be more conveniently detached and cleaned by the user. In order to facilitate the insertion, installation, or removal and extraction of the first filter assembly 150 and the second filter assembly 160 from the top, the lower end of the first filter assembly 150 is generally not provided with a buckle 151 which is installed in cooperation with the upper housing 110. It will be appreciated that second filter assembly 160 and first filter assembly 150 may be constructed as a unitary piece, such as by being integrally injection molded. Second filter assembly 150 is also formed by extending first filter assembly 150 downward to also facilitate user removal of first filter assembly 150 and second filter assembly 160 simultaneously.
Specifically, referring to fig. 7, in some embodiments of the present invention, the first filter assembly 150 includes a mounting frame 152 and a filter screen (not shown), and the mounting frame 152 is provided with a structure detachably connected to the housing 100, such as a buckle 151, for facilitating detachment and cleaning, and facilitating user operation. A groove (not shown) for accommodating a filter screen is formed on the mounting frame 152, and the filter screen can be fixed in the groove; of course, the filter screen may be fixed to the mounting frame 152 by means of bonding, screwing, etc., and is not limited in detail here. It should be noted that, the surface of the mounting bracket 152 is provided with the grids 153, grid holes are formed between the grids 153, before air enters the first air inlet channel in the upper housing 110 through the grid holes on the mounting bracket 152, the air needs to be filtered through the filter screen, and the filtered air enters the heat exchanger 300 again for heat exchange, so that particles such as dust in the air can be effectively blocked, and the heat exchanger 300 is prevented from accumulating impurities on the surface, and further the heat exchange efficiency of the heat exchanger 300 is influenced.
The embodiments of the present invention have been described in detail with reference to the accompanying drawings, but the present invention is not limited to the above embodiments, and various changes can be made within the knowledge of those skilled in the art without departing from the gist of the present invention.

Claims (10)

1.移动空调,其特征在于,包括:1. mobile air conditioner, is characterized in that, comprises: 机壳,包括上壳体和下壳体,所述上壳体开设有第一进风口;所述下壳体相对于所述上壳体向后凸出设置,所述下壳体开设有第二进风口;The casing includes an upper casing and a lower casing, the upper casing is provided with a first air inlet; the lower casing is protruded rearwardly relative to the upper casing, and the lower casing is provided with a first air inlet. Two air inlets; 出风壳体,安装于所述机壳内,所述出风壳体的进口安装有换热器;an air outlet casing is installed in the casing, and a heat exchanger is installed at the inlet of the air outlet casing; 其中,所述第一进风口与所述换热器连通且形成有第一进风通道,所述第二进风口与所述换热器连通且形成有第二进风通道。Wherein, the first air inlet communicates with the heat exchanger and forms a first air inlet channel, and the second air inlet communicates with the heat exchanger and forms a second air inlet channel. 2.根据权利要求1所述的移动空调,其特征在于:所述下壳体包括顶壁和连接于所述顶壁下端的围壁,所述第二进风口位于所述围壁。2 . The mobile air conditioner according to claim 1 , wherein the lower casing comprises a top wall and a surrounding wall connected to the lower end of the top wall, and the second air inlet is located on the surrounding wall. 3 . 3.根据权利要求2所述的移动空调,其特征在于:所述第二进风口包括多个均匀布置的通孔。3 . The mobile air conditioner according to claim 2 , wherein the second air inlet comprises a plurality of uniformly arranged through holes. 4 . 4.根据权利要求2所述的移动空调,其特征在于:所述第二进风口位于所述顶壁,所述顶壁设有用于固定风管的安装部,所述第二进风口沿所述安装部的周边设置。4 . The mobile air conditioner according to claim 2 , wherein the second air inlet is located on the top wall, the top wall is provided with a mounting portion for fixing the air duct, and the second air inlet is located along the The peripheral settings of the installation part are described. 5.根据权利要求4所述的移动空调,其特征在于:所述第二进风口内部能够形成的最大内接圆的直径为d,所述d满足:0<d≤8mm。5 . The mobile air conditioner according to claim 4 , wherein the diameter of the largest inscribed circle that can be formed inside the second air inlet is d, and the d satisfies: 0<d≦8mm. 6 . 6.根据权利要求1所述的移动空调,其特征在于:所述移动空调还包括中隔板,所述中隔板设于所述机壳内,所述中隔板和所述下壳体之间形成所述第二进风通道,所述第二进风口位于所述中隔板的上方。6 . The mobile air conditioner according to claim 1 , wherein the mobile air conditioner further comprises a middle partition plate, the middle partition plate is arranged in the casing, the middle partition plate and the lower casing are 6 . The second air inlet channel is formed therebetween, and the second air inlet is located above the middle partition plate. 7.根据权利要求6所述的移动空调,其特征在于:所述移动空调还包括位于所述下壳体内的导风器,所述下壳体的上部设有用于固定风管的安装部,所述导风器的两端分别连接所述中隔板和所述安装部,所述导风器的外壁呈流线型,所述导风器、所述中隔板和所述下壳体之间形成所述第二进风通道。7 . The mobile air conditioner according to claim 6 , wherein the mobile air conditioner further comprises an air deflector located in the lower casing, the upper part of the lower casing is provided with a mounting part for fixing the air duct, 8 . Two ends of the air deflector are respectively connected to the middle partition plate and the mounting portion, the outer wall of the air deflector is streamlined, and the gap between the air deflector, the middle partition plate and the lower shell is The second air inlet channel is formed. 8.根据权利要求1所述的移动空调,其特征在于:所述第一进风口可拆卸连接有第一过滤组件,所述第一过滤组件用于过滤所述第一进风口进入的空气。8 . The mobile air conditioner according to claim 1 , wherein the first air inlet is detachably connected with a first filter assembly, and the first filter assembly is used to filter the air entering the first air inlet. 9 . 9.根据权利要求8所述的移动空调,其特征在于:所述下壳体内设有第二过滤组件,所述第二过滤组件位于所述第二进风通道,用于过滤所述第二进风口进入的空气。9 . The mobile air conditioner according to claim 8 , wherein a second filter assembly is arranged in the lower casing, and the second filter assembly is located in the second air inlet channel for filtering the second air conditioner. 10 . Air entering the air inlet. 10.根据权利要求9所述的移动空调,其特征在于:所述第二过滤组件和所述第一过滤组件为一体件。10 . The mobile air conditioner according to claim 9 , wherein the second filter assembly and the first filter assembly are one piece. 11 .
CN202011202533.XA 2020-07-27 2020-07-27 Mobile Air Conditioning Active CN112325390B (en)

Priority Applications (3)

Application Number Priority Date Filing Date Title
CN202011202533.XA CN112325390B (en) 2020-07-27 2020-07-27 Mobile Air Conditioning
PCT/CN2021/088352 WO2022021953A1 (en) 2020-07-27 2021-04-20 Portable air conditioner
US18/098,338 US12467641B2 (en) 2020-07-27 2023-01-18 Portable air conditioner

Applications Claiming Priority (2)

Application Number Priority Date Filing Date Title
CN202011202533.XA CN112325390B (en) 2020-07-27 2020-07-27 Mobile Air Conditioning
CN202010734600.6A CN111735116B (en) 2020-07-27 2020-07-27 Mobile air conditioner

Related Parent Applications (1)

Application Number Title Priority Date Filing Date
CN202010734600.6A Division CN111735116B (en) 2020-07-27 2020-07-27 Mobile air conditioner

Publications (2)

Publication Number Publication Date
CN112325390A true CN112325390A (en) 2021-02-05
CN112325390B CN112325390B (en) 2022-05-06

Family

ID=72656194

Family Applications (2)

Application Number Title Priority Date Filing Date
CN202010734600.6A Active CN111735116B (en) 2020-07-27 2020-07-27 Mobile air conditioner
CN202011202533.XA Active CN112325390B (en) 2020-07-27 2020-07-27 Mobile Air Conditioning

Family Applications Before (1)

Application Number Title Priority Date Filing Date
CN202010734600.6A Active CN111735116B (en) 2020-07-27 2020-07-27 Mobile air conditioner

Country Status (1)

Country Link
CN (2) CN111735116B (en)

Cited By (2)

* Cited by examiner, † Cited by third party
Publication number Priority date Publication date Assignee Title
WO2022021953A1 (en) * 2020-07-27 2022-02-03 广东美的制冷设备有限公司 Portable air conditioner
CN118856432A (en) * 2024-07-17 2024-10-29 青岛海尔空调器有限总公司 Mobile air conditioner

Citations (12)

* Cited by examiner, † Cited by third party
Publication number Priority date Publication date Assignee Title
WO2005116530A1 (en) * 2004-05-28 2005-12-08 Omas S.R.L. Portable air conditioner
JP3957728B1 (en) * 2006-03-09 2007-08-15 日本スピンドル製造株式会社 Operation control method for air conditioner
CN204902022U (en) * 2015-08-06 2015-12-23 王火平 Exempt from to install air conditioner
CN106369692A (en) * 2016-10-31 2017-02-01 佛山市顺德区美的电子科技有限公司 Mobile type air conditioner
CN108302671A (en) * 2018-01-02 2018-07-20 芜湖美智空调设备有限公司 Mobile air conditioner
CN108613268A (en) * 2018-06-29 2018-10-02 广东美的制冷设备有限公司 Mobile air conditioner
CN108758859A (en) * 2018-08-14 2018-11-06 南通宁普电器有限公司 A kind of mobile air conditioner
CN208186613U (en) * 2018-04-12 2018-12-04 广东美的制冷设备有限公司 Mobile air conditioner
CN109681967A (en) * 2019-01-04 2019-04-26 东莞市金鸿盛电器有限公司 A kind of steady type movable air conditioner convenient for assembly
KR20190106560A (en) * 2018-03-09 2019-09-18 엘지전자 주식회사 Movable air conditioner
KR20190129374A (en) * 2018-05-10 2019-11-20 엘지전자 주식회사 Slim type movable air conditioner
CN215175534U (en) * 2021-04-02 2021-12-14 海信(广东)空调有限公司 Connection clamp and mobile air conditioner

Family Cites Families (5)

* Cited by examiner, † Cited by third party
Publication number Priority date Publication date Assignee Title
CN102313338A (en) * 2010-07-05 2012-01-11 乐金电子(天津)电器有限公司 Movable-type air conditioner
CN102466281A (en) * 2010-11-16 2012-05-23 乐金电子(天津)电器有限公司 Separated type movable air conditioner
CN104613550A (en) * 2014-12-19 2015-05-13 广东美的制冷设备有限公司 Mobile air conditioner
CN108332304B (en) * 2018-04-12 2023-04-07 广东美的制冷设备有限公司 Mobile air conditioner
CN212299204U (en) * 2020-07-27 2021-01-05 广东美的制冷设备有限公司 Mobile air conditioner

Patent Citations (12)

* Cited by examiner, † Cited by third party
Publication number Priority date Publication date Assignee Title
WO2005116530A1 (en) * 2004-05-28 2005-12-08 Omas S.R.L. Portable air conditioner
JP3957728B1 (en) * 2006-03-09 2007-08-15 日本スピンドル製造株式会社 Operation control method for air conditioner
CN204902022U (en) * 2015-08-06 2015-12-23 王火平 Exempt from to install air conditioner
CN106369692A (en) * 2016-10-31 2017-02-01 佛山市顺德区美的电子科技有限公司 Mobile type air conditioner
CN108302671A (en) * 2018-01-02 2018-07-20 芜湖美智空调设备有限公司 Mobile air conditioner
KR20190106560A (en) * 2018-03-09 2019-09-18 엘지전자 주식회사 Movable air conditioner
CN208186613U (en) * 2018-04-12 2018-12-04 广东美的制冷设备有限公司 Mobile air conditioner
KR20190129374A (en) * 2018-05-10 2019-11-20 엘지전자 주식회사 Slim type movable air conditioner
CN108613268A (en) * 2018-06-29 2018-10-02 广东美的制冷设备有限公司 Mobile air conditioner
CN108758859A (en) * 2018-08-14 2018-11-06 南通宁普电器有限公司 A kind of mobile air conditioner
CN109681967A (en) * 2019-01-04 2019-04-26 东莞市金鸿盛电器有限公司 A kind of steady type movable air conditioner convenient for assembly
CN215175534U (en) * 2021-04-02 2021-12-14 海信(广东)空调有限公司 Connection clamp and mobile air conditioner

Cited By (3)

* Cited by examiner, † Cited by third party
Publication number Priority date Publication date Assignee Title
WO2022021953A1 (en) * 2020-07-27 2022-02-03 广东美的制冷设备有限公司 Portable air conditioner
US12467641B2 (en) 2020-07-27 2025-11-11 Gd Midea Air-Conditioning Equipment Co., Ltd. Portable air conditioner
CN118856432A (en) * 2024-07-17 2024-10-29 青岛海尔空调器有限总公司 Mobile air conditioner

Also Published As

Publication number Publication date
CN112325390B (en) 2022-05-06
CN111735116B (en) 2024-11-22
CN111735116A (en) 2020-10-02

Similar Documents

Publication Publication Date Title
CN216281723U (en) Machine and air conditioner in new trend device, air conditioning
CN212618816U (en) Integrated air conditioner
CN217462659U (en) Centrifugal fan and air conditioner
CN112325390A (en) Mobile air conditioner
CN212299204U (en) Mobile air conditioner
CN213692213U (en) Battery installation device and battery energy storage cabinet
CN210441336U (en) Air conditioner
US12467641B2 (en) Portable air conditioner
CN210035695U (en) an air conditioner
CN218936511U (en) Air conditioner external unit and air conditioner
CN216346781U (en) Desktop air conditioner
CN114337099B (en) Direct-connection air cooling device for self-cleaning wind driven generator
CN215909230U (en) Air duct volute and air conditioner with same
CN119116647A (en) Air inlet structure with compensation air outlet and vehicle air conditioner
CN215260475U (en) Rear box body of air conditioner and air conditioner
CN223076986U (en) External machine structure of a refrigeration type range hood
CN218523653U (en) Wall-mounted air conditioner set
CN115682390A (en) Electric control box assembly and air conditioner with same
CN222964056U (en) Outdoor unit of air conditioner
CN222210569U (en) Air conditioner outdoor unit and air conditioner
CN222799176U (en) Air conditioner outdoor unit
CN222522466U (en) Air deflection assembly for vehicle and vehicle
CN222811835U (en) Indoor unit and HVAC equipment
CN215909238U (en) Air conditioner
CN222124064U (en) Combustion heat exchange module and gas water heater

Legal Events

Date Code Title Description
PB01 Publication
PB01 Publication
SE01 Entry into force of request for substantive examination
SE01 Entry into force of request for substantive examination
GR01 Patent grant
GR01 Patent grant