CN112265361B - Printing device for lithium battery surface - Google Patents
Printing device for lithium battery surface Download PDFInfo
- Publication number
- CN112265361B CN112265361B CN202011142225.2A CN202011142225A CN112265361B CN 112265361 B CN112265361 B CN 112265361B CN 202011142225 A CN202011142225 A CN 202011142225A CN 112265361 B CN112265361 B CN 112265361B
- Authority
- CN
- China
- Prior art keywords
- frame
- rod
- printing
- plate
- lithium battery
- Prior art date
- Legal status (The legal status is an assumption and is not a legal conclusion. Google has not performed a legal analysis and makes no representation as to the accuracy of the status listed.)
- Active
Links
- 229910052744 lithium Inorganic materials 0.000 title claims abstract description 42
- WHXSMMKQMYFTQS-UHFFFAOYSA-N Lithium Chemical compound [Li] WHXSMMKQMYFTQS-UHFFFAOYSA-N 0.000 title claims abstract description 41
- 230000000903 blocking effect Effects 0.000 claims description 5
- 239000000463 material Substances 0.000 claims description 3
- 238000004519 manufacturing process Methods 0.000 abstract description 4
- 238000009434 installation Methods 0.000 abstract description 3
- 238000010586 diagram Methods 0.000 description 8
- 239000003973 paint Substances 0.000 description 5
- 238000000034 method Methods 0.000 description 3
- 229910000733 Li alloy Inorganic materials 0.000 description 1
- HBBGRARXTFLTSG-UHFFFAOYSA-N Lithium ion Chemical compound [Li+] HBBGRARXTFLTSG-UHFFFAOYSA-N 0.000 description 1
- 239000010405 anode material Substances 0.000 description 1
- 230000009286 beneficial effect Effects 0.000 description 1
- 229940021013 electrolyte solution Drugs 0.000 description 1
- 239000001989 lithium alloy Substances 0.000 description 1
- 229910001416 lithium ion Inorganic materials 0.000 description 1
- 239000011255 nonaqueous electrolyte Substances 0.000 description 1
- 230000009466 transformation Effects 0.000 description 1
Images
Classifications
-
- B—PERFORMING OPERATIONS; TRANSPORTING
- B41—PRINTING; LINING MACHINES; TYPEWRITERS; STAMPS
- B41F—PRINTING MACHINES OR PRESSES
- B41F17/00—Printing apparatus or machines of special types or for particular purposes, not otherwise provided for
-
- B—PERFORMING OPERATIONS; TRANSPORTING
- B67—OPENING, CLOSING OR CLEANING BOTTLES, JARS OR SIMILAR CONTAINERS; LIQUID HANDLING
- B67D—DISPENSING, DELIVERING OR TRANSFERRING LIQUIDS, NOT OTHERWISE PROVIDED FOR
- B67D3/00—Apparatus or devices for controlling flow of liquids under gravity from storage containers for dispensing purposes
-
- H—ELECTRICITY
- H01—ELECTRIC ELEMENTS
- H01M—PROCESSES OR MEANS, e.g. BATTERIES, FOR THE DIRECT CONVERSION OF CHEMICAL ENERGY INTO ELECTRICAL ENERGY
- H01M10/00—Secondary cells; Manufacture thereof
- H01M10/54—Reclaiming serviceable parts of waste accumulators
-
- H—ELECTRICITY
- H01—ELECTRIC ELEMENTS
- H01M—PROCESSES OR MEANS, e.g. BATTERIES, FOR THE DIRECT CONVERSION OF CHEMICAL ENERGY INTO ELECTRICAL ENERGY
- H01M6/00—Primary cells; Manufacture thereof
- H01M6/005—Devices for making primary cells
-
- H—ELECTRICITY
- H01—ELECTRIC ELEMENTS
- H01M—PROCESSES OR MEANS, e.g. BATTERIES, FOR THE DIRECT CONVERSION OF CHEMICAL ENERGY INTO ELECTRICAL ENERGY
- H01M6/00—Primary cells; Manufacture thereof
- H01M6/14—Cells with non-aqueous electrolyte
-
- Y—GENERAL TAGGING OF NEW TECHNOLOGICAL DEVELOPMENTS; GENERAL TAGGING OF CROSS-SECTIONAL TECHNOLOGIES SPANNING OVER SEVERAL SECTIONS OF THE IPC; TECHNICAL SUBJECTS COVERED BY FORMER USPC CROSS-REFERENCE ART COLLECTIONS [XRACs] AND DIGESTS
- Y02—TECHNOLOGIES OR APPLICATIONS FOR MITIGATION OR ADAPTATION AGAINST CLIMATE CHANGE
- Y02W—CLIMATE CHANGE MITIGATION TECHNOLOGIES RELATED TO WASTEWATER TREATMENT OR WASTE MANAGEMENT
- Y02W30/00—Technologies for solid waste management
- Y02W30/50—Reuse, recycling or recovery technologies
- Y02W30/84—Recycling of batteries or fuel cells
Landscapes
- Engineering & Computer Science (AREA)
- Manufacturing & Machinery (AREA)
- Chemical & Material Sciences (AREA)
- Chemical Kinetics & Catalysis (AREA)
- Electrochemistry (AREA)
- General Chemical & Material Sciences (AREA)
- Mechanical Engineering (AREA)
- Battery Electrode And Active Subsutance (AREA)
Abstract
本发明涉及一种印刷装置,尤其涉及一种锂电池表面用的印刷装置。本发明要解决的技术问题为:提供一种可适应多种型号的锂电池表面用的印刷装置。一种锂电池表面用的印刷装置,包括有:机架,机架的两侧均设有滑槽;安装板,安装在机架上;驱动组件,安装在安装板上;印刷组件,安装在机架上。本发明带有卡紧组件,可以进行更换新的模板,并且能够卡紧模板,使得模板不会松动,防止印刷产生变形;本发明带有推动组件,能够防止印刷板移动至边缘时与机架接触,导致印刷板损坏;本发明带有调节组件,能够使装置适应不同型号的电池,使得企业进行多样化生产。
The invention relates to a printing device, in particular to a printing device for the surface of a lithium battery. The technical problem to be solved by the present invention is to provide a printing device suitable for the surface of lithium batteries of various types. A printing device used on the surface of a lithium battery, comprising: a frame, on which both sides of the frame are provided with chute; a mounting plate, installed on the frame; a driving component, installed on the installation plate; a printing component, installed on the on the rack. The present invention is provided with a clamping assembly, which can be replaced with a new template, and can clamp the template, so that the template will not be loosened and prevent printing from being deformed; contact, resulting in damage to the printed board; the present invention is provided with adjustment components, which can make the device adapt to different types of batteries, enabling enterprises to carry out diversified production.
Description
技术领域technical field
本发明涉及一种印刷装置,尤其涉及一种锂电池表面用的印刷装置。The invention relates to a printing device, in particular to a printing device for the surface of a lithium battery.
背景技术Background technique
锂电池是以锂金属或锂合金为阳极材料,使用非水电解质溶液的电池。锂电池与锂离子电池不一样的是,前者是一次电池,后者是充电电池。生产锂电池时,需要对生产出的锂电池进行印刷,使购买者能够知道锂电池的型号以及其它信息。Lithium batteries are batteries that use lithium metal or lithium alloys as anode materials and use non-aqueous electrolyte solutions. The difference between lithium batteries and lithium ion batteries is that the former is a primary battery and the latter is a rechargeable battery. When producing lithium batteries, it is necessary to print the produced lithium batteries so that buyers can know the model and other information of the lithium batteries.
目前的锂电池表面用的印刷装置,只能进行印刷一种型号的锂电池,当要换型号生产时便需要更换设备,不利于企业的多样化生产,导致企业产品单一,容易被市场淘汰,不利于企业的可持续发展。The current printing device used on the surface of lithium batteries can only print one type of lithium battery. When the model needs to be changed, the equipment needs to be replaced, which is not conducive to the diversified production of enterprises, resulting in single products of enterprises, which are easy to be eliminated by the market. Not conducive to the sustainable development of enterprises.
因此需要设计一种可适应多种型号的锂电池表面用的印刷装置。Therefore, it is necessary to design a printing device for the surface of lithium batteries that can adapt to various types.
发明内容SUMMARY OF THE INVENTION
为了克服目前装置只能进行印刷一种型号的锂电池,不利于企业的多样化生产、容易被市场淘汰、不利于企业的可持续发展的缺点,要解决的技术问题为:提供一种可适应多种型号的锂电池表面用的印刷装置。In order to overcome the shortcomings that the current device can only print one type of lithium battery, which is not conducive to the diversified production of enterprises, is easily eliminated by the market, and is not conducive to the sustainable development of enterprises, the technical problem to be solved is: to provide an adaptable Printing devices for the surface of various types of lithium batteries.
本发明的技术方案为:一种锂电池表面用的印刷装置,包括有:机架,机架的两侧均设有滑槽;安装板,安装在机架上;驱动组件,安装在安装板上;印刷组件,安装在机架上。The technical scheme of the present invention is: a printing device for the surface of a lithium battery, comprising: a frame, with sliding grooves on both sides of the frame; an installation plate, installed on the frame; and a drive assembly, installed on the installation plate on; printed assembly, mounted on the rack.
在其中一个实施例中,驱动组件包括有:减速电机,安装在安装板上;圆筒,安装在减速电机的输出轴上,圆筒上开有V型槽。In one embodiment, the drive assembly includes: a deceleration motor, which is mounted on the mounting plate; a cylinder, which is mounted on the output shaft of the deceleration motor, and a V-shaped groove is formed on the cylinder.
在其中一个实施例中,印刷组件包括有:滑轨,安装在机架上;第一异型杆,滑动式安装在滑轨上,第一异型杆与V型槽配合;第一导轨,滑动式安装在第一异型杆两侧;连接杆,均安装在第一导轨上;印刷板,安装在两侧连接杆之间;模板,滑动式安装在机架上,模板与印刷板配合。In one embodiment, the printing assembly includes: a sliding rail, mounted on the frame; a first special-shaped rod, slidably installed on the sliding rail, the first special-shaped rod is matched with the V-shaped groove; the first guide rail, sliding type It is installed on both sides of the first special-shaped rod; the connecting rods are installed on the first guide rail; the printing plate is installed between the connecting rods on both sides;
在其中一个实施例中,还包括有放置组件,放置组件包括有:放置板,滑动式安装在滑槽之间;第二导轨,滑动式安装在第一异型杆上;阻挡板,安装在第二导轨上;直角杆,安装在第二导轨上;滑杆,滑动式安装在直角杆两侧;楔形块,安装在滑杆上,楔形块与放置板配合;第一弹簧,安装在滑杆与直角杆之间。In one of the embodiments, a placing assembly is further included, and the placing assembly includes: a placing plate, which is slidably installed between the chutes; a second guide rail, which is slidably installed on the first special-shaped rod; Two guide rails; right-angle rod, installed on the second guide rail; sliding rod, slidingly installed on both sides of the right-angle rod; wedge-shaped block, installed on the sliding rod, the wedge-shaped block cooperates with the placing plate; the first spring, installed on the sliding rod between the right angle bar.
在其中一个实施例中,还包括有卡紧组件,卡紧组件包括有:横杆,滑动式安装在机架两侧;卡块,安装在横杆上;第二弹簧,安装在横杆与机架之间。In one of the embodiments, a clamping component is also included, and the clamping component includes: a cross bar, which is slidably installed on both sides of the rack; a clamping block, which is installed on the cross bar; and a second spring, which is installed on the cross bar and the cross bar. between racks.
在其中一个实施例中,还包括有推动组件,推动组件包括有:第三弹簧,安装在第一异型杆与第一导轨之间;楔形架,安装在机架上。In one of the embodiments, a push assembly is further included, and the push assembly includes: a third spring, installed between the first special-shaped rod and the first guide rail; and a wedge-shaped frame, installed on the frame.
在其中一个实施例中,还包括有下料组件,下料组件包括有:支撑架,安装在机架上;储料框,安装在支撑架上;方形框,安装在储料框上;横板,滑动式安装在方形框内,横板上开有出料孔;第四弹簧,安装在横板两侧与储料框之间;第二异型杆,安装在横板上;凸块,安装在圆筒上,第二异型杆与凸块配合;软管,安装在方形框与印刷板之间,软管与出料孔配合。In one embodiment, it also includes a blanking assembly, and the blanking assembly includes: a support frame, which is installed on the rack; a storage frame, which is installed on the support frame; a square frame, which is installed on the storage frame; The plate is slidably installed in the square frame, and there are discharge holes on the horizontal plate; the fourth spring is installed between the two sides of the horizontal plate and the storage frame; the second special-shaped rod is installed on the horizontal plate; It is installed on the cylinder, and the second special-shaped rod is matched with the convex block; the hose is installed between the square frame and the printing board, and the hose is matched with the discharge hole.
在其中一个实施例中,还包括有调节组件,调节组件包括有:螺母,安装在放置板上;丝杆,转动式安装在机架上,丝杆与螺母通过螺纹相连接;握把,安装在丝杆上。In one of the embodiments, an adjustment assembly is also included, and the adjustment assembly includes: a nut, which is installed on the placing plate; a screw rod, which is rotatably installed on the frame, and the screw rod and the nut are connected by threads; a handle, which is installed on the lead screw.
本发明的有益效果:1、本发明带有卡紧组件,可以进行更换新的模板,并且能够卡紧模板,使得模板不会松动,防止印刷产生变形。Beneficial effects of the present invention: 1. The present invention is provided with a clamping assembly, which can replace a new template, and can clamp the template, so that the template will not be loosened, and the deformation of printing can be prevented.
2、本发明带有推动组件,能够防止印刷板移动至边缘时与机架接触,导致印刷板损坏。2. The present invention is provided with a push assembly, which can prevent the printed board from contacting the frame when it moves to the edge, resulting in damage to the printed board.
3、本发明带有调节组件,能够使装置适应不同型号的电池,使得企业进行多样化生产。3. The present invention is provided with adjustment components, which can make the device adapt to different types of batteries and enable enterprises to carry out diversified production.
附图说明Description of drawings
图1为本发明的立体结构示意图。FIG. 1 is a schematic diagram of the three-dimensional structure of the present invention.
图2为本发明驱动组件的立体结构示意图。FIG. 2 is a schematic three-dimensional structure diagram of the drive assembly of the present invention.
图3为本发明印刷组件的立体结构示意图。FIG. 3 is a schematic three-dimensional structure diagram of the printing assembly of the present invention.
图4为本发明放置组件的立体结构示意图。FIG. 4 is a schematic three-dimensional structure diagram of a placement component of the present invention.
图5为本发明卡紧组件的立体结构示意图。FIG. 5 is a schematic three-dimensional structure diagram of the clamping assembly of the present invention.
图6为本发明推动组件的立体结构示意图。FIG. 6 is a schematic three-dimensional structure diagram of the push assembly of the present invention.
图7为本发明下料组件的立体结构示意图。FIG. 7 is a schematic three-dimensional structure diagram of the blanking assembly of the present invention.
图8为本发明调节组件的立体结构示意图。FIG. 8 is a schematic three-dimensional structure diagram of the adjusting assembly of the present invention.
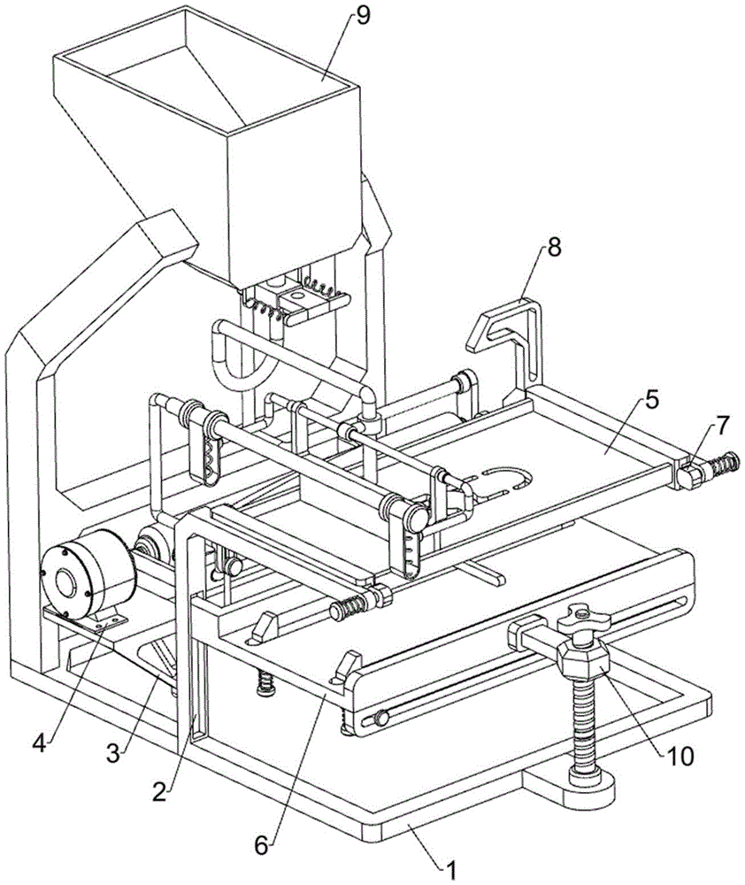
附图标号:1_机架,2_滑槽,3_安装板,4_驱动组件,41_减速电机,42_圆筒,43_V型槽,5_印刷组件,51_滑轨,52_第一异型杆,53_第一导轨,54_连接杆,55_印刷板,56_模板,6_放置组件,61_放置板,62_第二导轨,63_阻挡板,64_直角杆,65_滑杆,66_楔形块,67_第一弹簧,7_卡紧组件,71_横杆,72_卡块,73_第二弹簧,8_推动组件,81_第三弹簧,82_楔形架,9_下料组件,91_支撑架,92_储料框,93_方形框,94_横板,95_出料孔,96_第四弹簧,97_第二异型杆,98_凸块,99_软管,10_调节组件,101_螺母,102_丝杆,103_握把。Reference number: 1_frame, 2_chutes, 3_mounting plate, 4_drive assembly, 41_gearmotor, 42_cylinder, 43_V-groove, 5_printing assembly, 51_slide rail, 52_ 1st profile bar, 53_1st rail, 54_connecting bar, 55_printing board, 56_template, 6_placement assembly, 61_placement plate, 62_2nd rail, 63_blocking plate, 64_right angle bar , 65_slide bar, 66_wedge, 67_first spring, 7_clamp assembly, 71_crossbar, 72_clamp, 73_second spring, 8_push assembly, 81_third spring, 82_ wedge frame, 9_ blanking assembly, 91_ support frame, 92_ storage frame, 93_ square frame, 94_ horizontal plate, 95_ discharge hole, 96_ fourth spring, 97_ second special-shaped rod , 98_bump, 99_hose, 10_adjustment assembly, 101_nut, 102_screw, 103_grip.
具体实施方式Detailed ways
下面结合附图和具体实施方式对本发明进一步说明。The present invention will be further described below with reference to the accompanying drawings and specific embodiments.
实施例1Example 1
一种锂电池表面用的印刷装置,如图1-3所示,包括有机架1、安装板3、驱动组件4和印刷组件5,机架1的中部前后两侧均设有滑槽2,机架1的前侧通过螺栓固接有安装板3,安装板3的上侧安装有驱动组件4,机架1的右部上侧安装有印刷组件5。A printing device for the surface of a lithium battery, as shown in Figures 1-3, includes a
当要印刷锂电池时,将锂电池放在印刷组件5下,然后将涂料涂在印刷组件5上,启动驱动组件4,驱动组件4便会带动印刷组件5进行运作,同时控制锂电池在印刷组件5下转动,印刷组件5便会对锂电池进行印刷,然后重复上述操作印刷另一个锂电池,当所有锂电池印刷完毕后,关闭驱动组件4,装置停止运作。When printing the lithium battery, put the lithium battery under the
驱动组件4包括有减速电机41和圆筒42,安装板3的上侧通过螺栓固接有减速电机41,减速电机41的输出轴上安装有圆筒42,圆筒42同时与机架1转动式连接,圆筒42上开有V型槽43。The drive assembly 4 includes a
当要印刷锂电池时,启动减速电机41,从而会带动圆筒42进行旋转,印刷组件5便会与圆筒42上的V型槽43配合,从而使得印刷组件5开始运作,当所有锂电池印刷完毕后,关闭减速电机41,装置停止运作。When the lithium battery is to be printed, the
印刷组件5包括有滑轨51、第一异型杆52、第一导轨53、连接杆54、印刷板55和模板56,机架1上侧安装有滑轨51,滑轨51上滑动式设有第一异型杆52,第一异型杆52与V型槽43配合,第一异型杆52的左右两侧均滑动式安装有第一导轨53,第一导轨53的后侧均连接有连接杆54,连接杆54之间安装有印刷板55,机架1的上侧滑动式安装有模板56,模板56与印刷板55配合。The
启动减速电机41,使得圆筒42进行旋转,从而在V型槽43的作用下使得第一异型杆52进行移动,从而带动第一导轨53、连接杆54和印刷板55一起进行移动,从而对锂电池进行印刷,当所有锂电池印刷完毕后,关闭减速电机41,装置停止运作。Start the
实施例2Example 2
在实施例1的基础之上,如图1、图4、图5、图6、图7和图8所示,还包括有放置组件6,放置组件6包括有放置板61、第二导轨62、阻挡板63、直角杆64、滑杆65、楔形块66和第一弹簧67,滑槽2之间滑动式设有放置板61,第一异型杆52上滑动式连接有第二导轨62,第二导轨62的后侧连接有阻挡板63,第二导轨62的下侧连接有直角杆64,直角杆64的左右两侧均滑动式安装有滑杆65,滑杆65的上侧焊接有楔形块66,楔形块66与放置板61配合,滑杆65与直角杆64之间连接有第一弹簧67。On the basis of
控制锂电池在放置板61上进行滚动,当锂电池与楔形块66接触时,楔形块66向下进行移动,此时第一弹簧67被拉伸,当锂电池移动至不与楔形块66接触时,第一弹簧67回缩带动楔形块66复位,此时阻挡板63挡住锂电池,启动减速电机41,带动印刷板55在模板56上进行移动,同时带动第二导轨62、阻挡板63、直角杆64、滑杆65、楔形块66和第一弹簧67进行移动,从而推动锂电池在放置板61上移动,此时涂料刚好涂在模板56上,从而使涂料通过模板56印刷在锂电池上,印刷后取出锂电池,然后放置新的锂电池,重复上述过程,当所有锂电池印刷完毕后,关闭减速电机41,装置停止运作。The lithium battery is controlled to roll on the
还包括有卡紧组件7,卡紧组件7包括有横杆71、卡块72和第二弹簧73,机架1的右部前后两侧均滑动式设有横杆71,横杆71的内侧均焊接有卡块72,横杆71与机架1之间均连接有第二弹簧73。It also includes a clamping assembly 7. The clamping assembly 7 includes a
当要换个模板56印刷时,拉动两侧横杆71向外侧移动,使得两侧卡块72向外侧移动,此时第二弹簧73被拉伸,进而可以将旧模板56拿出换上新模板56,当模板56换好后,不再控制两侧横杆71,第二弹簧73回缩带动横杆71和卡块72复位重新卡住模板56。When a
还包括有推动组件8,推动组件8包括有第三弹簧81和楔形架82,第一异型杆52与第一导轨53之间连接有第三弹簧81,机架1的后部上侧通过螺栓固接有楔形架82。It also includes a push assembly 8, the push assembly 8 includes a
启动减速电机41,会使得连接杆54进行移动,当连接杆54与楔形架82接触时,连接杆54会向上移动,从而带动第一导轨53向上移动,此时第三弹簧81被压缩,此时印刷板55向上移动,使得印刷板55移动至边缘时不会被机架1挡住,当连接杆54开始复位,移动至不与楔形架82接触时,第三弹簧81回弹带动第一导轨53复位。Actuating the
还包括有下料组件9,下料组件9包括有支撑架91、储料框92、方形框93、横板94、第四弹簧96、第二异型杆97、凸块98和软管99,机架1左部焊接有支撑架91,支撑架91上安装有储料框92,储料框92的下侧设有方形框93,方形框93内滑动式安装有横板94,横板94上开有出料孔95,横板94前后两侧与储料框92之间均连接有第四弹簧96,横板94的左部下侧连接有第二异型杆97,圆筒42的后侧焊接有凸块98,第二异型杆97与凸块98配合,方形框93与印刷板55之间连接有软管99,软管99与出料孔95配合。Also includes a blanking assembly 9, the blanking assembly 9 includes a
当要印刷锂电池时,可将涂料倒入储料框92中,启动减速电机41,便会使得圆筒42进行旋转,从而带动凸块98进行旋转,当凸块98的较长端与第二异型杆97接触时,从而会使第二异型杆97向左移动,从而会带动横板94进行移动,此时第四弹簧96被压缩,当出料孔95与软管99对应时,涂料便会从储料框92中通过出料孔95流进软管99内,再经软管99流出,当凸块98的较短端与第二异型杆97接触时,第四弹簧96回弹会带动横板94复位,使得出料孔95不与软管99对应从而停止下料,横板94复位便会带动第二异型杆97复位。When the lithium battery is to be printed, the paint can be poured into the
还包括有调节组件10,调节组件10包括有螺母101、丝杆102和握把103,放置板61的右侧连接有螺母101,机架1的右侧转动式连接有丝杆102,丝杆102与螺母101通过螺纹相连接,丝杆102的上侧焊接有握把103。It also includes an
当需要印刷不同型号电池时,可以用手拧动握把103,使得丝杆102进行旋转,从而调节螺母101在丝杆102上的位置,从而调节放置板61的高度,从而适应不同型号的电池。When different types of batteries need to be printed, the
以上所述仅为本发明的实施例,并非因此限制本发明的专利范围,凡是利用本发明说明书内容所作的等效结构或等效流程变换,或直接或间接运用在其它相关的技术领域,均同理包括在本发明的专利保护范围内。The above descriptions are only the embodiments of the present invention, and are not intended to limit the scope of the present invention. Any equivalent structure or equivalent process transformation made by using the contents of the description of the present invention, or directly or indirectly applied in other related technical fields, will be Similarly, it is included in the scope of patent protection of the present invention.
Claims (5)
Priority Applications (1)
| Application Number | Priority Date | Filing Date | Title |
|---|---|---|---|
| CN202011142225.2A CN112265361B (en) | 2020-10-23 | 2020-10-23 | Printing device for lithium battery surface |
Applications Claiming Priority (1)
| Application Number | Priority Date | Filing Date | Title |
|---|---|---|---|
| CN202011142225.2A CN112265361B (en) | 2020-10-23 | 2020-10-23 | Printing device for lithium battery surface |
Publications (2)
| Publication Number | Publication Date |
|---|---|
| CN112265361A CN112265361A (en) | 2021-01-26 |
| CN112265361B true CN112265361B (en) | 2022-05-20 |
Family
ID=74341817
Family Applications (1)
| Application Number | Title | Priority Date | Filing Date |
|---|---|---|---|
| CN202011142225.2A Active CN112265361B (en) | 2020-10-23 | 2020-10-23 | Printing device for lithium battery surface |
Country Status (1)
| Country | Link |
|---|---|
| CN (1) | CN112265361B (en) |
Families Citing this family (3)
| Publication number | Priority date | Publication date | Assignee | Title |
|---|---|---|---|---|
| CN113400824A (en) * | 2021-06-24 | 2021-09-17 | 南通漫游通艺术包装有限公司 | Rapid silk-screen printing process |
| CN115534508B (en) * | 2022-05-24 | 2024-07-05 | 黄雪玉 | Portable printing equipment of outer wall slogan for building site |
| CN114851696B (en) * | 2022-05-24 | 2023-07-04 | 鹰潭市普利逊精密科技有限公司 | Cell-phone shell surface pattern printing device |
Citations (17)
| Publication number | Priority date | Publication date | Assignee | Title |
|---|---|---|---|---|
| GB1527231A (en) * | 1975-07-08 | 1978-10-04 | Kammann Maschf W | Screen printing apparatus |
| CN101003199A (en) * | 2006-01-17 | 2007-07-25 | 雅马哈发动机株式会社 | Half-tone screen device |
| CN201253985Y (en) * | 2008-07-24 | 2009-06-10 | 深圳市鑫众塑料包装机械有限公司 | Full-automatic glass bottle silk screen printing machine |
| CN101767483A (en) * | 2010-02-01 | 2010-07-07 | 常州杰盟鞋业有限公司 | Printing head of decorating machine |
| CN101850649A (en) * | 2009-03-30 | 2010-10-06 | 松下电器产业株式会社 | Screen printing machine and automatic screen exchange method |
| CN104309275A (en) * | 2014-10-21 | 2015-01-28 | 重庆凯隆模具塑胶有限公司 | Printing tool applicable to different product specifications |
| CN107031171A (en) * | 2016-02-04 | 2017-08-11 | 天津新特印刷有限公司 | Silk-screen printing device with ink feeding mechanism |
| CN107187184A (en) * | 2017-06-21 | 2017-09-22 | 明珠家具股份有限公司 | Screen printing machine for printing patterns on surface of workpiece |
| CN107757081A (en) * | 2017-11-29 | 2018-03-06 | 长泰朗德机械设备有限公司 | A kind of full-automatic screen printer applied widely for flexography |
| CN208020930U (en) * | 2018-03-29 | 2018-10-30 | 成都市天目电子设备有限公司 | A kind of character printer for manufacturing pcb board |
| CN109291630A (en) * | 2018-11-26 | 2019-02-01 | 嘉兴成杰服饰有限公司 | A screen plate for easy pattern replacement |
| CN208484363U (en) * | 2018-06-22 | 2019-02-12 | 深圳市鼎恒丰科技有限公司 | A kind of frock clamp of aluminum products screen process press |
| CN208842010U (en) * | 2018-09-18 | 2019-05-10 | 杭州现代彩色印刷有限公司 | A kind of mechanical screen process press of oblique arm type being conveniently replaceable template |
| CN110077100A (en) * | 2019-06-14 | 2019-08-02 | 河南桐裕印务有限公司 | A kind of screen printer is to version mechanism |
| CN209534441U (en) * | 2018-11-26 | 2019-10-25 | 樱海标识制造(上海)有限公司 | A kind of silk-screen plate being convenient for changing pattern |
| CN110435291A (en) * | 2019-08-28 | 2019-11-12 | 安徽迎驾贡酒股份有限公司 | A kind of bottle silk-screen positioning all-in-one machine |
| CN110843332A (en) * | 2019-12-02 | 2020-02-28 | 厦门恰乐文具有限公司 | Carton printing device capable of automatically adding ink at regular time |
Family Cites Families (1)
| Publication number | Priority date | Publication date | Assignee | Title |
|---|---|---|---|---|
| KR100637386B1 (en) * | 2005-02-17 | 2006-10-20 | 장도영 | Screen printing device for circular prints |
-
2020
- 2020-10-23 CN CN202011142225.2A patent/CN112265361B/en active Active
Patent Citations (17)
| Publication number | Priority date | Publication date | Assignee | Title |
|---|---|---|---|---|
| GB1527231A (en) * | 1975-07-08 | 1978-10-04 | Kammann Maschf W | Screen printing apparatus |
| CN101003199A (en) * | 2006-01-17 | 2007-07-25 | 雅马哈发动机株式会社 | Half-tone screen device |
| CN201253985Y (en) * | 2008-07-24 | 2009-06-10 | 深圳市鑫众塑料包装机械有限公司 | Full-automatic glass bottle silk screen printing machine |
| CN101850649A (en) * | 2009-03-30 | 2010-10-06 | 松下电器产业株式会社 | Screen printing machine and automatic screen exchange method |
| CN101767483A (en) * | 2010-02-01 | 2010-07-07 | 常州杰盟鞋业有限公司 | Printing head of decorating machine |
| CN104309275A (en) * | 2014-10-21 | 2015-01-28 | 重庆凯隆模具塑胶有限公司 | Printing tool applicable to different product specifications |
| CN107031171A (en) * | 2016-02-04 | 2017-08-11 | 天津新特印刷有限公司 | Silk-screen printing device with ink feeding mechanism |
| CN107187184A (en) * | 2017-06-21 | 2017-09-22 | 明珠家具股份有限公司 | Screen printing machine for printing patterns on surface of workpiece |
| CN107757081A (en) * | 2017-11-29 | 2018-03-06 | 长泰朗德机械设备有限公司 | A kind of full-automatic screen printer applied widely for flexography |
| CN208020930U (en) * | 2018-03-29 | 2018-10-30 | 成都市天目电子设备有限公司 | A kind of character printer for manufacturing pcb board |
| CN208484363U (en) * | 2018-06-22 | 2019-02-12 | 深圳市鼎恒丰科技有限公司 | A kind of frock clamp of aluminum products screen process press |
| CN208842010U (en) * | 2018-09-18 | 2019-05-10 | 杭州现代彩色印刷有限公司 | A kind of mechanical screen process press of oblique arm type being conveniently replaceable template |
| CN109291630A (en) * | 2018-11-26 | 2019-02-01 | 嘉兴成杰服饰有限公司 | A screen plate for easy pattern replacement |
| CN209534441U (en) * | 2018-11-26 | 2019-10-25 | 樱海标识制造(上海)有限公司 | A kind of silk-screen plate being convenient for changing pattern |
| CN110077100A (en) * | 2019-06-14 | 2019-08-02 | 河南桐裕印务有限公司 | A kind of screen printer is to version mechanism |
| CN110435291A (en) * | 2019-08-28 | 2019-11-12 | 安徽迎驾贡酒股份有限公司 | A kind of bottle silk-screen positioning all-in-one machine |
| CN110843332A (en) * | 2019-12-02 | 2020-02-28 | 厦门恰乐文具有限公司 | Carton printing device capable of automatically adding ink at regular time |
Also Published As
| Publication number | Publication date |
|---|---|
| CN112265361A (en) | 2021-01-26 |
Similar Documents
| Publication | Publication Date | Title |
|---|---|---|
| CN112265361B (en) | Printing device for lithium battery surface | |
| DE112011104765T5 (en) | The pole sheet laser cutting machine | |
| CN112642887B (en) | Full-automatic plate bending method | |
| CN111146518A (en) | A kind of pole ear shaping jig and forming equipment | |
| CN204913124U (en) | General welding device of fork truck outer mast | |
| CN104985023B (en) | Chaff apparatus for shaping led by capacitor | |
| CN209071796U (en) | Wire rod assembly machine | |
| CN206779201U (en) | A kind of battery cover board connection sheet apparatus for bending | |
| CN205092157U (en) | Capacitor Automatic Forming Machine | |
| CN118023596A (en) | Pendulum shear equipment with zigzag cutter | |
| CN106392431B (en) | Interconnection bar positioning device for photovoltaic cell series welding | |
| CN221516680U (en) | General welding compresses tightly tool and welding machine | |
| CN115846510A (en) | Bending and flattening device and method for soft-package lithium ion battery pack tab | |
| CN207868294U (en) | Cell fixture pressurization mechanism | |
| CN209764583U (en) | Arc adjusting device for liquid crystal glass substrate | |
| CN208643738U (en) | A kind of quick bending equipment of safety cabinet shell | |
| CN215239105U (en) | Horizontal press-fitting and code-printing integrated machine | |
| CN216655963U (en) | Large punch capable of being quickly positioned | |
| CN202062646U (en) | Rubber wrapping equipment | |
| CN219093264U (en) | Bending device for special-shaped workpiece | |
| CN221890680U (en) | A stamping device for automobile parts | |
| CN222243702U (en) | Plate punching, clamping and fixing tool | |
| CN114918281B (en) | Transformer clamp bending device | |
| CN221187343U (en) | External screening equipment for injection molding machine | |
| CN119216744B (en) | A cap welding device for lithium battery production |
Legal Events
| Date | Code | Title | Description |
|---|---|---|---|
| PB01 | Publication | ||
| PB01 | Publication | ||
| SE01 | Entry into force of request for substantive examination | ||
| SE01 | Entry into force of request for substantive examination | ||
| TA01 | Transfer of patent application right | ||
| TA01 | Transfer of patent application right |
Effective date of registration: 20220429 Address after: 257000 Room 203, No. 28, Dongqi Road, Dongying District, Dongying City, Shandong Province Applicant after: Dongying Kunyu Power Supply Technology Co.,Ltd. Applicant after: Shenzhen Guangyu Power Technology Co.,Ltd. Address before: 4 / F, No.1 Factory building, Zhongchuang base, caidu hi tech Industrial Zone, Linchuan District, Fuzhou City, Jiangxi Province Applicant before: Jiangxi tengshiyou new energy Co.,Ltd. |
|
| GR01 | Patent grant | ||
| GR01 | Patent grant | ||
| CP01 | Change in the name or title of a patent holder | ||
| CP01 | Change in the name or title of a patent holder |
Address after: 257000 Room 203, No. 28, Dongqi Road, Dongying District, Dongying City, Shandong Province Patentee after: Dongying Kunyu Power Supply Technology Co.,Ltd. Patentee after: Shenzhen Kunyu Power Technology Co.,Ltd. Address before: 257000 Room 203, No. 28, Dongqi Road, Dongying District, Dongying City, Shandong Province Patentee before: Dongying Kunyu Power Supply Technology Co.,Ltd. Patentee before: Shenzhen Guangyu Power Technology Co.,Ltd. |
|
| CP03 | Change of name, title or address | ||
| CP03 | Change of name, title or address |
Address after: 257000 Room 203, No. 28, Dongqi Road, Dongying District, Dongying City, Shandong Province Patentee after: Kunyu Power Supply Co.,Ltd. Country or region after: China Patentee after: Shenzhen Kunyu Power Technology Co.,Ltd. Address before: 257000 Room 203, No. 28, Dongqi Road, Dongying District, Dongying City, Shandong Province Patentee before: Dongying Kunyu Power Supply Technology Co.,Ltd. Country or region before: China Patentee before: Shenzhen Kunyu Power Technology Co.,Ltd. |
|
| TR01 | Transfer of patent right | ||
| TR01 | Transfer of patent right |
Effective date of registration: 20240716 Address after: 415000, No.4 Songlin Road, Sujiadu Community, Zhangmuqiao Street, Changde Economic and Technological Development Zone, Hunan Province (Graphene Industrial Park) Patentee after: Changde Kunyu New Energy Technology Co.,Ltd. Country or region after: China Patentee after: Shenzhen Kunyu Power Technology Co.,Ltd. Address before: 257000 Room 203, No. 28, Dongqi Road, Dongying District, Dongying City, Shandong Province Patentee before: Kunyu Power Supply Co.,Ltd. Country or region before: China Patentee before: Shenzhen Kunyu Power Technology Co.,Ltd. |
|
| PE01 | Entry into force of the registration of the contract for pledge of patent right | ||
| PE01 | Entry into force of the registration of the contract for pledge of patent right |
Denomination of invention: A printing device for the surface of lithium batteries Granted publication date: 20220520 Pledgee: Agricultural Bank of China Limited Changde Dingcheng Branch Pledgor: Changde Kunyu New Energy Technology Co.,Ltd.|Shenzhen Kunyu Power Technology Co.,Ltd. Registration number: Y2025980009821 |
