CN112080963A - A kind of high tenacity wet and dry toilet paper and its processing technology - Google Patents
A kind of high tenacity wet and dry toilet paper and its processing technology Download PDFInfo
- Publication number
- CN112080963A CN112080963A CN202010942125.1A CN202010942125A CN112080963A CN 112080963 A CN112080963 A CN 112080963A CN 202010942125 A CN202010942125 A CN 202010942125A CN 112080963 A CN112080963 A CN 112080963A
- Authority
- CN
- China
- Prior art keywords
- grinding disc
- gear
- motor
- box
- driven
- Prior art date
- Legal status (The legal status is an assumption and is not a legal conclusion. Google has not performed a legal analysis and makes no representation as to the accuracy of the status listed.)
- Withdrawn
Links
- 238000012545 processing Methods 0.000 title claims abstract description 27
- 238000005516 engineering process Methods 0.000 title claims abstract description 10
- 238000003756 stirring Methods 0.000 claims abstract description 81
- 238000012216 screening Methods 0.000 claims abstract description 79
- 239000010902 straw Substances 0.000 claims abstract description 76
- 239000000835 fiber Substances 0.000 claims abstract description 39
- 239000000843 powder Substances 0.000 claims abstract description 37
- 239000002994 raw material Substances 0.000 claims abstract description 25
- 239000003814 drug Substances 0.000 claims abstract description 17
- 229920000742 Cotton Polymers 0.000 claims abstract description 15
- 239000007788 liquid Substances 0.000 claims abstract description 15
- 229920002522 Wood fibre Polymers 0.000 claims abstract description 14
- 239000002025 wood fiber Substances 0.000 claims abstract description 14
- 239000000203 mixture Substances 0.000 claims abstract description 9
- 238000000227 grinding Methods 0.000 claims description 150
- 238000010438 heat treatment Methods 0.000 claims description 54
- 239000002002 slurry Substances 0.000 claims description 42
- XLYOFNOQVPJJNP-UHFFFAOYSA-N water Substances O XLYOFNOQVPJJNP-UHFFFAOYSA-N 0.000 claims description 31
- 238000007670 refining Methods 0.000 claims description 28
- 239000000428 dust Substances 0.000 claims description 17
- 238000005520 cutting process Methods 0.000 claims description 15
- HEMHJVSKTPXQMS-UHFFFAOYSA-M Sodium hydroxide Chemical compound [OH-].[Na+] HEMHJVSKTPXQMS-UHFFFAOYSA-M 0.000 claims description 12
- 238000005325 percolation Methods 0.000 claims description 10
- 238000000034 method Methods 0.000 claims description 9
- 239000000463 material Substances 0.000 claims description 8
- GEHJYWRUCIMESM-UHFFFAOYSA-L sodium sulfite Chemical compound [Na+].[Na+].[O-]S([O-])=O GEHJYWRUCIMESM-UHFFFAOYSA-L 0.000 claims description 8
- 238000004519 manufacturing process Methods 0.000 claims description 6
- 239000011268 mixed slurry Substances 0.000 claims description 6
- 239000003795 chemical substances by application Substances 0.000 claims description 5
- 239000002270 dispersing agent Substances 0.000 claims description 5
- 238000005406 washing Methods 0.000 claims description 5
- 229920001131 Pulp (paper) Polymers 0.000 claims description 4
- 125000000217 alkyl group Chemical group 0.000 claims description 4
- QVGXLLKOCUKJST-UHFFFAOYSA-N atomic oxygen Chemical compound [O] QVGXLLKOCUKJST-UHFFFAOYSA-N 0.000 claims description 4
- 239000012535 impurity Substances 0.000 claims description 4
- 229910052760 oxygen Inorganic materials 0.000 claims description 4
- 239000001301 oxygen Substances 0.000 claims description 4
- 239000012279 sodium borohydride Substances 0.000 claims description 4
- 229910000033 sodium borohydride Inorganic materials 0.000 claims description 4
- 235000010265 sodium sulphite Nutrition 0.000 claims description 4
- 239000000126 substance Substances 0.000 claims description 4
- 238000004140 cleaning Methods 0.000 claims description 3
- 230000003116 impacting effect Effects 0.000 claims description 3
- 238000004537 pulping Methods 0.000 claims 6
- 238000001035 drying Methods 0.000 claims 2
- 238000007789 sealing Methods 0.000 claims 2
- 239000004744 fabric Substances 0.000 claims 1
- 238000001914 filtration Methods 0.000 claims 1
- 238000002156 mixing Methods 0.000 claims 1
- 238000004806 packaging method and process Methods 0.000 claims 1
- 238000002791 soaking Methods 0.000 claims 1
- 238000005303 weighing Methods 0.000 claims 1
- 238000010586 diagram Methods 0.000 description 6
- 238000003825 pressing Methods 0.000 description 3
- 238000007599 discharging Methods 0.000 description 2
- 229940079593 drug Drugs 0.000 description 2
- 238000003912 environmental pollution Methods 0.000 description 2
- 235000017166 Bambusa arundinacea Nutrition 0.000 description 1
- 235000017491 Bambusa tulda Nutrition 0.000 description 1
- 241001330002 Bambuseae Species 0.000 description 1
- 235000015334 Phyllostachys viridis Nutrition 0.000 description 1
- 239000011425 bamboo Substances 0.000 description 1
- 230000009286 beneficial effect Effects 0.000 description 1
- 231100000481 chemical toxicant Toxicity 0.000 description 1
- 238000004891 communication Methods 0.000 description 1
- 238000011161 development Methods 0.000 description 1
- 230000000694 effects Effects 0.000 description 1
- 239000000706 filtrate Substances 0.000 description 1
- 238000009434 installation Methods 0.000 description 1
- 238000010297 mechanical methods and process Methods 0.000 description 1
- 230000010355 oscillation Effects 0.000 description 1
- 230000035699 permeability Effects 0.000 description 1
- 239000000047 product Substances 0.000 description 1
- 238000010298 pulverizing process Methods 0.000 description 1
- 238000005728 strengthening Methods 0.000 description 1
- 239000003440 toxic substance Substances 0.000 description 1
Images
Classifications
-
- D—TEXTILES; PAPER
- D21—PAPER-MAKING; PRODUCTION OF CELLULOSE
- D21H—PULP COMPOSITIONS; PREPARATION THEREOF NOT COVERED BY SUBCLASSES D21C OR D21D; IMPREGNATING OR COATING OF PAPER; TREATMENT OF FINISHED PAPER NOT COVERED BY CLASS B31 OR SUBCLASS D21G; PAPER NOT OTHERWISE PROVIDED FOR
- D21H27/00—Special paper not otherwise provided for, e.g. made by multi-step processes
- D21H27/002—Tissue paper; Absorbent paper
-
- A—HUMAN NECESSITIES
- A01—AGRICULTURE; FORESTRY; ANIMAL HUSBANDRY; HUNTING; TRAPPING; FISHING
- A01F—PROCESSING OF HARVESTED PRODUCE; HAY OR STRAW PRESSES; DEVICES FOR STORING AGRICULTURAL OR HORTICULTURAL PRODUCE
- A01F29/00—Cutting apparatus specially adapted for cutting hay, straw or the like
- A01F29/005—Cutting apparatus specially adapted for cutting hay, straw or the like for disintegrating and cutting up bales of hay, straw or fodder
-
- A—HUMAN NECESSITIES
- A01—AGRICULTURE; FORESTRY; ANIMAL HUSBANDRY; HUNTING; TRAPPING; FISHING
- A01F—PROCESSING OF HARVESTED PRODUCE; HAY OR STRAW PRESSES; DEVICES FOR STORING AGRICULTURAL OR HORTICULTURAL PRODUCE
- A01F29/00—Cutting apparatus specially adapted for cutting hay, straw or the like
- A01F29/02—Cutting apparatus specially adapted for cutting hay, straw or the like having rotating knives with their cutting edges in a plane perpendicular to their rotational axis
- A01F29/04—Cutting apparatus specially adapted for cutting hay, straw or the like having rotating knives with their cutting edges in a plane perpendicular to their rotational axis with feeding direction transverse to axis
-
- A—HUMAN NECESSITIES
- A01—AGRICULTURE; FORESTRY; ANIMAL HUSBANDRY; HUNTING; TRAPPING; FISHING
- A01F—PROCESSING OF HARVESTED PRODUCE; HAY OR STRAW PRESSES; DEVICES FOR STORING AGRICULTURAL OR HORTICULTURAL PRODUCE
- A01F29/00—Cutting apparatus specially adapted for cutting hay, straw or the like
- A01F29/09—Details
-
- A—HUMAN NECESSITIES
- A47—FURNITURE; DOMESTIC ARTICLES OR APPLIANCES; COFFEE MILLS; SPICE MILLS; SUCTION CLEANERS IN GENERAL
- A47K—SANITARY EQUIPMENT NOT OTHERWISE PROVIDED FOR; TOILET ACCESSORIES
- A47K10/00—Body-drying implements; Toilet paper; Holders therefor
- A47K10/16—Paper towels; Toilet paper; Holders therefor
-
- B—PERFORMING OPERATIONS; TRANSPORTING
- B02—CRUSHING, PULVERISING, OR DISINTEGRATING; PREPARATORY TREATMENT OF GRAIN FOR MILLING
- B02C—CRUSHING, PULVERISING, OR DISINTEGRATING IN GENERAL; MILLING GRAIN
- B02C23/00—Auxiliary methods or auxiliary devices or accessories specially adapted for crushing or disintegrating not provided for in preceding groups or not specially adapted to apparatus covered by a single preceding group
- B02C23/08—Separating or sorting of material, associated with crushing or disintegrating
- B02C23/10—Separating or sorting of material, associated with crushing or disintegrating with separator arranged in discharge path of crushing or disintegrating zone
-
- B—PERFORMING OPERATIONS; TRANSPORTING
- B07—SEPARATING SOLIDS FROM SOLIDS; SORTING
- B07B—SEPARATING SOLIDS FROM SOLIDS BY SIEVING, SCREENING, SIFTING OR BY USING GAS CURRENTS; SEPARATING BY OTHER DRY METHODS APPLICABLE TO BULK MATERIAL, e.g. LOOSE ARTICLES FIT TO BE HANDLED LIKE BULK MATERIAL
- B07B1/00—Sieving, screening, sifting, or sorting solid materials using networks, gratings, grids, or the like
- B07B1/28—Moving screens not otherwise provided for, e.g. swinging, reciprocating, rocking, tilting or wobbling screens
-
- B—PERFORMING OPERATIONS; TRANSPORTING
- B07—SEPARATING SOLIDS FROM SOLIDS; SORTING
- B07B—SEPARATING SOLIDS FROM SOLIDS BY SIEVING, SCREENING, SIFTING OR BY USING GAS CURRENTS; SEPARATING BY OTHER DRY METHODS APPLICABLE TO BULK MATERIAL, e.g. LOOSE ARTICLES FIT TO BE HANDLED LIKE BULK MATERIAL
- B07B1/00—Sieving, screening, sifting, or sorting solid materials using networks, gratings, grids, or the like
- B07B1/42—Drive mechanisms, regulating or controlling devices, or balancing devices, specially adapted for screens
-
- D—TEXTILES; PAPER
- D21—PAPER-MAKING; PRODUCTION OF CELLULOSE
- D21B—FIBROUS RAW MATERIALS OR THEIR MECHANICAL TREATMENT
- D21B1/00—Fibrous raw materials or their mechanical treatment
- D21B1/04—Fibrous raw materials or their mechanical treatment by dividing raw materials into small particles, e.g. fibres
- D21B1/12—Fibrous raw materials or their mechanical treatment by dividing raw materials into small particles, e.g. fibres by wet methods, by the use of steam
- D21B1/14—Disintegrating in mills
-
- D—TEXTILES; PAPER
- D21—PAPER-MAKING; PRODUCTION OF CELLULOSE
- D21B—FIBROUS RAW MATERIALS OR THEIR MECHANICAL TREATMENT
- D21B1/00—Fibrous raw materials or their mechanical treatment
- D21B1/04—Fibrous raw materials or their mechanical treatment by dividing raw materials into small particles, e.g. fibres
- D21B1/12—Fibrous raw materials or their mechanical treatment by dividing raw materials into small particles, e.g. fibres by wet methods, by the use of steam
- D21B1/14—Disintegrating in mills
- D21B1/26—Driving or feeding arrangements
-
- D—TEXTILES; PAPER
- D21—PAPER-MAKING; PRODUCTION OF CELLULOSE
- D21C—PRODUCTION OF CELLULOSE BY REMOVING NON-CELLULOSE SUBSTANCES FROM CELLULOSE-CONTAINING MATERIALS; REGENERATION OF PULPING LIQUORS; APPARATUS THEREFOR
- D21C9/00—After-treatment of cellulose pulp, e.g. of wood pulp, or cotton linters ; Treatment of dilute or dewatered pulp or process improvement taking place after obtaining the raw cellulosic material and not provided for elsewhere
- D21C9/10—Bleaching ; Apparatus therefor
- D21C9/1068—Bleaching ; Apparatus therefor with O2
-
- D—TEXTILES; PAPER
- D21—PAPER-MAKING; PRODUCTION OF CELLULOSE
- D21H—PULP COMPOSITIONS; PREPARATION THEREOF NOT COVERED BY SUBCLASSES D21C OR D21D; IMPREGNATING OR COATING OF PAPER; TREATMENT OF FINISHED PAPER NOT COVERED BY CLASS B31 OR SUBCLASS D21G; PAPER NOT OTHERWISE PROVIDED FOR
- D21H11/00—Pulp or paper, comprising cellulose or lignocellulose fibres of natural origin only
-
- D—TEXTILES; PAPER
- D21—PAPER-MAKING; PRODUCTION OF CELLULOSE
- D21H—PULP COMPOSITIONS; PREPARATION THEREOF NOT COVERED BY SUBCLASSES D21C OR D21D; IMPREGNATING OR COATING OF PAPER; TREATMENT OF FINISHED PAPER NOT COVERED BY CLASS B31 OR SUBCLASS D21G; PAPER NOT OTHERWISE PROVIDED FOR
- D21H11/00—Pulp or paper, comprising cellulose or lignocellulose fibres of natural origin only
- D21H11/12—Pulp from non-woody plants or crops, e.g. cotton, flax, straw, bagasse
-
- D—TEXTILES; PAPER
- D21—PAPER-MAKING; PRODUCTION OF CELLULOSE
- D21H—PULP COMPOSITIONS; PREPARATION THEREOF NOT COVERED BY SUBCLASSES D21C OR D21D; IMPREGNATING OR COATING OF PAPER; TREATMENT OF FINISHED PAPER NOT COVERED BY CLASS B31 OR SUBCLASS D21G; PAPER NOT OTHERWISE PROVIDED FOR
- D21H17/00—Non-fibrous material added to the pulp, characterised by its constitution; Paper-impregnating material characterised by its constitution
- D21H17/20—Macromolecular organic compounds
- D21H17/21—Macromolecular organic compounds of natural origin; Derivatives thereof
- D21H17/24—Polysaccharides
-
- D—TEXTILES; PAPER
- D21—PAPER-MAKING; PRODUCTION OF CELLULOSE
- D21H—PULP COMPOSITIONS; PREPARATION THEREOF NOT COVERED BY SUBCLASSES D21C OR D21D; IMPREGNATING OR COATING OF PAPER; TREATMENT OF FINISHED PAPER NOT COVERED BY CLASS B31 OR SUBCLASS D21G; PAPER NOT OTHERWISE PROVIDED FOR
- D21H17/00—Non-fibrous material added to the pulp, characterised by its constitution; Paper-impregnating material characterised by its constitution
- D21H17/63—Inorganic compounds
- D21H17/67—Water-insoluble compounds, e.g. fillers, pigments
- D21H17/675—Oxides, hydroxides or carbonates
-
- D—TEXTILES; PAPER
- D21—PAPER-MAKING; PRODUCTION OF CELLULOSE
- D21H—PULP COMPOSITIONS; PREPARATION THEREOF NOT COVERED BY SUBCLASSES D21C OR D21D; IMPREGNATING OR COATING OF PAPER; TREATMENT OF FINISHED PAPER NOT COVERED BY CLASS B31 OR SUBCLASS D21G; PAPER NOT OTHERWISE PROVIDED FOR
- D21H21/00—Non-fibrous material added to the pulp, characterised by its function, form or properties; Paper-impregnating or coating material, characterised by its function, form or properties
- D21H21/06—Paper forming aids
- D21H21/08—Dispersing agents for fibres
-
- D—TEXTILES; PAPER
- D21—PAPER-MAKING; PRODUCTION OF CELLULOSE
- D21H—PULP COMPOSITIONS; PREPARATION THEREOF NOT COVERED BY SUBCLASSES D21C OR D21D; IMPREGNATING OR COATING OF PAPER; TREATMENT OF FINISHED PAPER NOT COVERED BY CLASS B31 OR SUBCLASS D21G; PAPER NOT OTHERWISE PROVIDED FOR
- D21H21/00—Non-fibrous material added to the pulp, characterised by its function, form or properties; Paper-impregnating or coating material, characterised by its function, form or properties
- D21H21/14—Non-fibrous material added to the pulp, characterised by its function, form or properties; Paper-impregnating or coating material, characterised by its function, form or properties characterised by function or properties in or on the paper
- D21H21/18—Reinforcing agents
- D21H21/20—Wet strength agents
Landscapes
- Engineering & Computer Science (AREA)
- Life Sciences & Earth Sciences (AREA)
- Wood Science & Technology (AREA)
- Environmental Sciences (AREA)
- Mechanical Engineering (AREA)
- Food Science & Technology (AREA)
- Chemical & Material Sciences (AREA)
- Inorganic Chemistry (AREA)
- Health & Medical Sciences (AREA)
- Public Health (AREA)
- Crushing And Pulverization Processes (AREA)
Abstract
本发明公开了一种高韧性干湿两用的卫生纸及其加工工艺,一种高韧性干湿两用的卫生纸,包括以下重量份的原料:秸秆40‑50份、木纤维15‑20份和棉花纤维5‑10份,将秸秆投入到粉碎筛分机中进行加工,筛网将秸秆屑分成长秸秆纤维和秸秆粉料,将秸秆粉料投入磨浆机内进行加工,将长秸秆纤维加入磨浆机中,同时加入木纤维和棉花纤维,第三电机带动搅拌轮对长纤维浆、细粉浆与药液A进行加热搅拌混合,第三电机带动搅拌轮对浆料A和药液B进行搅拌,搅拌均匀后得到强化纸浆,提高了纸浆得率,提高了卫生纸的松厚度以及湿强度,制得的卫生纸在具有良好柔软度的同时吸水性较好,同时能够使得纸张的颜色均匀。
The invention discloses a high-toughness wet and dry toilet paper and a processing technology thereof. A high-toughness wet and dry toilet paper comprises the following raw materials in parts by weight: 40-50 parts of straw, 15-20 parts of wood fiber and 5-10 parts of cotton fiber, put the straw into the crushing and screening machine for processing, the screen will divide the straw scraps into long straw fibers and straw powder, put the straw powder into the refiner for processing, and add the long straw fibers to the mill. In the pulper, wood fiber and cotton fiber are added at the same time, the third motor drives the stirring wheel to heat, stir and mix the long fiber pulp, fine powder pulp and liquid medicine A, and the third motor drives the stirring wheel to heat and mix the pulp A and liquid medicine B. After stirring, the reinforced pulp is obtained after stirring evenly, which improves the pulp yield, and improves the bulk and wet strength of the toilet paper.
Description
技术领域technical field
本发明涉及造纸技术领域,具体涉及一种高韧性干湿两用的卫生纸及其加工工艺。The invention relates to the technical field of papermaking, in particular to a high-toughness wet and dry toilet paper and a processing technology thereof.
背景技术Background technique
现如今,卫生纸是人们日常生活中不可缺少的日常用纸之一,主要优点是使用方便、舒适,不重复使用,安全卫生,为了使卫生纸更加柔软,通常用机械方法使纸产生皱纹,增加卫生纸的柔软度,制造卫生纸的原料很多,常用棉浆、木浆、竹浆、草浆等天然无污染的原料,这些原料没有毒性化学物质、没有对皮肤有刺激的原料。Nowadays, toilet paper is one of the indispensable daily paper in people's daily life. The main advantages are easy to use, comfortable, non-reusable, safe and hygienic. In order to make the toilet paper softer, the paper is usually wrinkled by mechanical methods to increase the amount of toilet paper. There are many raw materials for making toilet paper. Cotton pulp, wood pulp, bamboo pulp, straw pulp and other natural and pollution-free raw materials are commonly used. These raw materials have no toxic chemical substances and no raw materials that are irritating to the skin.
卫生纸发展迅速,其原料主要为木浆,其由纤维交织而成,其结构疏松多孔,具有好的透气性。随着人们生活水平的提高和卫生意识的加强,人们对部分生活用纸提出了新的要求,目前要求产品不仅具有高吸湿性,而且要求力学性能好,遇水不易破裂。The development of toilet paper is rapid, and its raw material is mainly wood pulp, which is made of interwoven fibers, its structure is loose and porous, and it has good air permeability. With the improvement of people's living standards and the strengthening of hygiene awareness, people have put forward new requirements for some household paper. At present, the products are required not only to have high hygroscopicity, but also to have good mechanical properties and not easily break when exposed to water.
发明内容SUMMARY OF THE INVENTION
本发明的目的在于提供一种高韧性干湿两用的卫生纸及其加工工艺,以解决如何提高卫生纸的韧性和吸湿性,提高卫生纸的质量和强度,降低生产过程的环境污染,避免遇水破裂的问题。The purpose of the present invention is to provide a kind of high toughness wet and dry toilet paper and its processing technology, to solve how to improve the toughness and hygroscopicity of the toilet paper, improve the quality and strength of the toilet paper, reduce the environmental pollution in the production process, and avoid water rupture The problem.
本发明的目的可以通过以下技术方案实现:The object of the present invention can be realized through the following technical solutions:
一种高韧性干湿两用的卫生纸,包括以下重量份的原料:秸秆40-50份、木纤维15-20份和棉花纤维5-10份。A high tenacity wet and dry toilet paper comprises the following raw materials in parts by weight: 40-50 parts of straw, 15-20 parts of wood fiber and 5-10 parts of cotton fiber.
一种高韧性干湿两用的卫生纸的加工工艺,所述加工工艺包括以下生产步骤:A processing technique of high-toughness wet and dry toilet paper, the processing technique comprises the following production steps:
步骤一:选取原料,按各原料的种类对原料进行筛选,选取优质原料根据重量配比进行称取,将秸秆40-50份、木纤维15-20份和棉花5-10份分别放入清水中浸泡清洗,清洗后过滤杂质并捞起,烘干备用;Step 1: Select raw materials, screen the raw materials according to their types, select high-quality raw materials and weigh them according to the weight ratio, put 40-50 parts of straw, 15-20 parts of wood fiber and 5-10 parts of cotton into clear water respectively Soak and clean in the middle, filter impurities after cleaning, pick up, and dry for use;
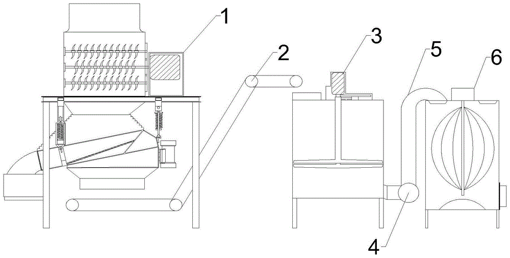
步骤二:将步骤一中制备的秸秆投入到粉碎筛分机中进行加工,第一电机通过带动主动齿轮,从而带动第一从动齿轮和第二从动齿轮,主动齿轮、第一从动齿轮和第二从动齿轮分别带动各自所连接的主转动杆、第一从动杆和第二从动杆转动,从而带动切割叶片转动,将秸秆粉碎成秸秆屑,秸秆屑落入到筛分箱体中,粉碎箱的出料口通过伸缩罩和筛分箱体的进料口相连,振动器带动筛分箱体震动,筛分箱体通过震动弹簧和连接杆与装置机架相连,在振动器的震动下,带动弹簧进行收缩拉伸,提高对筛分箱体的震荡频率,提高筛分箱体内的筛网对秸秆屑的筛分效率,筛网将秸秆屑分成长秸秆纤维和秸秆粉料,通过筛网的粉料通过接料口落到传送机上,未通过筛网的长秸秆纤维通过连接管落入到接料箱内,通过接料箱将长秸秆纤维聚集以备用;Step 2: put the straw prepared in
步骤三:由传送机将步骤二中制备的秸秆粉料投入磨浆机内进行加工,向磨浆箱体内加清水,第二电机带动第一齿轮和第二磨盘转动,第一齿轮带动第二齿轮转动,第二齿轮带动第一磨盘转动,通过第一磨盘和第二磨盘之间的相对运动,对落入二者之间的秸秆粉浆进行冲击和挤压,将秸秆粉浆逐渐研磨为细粉浆,细粉浆随着第二磨盘上的渗滤缝落入磨浆箱体的底部,通过与出料阀连接的泵机和管道将细粉浆输送到加热搅拌机中;Step 3: Put the straw powder prepared in
步骤四:向步骤四中的磨浆机中加入清水洗刷,当步骤四中的细粉浆全部排出磨浆机后,将步骤二中得到的长秸秆纤维加入磨浆机中,并与清水混合,同时加入备好的木纤维和棉花纤维,第二电机带动第一齿轮和第二磨盘转动,第一齿轮带动第二齿轮转动,第二齿轮带动第一磨盘转动,通过第一磨盘和第二磨盘之间的相对运动,对落入二者之间的混合纤维浆进行冲击和挤压,将混合纤维浆逐渐研磨为长纤维浆,长纤维浆随着第二磨盘上的渗滤缝落入磨浆箱体的底部,通过与出料阀连接的泵机和管道输送到加热搅拌机中;Step 4: Add clean water to the refiner in
步骤五:向加热搅拌机内加入药液A,封闭加热搅拌箱,第三电机带动搅拌轮对长纤维浆、细粉浆与药液A进行加热搅拌混合,得到混合浆料,然后对混合浆料进行氧脱木素处理,得到浆料A;Step 5: Add the liquid medicine A into the heating mixer, close the heating stirring box, and the third motor drives the stirring wheel to heat, stir and mix the long fiber pulp, the fine powder slurry and the liquid medicine A to obtain a mixed slurry, and then the mixed slurry is mixed. Carry out oxygen delignification treatment to obtain slurry A;
步骤六:向浆料A中投入药液B,封闭加热搅拌箱,第三电机带动搅拌轮对浆料A和药液B进行搅拌,搅拌均匀后得到强化纸浆;Step 6: Put the liquid medicine B into the slurry A, close the heating and stirring box, and the third motor drives the stirring wheel to stir the slurry A and the liquid medicine B, and the strengthened pulp is obtained after stirring evenly;
步骤七:将步骤六所得的强化纸浆放入纸页成型机中进行压榨和抽吸,使纸页成型,然后对成型的纸页进行烘干、卷取、切割、包装,最终得到成品卫生纸。Step 7: Put the reinforced pulp obtained in
作为发明进一步的方案,所述粉碎筛分机包括装置机架、粉碎箱、防尘罩、第一电机、主转动杆、第一从动杆、第二从动杆、主动齿轮、第一从动齿轮、第二从动齿轮、切割叶片、进料斗、支撑轴承、伸缩罩、筛分箱体、筛网、连接管、接料箱、振动器、安装架和接料口,所述粉碎箱固定安装在装置机架的上端,所述粉碎箱上端中心位置固定连接有进料斗,粉碎箱内设置有主转动杆、第一从动杆和第二从动杆,所述主转动杆、第一从动杆和第二从动杆在竖直方向排成一列设置,所述主转动杆位于第一从动杆和第二从动杆之间,所述主转动杆、第一从动杆和第二从动杆在同一侧都安装有支撑轴承,所述支撑轴承穿过粉碎箱的箱壁,支撑轴承的外圈与粉碎箱固定连接,所述主转动杆、第一从动杆和第二从动杆的另一侧穿过粉碎箱的箱壁并与粉碎箱转动连接,所述主转动杆的端部与第一电机的驱动轴固定连接,主转动杆的端部与主动齿轮的内圈固定连接,所述第一从动杆与第一从动齿轮的内圈固定连接,所述第二从动杆与第二从动齿轮的内圈固定连接,所述主动齿轮分别与第一从动齿轮和第二从动齿轮啮合连接,若干所述切割叶片安装在主转动杆、第一从动杆和第二从动杆上,所述第一电机安装在防尘罩内,第一电机的驱动轴穿过防尘罩并与防尘罩转动连接,所述第一电机的驱动轴端部与主动齿轮的内圈固定连接且与主转动杆的端部固定连接;As a further solution of the invention, the crushing and screening machine includes a device frame, a crushing box, a dust cover, a first motor, a main rotating rod, a first driven rod, a second driven rod, a driving gear, and a first driven rod. Gear, second driven gear, cutting blade, feeding hopper, support bearing, telescopic cover, screening box, screen, connecting pipe, receiving box, vibrator, mounting frame and receiving port, the crushing box It is fixedly installed on the upper end of the device frame, the center of the upper end of the crushing box is fixedly connected with a feeding hopper, and a main rotating rod, a first driven rod and a second driven rod are arranged in the crushing box. The first driven rod and the second driven rod are arranged in a row in the vertical direction, the main rotation rod is located between the first driven rod and the second driven rod, the main rotation rod, the first driven rod A support bearing is installed on the same side of the rod and the second driven rod. The support bearing passes through the box wall of the crushing box, and the outer ring of the supporting bearing is fixedly connected with the crushing box. The main rotating rod and the first driven rod are And the other side of the second driven rod passes through the box wall of the crushing box and is rotatably connected with the crushing box, the end of the main rotating rod is fixedly connected with the drive shaft of the first motor, and the end of the main rotating rod is connected with the driving shaft. The inner ring of the gear is fixedly connected, the first driven rod is fixedly connected with the inner ring of the first driven gear, the second driven rod is fixedly connected with the inner ring of the second driven gear, and the driving gears are respectively meshed with the first driven gear and the second driven gear, a plurality of the cutting blades are mounted on the main rotating rod, the first driven rod and the second driven rod, and the first motor is mounted in the dust cover , the drive shaft of the first motor passes through the dust cover and is rotatably connected with the dust cover, the end of the drive shaft of the first motor is fixedly connected with the inner ring of the driving gear and is fixedly connected with the end of the main rotating rod;
所述筛分箱体固定安装在装置机架上,所述筛分箱体位于粉碎箱的正下方,所述筛分箱体的进料口与粉碎箱的出料口通过伸缩罩相连通,所述筛分箱体倾斜设置,所述筛分箱体内固定安装有筛网,所述筛分箱体下端固定设置有安装架,所述安装架上安装有若干组振动器。The screening box is fixedly installed on the device frame, and the screening box is located directly below the crushing box. The feeding port of the screening box and the outlet of the crushing box are connected through a telescopic cover. The screening box body is inclined and installed, the screen mesh is fixedly installed in the screening box body, and the lower end of the screening box body is fixedly provided with a mounting frame, and several groups of vibrators are installed on the mounting frame.
作为发明进一步的方案,所述装置机架的下端设置有四组上连接架,所述筛分箱体上端设置有四组与上连接架相对应的下连接架,所述下连接架上端安装有连接杆,所述连接杆上端连接有连接套,所述连接套上端设置有连接挂钩,所述连接挂钩与上连接架相连,所述震动弹簧套接在连接杆外周,所述震动弹簧下端与下连接架相连,所述震动弹簧上端连接在连接套上。As a further solution of the invention, the lower end of the device frame is provided with four sets of upper connecting frames, the upper end of the screening box is provided with four sets of lower connecting frames corresponding to the upper connecting frames, and the upper ends of the lower connecting frames are installed There is a connecting rod, the upper end of the connecting rod is connected with a connecting sleeve, the upper end of the connecting sleeve is provided with a connecting hook, the connecting hook is connected with the upper connecting frame, the vibration spring is sleeved on the outer circumference of the connecting rod, and the lower end of the vibration spring is Connected to the lower connecting frame, the upper end of the vibration spring is connected to the connecting sleeve.
作为发明进一步的方案,所述磨浆机包括第二电机、电机罩、第一齿轮、第二齿轮、第一磨盘、第二磨盘、磨浆箱体、进水阀和出料阀,所述磨浆箱体的顶部边缘安装有进水阀,所述磨浆箱体的顶部中心设有通孔,通孔与第一磨盘的转动轴转动连接,所述第二磨盘的转动轴贯穿第一磨盘的转动轴并与第一磨盘的转动轴转动连接,所述第二磨盘与第一磨盘之间滑动连接,所述第二磨盘转动轴的端部与第二电机的驱动轴端部固定连接,所述第二电机的驱动轴周围刻有齿痕并与第一齿轮啮合连接,所述第一齿轮与第二齿轮啮合连接,所述第一磨盘的转动轴端部沿圆周刻有齿痕并与第二齿轮啮合连接,所述第一齿轮和第二齿轮安装在磨浆箱体顶部并与磨浆箱体转动连接,所述第二电机、第一齿轮和第二齿轮外罩有电机罩,且第二电机与电机罩的顶部固定连接。As a further solution of the invention, the refiner includes a second motor, a motor cover, a first gear, a second gear, a first refining disc, a second refining disc, a refining box, a water inlet valve and a discharge valve. A water inlet valve is installed on the top edge of the refining box, and a through hole is provided in the center of the top of the refining box. The through hole is rotatably connected with the rotating shaft of the first grinding disc, and the rotating shaft of the second grinding disc penetrates the first grinding disc. The rotating shaft of the grinding disc is rotatably connected with the rotating shaft of the first grinding disc, the second grinding disc and the first grinding disc are slidably connected, and the end of the rotating shaft of the second grinding disc is fixedly connected with the end of the driving shaft of the second motor , the drive shaft of the second motor is engraved with tooth marks around and is meshed with the first gear, the first gear is meshed with the second gear, and the end of the rotating shaft of the first grinding disc is engraved with tooth marks along the circumference It is meshed and connected with the second gear, the first gear and the second gear are installed on the top of the refining box and are rotatably connected with the refining box, and the second motor, the first gear and the second gear are covered with a motor cover , and the second motor is fixedly connected with the top of the motor cover.
作为发明进一步的方案,所述第一磨盘包括上固定环、上磨盘主体和连接杆,所述第一磨盘的转动轴端部通过若干根连接杆与上磨盘主体固定连接,所述上磨盘主体呈环状,上磨盘主体的上表面为光滑面,下表面设置有若干S形研磨条,所述上固定环套设在上磨盘主体的边缘上,所述第二磨盘包括下固定环和下磨盘主体,所述下磨盘主体的上表面设置有若干曲形研磨条,靠近下磨盘主体的边缘均匀分布有若干渗滤缝,所述下固定环套设在下磨盘主体的边缘上。As a further solution of the invention, the first grinding disc includes an upper fixing ring, an upper grinding disc main body and a connecting rod. It is annular, the upper surface of the upper grinding disc main body is a smooth surface, and the lower surface is provided with several S-shaped grinding bars, the upper fixing ring is sleeved on the edge of the upper grinding disc main body, and the second grinding disc includes a lower fixing ring and a lower grinding disc. Grinding disc main body, the upper surface of the lower grinding disc main body is provided with several curved grinding strips, and several percolation slits are evenly distributed near the edge of the lower grinding disc main body, and the lower fixing ring is sleeved on the edge of the lower grinding disc main body.
作为发明进一步的方案,所述加热搅拌机包括加热搅拌箱、加热器、第三电机、第一进料阀、第二进料阀、搅拌轮和出浆阀,所述第三电机安装在加热搅拌箱的顶部中心,所述第三电机的驱动轴穿过加热搅拌箱的顶部并与之转动连接,所述第三电机的驱动轴端部与搅拌轮的转动轴端部固定连接,所述搅拌轮的转动轴上均匀分布有若干搅拌环,所述第一进料阀和第二进料阀安装在加热搅拌箱的顶部并位于第三电机的两侧,所述加热搅拌箱的底部一侧开有通孔并安装有出浆阀,所述加热搅拌箱的底部中心安装有加热器。As a further solution of the invention, the heating and stirring machine includes a heating and stirring box, a heater, a third motor, a first feeding valve, a second feeding valve, a stirring wheel and a slurry valve, and the third motor is installed in the heating and stirring The center of the top of the box, the drive shaft of the third motor passes through the top of the heating and stirring box and is rotatably connected with it, the end of the drive shaft of the third motor is fixedly connected with the end of the rotating shaft of the stirring wheel, and the stirring There are several stirring rings evenly distributed on the rotating shaft of the wheel, the first feeding valve and the second feeding valve are installed on the top of the heating and stirring box and are located on both sides of the third motor, and the bottom side of the heating and stirring box is A through hole is opened and a slurry valve is installed, and a heater is installed in the center of the bottom of the heating and stirring box.
作为发明进一步的方案,所述药液A是由氢氧化钠、亚硫酸钠、硼氢化钠、烷基聚葡糖苷和水组成的,所述药液B浓度为0.2-0.5%的湿强剂以及浓度为0.05-0.07%的造纸分散剂组成的混合药液。As a further solution of the invention, the medicinal solution A is composed of sodium hydroxide, sodium sulfite, sodium borohydride, alkyl polyglucoside and water, and the medicinal solution B has a concentration of 0.2-0.5% wet strength agent and a concentration of It is a mixed liquid medicine composed of 0.05-0.07% papermaking dispersant.
本发明的有益效果:第一电机通过带动主动齿轮,从而带动第一从动齿轮和第二从动齿轮,主动齿轮、第一从动齿轮和第二从动齿轮分别带动各自所连接的主转动杆、第一从动杆和第二从动杆转动,从而带动切割叶片转动,通过一组第一电机带动主转动杆和两组从动杆转动,有效降低驱动电机的设置节约成本,将秸秆投入到粉碎筛分机中进行加工,秸秆粉碎成秸秆屑,秸秆屑落入到筛分箱体中,粉碎箱的出料口通过伸缩罩和筛分箱体的进料口相连,有效防止粉料在下落时发生飘散,避免污染环境,同时有效防止其他杂物对秸秆粉料进行污染,振动器工作带动筛分箱体进行震动,筛分箱体通过震动弹簧和连接杆与装置机架相连,在振动器的震动下,带动弹簧进行收缩拉伸,有效提高对筛分箱体的震荡频率,提高筛分箱体内的筛网对粉料的筛分效果,第二电机带动第一齿轮和第二磨盘转动,第一齿轮带动第二齿轮转动,第二齿轮带动第一磨盘转动,能够使第一磨盘和第二磨盘以相反的方向相互旋转、研磨,提高研磨效率,第一磨盘和第二磨盘通过上固定环和下固定环的滑动连接从而扣合,上磨盘主体的上表面为倒立的圆锥曲面,能够将落下的浆料导入转轴处,第一磨盘和第二磨盘的研磨面都装有研磨条,能够大幅提高研磨质量,通过第一磨盘和第二磨盘之间的相对运动,对落入二者之间的秸秆粉浆进行冲击和挤压,能够提高纸浆得率,在洗涤后的浆料中加入湿强剂以及造纸分散剂,提高卫生纸的松厚度以及湿强度,制得的卫生纸在具有良好柔软度的同时吸水性较好,同时能够使得纸张的颜色均匀。The beneficial effects of the present invention are as follows: the first motor drives the first driven gear and the second driven gear by driving the driving gear, and the driving gear, the first driven gear and the second driven gear respectively drive the connected main gears to rotate. The rod, the first driven rod and the second driven rod rotate, thereby driving the cutting blade to rotate, and the main rotating rod and the two sets of driven rods are driven to rotate by a set of first motors, which effectively reduces the installation of the driving motor and saves costs, and the straw Put it into the crushing and screening machine for processing, the straw is crushed into straw chips, and the straw chips fall into the screening box. When falling, it will scatter to avoid environmental pollution, and at the same time effectively prevent other debris from polluting the straw powder. The vibrator works to drive the screening box to vibrate, and the screening box is connected to the device frame through the vibration spring and the connecting rod. Under the vibration of the vibrator, the spring is driven to shrink and stretch, which effectively increases the vibration frequency of the screening box and improves the screening effect of the screen in the screening box on the powder. The second motor drives the first gear and the first gear. The second grinding disc rotates, the first gear drives the second gear to rotate, and the second gear drives the first grinding disc to rotate, which can make the first grinding disc and the second grinding disc rotate and grind each other in opposite directions, and improve the grinding efficiency. The grinding disc is fastened by the sliding connection of the upper fixing ring and the lower fixing ring. The upper surface of the main body of the upper grinding disc is an inverted conical surface, which can guide the falling slurry into the rotating shaft. The grinding surfaces of the first grinding disc and the second grinding disc are equipped with There are grinding bars, which can greatly improve the grinding quality. Through the relative motion between the first grinding disc and the second grinding disc, the straw pulp falling between the two can be impacted and squeezed, which can improve the pulp yield. After washing Wet strength agent and papermaking dispersant are added to the slurry of the filtrate to improve the bulk and wet strength of toilet paper.
附图说明Description of drawings
为了便于本领域技术人员理解,下面结合附图对本发明作进一步的说明。In order to facilitate the understanding of those skilled in the art, the present invention will be further described below with reference to the accompanying drawings.
图1为本发明整体结构示意图;Fig. 1 is the overall structure schematic diagram of the present invention;
图2为本发明粉碎筛分机结构示意图;Fig. 2 is the structure schematic diagram of pulverizing and screening machine of the present invention;
图3为本发明粉碎筛分机侧视图;Figure 3 is a side view of the crushing and screening machine of the present invention;
图4为图2中圈A的放大示意图;Fig. 4 is the enlarged schematic diagram of circle A in Fig. 2;
图5为本发明磨浆机结构示意图;Figure 5 is a schematic structural diagram of the refiner of the present invention;
图6为图5中圈B的放大示意图;Fig. 6 is the enlarged schematic diagram of circle B in Fig. 5;
图7为本发明去掉电机罩和第二电机的磨浆机俯视图;Fig. 7 is the top view of the refiner with the motor cover and the second motor removed according to the present invention;
图8为本发明第一磨盘研磨面示意图;8 is a schematic view of the grinding surface of the first grinding disc of the present invention;
图9为本发明第二磨盘研磨面示意图;9 is a schematic view of the grinding surface of the second grinding disc of the present invention;
图10为本发明加热搅拌机结构示意图;10 is a schematic structural diagram of a heating mixer of the present invention;
图中:1、粉碎筛分机;2、传送机;3、磨浆机;4、泵机;5、管道;6、加热搅拌机;7、装置机架;8、粉碎箱;9、防尘罩;10、第一电机;11、主转动杆;12、第一从动杆;13、主动齿轮;14、第一从动齿轮;15、第二从动齿轮;16、切割叶片;17、进料斗;18、支撑轴承;19、伸缩罩;20、筛分箱体;21、筛网;22、连接管;23、接料箱;24、上连接架;25、连接挂钩;26、震动弹簧;27、连接套;28、连接杆;29、下连接架;30、振动器;31、安装架;32、接料口;33、第二电机;34、电机罩;35、第一齿轮;36、第二齿轮;37、第一磨盘;38、第二磨盘;39、磨浆箱体;40、进水阀;41、出料阀;42、加热搅拌箱;43、加热器;44、第三电机;45、第一进料阀;46、第二进料阀;47、搅拌轮;48、出浆阀;49、第二从动杆;371、上固定环;372、上磨盘主体;373、连接竿;381、下固定环;382、下磨盘主体。In the figure: 1. Crushing and screening machine; 2. Conveyor; 3. Refiner; 4. Pump; 5. Pipeline; 6. Heating mixer; 7. Device rack; 8. Crushing box; 9. Dust cover ; 10, the first motor; 11, the main rotating rod; 12, the first driven rod; 13, the driving gear; 14, the first driven gear; 15, the second driven gear; 16, the cutting blade; 17, the advance Hopper; 18, support bearing; 19, telescopic cover; 20, screening box; 21, screen; 22, connecting pipe; 23, receiving box; 24, upper connecting frame; 25, connecting hook; 26, vibration Spring; 27, connecting sleeve; 28, connecting rod; 29, lower connecting frame; 30, vibrator; 31, mounting frame; 32, material receiving port; 33, second motor; 34, motor cover; 35, first gear 36, the second gear; 37, the first grinding plate; 38, the second grinding plate; 39, the refining box; 40, the water inlet valve; 41, the discharge valve; 42, the heating and stirring box; 43, the heater; 44 , the third motor; 45, the first feed valve; 46, the second feed valve; 47, the stirring wheel; 48, the slurry valve; 49, the second driven rod; 371, the upper fixing ring; 372, the upper grinding disc main body; 373, connecting rod; 381, lower fixing ring; 382, lower grinding disc main body.
具体实施方式Detailed ways
下面将结合实施例对本发明的技术方案进行清楚、完整地描述,显然,所描述的实施例仅仅是本发明一部分实施例,而不是全部的实施例。基于本发明中的实施例,本领域普通技术人员在没有作出创造性劳动前提下所获得的所有其它实施例,都属于本发明保护的范围。The technical solutions of the present invention will be clearly and completely described below with reference to the embodiments. Obviously, the described embodiments are only a part of the embodiments of the present invention, rather than all the embodiments. Based on the embodiments of the present invention, all other embodiments obtained by those of ordinary skill in the art without creative efforts shall fall within the protection scope of the present invention.
实施例1Example 1
请参阅图1-10所示,一种高韧性干湿两用的卫生纸,包括以下重量份的原料:秸秆40份、木纤维20份和棉花纤维10份。Please refer to Fig. 1-10, a high tenacity wet and dry toilet paper, including the following raw materials by weight: 40 parts of straw, 20 parts of wood fiber and 10 parts of cotton fiber.
一种高韧性干湿两用的卫生纸的加工工艺,所述加工工艺包括以下生产步骤:A processing technique of high-toughness wet and dry toilet paper, the processing technique comprises the following production steps:
步骤一:选取原料,按各原料的种类对原料进行筛选,选取优质原料根据重量配比进行称取,将秸秆40份、木纤维20份和棉花10份分别放入清水中浸泡清洗,清洗后过滤杂质并捞起,烘干备用;Step 1: Select raw materials, screen the raw materials according to the types of raw materials, select high-quality raw materials and weigh them according to the weight ratio, put 40 parts of straw, 20 parts of wood fiber and 10 parts of cotton into clean water to soak and clean respectively. Filter impurities, pick them up, and dry them for later use;
步骤二:将步骤一中制备的秸秆投入到粉碎筛分机1中进行加工,第一电机10通过带动主动齿轮13,从而带动第一从动齿轮14和第二从动齿轮15,主动齿轮13、第一从动齿轮14和第二从动齿轮15分别带动各自所连接的主转动杆11、第一从动杆12和第二从动杆49转动,从而带动切割叶片16转动,将秸秆粉碎成秸秆屑,秸秆屑落入到筛分箱体20中,粉碎箱8的出料口通过伸缩罩19和筛分箱体20的进料口相连,振动器30带动筛分箱体20震动,筛分箱体20通过震动弹簧26和连接杆28与装置机架7相连,在振动器30的震动下,带动弹簧进行收缩拉伸,提高对筛分箱体20的震荡频率,提高筛分箱体20内的筛网21对秸秆屑的筛分效率,筛网21将秸秆屑分成长秸秆纤维和秸秆粉料,通过筛网21的粉料通过接料口32落到传送机2上,未通过筛网21的长秸秆纤维通过连接管22落入到接料箱23内,通过接料箱23将长秸秆纤维聚集以备用;Step 2: Put the straw prepared in
步骤三:由传送机2将步骤二中制备的秸秆粉料投入磨浆机3内进行加工,向磨浆箱体39内加清水,第二电机33带动第一齿轮35和第二磨盘38转动,第一齿轮35带动第二齿轮36转动,第二齿轮36带动第一磨盘37转动,通过第一磨盘37和第二磨盘38之间的相对运动,对落入二者之间的秸秆粉浆进行冲击和挤压,将秸秆粉浆逐渐研磨为细粉浆,细粉浆随着第二磨盘38上的渗滤缝落入磨浆箱体39的底部,通过与出料阀41连接的泵机4和管道5将细粉浆输送到加热搅拌机6中;Step 3: Put the straw powder prepared in
步骤四:向步骤四中的磨浆机3中加入清水洗刷,当步骤四中的细粉浆全部排出磨浆机3后,将步骤二中得到的长秸秆纤维加入磨浆机3中,并与清水混合,同时加入备好的木纤维和棉花纤维,第二电机33带动第一齿轮35和第二磨盘38转动,第一齿轮35带动第二齿轮36转动,第二齿轮36带动第一磨盘37转动,通过第一磨盘37和第二磨盘38之间的相对运动,对落入二者之间的混合纤维浆进行冲击和挤压,将混合纤维浆逐渐研磨为长纤维浆,长纤维浆随着第二磨盘38上的渗滤缝落入磨浆箱体39的底部,通过与出料阀41连接的泵机4和管道5输送到加热搅拌机6中;Step 4: Add clean water to the
步骤五:向加热搅拌机6内加入药液A,封闭加热搅拌箱42,第三电机44带动搅拌轮47对长纤维浆、细粉浆与药液A进行加热搅拌混合,得到混合浆料,然后对混合浆料进行氧脱木素处理,得到浆料A;Step 5: Add the medicinal solution A into the
步骤六:向浆料A中投入药液B,封闭加热搅拌箱42,第三电机44带动搅拌轮47对浆料A和药液B进行搅拌,搅拌均匀后得到强化纸浆;Step 6: Put the liquid medicine B into the slurry A, close the heating and stirring
步骤七:将步骤六所得的强化纸浆放入纸页成型机中进行压榨和抽吸,使纸页成型,然后对成型的纸页进行烘干、卷取、切割、包装,最终得到成品卫生纸。Step 7: Put the reinforced pulp obtained in
所述粉碎筛分机1包括装置机架7、粉碎箱8、防尘罩9、第一电机10、主转动杆11、第一从动杆12、第二从动杆49、主动齿轮13、第一从动齿轮14、第二从动齿轮15、切割叶片16、进料斗17、支撑轴承18、伸缩罩19、筛分箱体20、筛网21、连接管22、接料箱23、振动器30、安装架31和接料口32,所述粉碎箱8固定安装在装置机架7的上端,所述粉碎箱8上端中心位置固定连接有进料斗17,粉碎箱8内设置有主转动杆11、第一从动杆12和第二从动杆49,所述主转动杆11、第一从动杆12和第二从动杆49在竖直方向排成一列设置,所述主转动杆11位于第一从动杆12和第二从动杆49之间,所述主转动杆11、第一从动杆12和第二从动杆49在同一侧都安装有支撑轴承18,所述支撑轴承18穿过粉碎箱8的箱壁,支撑轴承18的外圈与粉碎箱8固定连接,所述主转动杆11、第一从动杆12和第二从动杆49的另一侧穿过粉碎箱8的箱壁并与粉碎箱8转动连接,所述主转动杆11的端部与第一电机10的驱动轴固定连接,主转动杆11的端部与主动齿轮13的内圈固定连接,所述第一从动杆12与第一从动齿轮14的内圈固定连接,所述第二从动杆49与第二从动齿轮15的内圈固定连接,所述主动齿轮13分别与第一从动齿轮14和第二从动齿轮15啮合连接,若干所述切割叶片16安装在主转动杆11、第一从动杆12和第二从动杆49上,所述第一电机10安装在防尘罩9内,第一电机9的驱动轴穿过防尘罩9并与防尘罩9转动连接,所述第一电机10的驱动轴端部与主动齿轮13的内圈固定连接且与主转动杆11的端部固定连接;The crushing and
所述筛分箱体20固定安装在装置机架7上,所述筛分箱体20位于粉碎箱8的正下方,所述筛分箱体20的进料口与粉碎箱8的出料口通过伸缩罩19相连通,所述筛分箱体20倾斜设置,所述筛分箱体20内固定安装有筛网21,所述筛分箱体20下端固定设置有安装架31,所述安装架31上安装有若干组振动器30。The
所述装置机架7的下端设置有四组上连接架24,所述筛分箱体20上端设置有四组与上连接架24相对应的下连接架29,所述下连接架29上端安装有连接杆28,所述连接杆28上端连接有连接套27,所述连接套27上端设置有连接挂钩25,所述连接挂钩25与上连接架24相连,所述震动弹簧26套接在连接杆28外周,所述震动弹簧26下端与下连接架29相连,所述震动弹簧26上端连接在连接套27上。The lower end of the
所述磨浆机3包括第二电机33、电机罩34、第一齿轮35、第二齿轮36、第一磨盘37、第二磨盘38、磨浆箱体39、进水阀40和出料阀41,所述磨浆箱体39的顶部边缘安装有进水阀40,所述磨浆箱体39的顶部中心设有通孔,通孔与第一磨盘37的转动轴转动连接,所述第二磨盘38的转动轴贯穿第一磨盘37的转动轴并与第一磨盘37的转动轴转动连接,所述第二磨盘38与第一磨盘37之间滑动连接,所述第二磨盘38转动轴的端部与第二电机33的驱动轴端部固定连接,所述第二电机33的驱动轴周围刻有齿痕并与第一齿轮35啮合连接,所述第一齿轮35与第二齿轮36啮合连接,所述第一磨盘37的转动轴端部沿圆周刻有齿痕并与第二齿轮36啮合连接,所述第一齿轮35和第二齿轮36安装在磨浆箱体39顶部并与磨浆箱体39转动连接,所述第二电机33、第一齿轮35和第二齿轮36外罩有电机罩34,且第二电机33与电机罩34的顶部固定连接。The
所述第一磨盘37包括上固定环371、上磨盘主体372和连接竿373,所述第一磨盘37的转动轴端部通过若干根连接竿373与上磨盘主体372固定连接,所述上磨盘主体372呈环状,上磨盘主体372的上表面为光滑面,下表面设置有若干S形研磨条,所述上固定环371套设在上磨盘主体372的边缘上,所述第二磨盘38包括下固定环381和下磨盘主体382,所述下磨盘主体382的上表面设置有若干曲形研磨条,靠近下磨盘主体382的边缘均匀分布有若干渗滤缝,所述下固定环381套设在下磨盘主体382的边缘上。The
所述加热搅拌机6包括加热搅拌箱42、加热器43、第三电机44、第一进料阀45、第二进料阀46、搅拌轮47和出浆阀48,所述第三电机44安装在加热搅拌箱42的顶部中心,所述第三电机44的驱动轴穿过加热搅拌箱42的顶部并与之转动连接,所述第三电机44的驱动轴端部与搅拌轮47的转动轴端部固定连接,所述搅拌轮47的转动轴上均匀分布有若干搅拌环,所述第一进料阀45和第二进料阀46安装在加热搅拌箱42的顶部并位于第三电机44的两侧,所述加热搅拌箱42的底部一侧开有通孔并安装有出浆阀48,所述加热搅拌箱42的底部中心安装有加热器43。The heating and stirring
所述药液A是由氢氧化钠、亚硫酸钠、硼氢化钠、烷基聚葡糖苷和水组成的,所述药液B浓度为0.2%的湿强剂以及浓度为0.05%的造纸分散剂组成的混合药液。The medicinal solution A is composed of sodium hydroxide, sodium sulfite, sodium borohydride, alkyl polyglucoside and water, and the medicinal solution B is a wet strength agent with a concentration of 0.2% and a papermaking dispersant with a concentration of 0.05%. of mixed medicines.
实施例2Example 2
请参阅图1-10所示,一种高韧性干湿两用的卫生纸,包括以下重量份的原料:秸秆50份、木纤维15份和棉花纤维5份。Please refer to Fig. 1-10, a high tenacity wet and dry toilet paper, including the following raw materials by weight: 50 parts of straw, 15 parts of wood fiber and 5 parts of cotton fiber.
一种高韧性干湿两用的卫生纸的加工工艺,所述加工工艺包括以下生产步骤:A processing technique of high-toughness wet and dry toilet paper, the processing technique comprises the following production steps:
步骤一:选取原料,按各原料的种类对原料进行筛选,选取优质原料根据重量配比进行称取,将秸秆40份、木纤维20份和棉花10份分别放入清水中浸泡清洗,清洗后过滤杂质并捞起,烘干备用;Step 1: Select raw materials, screen the raw materials according to the types of raw materials, select high-quality raw materials and weigh them according to the weight ratio, put 40 parts of straw, 20 parts of wood fiber and 10 parts of cotton into clean water to soak and clean respectively. Filter impurities, pick them up, and dry them for later use;
步骤二:将步骤一中制备的秸秆投入到粉碎筛分机1中进行加工,第一电机10通过带动主动齿轮13,从而带动第一从动齿轮14和第二从动齿轮15,主动齿轮13、第一从动齿轮14和第二从动齿轮15分别带动各自所连接的主转动杆11、第一从动杆12和第二从动杆49转动,从而带动切割叶片16转动,将秸秆粉碎成秸秆屑,秸秆屑落入到筛分箱体20中,粉碎箱8的出料口通过伸缩罩19和筛分箱体20的进料口相连,振动器30带动筛分箱体20震动,筛分箱体20通过震动弹簧26和连接杆28与装置机架7相连,在振动器30的震动下,带动弹簧进行收缩拉伸,提高对筛分箱体20的震荡频率,提高筛分箱体20内的筛网21对秸秆屑的筛分效率,筛网21将秸秆屑分成长秸秆纤维和秸秆粉料,通过筛网21的粉料通过接料口32落到传送机2上,未通过筛网21的长秸秆纤维通过连接管22落入到接料箱23内,通过接料箱23将长秸秆纤维聚集以备用;Step 2: Put the straw prepared in
步骤三:由传送机2将步骤二中制备的秸秆粉料投入磨浆机3内进行加工,向磨浆箱体39内加清水,第二电机33带动第一齿轮35和第二磨盘38转动,第一齿轮35带动第二齿轮36转动,第二齿轮36带动第一磨盘37转动,通过第一磨盘37和第二磨盘38之间的相对运动,对落入二者之间的秸秆粉浆进行冲击和挤压,将秸秆粉浆逐渐研磨为细粉浆,细粉浆随着第二磨盘38上的渗滤缝落入磨浆箱体39的底部,通过与出料阀41连接的泵机4和管道5将细粉浆输送到加热搅拌机6中;Step 3: Put the straw powder prepared in
步骤四:向步骤四中的磨浆机3中加入清水洗刷,当步骤四中的细粉浆全部排出磨浆机3后,将步骤二中得到的长秸秆纤维加入磨浆机3中,并与清水混合,同时加入备好的木纤维和棉花纤维,第二电机33带动第一齿轮35和第二磨盘38转动,第一齿轮35带动第二齿轮36转动,第二齿轮36带动第一磨盘37转动,通过第一磨盘37和第二磨盘38之间的相对运动,对落入二者之间的混合纤维浆进行冲击和挤压,将混合纤维浆逐渐研磨为长纤维浆,长纤维浆随着第二磨盘38上的渗滤缝落入磨浆箱体39的底部,通过与出料阀41连接的泵机4和管道5输送到加热搅拌机6中;Step 4: Add clean water to the
步骤五:向加热搅拌机6内加入药液A,封闭加热搅拌箱42,第三电机44带动搅拌轮47对长纤维浆、细粉浆与药液A进行加热搅拌混合,得到混合浆料,然后对混合浆料进行氧脱木素处理,得到浆料A;Step 5: Add the medicinal solution A into the
步骤六:向浆料A中投入药液B,封闭加热搅拌箱42,第三电机44带动搅拌轮47对浆料A和药液B进行搅拌,搅拌均匀后得到强化纸浆;Step 6: Put the liquid medicine B into the slurry A, close the heating and stirring
步骤七:将步骤六所得的强化纸浆放入纸页成型机中进行压榨和抽吸,使纸页成型,然后对成型的纸页进行烘干、卷取、切割、包装,最终得到成品卫生纸。Step 7: Put the reinforced pulp obtained in
所述粉碎筛分机1包括装置机架7、粉碎箱8、防尘罩9、第一电机10、主转动杆11、第一从动杆12、第二从动杆49、主动齿轮13、第一从动齿轮14、第二从动齿轮15、切割叶片16、进料斗17、支撑轴承18、伸缩罩19、筛分箱体20、筛网21、连接管22、接料箱23、振动器30、安装架31和接料口32,所述粉碎箱8固定安装在装置机架7的上端,所述粉碎箱8上端中心位置固定连接有进料斗17,粉碎箱8内设置有主转动杆11、第一从动杆12和第二从动杆49,所述主转动杆11、第一从动杆12和第二从动杆49在竖直方向排成一列设置,所述主转动杆11位于第一从动杆12和第二从动杆49之间,所述主转动杆11、第一从动杆12和第二从动杆49在同一侧都安装有支撑轴承18,所述支撑轴承18穿过粉碎箱8的箱壁,支撑轴承18的外圈与粉碎箱8固定连接,所述主转动杆11、第一从动杆12和第二从动杆49的另一侧穿过粉碎箱8的箱壁并与粉碎箱8转动连接,所述主转动杆11的端部与第一电机10的驱动轴固定连接,主转动杆11的端部与主动齿轮13的内圈固定连接,所述第一从动杆12与第一从动齿轮14的内圈固定连接,所述第二从动杆49与第二从动齿轮15的内圈固定连接,所述主动齿轮13分别与第一从动齿轮14和第二从动齿轮15啮合连接,若干所述切割叶片16安装在主转动杆11、第一从动杆12和第二从动杆49上,所述第一电机10安装在防尘罩9内,第一电机9的驱动轴穿过防尘罩9并与防尘罩9转动连接,所述第一电机10的驱动轴端部与主动齿轮13的内圈固定连接且与主转动杆11的端部固定连接;The crushing and
所述筛分箱体20固定安装在装置机架7上,所述筛分箱体20位于粉碎箱8的正下方,所述筛分箱体20的进料口与粉碎箱8的出料口通过伸缩罩19相连通,所述筛分箱体20倾斜设置,所述筛分箱体20内固定安装有筛网21,所述筛分箱体20下端固定设置有安装架31,所述安装架31上安装有若干组振动器30。The
所述装置机架7的下端设置有四组上连接架24,所述筛分箱体20上端设置有四组与上连接架24相对应的下连接架29,所述下连接架29上端安装有连接杆28,所述连接杆28上端连接有连接套27,所述连接套27上端设置有连接挂钩25,所述连接挂钩25与上连接架24相连,所述震动弹簧26套接在连接杆28外周,所述震动弹簧26下端与下连接架29相连,所述震动弹簧26上端连接在连接套27上。The lower end of the
所述磨浆机3包括第二电机33、电机罩34、第一齿轮35、第二齿轮36、第一磨盘37、第二磨盘38、磨浆箱体39、进水阀40和出料阀41,所述磨浆箱体39的顶部边缘安装有进水阀40,所述磨浆箱体39的顶部中心设有通孔,通孔与第一磨盘37的转动轴转动连接,所述第二磨盘38的转动轴贯穿第一磨盘37的转动轴并与第一磨盘37的转动轴转动连接,所述第二磨盘38与第一磨盘37之间滑动连接,所述第二磨盘38转动轴的端部与第二电机33的驱动轴端部固定连接,所述第二电机33的驱动轴周围刻有齿痕并与第一齿轮35啮合连接,所述第一齿轮35与第二齿轮36啮合连接,所述第一磨盘37的转动轴端部沿圆周刻有齿痕并与第二齿轮36啮合连接,所述第一齿轮35和第二齿轮36安装在磨浆箱体39顶部并与磨浆箱体39转动连接,所述第二电机33、第一齿轮35和第二齿轮36外罩有电机罩34,且第二电机33与电机罩34的顶部固定连接。The
所述第一磨盘37包括上固定环371、上磨盘主体372和连接竿373,所述第一磨盘37的转动轴端部通过若干根连接竿373与上磨盘主体372固定连接,所述上磨盘主体372呈环状,上磨盘主体372的上表面为光滑面,下表面设置有若干S形研磨条,所述上固定环371套设在上磨盘主体372的边缘上,所述第二磨盘38包括下固定环381和下磨盘主体382,所述下磨盘主体382的上表面设置有若干曲形研磨条,靠近下磨盘主体382的边缘均匀分布有若干渗滤缝,所述下固定环381套设在下磨盘主体382的边缘上。The
所述加热搅拌机6包括加热搅拌箱42、加热器43、第三电机44、第一进料阀45、第二进料阀46、搅拌轮47和出浆阀48,所述第三电机44安装在加热搅拌箱42的顶部中心,所述第三电机44的驱动轴穿过加热搅拌箱42的顶部并与之转动连接,所述第三电机44的驱动轴端部与搅拌轮47的转动轴端部固定连接,所述搅拌轮47的转动轴上均匀分布有若干搅拌环,所述第一进料阀45和第二进料阀46安装在加热搅拌箱42的顶部并位于第三电机44的两侧,所述加热搅拌箱42的底部一侧开有通孔并安装有出浆阀48,所述加热搅拌箱42的底部中心安装有加热器43。The heating and stirring
所述药液A是由氢氧化钠、亚硫酸钠、硼氢化钠、烷基聚葡糖苷和水组成的,所述药液B浓度为0.5%的湿强剂以及浓度为0.07%的造纸分散剂组成的混合药液。The medicinal solution A is composed of sodium hydroxide, sodium sulfite, sodium borohydride, alkyl polyglucoside and water, and the medicinal solution B is a wet strength agent with a concentration of 0.5% and a papermaking dispersant with a concentration of 0.07%. of mixed medicines.
在本发明的描述中,需要理解的是,术语“上”、“下”、“左”、“右”等指示方位或位置关系为基于附图所示的方位或位置关系,仅是为了便于描述本发明和简化描述,而不是指示或暗示所指的装置或元件必须具有特定的方位、以及特定的方位构造和操作,因此,不能理解为对本发明的限制。此外,“第一”、“第二”仅由于描述目的,且不能理解为指示或暗示相对重要性或者隐含指明所指示的技术特征的数量。因此,限定有“第一”、“第二”的特征可以明示或者隐含地包括一个或者多个该特征。本发明的描述中,除非另有说明,“多个”的含义是两个或两个以上。In the description of the present invention, it should be understood that the terms "upper", "lower", "left", "right", etc. indicate the orientation or positional relationship based on the orientation or positional relationship shown in the accompanying drawings, and are only for convenience The invention is described and simplified without indicating or implying that the device or element referred to must have a particular orientation, as well as a particular orientation configuration and operation, and therefore should not be construed as limiting the invention. In addition, "first" and "second" are for descriptive purposes only, and cannot be understood as indicating or implying relative importance or implying the number of indicated technical features. Thus, a feature delimited with "first", "second" may expressly or implicitly include one or more of that feature. In the description of the present invention, unless otherwise specified, "plurality" means two or more.
在本发明的描述中,需要说明的是,除非另有明确的规定和限定,术语“安装”“相连”“连接”等应做广义理解,例如,可以是固定连接,也可以是可拆卸连接,或一体地连接;可以是机械连接,也可以是电连接;可以是直接相连,也可以通过中间媒介间接连接,可以是两个元件内部的连通。对于本领域的普通技术人员而言,可以具体情况理解上述术语在本发明中的具体含义。In the description of the present invention, it should be noted that, unless otherwise expressly specified and limited, the terms "installed", "connected" and "connected" should be understood in a broad sense, for example, it may be a fixed connection or a detachable connection , or integrally connected; it can be a mechanical connection or an electrical connection; it can be a direct connection, or an indirect connection through an intermediate medium, or the internal communication between the two components. For those of ordinary skill in the art, the specific meanings of the above terms in the present invention can be understood in specific situations.
以上对本发明的一个实施例进行了详细说明,但所述内容仅为本发明的较佳实施例,不能被认为用于限定本发明的实施范围。凡依本发明申请范围所作的均等变化与改进等,均应仍归属于本发明的专利涵盖范围之内。An embodiment of the present invention has been described in detail above, but the content is only a preferred embodiment of the present invention, and cannot be considered to limit the scope of the present invention. All equivalent changes and improvements made according to the scope of the application of the present invention should still belong to the scope of the patent of the present invention.
Claims (8)
Priority Applications (1)
| Application Number | Priority Date | Filing Date | Title |
|---|---|---|---|
| CN202010942125.1A CN112080963A (en) | 2020-09-09 | 2020-09-09 | A kind of high tenacity wet and dry toilet paper and its processing technology |
Applications Claiming Priority (1)
| Application Number | Priority Date | Filing Date | Title |
|---|---|---|---|
| CN202010942125.1A CN112080963A (en) | 2020-09-09 | 2020-09-09 | A kind of high tenacity wet and dry toilet paper and its processing technology |
Publications (1)
| Publication Number | Publication Date |
|---|---|
| CN112080963A true CN112080963A (en) | 2020-12-15 |
Family
ID=73732983
Family Applications (1)
| Application Number | Title | Priority Date | Filing Date |
|---|---|---|---|
| CN202010942125.1A Withdrawn CN112080963A (en) | 2020-09-09 | 2020-09-09 | A kind of high tenacity wet and dry toilet paper and its processing technology |
Country Status (1)
| Country | Link |
|---|---|
| CN (1) | CN112080963A (en) |
Cited By (1)
| Publication number | Priority date | Publication date | Assignee | Title |
|---|---|---|---|---|
| CN113774721A (en) * | 2021-08-16 | 2021-12-10 | 东莞市财州纸制品有限公司 | A kind of preparation method and equipment of high tenacity paper towel based on electrolytic weak acid cotton fiber |
Citations (4)
| Publication number | Priority date | Publication date | Assignee | Title |
|---|---|---|---|---|
| CN101352324A (en) * | 2007-12-05 | 2009-01-28 | 山东福荫造纸环保科技有限公司 | Sanitary paper prepared by cereal straw pulp and preparation method thereof |
| CN101760987A (en) * | 2008-11-28 | 2010-06-30 | 山东福荫造纸环保科技有限公司 | High-air-permeability mixed pulp and household paper made thereof |
| CN106638115A (en) * | 2016-11-16 | 2017-05-10 | 宁霄 | Supersoft household paper and manufacturing method thereof |
| CN106835823A (en) * | 2016-12-29 | 2017-06-13 | 安徽比伦生活用纸有限公司 | A kind of toilet paper with bacteriostasis and health-care effect |
-
2020
- 2020-09-09 CN CN202010942125.1A patent/CN112080963A/en not_active Withdrawn
Patent Citations (4)
| Publication number | Priority date | Publication date | Assignee | Title |
|---|---|---|---|---|
| CN101352324A (en) * | 2007-12-05 | 2009-01-28 | 山东福荫造纸环保科技有限公司 | Sanitary paper prepared by cereal straw pulp and preparation method thereof |
| CN101760987A (en) * | 2008-11-28 | 2010-06-30 | 山东福荫造纸环保科技有限公司 | High-air-permeability mixed pulp and household paper made thereof |
| CN106638115A (en) * | 2016-11-16 | 2017-05-10 | 宁霄 | Supersoft household paper and manufacturing method thereof |
| CN106835823A (en) * | 2016-12-29 | 2017-06-13 | 安徽比伦生活用纸有限公司 | A kind of toilet paper with bacteriostasis and health-care effect |
Cited By (1)
| Publication number | Priority date | Publication date | Assignee | Title |
|---|---|---|---|---|
| CN113774721A (en) * | 2021-08-16 | 2021-12-10 | 东莞市财州纸制品有限公司 | A kind of preparation method and equipment of high tenacity paper towel based on electrolytic weak acid cotton fiber |
Similar Documents
| Publication | Publication Date | Title |
|---|---|---|
| CN207204902U (en) | A kind of paper grade (stock) raw material pulping machine | |
| CN112044543B (en) | Medicinal material reducing mechanism for pharmacy | |
| CN112080963A (en) | A kind of high tenacity wet and dry toilet paper and its processing technology | |
| CN211897570U (en) | Pulping device is used in carton production | |
| CN213314472U (en) | Material mixing device for manufacturing Guanyin bean curd food | |
| CN112761010A (en) | Production process of harmless regenerated high-grade double-ash fiber special paper | |
| CN210481880U (en) | Hydraulic pulper capable of improving working efficiency | |
| CN216615301U (en) | Papermaking beating machine capable of achieving uniform beating | |
| CN112064417A (en) | Toilet paper prepared from natural color bamboo pulp and processing technology thereof | |
| CN214271480U (en) | Paper pulp filtering device for corrugated production | |
| CN212000359U (en) | Papermaking pulping device | |
| CN206868581U (en) | A kind of screen cloth vibration-type bagasse depithing machine | |
| CN214437645U (en) | Papermaking raw materials is dust collector for breakage | |
| CN214423005U (en) | Environment-friendly recycled paper pretreatment device | |
| CN116657431A (en) | Slitter edge collecting device of electrocardiogram paper roll separating machine | |
| CN210585275U (en) | Refined continuous feeding integrated machine | |
| CN211112906U (en) | Parchment paper recycling and degrading device | |
| CN210066329U (en) | Anti-blocking high-concentration hydraulic pulper | |
| CN213896534U (en) | Cardboard pulper convenient to separate impurity and paper pulp | |
| CN214736968U (en) | Pulper for papermaking | |
| CN215856938U (en) | Centrifugal pulping machine for waste paper recovery | |
| CN216919829U (en) | Novel hydrapulper of paperboard machine | |
| CN219216871U (en) | Automatic feeding device for rice cake production line | |
| CN113802400A (en) | Environment-friendly energy-saving device for manufacturing paper pulp by straws | |
| CN220079556U (en) | Beating and filtering device for paper towel production |
Legal Events
| Date | Code | Title | Description |
|---|---|---|---|
| PB01 | Publication | ||
| PB01 | Publication | ||
| SE01 | Entry into force of request for substantive examination | ||
| SE01 | Entry into force of request for substantive examination | ||
| WW01 | Invention patent application withdrawn after publication |
Application publication date: 20201215 |
|
| WW01 | Invention patent application withdrawn after publication |
