CN111922868A - A wood grinding device in the field of furniture production and using method thereof - Google Patents
A wood grinding device in the field of furniture production and using method thereof Download PDFInfo
- Publication number
- CN111922868A CN111922868A CN202010797113.4A CN202010797113A CN111922868A CN 111922868 A CN111922868 A CN 111922868A CN 202010797113 A CN202010797113 A CN 202010797113A CN 111922868 A CN111922868 A CN 111922868A
- Authority
- CN
- China
- Prior art keywords
- grinding
- fixedly installed
- servo motor
- electric telescopic
- switch
- Prior art date
- Legal status (The legal status is an assumption and is not a legal conclusion. Google has not performed a legal analysis and makes no representation as to the accuracy of the status listed.)
- Granted
Links
Images
Classifications
-
- B—PERFORMING OPERATIONS; TRANSPORTING
- B24—GRINDING; POLISHING
- B24B—MACHINES, DEVICES, OR PROCESSES FOR GRINDING OR POLISHING; DRESSING OR CONDITIONING OF ABRADING SURFACES; FEEDING OF GRINDING, POLISHING, OR LAPPING AGENTS
- B24B27/00—Other grinding machines or devices
- B24B27/0076—Other grinding machines or devices grinding machines comprising two or more grinding tools
-
- B—PERFORMING OPERATIONS; TRANSPORTING
- B24—GRINDING; POLISHING
- B24B—MACHINES, DEVICES, OR PROCESSES FOR GRINDING OR POLISHING; DRESSING OR CONDITIONING OF ABRADING SURFACES; FEEDING OF GRINDING, POLISHING, OR LAPPING AGENTS
- B24B27/00—Other grinding machines or devices
- B24B27/0023—Other grinding machines or devices grinding machines with a plurality of working posts
-
- B—PERFORMING OPERATIONS; TRANSPORTING
- B24—GRINDING; POLISHING
- B24B—MACHINES, DEVICES, OR PROCESSES FOR GRINDING OR POLISHING; DRESSING OR CONDITIONING OF ABRADING SURFACES; FEEDING OF GRINDING, POLISHING, OR LAPPING AGENTS
- B24B27/00—Other grinding machines or devices
- B24B27/0069—Other grinding machines or devices with means for feeding the work-pieces to the grinding tool, e.g. turntables, transfer means
-
- B—PERFORMING OPERATIONS; TRANSPORTING
- B24—GRINDING; POLISHING
- B24B—MACHINES, DEVICES, OR PROCESSES FOR GRINDING OR POLISHING; DRESSING OR CONDITIONING OF ABRADING SURFACES; FEEDING OF GRINDING, POLISHING, OR LAPPING AGENTS
- B24B41/00—Component parts such as frames, beds, carriages, headstocks
- B24B41/005—Feeding or manipulating devices specially adapted to grinding machines
-
- B—PERFORMING OPERATIONS; TRANSPORTING
- B24—GRINDING; POLISHING
- B24B—MACHINES, DEVICES, OR PROCESSES FOR GRINDING OR POLISHING; DRESSING OR CONDITIONING OF ABRADING SURFACES; FEEDING OF GRINDING, POLISHING, OR LAPPING AGENTS
- B24B41/00—Component parts such as frames, beds, carriages, headstocks
- B24B41/02—Frames; Beds; Carriages
-
- B—PERFORMING OPERATIONS; TRANSPORTING
- B24—GRINDING; POLISHING
- B24B—MACHINES, DEVICES, OR PROCESSES FOR GRINDING OR POLISHING; DRESSING OR CONDITIONING OF ABRADING SURFACES; FEEDING OF GRINDING, POLISHING, OR LAPPING AGENTS
- B24B41/00—Component parts such as frames, beds, carriages, headstocks
- B24B41/04—Headstocks; Working-spindles; Features relating thereto
-
- B—PERFORMING OPERATIONS; TRANSPORTING
- B24—GRINDING; POLISHING
- B24B—MACHINES, DEVICES, OR PROCESSES FOR GRINDING OR POLISHING; DRESSING OR CONDITIONING OF ABRADING SURFACES; FEEDING OF GRINDING, POLISHING, OR LAPPING AGENTS
- B24B47/00—Drives or gearings; Equipment therefor
- B24B47/10—Drives or gearings; Equipment therefor for rotating or reciprocating working-spindles carrying grinding wheels or workpieces
- B24B47/12—Drives or gearings; Equipment therefor for rotating or reciprocating working-spindles carrying grinding wheels or workpieces by mechanical gearing or electric power
-
- B—PERFORMING OPERATIONS; TRANSPORTING
- B24—GRINDING; POLISHING
- B24B—MACHINES, DEVICES, OR PROCESSES FOR GRINDING OR POLISHING; DRESSING OR CONDITIONING OF ABRADING SURFACES; FEEDING OF GRINDING, POLISHING, OR LAPPING AGENTS
- B24B7/00—Machines or devices designed for grinding plane surfaces on work, including polishing plane glass surfaces; Accessories therefor
- B24B7/20—Machines or devices designed for grinding plane surfaces on work, including polishing plane glass surfaces; Accessories therefor characterised by a special design with respect to properties of the material of non-metallic articles to be ground
- B24B7/28—Machines or devices designed for grinding plane surfaces on work, including polishing plane glass surfaces; Accessories therefor characterised by a special design with respect to properties of the material of non-metallic articles to be ground for grinding wood
-
- B—PERFORMING OPERATIONS; TRANSPORTING
- B24—GRINDING; POLISHING
- B24B—MACHINES, DEVICES, OR PROCESSES FOR GRINDING OR POLISHING; DRESSING OR CONDITIONING OF ABRADING SURFACES; FEEDING OF GRINDING, POLISHING, OR LAPPING AGENTS
- B24B9/00—Machines or devices designed for grinding edges or bevels on work or for removing burrs; Accessories therefor
- B24B9/002—Machines or devices designed for grinding edges or bevels on work or for removing burrs; Accessories therefor for travelling workpieces
-
- B—PERFORMING OPERATIONS; TRANSPORTING
- B24—GRINDING; POLISHING
- B24B—MACHINES, DEVICES, OR PROCESSES FOR GRINDING OR POLISHING; DRESSING OR CONDITIONING OF ABRADING SURFACES; FEEDING OF GRINDING, POLISHING, OR LAPPING AGENTS
- B24B9/00—Machines or devices designed for grinding edges or bevels on work or for removing burrs; Accessories therefor
- B24B9/02—Machines or devices designed for grinding edges or bevels on work or for removing burrs; Accessories therefor characterised by a special design with respect to properties of materials specific to articles to be ground
- B24B9/18—Machines or devices designed for grinding edges or bevels on work or for removing burrs; Accessories therefor characterised by a special design with respect to properties of materials specific to articles to be ground of wood
Landscapes
- Engineering & Computer Science (AREA)
- Mechanical Engineering (AREA)
- Life Sciences & Earth Sciences (AREA)
- Wood Science & Technology (AREA)
- Finish Polishing, Edge Sharpening, And Grinding By Specific Grinding Devices (AREA)
Abstract
本发明提供一种家具生产领域的木材打磨装置及其使用方法,包括台面,台面的顶部一侧固定安装有支架,支架的顶部通过输送机构安装有放料板,放料板的两侧滑动连接有滑块,滑块的顶部安装有两根转轴,两根转轴的顶部固定安装有第一滚轮,放料板的底端与支撑面的一端固定连接,本发明通过第一电动伸缩杆的伸缩带动磨砂盘对家具板材的水平面进行打磨,且第二电动伸缩杆的伸缩带动打磨块对家具板材的边侧进行打磨,通过设置的滑槽和滑块进行配合,便于对打磨壳体进行滑动打磨,通过步进电机的转动带动第三转杆进行转动,通过传送料带和磨砂盘的相互配合,使得对家具板材进一步的水平打磨,提高送料的效率,同时提高工作的效率。
The invention provides a wood grinding device in the field of furniture production and a method for using the same, comprising a table top, a bracket is fixedly installed on one side of the top of the table top, a feeding plate is installed on the top of the bracket through a conveying mechanism, and two sides of the feeding plate are slidably connected There is a sliding block, two rotating shafts are installed on the top of the sliding block, a first roller is fixedly installed on the top of the two rotating shafts, and the bottom end of the discharging plate is fixedly connected with one end of the supporting surface. Drive the sanding disc to grind the horizontal surface of the furniture board, and the extension and retraction of the second electric telescopic rod drives the grinding block to grind the side of the furniture board. The sliding groove and the slider are matched to facilitate the sliding grinding of the grinding shell. , Through the rotation of the stepper motor, the third rotating rod is driven to rotate, and the cooperation between the conveyor belt and the sanding plate enables further horizontal grinding of the furniture board, improving the efficiency of feeding and improving the efficiency of work.
Description
技术领域technical field
本发明属于木材加工技术领域,具体涉及一种家具生产领域的木材打磨装置及其使用方法。The invention belongs to the technical field of wood processing, and in particular relates to a wood grinding device in the field of furniture production and a method for using the same.
背景技术Background technique
传统的打磨方式,是采用人工握持砂布在木材表面往复移动,实现打磨。这种方式人工的劳动强度大,并且人工打磨会存在一定的误差,导致木材的表面不平整。因提供了一种木材打磨设备,包括驱动装置、传输装置和设置在传输装置上方的打磨装置,打磨装置与传输装置之间设有打磨通道。使用时,将木材放置在传输装置上,通过传输装置将木材运输至打磨通道内,再通过驱动装置驱动打磨装置对木材的表面进行打磨。The traditional sanding method is to use a hand-held abrasive cloth to move back and forth on the wood surface to achieve sanding. This method is labor-intensive, and there will be certain errors in manual grinding, resulting in uneven surface of the wood. Because a wood grinding device is provided, which includes a driving device, a transmission device, and a grinding device arranged above the transmission device, and a grinding channel is provided between the grinding device and the transmission device. When in use, the wood is placed on the conveying device, the wood is conveyed into the sanding channel through the conveying device, and the surface of the wood is sanded by driving the sanding device through the driving device.
1)现有的用于生产家具木板的打磨装置,大都需要人工进行输料取料,在打磨的过程中容易引发安全事故,且会浪费较多的劳动力,同时打磨需要人工进行,打磨效果差,且工作效率低下,消耗过度的劳动时间;1) Most of the existing grinding devices used for producing furniture boards require manual feeding and reclaiming, which is likely to cause safety accidents during the grinding process, and waste a lot of labor. At the same time, the grinding needs to be performed manually, and the grinding effect is poor. , and the work efficiency is low, consuming excessive labor time;
2)现有的打磨家具在制造的过程中无法将木材的毛边成进行打磨,会导致木材打磨后成品率低,影响家居使用的美观度,同时部分用于生产家具木板的打磨装置,不能针对不同尺寸的木板进行边侧的调节磨边,板材的边缘部分不能够有效的被打磨。2) The existing grinding furniture cannot polish the burrs of the wood during the manufacturing process, which will result in a low yield after the wood is polished, which affects the aesthetics of home use. The sides of the boards of different sizes are adjusted and edged, and the edges of the boards cannot be effectively polished.
发明内容SUMMARY OF THE INVENTION
本发明的目的在于提供一种家具生产领域的木材打磨装置及其使用方法,旨在解决现有技术中的无法进行滑动打磨,输送物速率低,且无法进行磨边的问题。The purpose of the present invention is to provide a wood grinding device in the field of furniture production and a method of using the same, aiming at solving the problems in the prior art that sliding grinding cannot be performed, the conveying rate is low, and edge grinding cannot be performed.
为实现上述目的,本发明提供如下技术方案:一种家具生产领域的木材打磨装置,包括台面,所述台面的顶部一侧固定安装有支架,所述支架的顶部通过输送机构安装有放料板,所述放料板的两侧滑动连接有滑块,所述滑块的顶部安装有两根转轴,两根所述转轴的顶部固定安装有第一滚轮,所述放料板的底端与支撑面的一端固定连接,所述支撑面的两端均安装有打磨机构,所述支撑面的中部固定安装有支撑架,所述支撑架的顶部安装有磨边机构;In order to achieve the above purpose, the present invention provides the following technical solutions: a wood grinding device in the field of furniture production, comprising a table top, a bracket is fixedly installed on one side of the top of the table top, and a discharge plate is installed on the top of the bracket through a conveying mechanism , sliders are slidably connected to both sides of the discharge plate, two rotating shafts are installed on the top of the slider, and a first roller is fixedly installed on the tops of the two rotating shafts, and the bottom end of the discharge plate is connected to the One end of the support surface is fixedly connected, both ends of the support surface are installed with a grinding mechanism, a support frame is fixedly installed in the middle of the support surface, and an edge grinding mechanism is installed on the top of the support frame;
所述输送机构包括与支架的顶部固定连接有第一转杆,所述第一转杆的顶部外侧套设有三个送料L型板,三个所述送料L型板的一端开设有开槽,所述开槽的内部安装有第二滚轮,所述支架的一侧固定安装有送料架,所述送料架的一侧固定安装有支撑板,所述第一转杆的一端与第一伺服电机的传动端固定连接。The conveying mechanism includes a first rotating rod fixedly connected to the top of the bracket, and three feeding L-shaped plates are sleeved on the outer side of the top of the first rotating rod, and one end of the three feeding L-shaped plates is provided with a slot, A second roller is installed inside the slot, a feeding frame is fixedly installed on one side of the bracket, a support plate is fixedly installed on one side of the feeding frame, and one end of the first rotating rod is connected to the first servo motor. The drive end is fixedly connected.
为了使得打磨棒对家具板材的两边进行打磨,作为本发明一种优选的,所述台面的顶部固定安装有第二伺服电机,所述第二伺服电机的传动端固定安装有主动转盘的,所述主动转盘的外侧套设有皮带,所述皮带的一端与从动转盘传动连接,所述从动转盘的一侧与第二转杆的一端固定连接,所述第二转杆置于输送框架的内部且与内壁嵌设的轴承活动连接,所述第二转杆的外侧通过送料带与转辊的外侧传动连接,所述转辊的两端与输送框架内壁的两侧嵌设的轴承活动连接,所述台面的顶部固定安装有安装架,所述安装架的顶部安装有第三伺服电机,所述安装架的一侧固定安装有横板,所述横板的顶部安装有主动齿轮且与第三伺服电机的传动端固定连接,所述主动齿轮的外侧通过链条与从动齿轮传动连接,所述从动齿轮套设于轴杆的外侧与横板的顶部固定连接。In order to make the grinding rod grind both sides of the furniture board, as a preferred option of the present invention, a second servo motor is fixedly installed on the top of the table, and an active turntable is fixedly installed on the transmission end of the second servo motor, so The outer side of the driving turntable is sleeved with a belt, one end of the belt is drivingly connected with the driven turntable, and one side of the driven turntable is fixedly connected with one end of a second rotating rod, and the second rotating rod is placed on the conveying frame The inside of the rotating rod is movably connected with the bearing embedded in the inner wall, the outer side of the second rotating rod is connected with the outer side of the rotating roller through the feeding belt, and the two ends of the rotating roller are movable with the bearings embedded on both sides of the inner wall of the conveying frame. connection, a mounting frame is fixedly installed on the top of the table, a third servo motor is installed on the top of the mounting frame, a horizontal plate is fixedly installed on one side of the mounting frame, and a driving gear is installed on the top of the horizontal plate. It is fixedly connected with the transmission end of the third servo motor, the outer side of the driving gear is drivingly connected with the driven gear through a chain, and the driven gear is sleeved on the outer side of the shaft and is fixedly connected with the top of the horizontal plate.
为了使得便于家具板材的边侧进行打磨,作为本发明一种优选的,所述打磨机构包括与两个支撑面的顶部固定连接有收集桌面,所述收集桌面的底端安装有收集盒,所述收集台的顶部开设有若干个废屑收集槽,所述支撑面顶部两侧固定安装有打磨架,所述打磨架顶端的底部固定安装有第一电动伸缩杆,所述第一电动伸缩杆的底端固定安装有固定块,所述固定块的四个边角均固定安装有伸缩杆,所述固定安装块的底端固定安装有驱动电机,所述驱动电机的传动端与磨砂盘的顶部固定连接,所述打磨架内壁底端的两侧固定安装有第二电动伸缩杆,两根所述第二电动伸缩杆的伸缩端与打磨块的一侧固定连接。In order to facilitate the grinding of the sides of the furniture board, as a preferred option of the present invention, the grinding mechanism includes a collection table top fixedly connected to the top of the two supporting surfaces, and a collection box is installed at the bottom end of the collection table, so The top of the collection table is provided with a number of waste collection grooves, a grinding frame is fixedly installed on both sides of the top of the support surface, and a first electric telescopic rod is fixedly installed at the bottom of the top of the grinding frame. The first electric telescopic rod The bottom end of the fixed block is fixedly installed with a fixed block, the four corners of the fixed block are fixedly installed with telescopic rods, the bottom end of the fixed installation block is fixedly installed with a drive motor, and the transmission end of the drive motor is connected to the grinding disc. The top is fixedly connected, the two sides of the bottom end of the inner wall of the grinding frame are fixedly installed with second electric telescopic rods, and the telescopic ends of the two second electric telescopic rods are fixedly connected to one side of the grinding block.
为了使得对家具板材进一步的水平打磨,作为本发明一种优选的,所述磨边机构包括与支撑架的顶部固定安装有磨边框架,所述磨边框架顶部两侧安装有滑槽,两个所述滑槽的内部滑动连接有滑块,所述滑块的顶部固定连接有打磨壳体,所述打磨壳体内部的底端固定安装有步进电机,所述步进电机的顶部固定安装有磨砂盘,所述磨边框架顶部两端安装有第三转杆和转辊,所述第三转杆的外侧通过传送料带与转辊的一侧传动连接,所述第三转杆的一端固定安装有第四伺服电机。In order to further grind the furniture board horizontally, as a preferred option of the present invention, the edging mechanism includes an edging frame fixedly installed with the top of the support frame, and two sides of the top of the edging frame are installed with chute, two A sliding block is slidably connected to the inside of each of the sliding grooves, a grinding casing is fixedly connected to the top of the sliding block, a stepper motor is fixedly installed at the bottom end of the grinding casing, and the top of the stepping motor is fixed A sanding disc is installed, and a third rotating rod and a rotating roller are installed at both ends of the top of the edging frame. A fourth servo motor is fixedly installed at one end of the .
为了使得便于对夜间的人员进行照明,作为本发明一种优选的,所述台面的顶部一侧固定安装有LED照明灯。In order to facilitate the lighting of personnel at night, as a preferred embodiment of the present invention, an LED lighting lamp is fixedly installed on one side of the top of the countertop.
为了使得便于对木材打磨装置上的电动设备进行操控,作为本发明一种优选的,所述台面的顶部固定安装有开关面板,所述开关面板的表面固定安装有第一伺服电机开关、第二伺服电机开关、第三伺服电机开关、第一电动伸缩开关、驱动电机开关、第二电动伸缩开关、LED照明灯开关和步进电机开关,所述第一伺服电机、第二伺服电机、第三伺服电机、第一电动伸缩、驱动电机、第二电动伸缩、LED照明灯和步进电机分别通过第一伺服电机开关、第二伺服电机开关、第三伺服电机开关、第一电动伸缩开关、驱动电机开关、第二电动伸缩开关、LED照明灯开关和步进电机开关与外接电源电性连接。In order to facilitate the control of the electric equipment on the wood grinding device, as a preferred option of the present invention, a switch panel is fixedly installed on the top of the table, and a first servo motor switch, a second Servo motor switch, third servo motor switch, first electric telescopic switch, drive motor switch, second electric telescopic switch, LED lighting switch and stepper motor switch, the first servo motor, second servo motor, third The servo motor, the first electric telescopic, the drive motor, the second electric telescopic, the LED lighting and the stepper motor are respectively driven by the first servo motor switch, the second servo motor switch, the third servo motor switch, the first electric telescopic switch, The motor switch, the second electric telescopic switch, the LED lighting switch and the stepping motor switch are electrically connected with the external power supply.
一种家具生产领域的木材打磨装置及其使用方法,包括权利要求1-6中任意一项所述的木材打磨装置,具体步骤如下:A wood grinding device in the field of furniture production and a method of using the same, comprising the wood grinding device described in any one of claims 1-6, and the specific steps are as follows:
S1:输料;S1: feed;
S2:磨边和打磨;S2: edging and grinding;
S3:按压打磨。S3: Press and polish.
为了使得对家具板材进行输送,作为本发明一种优选的,所述S1步骤中的输料包括:首先,通过设置的第一伺服电机的转动带动第一转杆上的三个送料L型板,将家具板材打磨磨边板材输送到送料带上。In order to convey the furniture board, as a preferred option of the present invention, the material conveying in the step S1 includes: first, driving the three feeding L-shaped plates on the first rotating rod through the rotation of the first servo motor. , and transport the furniture board to the feeding belt.
为了使得对家具板材进行磨边,作为本发明一种优选的,所述S2步骤中的磨边步骤包括:第一步,通过第二伺服电机的转动带动皮带,且送料带进行转动使得家居打磨板在链条的转动下带动磨边棒对家具板材的两侧进行打磨,第二步,通过第一电动伸缩杆的伸缩带动磨砂盘对家具板材的水平面进行打磨,且第二电动伸缩杆的伸缩带动打磨块家具板材的边侧进行打磨。In order to perform edging on the furniture plate, as a preferred option of the present invention, the edging step in the step S2 includes: the first step, the belt is driven by the rotation of the second servo motor, and the feeding belt rotates to make household polishing The plate drives the edging rod to polish both sides of the furniture board under the rotation of the chain. In the second step, the sanding disc is driven to grind the horizontal surface of the furniture board by the expansion of the first electric telescopic rod, and the extension of the second electric telescopic rod Drive the edge of the grinding block furniture board for grinding.
为了使得对家具板材进行按压打磨,作为本发明一种优选的,所述S3步骤中的按压打磨步骤包括:通过步进电机的转动带动第三转杆进行转动,通过传送料带和磨砂盘的相互配合,使得对家具板材进一步的水平打磨,通过设置的打磨机构,再次对家具板材进行打磨。In order to press and grind the furniture board, as a preferred option of the present invention, the pressing and grinding step in the step S3 includes: driving the third rotating rod to rotate through the rotation of the stepper motor, In cooperation with each other, the furniture board is further polished horizontally, and the furniture board is polished again through the set polishing mechanism.
与现有技术相比,本发明的有益效果是:Compared with the prior art, the beneficial effects of the present invention are:
1)通过第一电动伸缩杆的伸缩带动磨砂盘对家具板材的水平面进行打磨,且第二电动伸缩杆的伸缩带动打磨块家具板材的边侧进行打磨,通过设置的滑槽和滑块进行配合,便于对打磨壳体进行滑动打磨,通过步进电机的转动带动第三转杆进行转动,通过传送料带和磨砂盘的相互配合,使得对家具板材进一步的水平打磨,提高送料的效率,同时提高工作的效率;1) The horizontal surface of the furniture plate is polished by the expansion and contraction of the first electric telescopic rod, and the grinding plate is driven by the expansion and contraction of the second electric telescopic rod, and the side of the furniture plate is polished by the expansion and contraction of the second electric telescopic rod. , which is convenient for sliding and grinding the grinding shell, and the third rotating rod is driven to rotate by the rotation of the stepping motor. Improve work efficiency;
2)通过设置的滑槽和滑块进行配合,便于对打磨壳体进行滑动打磨,通过步进电机的转动带动第三转杆进行转动,通过传送料带和磨砂盘的相互配合,使得对家具板材进一步的水平打磨,便于对将木材的毛边进行打磨,提高木材打磨后的美观度,同时通过滑槽的滑动带动磨砂盘,对对不同尺寸的木板进行边侧的调节磨边。2) Through the cooperation of the set chute and the slider, it is convenient to slide and polish the grinding shell. The rotation of the stepping motor drives the third rotating rod to rotate. The further horizontal grinding of the board is convenient for grinding the burrs of the wood and improving the aesthetics of the wood after grinding. At the same time, the sanding disc is driven by the sliding of the chute to adjust and grind the sides of the boards of different sizes.
附图说明Description of drawings
附图用来提供对本发明的进一步理解,并且构成说明书的一部分,与本发明的实施例一起用于解释本发明,并不构成对本发明的限制。在附图中:The accompanying drawings are used to provide a further understanding of the present invention, and constitute a part of the specification, and are used to explain the present invention together with the embodiments of the present invention, and do not constitute a limitation to the present invention. In the attached image:
图1为本发明的示意图;Fig. 1 is the schematic diagram of the present invention;
图2为本发明结构示意图之一;Fig. 2 is one of the structural representations of the present invention;
图3为本发明结构示意图之二;Fig. 3 is the second structure schematic diagram of the present invention;
图4为本发明链条结构示意图;Figure 4 is a schematic diagram of the chain structure of the present invention;
图5为本发明打磨机构结构示意图;5 is a schematic structural diagram of a grinding mechanism of the present invention;
图6为本发明磨边机构结构示意图。FIG. 6 is a schematic structural diagram of the edging mechanism of the present invention.
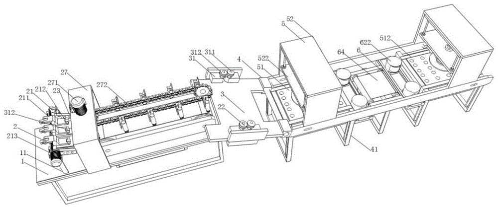
图中:1、台面;11、支架;2、输送机构;21、第一转杆;211、送料L型板;212、开槽;213、第一伺服电机;22、第二滚轮;23、送料架;24、支撑板;25、第二伺服电机;251、主动转盘;252、皮带;253、从动转盘;254、第二转杆;255、送料带;26、输送框架;27、安装架;271、第三伺服电机;272、横板;273、主动齿轮;274、链条;275、从动齿轮;3、放料板;31、滑块;311、转轴;312、第一滚轮;4、支撑面;41、支撑架;5、打磨机构;51、收集桌面;511、收集盒;512、废屑收集槽;52、打磨架;521、第一电动伸缩;522、固定块;523、缩杆;524、固定安装块;53、驱动电机;531、磨砂盘;54、第二电动伸缩;541、打磨块;6、磨边机构;61、磨边框架;62、滑槽;621、滑块;622、打磨壳体;623、步进电机;624、磨砂盘;63、第三转杆;64、传送料带。In the figure: 1, table top; 11, bracket; 2, conveying mechanism; 21, first rotating rod; 211, feeding L-shaped plate; 212, slotting; 213, first servo motor; 22, second roller; 23, Feeding frame; 24, support plate; 25, second servo motor; 251, driving turntable; 252, belt; 253, driven turntable; 254, second turning rod; 255, feeding belt; 26, conveying frame; 27, installation frame; 271, the third servo motor; 272, the horizontal plate; 273, the driving gear; 274, the chain; 275, the driven gear; 3, the discharge plate; 31, the slider; 311, the rotating shaft; 312, the first roller; 4. Supporting surface; 41. Supporting frame; 5. Grinding mechanism; 51. Collection table top; 511. Collection box; 512. Waste collection tank; 52. Grinding frame; , shrink rod; 524, fixed installation block; 53, drive motor; 531, frosted disc; 54, second electric telescopic; 541, grinding block; 6, edging mechanism; 61, edging frame; 62, chute; 621 , Slider; 622, Grinding shell; 623, Stepper motor; 624, Grinding disc; 63, Third rotating rod; 64, Conveyor belt.
具体实施方式Detailed ways
下面将结合本发明实施例中的附图,对本发明实施例中的技术方案进行清楚、完整地描述,显然,所描述的实施例仅仅是本发明一部分实施例,而不是全部的实施例。基于本发明中的实施例,本领域普通技术人员在没有做出创造性劳动前提下所获得的所有其他实施例,都属于本发明保护的范围。The technical solutions in the embodiments of the present invention will be clearly and completely described below with reference to the accompanying drawings in the embodiments of the present invention. Obviously, the described embodiments are only a part of the embodiments of the present invention, but not all of the embodiments. Based on the embodiments of the present invention, all other embodiments obtained by those of ordinary skill in the art without creative efforts shall fall within the protection scope of the present invention.
实施例Example
请参阅图1-6,本发明提供以下技术方案:一种家具生产领域的木材打磨装置,包括台面1,台面1的顶部一侧固定安装有支架11,支架11的顶部通过输送机构2安装有放料板3,放料板3的两侧滑动连接有滑块31,滑块31的顶部安装有两根转轴311,两根转轴311的顶部固定安装有第一滚轮312,放料板3的底端与支撑面4的一端固定连接,支撑面4的两端均安装有打磨机构5,支撑面4的中部固定安装有支撑架41,支撑架41的顶部安装有磨边机构6;1-6, the present invention provides the following technical solutions: a wood grinding device in the field of furniture production, comprising a table top 1, a bracket 11 is fixedly installed on one side of the top of the table top 1, and the top of the bracket 11 is installed with a conveying
输送机构2包括与支架11的顶部固定连接有第一转杆21,第一转杆21的顶部外侧套设有三个送料L型板211,三个送料L型板211的一端开设有开槽212,开槽212的内部安装有第二滚轮22,支架11的一侧固定安装有送料架23,送料架23的一侧固定安装有支撑板24,第一转杆21的一端与第一伺服电机213的传动端固定连接。The conveying
台面1的顶部固定安装有第二伺服电机25,第二伺服电机25的传动端固定安装有主动转盘251的,主动转盘251的外侧套设有皮带252,皮带252的一端与从动转盘传动连接,从动转盘253的一侧与第二转杆254的一端固定连接,第二转杆254置于输送框架26的内部且与内壁嵌设的轴承活动连接,第二转杆254的外侧通过送料带255与转辊的外侧传动连接,转辊的两端与输送框架26内壁的两侧嵌设的轴承活动连接,台面1的顶部固定安装有安装架27,安装架27的顶部安装有第三伺服电机271,安装架27的一侧固定安装有横板272,横板272的顶部安装有主动齿轮273且与第三伺服电机271的传动端固定连接,主动齿轮273的外侧通过链条274与从动齿轮275传动连接,从动齿轮275套设于轴杆的外侧与横板272的顶部固定连接。The top of the table top 1 is fixedly installed with a
具体使用时,首先,对家具板材进行输送准备,通过开关面板打开第一伺服电机开关、第二伺服电机开关和第三伺服电机开关,通过设置的第一伺服电机213的转动带动第一转杆21进行转动,且带动第一转杆21上的若干个送料L型板211对家具板材的进行输送,同时通过第二伺服电机25的转动带动送料带255对家具板材进行送料,通过第三伺服电机271的转动带动主动转盘251和从动转盘253带动链条274底端的一侧的打磨棒对的家具板材的两边进行打磨。In specific use, first, prepare the furniture sheet for transportation, turn on the first servo motor switch, the second servo motor switch and the third servo motor switch through the switch panel, and drive the first rotating rod through the rotation of the set
打磨机构5包括与两个支撑面4的顶部固定连接有收集桌面51,收集桌面51的底端安装有收集盒511,收集台51的顶部开设有若干个废屑收集槽512,支撑面4顶部两侧固定安装有打磨架52,打磨架52顶端的底部固定安装有第一电动伸缩杆521,第一电动伸缩杆521的底端固定安装有固定块522,固定块522的四个边角均固定安装有伸缩杆523,固定安装块524的底端固定安装有驱动电机53,驱动电机53的传动端与磨砂盘531的顶部固定连接,打磨架52内壁底端的两侧固定安装有第二电动伸缩杆54,两根第二电动伸缩杆54的伸缩端与打磨块541的一侧固定连接。The grinding mechanism 5 includes a
具体使用时,通过设置的收集桌面51上的开设废屑收集槽512,便于对家具板材进行打磨,通过设置的收集盒511便于对废屑进行收集,通过第一电动伸缩杆521的伸缩带动磨砂盘531对家具板材的水平面进行打磨,且第二电动伸缩杆54的伸缩带动打磨块541家具板材的边侧进行打磨。In specific use, the
磨边机构6包括与支撑架41的顶部固定安装有磨边框架61,磨边框架61顶部两侧安装有滑槽62,两个滑槽62的内部滑动连接有滑块621,滑块621的顶部固定连接有打磨壳体622,打磨壳体622内部的底端固定安装有步进电机623,步进电机623的顶部固定安装有磨砂盘624,磨边框架61顶部两端安装有第三转杆63和转辊,第三转杆63的外侧通过传送料带64与转辊的一侧传动连接,第三转杆63的一端固定安装有第四伺服电机65。The
具体使用时,通过设置的滑槽62和滑块621进行配合,便于对打磨壳体622进行滑动打磨,通过步进电机的转动带动第三转杆63进行转动,通过传送料带64和磨砂盘624的相互配合,使得对家具板材进一步的水平打磨。In specific use, the sliding
台面1的顶部一侧固定安装有LED照明灯。An LED lighting lamp is fixedly installed on the top side of the table top 1 .
具体使用时,通过设置的LED照明灯便于对夜间的操作人员进行照明。In specific use, it is convenient to illuminate the operator at night through the set LED lighting.
台面的顶部固定安装有开关面板,开关面板的表面固定安装有第一伺服电机开关、第二伺服电机开关、第三伺服电机开关、第一电动伸缩开关、驱动电机开关、第二电动伸缩开关、LED照明灯开关和步进电机开关,第一伺服电机213、第二伺服电机25、第三伺服电机271、第一电动伸缩521、驱动电机53、第二电动伸缩54、LED照明灯和步进电机623分别通过第一伺服电机开关、第二伺服电机开关、第三伺服电机开关、第一电动伸缩开关、驱动电机开关、第二电动伸缩开关、LED照明灯开关和步进电机开关与外接电源电性连接。A switch panel is fixedly installed on the top of the table top, and the surface of the switch panel is fixedly installed with a first servo motor switch, a second servo motor switch, a third servo motor switch, a first electric telescopic switch, a drive motor switch, a second electric telescopic switch, LED lighting switch and stepping motor switch,
一种家具生产领域的木材打磨装置使用方法,包括上述中任意一项的家具生产领域的木材打磨装置,具体步骤如下:A method of using a wood grinding device in the field of furniture production, comprising any one of the wood grinding devices in the field of furniture production, and the specific steps are as follows:
S1:输料;S1: feed;
S2:磨边和打磨;S2: edging and grinding;
S3:按压打磨。S3: Press and polish.
S1步骤中的输料包括:首先,通过设置的第一伺服电机213的转动带动第一转杆21上的三个送料L型板211,将家具板材打磨磨边板材输送到送料带255上。The material conveying in step S1 includes: first, the three feeding L-shaped
S2步骤中的磨边步骤包括:第一步,通过第二伺服电机25的转动带动皮带252,且送料带255进行转动使得家居打磨板在链条274的转动带动磨边棒对家具板材的两侧进行打磨,第二步,通过第一电动伸缩杆521的伸缩带动磨砂盘531对家具板材的水平面进行打磨,且第二电动伸缩杆54的伸缩带动打磨块541家具板材的边侧进行打磨。The edging step in step S2 includes: the first step, the
S3步骤中的按压打磨步骤包括:通过步进电机的转动带动第三转杆63进行转动,通过传送料带64和磨砂盘624的相互配合,使得对家具板材进一步的水平打磨,通过设置的打磨机构5,再次对家具板材进行打磨。The pressing and grinding step in step S3 includes: driving the third
最后应说明的是:以上所述仅为本发明的优选实施例而已,并不用于限制本发明,尽管参照前述实施例对本发明进行了详细的说明,对于本领域的技术人员来说,其依然可以对前述各实施例所记载的技术方案进行修改,或者对其中部分技术特征进行等同替换。凡在本发明的精神和原则之内,所作的任何修改、等同替换、改进等,均应包含在本发明的保护范围之内。Finally, it should be noted that the above descriptions are only preferred embodiments of the present invention, and are not intended to limit the present invention. Although the present invention has been described in detail with reference to the foregoing embodiments, for those skilled in the art, the The technical solutions described in the foregoing embodiments may be modified, or some technical features thereof may be equivalently replaced. Any modification, equivalent replacement, improvement, etc. made within the spirit and principle of the present invention shall be included within the protection scope of the present invention.
Claims (10)
Priority Applications (1)
| Application Number | Priority Date | Filing Date | Title |
|---|---|---|---|
| CN202010797113.4A CN111922868B (en) | 2020-08-10 | 2020-08-10 | Wood polishing device in furniture production field and use method thereof |
Applications Claiming Priority (1)
| Application Number | Priority Date | Filing Date | Title |
|---|---|---|---|
| CN202010797113.4A CN111922868B (en) | 2020-08-10 | 2020-08-10 | Wood polishing device in furniture production field and use method thereof |
Publications (2)
| Publication Number | Publication Date |
|---|---|
| CN111922868A true CN111922868A (en) | 2020-11-13 |
| CN111922868B CN111922868B (en) | 2022-01-07 |
Family
ID=73308179
Family Applications (1)
| Application Number | Title | Priority Date | Filing Date |
|---|---|---|---|
| CN202010797113.4A Active CN111922868B (en) | 2020-08-10 | 2020-08-10 | Wood polishing device in furniture production field and use method thereof |
Country Status (1)
| Country | Link |
|---|---|
| CN (1) | CN111922868B (en) |
Cited By (3)
| Publication number | Priority date | Publication date | Assignee | Title |
|---|---|---|---|---|
| CN113084664A (en) * | 2021-05-11 | 2021-07-09 | 青岛华谊优品智能家具股份有限公司 | Furniture board production line loading attachment |
| CN114290714A (en) * | 2021-12-20 | 2022-04-08 | 魏石运 | Surfboard inner core water repellent equipment |
| CN116141789A (en) * | 2023-03-03 | 2023-05-23 | 上海博悠实业有限公司 | PVC composite board and processing technology thereof |
Citations (9)
| Publication number | Priority date | Publication date | Assignee | Title |
|---|---|---|---|---|
| JP2003136381A (en) * | 2001-10-30 | 2003-05-14 | Amitec Corp | Sanding machine |
| CN103769980A (en) * | 2013-12-31 | 2014-05-07 | 重庆凌达磁材科技有限公司 | Production line for grinding of tile-shaped magnet |
| CN104191331A (en) * | 2014-09-04 | 2014-12-10 | 浙江天竹工贸有限公司 | Full-automatic edge-sanding polisher |
| CN204607219U (en) * | 2015-04-27 | 2015-09-02 | 武汉欣捷数控机械有限公司 | A kind of automatic location hay stacker of disk material |
| CN107263285A (en) * | 2017-07-11 | 2017-10-20 | 信丰迅捷兴电路科技有限公司 | A kind of wiring board welding resistance automatic nog plate system and nog plate method |
| CN107877616A (en) * | 2017-10-13 | 2018-04-06 | 浙江传媒学院 | Wood furniture plate processing device |
| CN107932228A (en) * | 2017-11-24 | 2018-04-20 | 广西荔浦安吉利木业有限公司 | A kind of wood sheet automatic sander |
| CN208729410U (en) * | 2018-08-17 | 2019-04-12 | 浙江庆元真诚竹木有限公司 | A kind of efficient edging device of bamboo wood furniture processing |
| CN209889943U (en) * | 2019-03-20 | 2020-01-03 | 安丘市林河包装制品有限公司 | Conveying production line for processing plastic hollow plates |
-
2020
- 2020-08-10 CN CN202010797113.4A patent/CN111922868B/en active Active
Patent Citations (9)
| Publication number | Priority date | Publication date | Assignee | Title |
|---|---|---|---|---|
| JP2003136381A (en) * | 2001-10-30 | 2003-05-14 | Amitec Corp | Sanding machine |
| CN103769980A (en) * | 2013-12-31 | 2014-05-07 | 重庆凌达磁材科技有限公司 | Production line for grinding of tile-shaped magnet |
| CN104191331A (en) * | 2014-09-04 | 2014-12-10 | 浙江天竹工贸有限公司 | Full-automatic edge-sanding polisher |
| CN204607219U (en) * | 2015-04-27 | 2015-09-02 | 武汉欣捷数控机械有限公司 | A kind of automatic location hay stacker of disk material |
| CN107263285A (en) * | 2017-07-11 | 2017-10-20 | 信丰迅捷兴电路科技有限公司 | A kind of wiring board welding resistance automatic nog plate system and nog plate method |
| CN107877616A (en) * | 2017-10-13 | 2018-04-06 | 浙江传媒学院 | Wood furniture plate processing device |
| CN107932228A (en) * | 2017-11-24 | 2018-04-20 | 广西荔浦安吉利木业有限公司 | A kind of wood sheet automatic sander |
| CN208729410U (en) * | 2018-08-17 | 2019-04-12 | 浙江庆元真诚竹木有限公司 | A kind of efficient edging device of bamboo wood furniture processing |
| CN209889943U (en) * | 2019-03-20 | 2020-01-03 | 安丘市林河包装制品有限公司 | Conveying production line for processing plastic hollow plates |
Cited By (5)
| Publication number | Priority date | Publication date | Assignee | Title |
|---|---|---|---|---|
| CN113084664A (en) * | 2021-05-11 | 2021-07-09 | 青岛华谊优品智能家具股份有限公司 | Furniture board production line loading attachment |
| CN114290714A (en) * | 2021-12-20 | 2022-04-08 | 魏石运 | Surfboard inner core water repellent equipment |
| CN114290714B (en) * | 2021-12-20 | 2024-02-09 | 义乌市海博体育用品有限公司 | Waterproof treatment equipment for inner core of surfing board |
| CN116141789A (en) * | 2023-03-03 | 2023-05-23 | 上海博悠实业有限公司 | PVC composite board and processing technology thereof |
| CN116141789B (en) * | 2023-03-03 | 2024-01-09 | 上海博悠实业股份有限公司 | PVC composite board and processing technology thereof |
Also Published As
| Publication number | Publication date |
|---|---|
| CN111922868B (en) | 2022-01-07 |
Similar Documents
| Publication | Publication Date | Title |
|---|---|---|
| CN111922868A (en) | A wood grinding device in the field of furniture production and using method thereof | |
| CN105252374B (en) | A kind of bottom plate solid wood core plate sanding apparatus | |
| CN208358464U (en) | A kind of stone edge grinding machine | |
| CN111993206A (en) | Corner polishing device for glass processing | |
| CN210476494U (en) | Auxiliary sanding device of wood board sanding machine | |
| CN107042431A (en) | A kind of sanding apparatus of metal compound belt | |
| CN206277230U (en) | A kind of Furniture panel sanding apparatus | |
| CN114473674B (en) | Glass processing is with equipment of polishing with dust removal function | |
| CN221455287U (en) | Stone material heat preservation composite sheet grinding device | |
| CN207696239U (en) | A circuit board edge grinding machine | |
| CN221833989U (en) | Automatic grinding device of cement board | |
| CN216399066U (en) | Edge grinding device for ecological plate production | |
| CN210731973U (en) | Glass tangent plane grinding device is used in curtain wall glass production | |
| CN219967444U (en) | A grinder for steel processing | |
| CN111702586A (en) | A kind of surface treatment equipment for mica sheet production and using method thereof | |
| CN220660277U (en) | Deckle edge grinding device that acrylic panel production was used | |
| CN208414234U (en) | A kind of glass-cutting edging automatic assembly line | |
| CN112247767A (en) | Stone rock plate edge grinding machine | |
| CN207480290U (en) | One kind processes edging device for plank | |
| CN222493553U (en) | Coarse sand conveying roller mechanism of sanding machine | |
| CN222345112U (en) | Efficient plate polishing machine | |
| CN110181357B (en) | Grinding and polishing mechanism for crystal glass chamfered edge | |
| CN221539336U (en) | Polishing device for ceramic tile production | |
| CN222243946U (en) | Square wood grinding device | |
| CN218620874U (en) | Leather grinding machine for leather processing |
Legal Events
| Date | Code | Title | Description |
|---|---|---|---|
| PB01 | Publication | ||
| PB01 | Publication | ||
| SE01 | Entry into force of request for substantive examination | ||
| SE01 | Entry into force of request for substantive examination | ||
| GR01 | Patent grant | ||
| GR01 | Patent grant | ||
| TR01 | Transfer of patent right |
Effective date of registration: 20231128 Address after: Xiang Zhu Zhen Si Kou Lu Cun, Yongkang City, Jinhua City, Zhejiang Province Patentee after: Yongkang Xinguang Lighting Co.,Ltd. Address before: 322206 Jiangqiao village, zhengjiawu Town, Pujiang County, Jinhua City, Zhejiang Province Patentee before: Huang Shufang |
|
| TR01 | Transfer of patent right | ||
| PE01 | Entry into force of the registration of the contract for pledge of patent right |
Denomination of invention: A wood sanding device in the field of furniture production and its usage method Granted publication date: 20220107 Pledgee: Zhejiang Yongkang Rural Commercial Bank Co.,Ltd. Qingxi Branch Pledgor: Yongkang Xinguang Lighting Co.,Ltd. Registration number: Y2025980035009 |
|
| PE01 | Entry into force of the registration of the contract for pledge of patent right |
