CN111230682B - A fast and efficient rust removal device and method - Google Patents

A fast and efficient rust removal device and method Download PDF

Info

Publication number
CN111230682B
CN111230682B CN202010085471.2A CN202010085471A CN111230682B CN 111230682 B CN111230682 B CN 111230682B CN 202010085471 A CN202010085471 A CN 202010085471A CN 111230682 B CN111230682 B CN 111230682B
Authority
CN
China
Prior art keywords
rust
steel pipe
steel
fixing
wheel
Prior art date
Legal status (The legal status is an assumption and is not a legal conclusion. Google has not performed a legal analysis and makes no representation as to the accuracy of the status listed.)
Active
Application number
CN202010085471.2A
Other languages
Chinese (zh)
Other versions
CN111230682A (en
Inventor
邓新华
Current Assignee (The listed assignees may be inaccurate. Google has not performed a legal analysis and makes no representation or warranty as to the accuracy of the list.)
Qian'an Rentai Metal Products Co.,Ltd.
Original Assignee
Qian'an Rentai Metal Products Co ltd
Priority date (The priority date is an assumption and is not a legal conclusion. Google has not performed a legal analysis and makes no representation as to the accuracy of the date listed.)
Filing date
Publication date
Application filed by Qian'an Rentai Metal Products Co ltd filed Critical Qian'an Rentai Metal Products Co ltd
Priority to CN202010085471.2A priority Critical patent/CN111230682B/en
Publication of CN111230682A publication Critical patent/CN111230682A/en
Application granted granted Critical
Publication of CN111230682B publication Critical patent/CN111230682B/en
Active legal-status Critical Current
Anticipated expiration legal-status Critical

Links

Images

Classifications

    • BPERFORMING OPERATIONS; TRANSPORTING
    • B24GRINDING; POLISHING
    • B24BMACHINES, DEVICES, OR PROCESSES FOR GRINDING OR POLISHING; DRESSING OR CONDITIONING OF ABRADING SURFACES; FEEDING OF GRINDING, POLISHING, OR LAPPING AGENTS
    • B24B27/00Other grinding machines or devices
    • B24B27/033Other grinding machines or devices for grinding a surface for cleaning purposes, e.g. for descaling or for grinding off flaws in the surface
    • BPERFORMING OPERATIONS; TRANSPORTING
    • B08CLEANING
    • B08BCLEANING IN GENERAL; PREVENTION OF FOULING IN GENERAL
    • B08B7/00Cleaning by methods not provided for in a single other subclass or a single group in this subclass
    • B08B7/02Cleaning by methods not provided for in a single other subclass or a single group in this subclass by distortion, beating, or vibration of the surface to be cleaned
    • BPERFORMING OPERATIONS; TRANSPORTING
    • B24GRINDING; POLISHING
    • B24BMACHINES, DEVICES, OR PROCESSES FOR GRINDING OR POLISHING; DRESSING OR CONDITIONING OF ABRADING SURFACES; FEEDING OF GRINDING, POLISHING, OR LAPPING AGENTS
    • B24B27/00Other grinding machines or devices
    • B24B27/0046Column grinding machines
    • BPERFORMING OPERATIONS; TRANSPORTING
    • B24GRINDING; POLISHING
    • B24BMACHINES, DEVICES, OR PROCESSES FOR GRINDING OR POLISHING; DRESSING OR CONDITIONING OF ABRADING SURFACES; FEEDING OF GRINDING, POLISHING, OR LAPPING AGENTS
    • B24B41/00Component parts such as frames, beds, carriages, headstocks
    • B24B41/06Work supports, e.g. adjustable steadies
    • B24B41/067Work supports, e.g. adjustable steadies radially supporting workpieces
    • BPERFORMING OPERATIONS; TRANSPORTING
    • B24GRINDING; POLISHING
    • B24BMACHINES, DEVICES, OR PROCESSES FOR GRINDING OR POLISHING; DRESSING OR CONDITIONING OF ABRADING SURFACES; FEEDING OF GRINDING, POLISHING, OR LAPPING AGENTS
    • B24B55/00Safety devices for grinding or polishing machines; Accessories fitted to grinding or polishing machines for keeping tools or parts of the machine in good working condition
    • B24B55/06Dust extraction equipment on grinding or polishing machines
    • BPERFORMING OPERATIONS; TRANSPORTING
    • B24GRINDING; POLISHING
    • B24CABRASIVE OR RELATED BLASTING WITH PARTICULATE MATERIAL
    • B24C1/00Methods for use of abrasive blasting for producing particular effects; Use of auxiliary equipment in connection with such methods
    • B24C1/08Methods for use of abrasive blasting for producing particular effects; Use of auxiliary equipment in connection with such methods for polishing surfaces, e.g. smoothing a surface by making use of liquid-borne abrasives
    • B24C1/086Descaling; Removing coating films
    • BPERFORMING OPERATIONS; TRANSPORTING
    • B24GRINDING; POLISHING
    • B24CABRASIVE OR RELATED BLASTING WITH PARTICULATE MATERIAL
    • B24C7/00Equipment for feeding abrasive material; Controlling the flowability, constitution, or other physical characteristics of abrasive blasts
    • B24C7/0046Equipment for feeding abrasive material; Controlling the flowability, constitution, or other physical characteristics of abrasive blasts the abrasive material being fed in a gaseous carrier

Landscapes

  • Engineering & Computer Science (AREA)
  • Mechanical Engineering (AREA)
  • Cleaning In General (AREA)

Abstract

本发明公开一种快速高效的除锈装置及方法,包括底座,底座左侧上方焊接有左侧板,左侧板顶部连接有横向设置的滑轨,滑轨下方活动连接滑块,滑块左侧端部连接电动伸缩杆的活动端,电动伸缩杆的固定端连接左侧板,滑块底面通过安装板安装有气缸,气缸的活动端通过法兰与除锈组件连接,底座上方对称设有支撑板,支撑板侧面安装有固定组件。本装置通过除锈组件的多种运动状态来提高钢管及钢筋的除锈效率,并能有效的去除、收集铁粉,收集的铁粉可循环喷至钢管及钢筋表面,配合除锈轮的转动,能进一步加强除锈效果,还可在工作状态下能始终保证周边环境较为友好。

Figure 202010085471

The invention discloses a fast and efficient rust removal device and method, comprising a base, a left side plate is welded on the upper left side of the base, a horizontally arranged sliding rail is connected on the top of the left side plate, a sliding block is movably connected below the sliding rail, and a left side of the sliding block is connected The side end is connected to the movable end of the electric telescopic rod, the fixed end of the electric telescopic rod is connected to the left side plate, the bottom surface of the slider is installed with a cylinder through the mounting plate, the movable end of the cylinder is connected to the rust removal component through the flange, and the symmetrical upper part of the base is provided with a cylinder. A support plate, and a fixing component is installed on the side of the support plate. The device improves the rust removal efficiency of steel pipes and steel bars through various motion states of the rust removal components, and can effectively remove and collect iron powder. , can further strengthen the rust removal effect, and can always ensure that the surrounding environment is relatively friendly under working conditions.

Figure 202010085471

Description

Rapid and efficient rust removal device and method
Technical Field
The invention belongs to the field of machinery, and particularly relates to a quick and efficient rust removal device and method.
Background
With the development of economy, the city changes day by day, and the large buildings are built at various places and are fiercely carried out. Steel products are widely applied to the building industry, but the steel products cannot avoid rusting and contaminating impurities such as soil, oil stains and the like in the transportation and storage processes. Therefore, the steel must be treated by rust and dirt removal before use.
The long-time placing of reinforcing bar, the rust can appear on the reinforcing bar surface, if do not handle the iron rust, can influence the use of reinforcing bar, and when the manual work derusted the reinforcing bar, it is wasted time and energy, be injured at the rust removal in-process easily, and current rust cleaning machine, the operation is complicated. The surface of the steel pipe needs to be polished and derusted before being painted, so that the surface of the steel pipe can be better painted, and the existing steel pipe surface derusting device has the defects of incomplete derusting, low derusting efficiency and high manufacturing cost.
Therefore, the development of a quick and efficient rust removal device which can remove the steel bars and the steel pipes on one machine respectively, has high rust removal efficiency and good rust removal effect and can collect the removed rust powder is urgently needed.
Disclosure of Invention
The invention aims to provide a quick and efficient rust removing device and method, which can improve the rust removing efficiency of steel pipes and steel bars through various motion states of a rust removing assembly, can effectively remove and collect iron powder, can circularly spray the collected iron powder to the surfaces of the steel pipes and the steel bars, can further enhance the rust removing effect by matching with the rotation of a rust removing wheel, and can also ensure that the surrounding environment is friendly all the time in a working state.
The technical scheme adopted by the invention for realizing the purpose is as follows: the utility model provides a high efficiency's rust cleaning device, includes the base, and the welding of base left side top has the left side board, and left side board top is connected with the slide rail of horizontal setting, slide rail below swing joint slider, slider left side end connection electric telescopic handle's expansion end, and left side board is connected to electric telescopic handle's stiff end, and the cylinder is installed through the mounting panel to the slider underrun, and the expansion end of cylinder passes through the flange to be connected with the rust cleaning subassembly, and base top symmetry is equipped with the backup pad, and backup pad side-mounting has. This device degree of automation is high, can rust cleaning to reinforcing bar or steel pipe through the corresponding procedure of input on control panel, this device can carry out the centre gripping to reinforcing bar or steel pipe respectively simultaneously, it can rust cleaning to reinforcing bar or steel pipe to have realized a device, very big reduction manufacturing cost, the rust cleaning subassembly not only can remove about through electric telescopic handle's drive, still can remove about through the drive of cylinder, it reciprocates very flexibly during the use, also be applicable to the rust cleaning of various condition, the rust cleaning subassembly passes through the flange and is connected this connected mode with the cylinder and can make the rust cleaning subassembly take place wearing and tearing or in time pull down the processing when breaking down, it is comparatively convenient to maintain, fixed subassembly symmetry sets up, the fixed subassembly on right side can be removed about, reinforcing bar or the steel pipe of different length of fixed subassembly ability centre gripping and thickness simultaneously, satisfy the rust cleaning work.
Preferably, the base is hollow inside, a screw rod is arranged inside the base, the end of the left side of the screw rod is connected with a motor, the motor is located on the outer wall of the left side of the base, a nut seat is sleeved on the surface of the screw rod, a supporting plate is fixedly connected above the nut seat, and a fixing assembly is installed on one side of the supporting plate. The length of reinforcing bar or steel pipe differs, need clip it will be through the backup pad that removes the right side and connect the fixed subassembly in the backup pad, when the clearance between the fixed subassembly that the symmetry set up needs the adjustment, the motor rotates, and the output of motor drives the lead screw and rotates, and the nut seat of being connected with the lead screw also can be to left side or right side slow movement, just remove behind the suitable position, and the motor stall can carry out the centre gripping to reinforcing bar or steel pipe.
Preferably, fixed subassembly divide into fixed subassembly of steel pipe and the fixed subassembly of reinforcing bar, and the fixed subassembly of reinforcing bar is installed inside the sleeve, and the fixed subassembly of steel pipe is installed in the sleeve and the outer wall. The fixing component is a dual-purpose fixing component which can respectively fix the steel bar and the steel pipe, the steel bar is inserted into the sleeve to be fixed, and the steel pipe needs to be inserted into the outer ring of the sleeve to be clamped and fixed.
Preferably, the fixed subassembly of steel pipe includes the center pin, and the center pin passes the backup pad and is located the sleeve, and the end connection runner of center pin, runner surface link firmly 3 at least down tube, keep away from the down tube end connection fixture block of runner one end, and the fixture block is located the through-hole that the sleeve lateral wall was seted up, and the fixed slot is connected to the sleeve outside, and first compression spring one end is connected to the fixed slot inboard, and the clamp splice is connected to the first compression spring other end. Move the fixed subassembly on right side to the rightmost side of base, insert the steel pipe in the rust cleaning subassembly after that, the cylinder drives the rust cleaning subassembly and moves down, move to the position with fixed subassembly parallel and level, promote the steel pipe to embolia the sleeve outside left again, until pushing up to the backup pad side can, first pressure spring can adjust according to the size of steel pipe external diameter, the cooperation clamp splice is tentatively fixed to the steel pipe, because the contact site of center pin and backup pad is threaded connection, the setting of down tube is eccentric setting simultaneously, the down tube can promote the fixture block and wear out the through-hole when rotating the center pin, push up in the steel pipe inner wall, the fixing to steel pipe inside and outside wall has been realized, the stability of steel pipe when the rust cleaning has further been improved, move the fixed subassembly on right side to right side steel pipe tip through the lead screw again at last, make the rust.
Preferably, the steel pipe fixing assembly right side is equipped with the reinforcing bar fixing assembly, and the reinforcing bar fixing assembly is including the ring cloth in the first fixed pipe of sleeve inner wall, and first fixed intraduct is equipped with second pressure spring, and second pressure spring one end butt is in the limiting plate one side, and the connecting rod is connected to the limiting plate another side, and the limiting plate is located first fixed intraduct, and the connecting rod terminal surface that is close to sleeve center department one end is equipped with the wearing layer. The using method of the steel bar fixing assembly is similar to that of the steel pipe fixing assembly, the steel bars are required to be inserted into the rust removing assembly firstly, then the rust removing assembly is lowered to the height parallel to the fixing assembly, the steel bars are pushed to penetrate into the sleeves on the left side, the entering steel bars can be tightly pressed by the second pressure springs annularly distributed, the connecting rods and the wear-resisting blocks, the second pressure springs can be adjusted according to the thickness of the steel bars, the wear-resisting layers can be well attached to the surfaces of the steel bars to prevent the steel bars from slipping in the rust removing process, and finally the fixing assembly on the right side is moved to the end portion of the steel bars on the right side through.
Preferably, the rust cleaning subassembly includes the shell body, shell body inner circle pad has the amortization cotton, the shell body middle part is equipped with the rust cleaning wheel, the cover is equipped with the bearing between rust cleaning wheel and the shell body, rust cleaning wheel left side tip is equipped with the tooth mouth with conical gear intermeshing, conical gear's below is passed through output shaft and is connected the small-size motor, a plurality of rows of rust holes have been seted up to the lower surface of shell body, arrange the rust hole outside and be equipped with collection rust box, collection rust box side connection semi-circular transmission hose, the output of transmission hose passes the shell body top surface, and be located the upper edge in the rust cleaning hole that both ends were seted up around the rust cleaning wheel, the powder shower nozzle is connected to the output of transmission hose. The noise generated when the inside amortization cotton that sets up of this rust cleaning subassembly can effectively reduce the rust cleaning, the rust cleaning subassembly not only can remove rust through electric telescopic handle horizontal slip on the slide rail, still can drive the rust cleaning wheel through the motor and rotate the rust cleaning on steel pipe or reinforcing bar surface, the rust cleaning efficiency and the rust cleaning effect of promotion reinforcing bar that two kinds of rust cleaning modes combine to use can be very big, the use strength after reinforcing bar or the steel pipe rust cleaning has been guaranteed, the iron powder of getting rid of can arrange to the collection rust box in through arranging the rust hole, the effectual operational environment that has improved, also accord with the environmental protection standard, under rust cleaning wheel operating condition, the iron powder of collection can be taken out once more by the aspirator pump, cyclic utilization carries out, spout steel pipe or reinforcing bar surface from the powder shower nozzle through the transfer hose, make the iron rust rub repeatedly with spun iron powder, can make the iron powder drop soo.
Preferably, the rust cleaning hole of through type is seted up at both ends around the rust cleaning wheel, and the rust cleaning wheel is inside to be arranged side by side and is equipped with the fixed pipe of at least three second, and every fixed intraduct of second all is equipped with compression spring, and the stopper bottom surface is connected to compression spring one end, and the stopper top surface passes through the minor axis and connects the arc rust cleaning piece, and three arc rust cleaning piece upper surface is equipped with closed angle, wire brush and the piece of polishing in proper order. The rust removing wheel is matched with a bevel gear of the small electric motor, the rust removing wheel is driven by the motor to move and rotate for rust removal, three rust removing modes are arranged inside the rust removing wheel, the three rust removing modes can operate simultaneously along with the rust removing wheel, the arc rust removing block on the right side can knock the surface of the steel bar or the steel pipe in a high-frequency small-amplitude mode during rust removal, the sharp corners on the surface of the arc rust removing block are not uniformly arranged and are different in height, different forces can be generated during knocking of the steel bar or the steel pipe, a rust layer can be damaged and fall off from the steel bar or the steel pipe, the steel bar or the steel pipe can obtain certain cleanliness and roughness, the mechanical property of the steel bar or the steel pipe is improved, the fatigue resistance of the steel bar or the steel pipe is improved, a steel wire brush arranged on the surface of the arc rust removing block in the middle part can remove rust on the concave joint of the steel bar or the steel pipe, meanwhile, a polishing piece is arranged on the, the steel bar or the steel pipe is derusted by the three modes, rust on the surface of the steel bar or the steel pipe can be effectively removed, the derusting efficiency and the derusting effect are ensured, the fatigue resistance of the steel bar or the steel pipe is improved, and the probability of corrosion pits is reduced.
A quick and efficient rust removing method is characterized by comprising the following steps: the method comprises the following steps:
1) moving the right fixing component to the rightmost side of the base, inserting a steel pipe or a steel bar needing to be cleaned and derusted into the derusting component, then lowering the derusting component to a position flush with the fixing component, pushing the steel pipe or the steel bar to the left side, fixing the steel pipe or the steel bar in the left fixing component, and adjusting the position of the right fixing component;
2) after the steel pipe or the steel bar is clamped, a program is input through a control panel, so that the derusting assembly moves back and forth left and right on the surface of the steel pipe or the steel bar, and meanwhile, a derusting wheel in the derusting assembly can rotate around the steel pipe or the steel bar to remove rust;
3) the steel pipe or the steel bar is subjected to rust removal operation in modes of high-frequency small-amplitude knocking, friction and the like by the rust removal wheel, so that a rusted area can be removed quickly;
4) the removed rust can be discharged to a rust collecting box through rust discharging holes formed in the bottom surface of the rust removing assembly for collection and recycling.
Compared with the prior art, the invention has the beneficial effects that: this device can be divided and is derusted reinforcing bar and steel pipe, degree of automation is high, the produced noise of rust cleaning is lower, the dust is less, it is comparatively friendly to all ring edge borders, but the rust cleaning subassembly horizontal slip derusts, still can rotate the rust cleaning around steel pipe or reinforcing bar surface, two kinds of rust cleaning modes combine to use can be very big promotion reinforcing bar's rust cleaning efficiency and rust cleaning effect, also improved the fatigue resistance of reinforcing bar or steel pipe when guaranteeing rust cleaning efficiency and rust cleaning effect, the probability that the pit that has reduced produced.
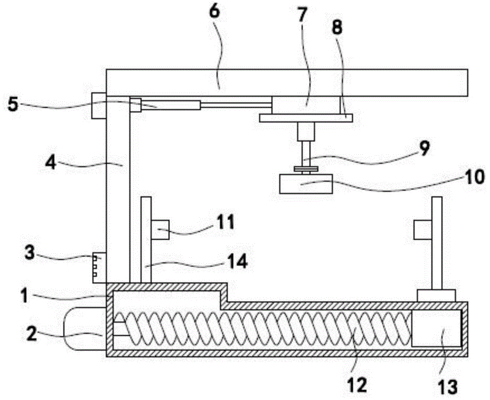
Description of reference numerals: 1, a base; 2, a motor; 3 a control panel; 4, a left side plate; 5, electrically telescopic rods; 6, a slide rail; 7, a sliding block; 8, mounting a plate; 9 air cylinders; 10, a derusting component; 101, a derusting wheel; 1010 a second stationary tube; 1011 arc rust removing block; 1012 polishing the sheet; 1013 wire brush; 1014, sharp corner; 1015 a compression spring; 1016 rust removing holes; 1017 a limiting block; 102 sound-deadening cotton; 103 bearing; 104 an outer shell; 105 rust removing holes; 106 rust collecting boxes; 107 small-sized motors; 108 a bevel gear; 109 a getter pump; 10a transfer hose; 10b a powder spray head; 11 fixing the component; 12, a screw rod; 13, a nut seat; 14 a support plate; 15, fixing a steel pipe; 151 central axis; 152 a through hole; 153 rotating wheels; 154 a diagonal rod; 155 a fixture block; 156 a clamp block; 157 a first pressure spring; 158 fixing grooves; 16 reinforcing steel bar fixing components; 161 a second pressure spring; 162 an abrasion resistant layer; 163 connecting rods; 164 a first stationary tube; 165 a limit plate; 17 sleeve.
Drawings
In order to more clearly illustrate the embodiments of the present invention or the technical solutions in the prior art, the drawings used in the description of the embodiments or the prior art will be briefly described below, it is obvious that the drawings in the following description are only some embodiments of the present invention, and for those skilled in the art, other drawings can be obtained according to the drawings without creative efforts.
FIG. 1 is a front view of a rapid and efficient rust removing apparatus according to the present invention;
FIG. 2 is a schematic structural view of a fixing assembly according to the present invention;
FIG. 3 is a schematic structural view of the steel pipe fixing assembly according to the present invention;
FIG. 4 is a schematic view of the reinforcing bar fixing assembly according to the present invention;
FIG. 5 is a schematic view of the internal structure of the rust removing assembly of the present invention;
FIG. 6 is a left side view of the rust removing assembly of the present invention;
FIG. 7 is a schematic view of the internal structure of the rust removing wheel of the present invention;
FIG. 8 is a schematic structural view of the internal components of the derusting wheel of the invention;
FIG. 9 is a cross-sectional view of the invention A-A;
FIG. 10 is a graph of experimental data for the present invention.
Detailed Description
The technical solutions in the embodiments of the present invention will be clearly and completely described below with reference to the drawings in the embodiments of the present invention, and it is obvious that the described embodiments are only a part of the embodiments of the present invention, and not all of the embodiments. All other embodiments, which can be derived by a person skilled in the art from the embodiments given herein without making any creative effort, shall fall within the protection scope of the present invention.
Example 1:
referring to fig. 1-9, a quick and efficient rust cleaning device, including base 1, the welding of base 1 left side top has left side board 4, left side board 4 top is connected with the slide rail 6 of horizontal setting, slide rail 6 below swing joint slider 7, slider 7 left side end connection electric telescopic handle 5's expansion end, left side board 4 is connected to electric telescopic handle 5's stiff end, cylinder 9 is installed through mounting panel 8 to slider 7 underrun, the expansion end of cylinder 9 passes through the flange and is connected with rust cleaning subassembly 10, base 1 top symmetry is equipped with backup pad 14, backup pad 14 side-mounting has fixed subassembly 11. This device degree of automation is high, can rust cleaning to reinforcing bar or steel pipe through the corresponding procedure of input on control panel, this device can carry out the centre gripping to reinforcing bar or steel pipe respectively simultaneously, it can rust cleaning to reinforcing bar or steel pipe to have realized a device, very big reduction manufacturing cost, the rust cleaning subassembly not only can remove about through electric telescopic handle's drive, still can remove about through the drive of cylinder, it reciprocates very flexibly during the use, also be applicable to the rust cleaning of various condition, the rust cleaning subassembly passes through the flange and is connected this connected mode with the cylinder and can make the rust cleaning subassembly take place wearing and tearing or in time pull down the processing when breaking down, it is comparatively convenient to maintain, fixed subassembly symmetry sets up, the fixed subassembly on right side can be removed about, reinforcing bar or the steel pipe of different length of fixed subassembly ability centre gripping and thickness simultaneously, satisfy the rust cleaning work.
The base 1 is hollow, a screw rod 12 is arranged inside the base 1, the end of the left side of the screw rod 12 is connected with a motor 2, the motor 2 is located on the outer wall of the left side of the base, a nut seat 13 is sleeved on the surface of the screw rod 12, a supporting plate 14 is fixedly connected above the nut seat 13, and a fixing assembly 11 is installed on one side of the supporting plate 14. The length of reinforcing bar or steel pipe differs, need clip it will be through the backup pad that removes the right side and connect the fixed subassembly in the backup pad, when the clearance between the fixed subassembly that the symmetry set up needs the adjustment, the motor rotates, and the output of motor drives the lead screw and rotates, and the nut seat of being connected with the lead screw also can be to left side or right side slow movement, just remove behind the suitable position, and the motor stall can carry out the centre gripping to reinforcing bar or steel pipe.
The fixed subassembly 11 is divided into steel pipe fixed subassembly 15 and reinforcing bar fixed subassembly 16, and reinforcing bar fixed subassembly 16 installs inside sleeve 17, and steel pipe fixed subassembly 15 installs in sleeve 17 inside and the outer wall. The fixing component is a dual-purpose fixing component which can respectively fix the steel bar and the steel pipe, the steel bar is inserted into the sleeve to be fixed, and the steel pipe needs to be inserted into the outer ring of the sleeve to be clamped and fixed.
The steel pipe fixing component 15 comprises a central shaft 151, the central shaft 151 penetrates through the support plate 14 and is located in the sleeve 17, the end portion of the central shaft 151 is connected with a rotating wheel 153, the surface of the rotating wheel 153 is fixedly connected with at least 3 inclined rods 154, the end portion of the inclined rod 154 far away from one end of the rotating wheel 153 is connected with a fixture block 155, the fixture block 155 is located in a through hole 152 formed in the side wall of the sleeve 17, the outer side of the sleeve 17 is connected with a fixing groove 158, the inner side of the fixing groove 158 is connected with one end of a first pressure spring. Move the fixed subassembly on right side to the rightmost side of base, insert the steel pipe in the rust cleaning subassembly after that, the cylinder drives the rust cleaning subassembly and moves down, move to the position with fixed subassembly parallel and level, promote the steel pipe to embolia the sleeve outside left again, until pushing up to the backup pad side can, first pressure spring can adjust according to the size of steel pipe external diameter, the cooperation clamp splice is tentatively fixed to the steel pipe, because the contact site of center pin and backup pad is threaded connection, the setting of down tube is eccentric setting simultaneously, the down tube can promote the fixture block and wear out the through-hole when rotating the center pin, push up in the steel pipe inner wall, the fixing to steel pipe inside and outside wall has been realized, the stability of steel pipe when the rust cleaning has further been improved, move the fixed subassembly on right side to right side steel pipe tip through the lead screw again at last, make the rust.
The fixed subassembly 16 of reinforcing bar is equipped with to the fixed subassembly right side of steel pipe, and the fixed subassembly 16 of reinforcing bar is including the ring cloth in the first fixed pipe 164 of sleeve 17 inner wall, and first fixed pipe 164 is inside to be equipped with second pressure spring 161, and second pressure spring 161 one end butt is in limiting plate 165 one side, and connecting rod 163 is connected to the limiting plate 165 another side, and inside first fixed pipe 164 was located to limiting plate 165, the connecting rod 163 terminal surface that is close to sleeve 17 center department one end was equipped with wearing layer 162. The using method of the steel bar fixing assembly is similar to that of the steel pipe fixing assembly, the steel bars are required to be inserted into the rust removing assembly firstly, then the rust removing assembly is lowered to the height parallel to the fixing assembly, the steel bars are pushed to penetrate into the sleeves on the left side, the entering steel bars can be tightly pressed by the second pressure springs annularly distributed, the connecting rods and the wear-resisting blocks, the second pressure springs can be adjusted according to the thickness of the steel bars, the wear-resisting layers can be well attached to the surfaces of the steel bars to prevent the steel bars from slipping in the rust removing process, and finally the fixing assembly on the right side is moved to the end portion of the steel bars on the right side through.
The rust cleaning subassembly includes the shell body, shell body inner circle pad has the amortization cotton, the shell body middle part is equipped with the rust cleaning wheel, the cover is equipped with the bearing between rust cleaning wheel and the shell body, rust cleaning wheel left side tip is equipped with the tooth mouth with conical gear intermeshing, conical gear's below is passed through the output shaft and is connected the small-size motor, a plurality of rows of rust holes have been seted up to the lower surface of shell body, the row rust hole outside is equipped with an album rust box, collect rust box 106 side connection semi-circular transmission hose 10a, transmission hose 10 a's output passes shell body 104 top surface, and lie in the upper edge of the rust cleaning hole 1016 that both ends were seted up around the rust cleaning wheel 101, powder shower nozzle 10b is connected to transmission hose 10 a's output, install aspirator. The noise generated when the inside amortization cotton that sets up of this rust cleaning subassembly can effectively reduce the rust cleaning, the rust cleaning subassembly not only can remove rust through electric telescopic handle horizontal slip on the slide rail, still can drive the rust cleaning wheel through the motor and rotate the rust cleaning on steel pipe or reinforcing bar surface, the rust cleaning efficiency and the rust cleaning effect of promotion reinforcing bar that two kinds of rust cleaning modes combine to use can be very big, the use strength after reinforcing bar or the steel pipe rust cleaning has been guaranteed, the iron powder of getting rid of can arrange to the collection rust box in through arranging the rust hole, the effectual operational environment that has improved, also accord with the environmental protection standard, under rust cleaning wheel operating condition, the iron powder of collection can be taken out once more by the aspirator pump, cyclic utilization carries out, spout steel pipe or reinforcing bar surface from the powder shower nozzle through the transfer hose, make the iron rust rub repeatedly with spun iron powder, can make the iron powder drop soo.
The front end and the rear end of the rust removing wheel 101 are provided with penetrating rust removing holes 1016, at least three second fixing pipes 1010 are arranged in parallel inside the rust removing wheel 101, a compression spring 1015 is arranged inside each second fixing pipe 1010, one end of each compression spring 1015 is connected with the bottom surface of a limiting block 1017, the top surface of each limiting block 1017 is connected with an arc-shaped rust removing block 1011 through a short shaft, and the upper surfaces of the three arc-shaped rust removing blocks 1011 are sequentially provided with sharp corners 1014, steel wire brushes 1013 and polishing sheets 1012. The rust removing wheel is matched with a bevel gear of the small electric motor, the rust removing wheel is driven by the motor to move and rotate for rust removal, three rust removing modes are arranged inside the rust removing wheel, the three rust removing modes can operate simultaneously along with the rust removing wheel, the arc rust removing block on the right side can knock the surface of the steel bar or the steel pipe in a high-frequency small-amplitude mode during rust removal, the sharp corners on the surface of the arc rust removing block are not uniformly arranged and are different in height, different forces can be generated during knocking of the steel bar or the steel pipe, a rust layer can be damaged and fall off from the steel bar or the steel pipe, the steel bar or the steel pipe can obtain certain cleanliness and roughness, the mechanical property of the steel bar or the steel pipe is improved, the fatigue resistance of the steel bar or the steel pipe is improved, a steel wire brush arranged on the surface of the arc rust removing block in the middle part can remove rust on the concave joint of the steel bar or the steel pipe, meanwhile, a polishing piece is arranged on the, the steel bar or the steel pipe is derusted by the three modes, so that the iron rust on the surface of the steel bar or the steel pipe can be effectively removed, the derusting efficiency and the derusting effect are ensured, the fatigue resistance of the steel bar or the steel pipe is improved, and the probability of generating corrosion pits is reduced.
A quick and efficient rust removing method is characterized by comprising the following steps: the method comprises the following steps:
1) lowering the rust removal assembly 10 to a position flush with the fixing assembly 11, then enabling a steel pipe or a steel bar needing to be cleaned and derusted to penetrate through the right end of the right side fixing assembly 11, and adjusting the position of the right side fixing assembly 11;
2) after the steel pipe or the steel bar is clamped, a program is input through the control panel 3, so that the derusting assembly 10 moves back and forth left and right on the surface of the steel pipe or the steel bar, and meanwhile, the derusting wheel 101 in the derusting assembly 10 can rotate around the steel pipe or the steel bar to remove rust;
3) the derusting wheel 101 can perform derusting operation of high-frequency small-amplitude knocking, friction and other modes on the steel pipe or the steel bar, so that a rusted area can be conveniently and quickly removed;
4) the removed rust is discharged to a rust collecting box 106 through a rust discharging hole 105 formed in the bottom surface of the rust removing assembly 10, and is collected and recycled. .
Example 2:
the quick and efficient rust removing device disclosed by the invention is characterized in that in the actual operation process: the right fixing component 11 is moved to the rightmost side of the base 1, then a steel pipe or a steel bar is inserted into the rust removing component 10, the air cylinder 9 drives the rust removing component 10 to move downwards and move to a position flush with the fixing component 11, then the steel pipe or the steel bar is pushed leftwards to be inserted into the fixing component 11 for fixing, the steel bar or the steel pipe can be subjected to rust removal by inputting a corresponding program on the control panel 3, the rust removing component 10 can not only perform rust removal by sliding the electric telescopic rod 5 leftwards and rightwards on the slide rail 6, but also can drive the rust removing wheel 101 to perform rotating rust removal on the surface of the steel pipe or the steel bar through the small motor 107, the two modes are combined to greatly improve the rust removing efficiency and the rust removing effect of the steel bar, removed iron rust, dirt and dust can be discharged into the collection box 106 through the rust discharging hole 105, and the removed iron rust dirt, dust are prevented from, and also meets the environmental protection standard.
Example 3:
selecting 16 reinforcing steel bars, dividing the reinforcing steel bars into 4 groups, wherein each group comprises 4 reinforcing steel bars, the diameter of each reinforcing steel bar is 26mm, the reinforcing steel bars are straight and have no local bending, and the rusting area of each reinforcing steel bar is 95-96 percent, and performing a rust removal experiment; the experimental setup used: the invention relates to a rust removing device, which is a CQ-01 rust removing device on the market; the experimental steps are as follows: respectively carrying out experiments on the 3 selected groups of steel bars under different states; state 1: the rust removal device disclosed by the invention normally operates; state 2: the rust removing device disclosed by the invention normally operates, the air suction pump is started, and the collected iron powder is recycled and sprayed to the surface of the steel bar; state 3: normal operation of common rust removal devices in the market; purpose of the experiment: comparing the net removal rates of the two rust removal devices;
as can be seen from the attached figure 10, under the same conditions, the cleaning rate of the rust removing device is about 97.5 percent under the normal operation state, the air suction pump is started, the iron powder is sprayed to the surface of the steel bar and matched with the rust removing wheel, the cleaning rate is about 99 percent, and the cleaning rate of the common rust removing device on the market is only about 95 percent under the normal operation state, so that the rust removing effect of the rust removing device on the market is better than that of the common rust removing device on the market under the normal operation state and the state that the iron powder is sprayed to the surface of the steel bar and matched with the rust removing wheel.
The above disclosure is only for the purpose of illustrating the preferred embodiments of the present invention, and it is therefore to be understood that the invention is not limited by the scope of the appended claims.

Claims (4)

1. The utility model provides a high efficiency's rust cleaning device, includes base (1), its characterized in that: the rust removing device is characterized in that a left side plate (4) is welded above the left side of the base (1), the top of the left side plate (4) is connected with a transversely arranged slide rail (6), a slide block (7) is movably connected below the slide rail (6), the left end of the slide block (7) is connected with the movable end of an electric telescopic rod (5), the fixed end of the electric telescopic rod (5) is connected with the left side plate (4), an air cylinder (9) is installed on the bottom surface of the slide block (7) through a mounting plate (8), the movable end of the air cylinder (9) is connected with a rust removing component (10) through a flange, a support plate (14) is symmetrically arranged above the base (1), and a fixing component (11); the base (1) is hollow, a screw rod (12) is arranged in the base (1), the end part of the left side of the screw rod (12) is connected with a motor (2), the motor (2) is positioned on the outer wall of the left side of the base, a nut seat (13) is sleeved on the surface of the screw rod (12), a support plate (14) is fixedly connected above the nut seat (13), and a fixing assembly (11) is arranged on one side of the support plate (14); the fixing assembly (11) is divided into a steel pipe fixing assembly (15) and a steel bar fixing assembly (16), the steel bar fixing assembly (16) is installed inside the sleeve (17), and the steel pipe fixing assembly (15) is installed on the inner wall and the outer wall of the sleeve (17); the steel pipe fixing assembly (15) comprises a central shaft (151), the central shaft (151) penetrates through a supporting plate (14) and is located in a sleeve (17), the end portion of the central shaft (151) is connected with a rotating wheel (153), at least 3 inclined rods (154) are fixedly connected to the surface of the rotating wheel (153), the end portion of the inclined rod (154) far away from one end of the rotating wheel (153) is connected with a clamping block (155), the clamping block (155) is located in a through hole (152) formed in the side wall of the sleeve (17), the outer side of the sleeve (17) is connected with a fixing groove (158), the inner side of the fixing groove (158) is connected with one end of a first pressure spring (157), and the other end of the first pressure spring (157); the rust removal assembly (10) comprises an outer shell (104), silencing cotton (102) is padded in the inner ring of the outer shell (104), a rust removal wheel (101) is arranged in the middle of the outer shell (104), a bearing (103) is sleeved between the rust removal wheel (101) and the outer shell (104), a tooth mouth meshed with a bevel gear (108) is arranged at the end of the left side of the rust removal wheel (101), a small-sized motor (107) is connected below the bevel gear (108) through an output shaft, a plurality of rust removal holes (105) are formed in the lower surface of the outer shell (104), a rust collection box (106) is arranged on the outer side of each rust removal hole (105), a semicircular transmission hose (10a) is connected to the side surface of the rust collection box (106), the output end of the transmission hose (10a) penetrates through the top surface of the outer shell (104) and is located at the upper edge of each rust removal hole (1016), the output end of the transmission hose (10a) is connected with a powder spray head (10b), and a suction pump (109) is installed on the transmission hose (10a) close to one end of the rust collection box (106).
2. A quick and efficient rust removing device according to claim 1, characterized in that: subassembly (15) right side is fixed to the steel pipe is equipped with fixed subassembly (16) of reinforcing bar, fixed subassembly (16) of reinforcing bar is including the first fixed pipe (164) of ring cloth in sleeve (17) inner wall, first fixed pipe (164) inside is equipped with second pressure spring (161), second pressure spring (161) one end butt is in limiting plate (165) one side, connecting rod (163) are connected to limiting plate (165) another side, limiting plate (165) are located first fixed pipe (164) inside, are close to connecting rod (163) terminal surface of sleeve (17) center department one end is equipped with wearing layer (162).
3. A quick and efficient rust removing device according to claim 1, characterized in that: the rust cleaning wheel is characterized in that penetrating rust cleaning holes (1016) are formed in the front end and the rear end of the rust cleaning wheel (101), at least three second fixing pipes (1010) are arranged in the rust cleaning wheel (101) in parallel, each second fixing pipe (1010) is internally provided with a compression spring (1015), one end of each compression spring (1015) is connected with the bottom surface of a limiting block (1017), the top surface of each limiting block (1017) is connected with an arc rust cleaning block (1011) through a short shaft, and the upper surfaces of the arc rust cleaning blocks (1011) are sequentially provided with sharp corners (1014), a steel wire brush (1013) and polishing sheets (1012).
4. A rust removing method of a quick and efficient rust removing device according to any one of claims 1 to 3, characterized by comprising: the method comprises the following steps:
1) moving the right fixing component (11) to the rightmost side of the base (1), then inserting a steel pipe or a steel bar to be cleaned and derusted into the derusting component (10), then lowering the derusting component (10) to a position flush with the fixing component (11), pushing the steel pipe or the steel bar to the left side, fixing the steel pipe or the steel bar in the left fixing component (11), and adjusting the position of the right fixing component (11);
2) after the steel pipe or the steel bar is clamped, a program is input through the control panel (3), so that the derusting assembly (10) moves back and forth left and right on the surface of the steel pipe or the steel bar, and meanwhile, a derusting wheel (101) in the derusting assembly (10) can rotate around the steel pipe or the steel bar to remove rust;
3) the rust removing wheel (101) performs high-frequency small-amplitude knocking and friction rust removing operation on the steel pipe or the steel bar, so that a rusted area can be conveniently and quickly removed;
4) the removed rust is discharged to a rust collecting box (106) through a rust discharging hole (105) formed in the bottom surface of the rust removing assembly (10) for collection and recycling.
CN202010085471.2A 2020-01-31 2020-01-31 A fast and efficient rust removal device and method Active CN111230682B (en)

Priority Applications (1)

Application Number Priority Date Filing Date Title
CN202010085471.2A CN111230682B (en) 2020-01-31 2020-01-31 A fast and efficient rust removal device and method

Applications Claiming Priority (1)

Application Number Priority Date Filing Date Title
CN202010085471.2A CN111230682B (en) 2020-01-31 2020-01-31 A fast and efficient rust removal device and method

Publications (2)

Publication Number Publication Date
CN111230682A CN111230682A (en) 2020-06-05
CN111230682B true CN111230682B (en) 2021-04-20

Family

ID=70878230

Family Applications (1)

Application Number Title Priority Date Filing Date
CN202010085471.2A Active CN111230682B (en) 2020-01-31 2020-01-31 A fast and efficient rust removal device and method

Country Status (1)

Country Link
CN (1) CN111230682B (en)

Families Citing this family (11)

* Cited by examiner, † Cited by third party
Publication number Priority date Publication date Assignee Title
CN112008575A (en) * 2020-09-05 2020-12-01 王金莲 Rust removal equipment for steel pipe machining in building engineering field
CN112427466A (en) * 2020-09-22 2021-03-02 湖州至诚精密金属科技股份有限公司 Automatic cleaning device for surface of cold-rolled steel pipe
CN112264938B (en) * 2020-09-30 2022-11-25 江西维美亚轮胎有限公司 Dedicated sand blasting equipment of electric motor car inner tube of a tyre production
CN112355796A (en) * 2020-11-04 2021-02-12 湖南利美防爆装备制造股份有限公司 Grinding device is used in processing of effectual electric industry vehicle accessory of location
CN112517300A (en) * 2020-11-30 2021-03-19 何小玲 Intelligent manufacturing type steel pipe surface uniform paint spraying and automatic drying device
CN112658935B (en) * 2020-12-25 2022-05-03 广东昆大钢管有限公司 Steel pipe mechanical type deruster for building
CN112706084B (en) * 2020-12-28 2021-12-10 湖南理工学院 An adaptive supply instantaneous cooling segmented structured diamond grinding wheel
CN112792704B (en) * 2021-01-18 2022-09-02 佛山市顺德区炜翔金属制品加工有限公司 High-efficient steel pipe rust cleaning device
CN113477582B (en) * 2021-08-04 2024-03-01 江苏迪威高压科技股份有限公司 Rust removal jig for high-pressure pipe fitting connector and use method
CN114055343A (en) * 2021-10-29 2022-02-18 南京旭羽睿材料科技有限公司 Intelligent manufacturing equipment and manufacturing method for metal material surface microporous structure
CN115122208A (en) * 2022-08-31 2022-09-30 徐州精一泵业有限公司 Two-stage rust removal grinding machine for flexible knocking type submersible pump shell

Family Cites Families (7)

* Cited by examiner, † Cited by third party
Publication number Priority date Publication date Assignee Title
JPS6056865A (en) * 1983-09-03 1985-04-02 Sumitomo Metal Ind Ltd Apparatus for removing surface flaw of wire rod
CN201235488Y (en) * 2008-06-23 2009-05-13 四川江瀚工业股份有限公司 Deoiling and derusting apparatus for steel band
CN205630162U (en) * 2016-05-30 2016-10-12 新乡学院 Steel pipe polishing device
CN207629513U (en) * 2017-12-01 2018-07-20 天津市大千管业有限公司 A kind of welding air spider mechanism
CN208977542U (en) * 2018-07-27 2019-06-14 泰州携创农业装备有限公司 A kind of industrial rust removing device for reinforcing steel bars
CN209632726U (en) * 2018-12-28 2019-11-15 陕西众星蓝图教育科技有限公司 A kind of hardware iron staff derusting device
CN209736664U (en) * 2019-01-21 2019-12-06 江苏恒才液压机械制造有限公司 Novel thin-wall long and thin cylinder tube machining process tool

Also Published As

Publication number Publication date
CN111230682A (en) 2020-06-05

Similar Documents

Publication Publication Date Title
CN111230682B (en) A fast and efficient rust removal device and method
CN205703652U (en) A kind of dust-proof machine processing derusting device
CN112720219A (en) Mechanical metal plate surface polishing and derusting device
CN216174968U (en) Dust removing equipment for producing cable protection sleeve
CN112792704A (en) High-efficient steel pipe rust cleaning device
CN105396819A (en) Special cleaning device for crankshaft
CN218017746U (en) Pipeline rust cleaning device
CN107309186A (en) A kind of deashing device for new-energy automobile wheel
CN214351586U (en) Steel bar rust removal equipment for building engineering
CN206839318U (en) A kind of brake block fluting apparatus
CN211681405U (en) Grinding device for processing injection mold
CN221658929U (en) Building reinforcing steel bar rust cleaning equipment
CN215510253U (en) Polishing device for stainless steel pipe
CN2339328Y (en) Roller-surface cleaning device
CN208346265U (en) A kind of gear fashioned iron acid wash passivation equipment
CN206652797U (en) A kind of automatic barrel rubbing machine
CN214393824U (en) Pipeline inner wall rust removal system
CN110578148A (en) Pickling and passivation equipment for gear steel
CN210305568U (en) Screw thread rolling device convenient to retrieve metal fillings
CN211966928U (en) Cleaning device for removing aluminum alloy welding spots
CN205329620U (en) Clear snow deicing brush of semi -rigid drum -type
CN218591364U (en) Device for cleaning hard scale on inner wall of pipeline
CN208556959U (en) A kind of rotor burr remover
CN215967853U (en) Carbon fiber ball arm rough mechanism
CN221715212U (en) Boiler pipe cleaning device

Legal Events

Date Code Title Description
PB01 Publication
PB01 Publication
SE01 Entry into force of request for substantive examination
SE01 Entry into force of request for substantive examination
TA01 Transfer of patent application right
TA01 Transfer of patent application right

Effective date of registration: 20210318

Address after: 063000 west side of jing12 road and south side of Weishi street, Western Industrial Zone, Qian'an City, Tangshan City, Hebei Province

Applicant after: Qian'an Rentai Metal Products Co.,Ltd.

Address before: 422300 No.20, group 6, Shuangzhu village, Huangqiao Town, Dongkou County, Shaoyang City, Hunan Province

Applicant before: Deng Xinhua

GR01 Patent grant
GR01 Patent grant
PE01 Entry into force of the registration of the contract for pledge of patent right
PE01 Entry into force of the registration of the contract for pledge of patent right

Denomination of invention: A fast and efficient rust removal device and method

Effective date of registration: 20210720

Granted publication date: 20210420

Pledgee: Bank of Cangzhou Limited by Share Ltd. Qian'an branch

Pledgor: Qian'an Rentai Metal Products Co.,Ltd.

Registration number: Y2021980006431

PC01 Cancellation of the registration of the contract for pledge of patent right
PC01 Cancellation of the registration of the contract for pledge of patent right

Date of cancellation: 20220712

Granted publication date: 20210420

Pledgee: Bank of Cangzhou Limited by Share Ltd. Qian'an branch

Pledgor: Qian'an Rentai Metal Products Co.,Ltd.

Registration number: Y2021980006431

PE01 Entry into force of the registration of the contract for pledge of patent right
PE01 Entry into force of the registration of the contract for pledge of patent right

Denomination of invention: A fast and efficient rust removal device and method

Granted publication date: 20210420

Pledgee: Agricultural Bank of China Limited Qian'an Branch

Pledgor: Qian'an Rentai Metal Products Co.,Ltd.

Registration number: Y2024980010347

PC01 Cancellation of the registration of the contract for pledge of patent right
PC01 Cancellation of the registration of the contract for pledge of patent right

Granted publication date: 20210420

Pledgee: Agricultural Bank of China Limited Qian'an Branch

Pledgor: Qian'an Rentai Metal Products Co.,Ltd.

Registration number: Y2024980010347