CN111089444A - A kind of medical pathology specimen storage device - Google Patents
A kind of medical pathology specimen storage device Download PDFInfo
- Publication number
- CN111089444A CN111089444A CN201911372453.6A CN201911372453A CN111089444A CN 111089444 A CN111089444 A CN 111089444A CN 201911372453 A CN201911372453 A CN 201911372453A CN 111089444 A CN111089444 A CN 111089444A
- Authority
- CN
- China
- Prior art keywords
- box
- storage device
- chamber
- core rod
- fixed plate
- Prior art date
- Legal status (The legal status is an assumption and is not a legal conclusion. Google has not performed a legal analysis and makes no representation as to the accuracy of the status listed.)
- Withdrawn
Links
- 230000007170 pathology Effects 0.000 title claims abstract description 13
- 238000012360 testing method Methods 0.000 claims abstract description 18
- 238000004659 sterilization and disinfection Methods 0.000 claims description 10
- 239000002984 plastic foam Substances 0.000 claims description 3
- 238000005070 sampling Methods 0.000 abstract description 14
- 230000000694 effects Effects 0.000 abstract description 7
- 230000001575 pathological effect Effects 0.000 abstract description 7
- 238000001514 detection method Methods 0.000 abstract description 4
- 238000001574 biopsy Methods 0.000 description 10
- 230000000249 desinfective effect Effects 0.000 description 3
- 230000001954 sterilising effect Effects 0.000 description 3
- RNFJDJUURJAICM-UHFFFAOYSA-N 2,2,4,4,6,6-hexaphenoxy-1,3,5-triaza-2$l^{5},4$l^{5},6$l^{5}-triphosphacyclohexa-1,3,5-triene Chemical compound N=1P(OC=2C=CC=CC=2)(OC=2C=CC=CC=2)=NP(OC=2C=CC=CC=2)(OC=2C=CC=CC=2)=NP=1(OC=1C=CC=CC=1)OC1=CC=CC=C1 RNFJDJUURJAICM-UHFFFAOYSA-N 0.000 description 2
- 239000011248 coating agent Substances 0.000 description 2
- 238000000576 coating method Methods 0.000 description 2
- 239000003063 flame retardant Substances 0.000 description 2
- 239000007788 liquid Substances 0.000 description 2
- 238000000034 method Methods 0.000 description 2
- 230000009286 beneficial effect Effects 0.000 description 1
- 239000008280 blood Substances 0.000 description 1
- 210000004369 blood Anatomy 0.000 description 1
- 239000003638 chemical reducing agent Substances 0.000 description 1
- 230000003111 delayed effect Effects 0.000 description 1
- 201000010099 disease Diseases 0.000 description 1
- 208000037265 diseases, disorders, signs and symptoms Diseases 0.000 description 1
- 239000000463 material Substances 0.000 description 1
- 238000004321 preservation Methods 0.000 description 1
- 230000001681 protective effect Effects 0.000 description 1
- 238000005057 refrigeration Methods 0.000 description 1
- 230000004083 survival effect Effects 0.000 description 1
Images
Classifications
-
- F—MECHANICAL ENGINEERING; LIGHTING; HEATING; WEAPONS; BLASTING
- F25—REFRIGERATION OR COOLING; COMBINED HEATING AND REFRIGERATION SYSTEMS; HEAT PUMP SYSTEMS; MANUFACTURE OR STORAGE OF ICE; LIQUEFACTION SOLIDIFICATION OF GASES
- F25D—REFRIGERATORS; COLD ROOMS; ICE-BOXES; COOLING OR FREEZING APPARATUS NOT OTHERWISE PROVIDED FOR
- F25D11/00—Self-contained movable devices, e.g. domestic refrigerators
-
- A—HUMAN NECESSITIES
- A01—AGRICULTURE; FORESTRY; ANIMAL HUSBANDRY; HUNTING; TRAPPING; FISHING
- A01N—PRESERVATION OF BODIES OF HUMANS OR ANIMALS OR PLANTS OR PARTS THEREOF; BIOCIDES, e.g. AS DISINFECTANTS, AS PESTICIDES OR AS HERBICIDES; PEST REPELLANTS OR ATTRACTANTS; PLANT GROWTH REGULATORS
- A01N1/00—Preservation of bodies of humans or animals, or parts thereof
- A01N1/10—Preservation of living parts
- A01N1/14—Mechanical aspects of preservation; Apparatus or containers therefor
- A01N1/142—Apparatus
- A01N1/144—Apparatus for temperature control, e.g. refrigerators or freeze-drying apparatus
-
- A—HUMAN NECESSITIES
- A61—MEDICAL OR VETERINARY SCIENCE; HYGIENE
- A61L—METHODS OR APPARATUS FOR STERILISING MATERIALS OR OBJECTS IN GENERAL; DISINFECTION, STERILISATION OR DEODORISATION OF AIR; CHEMICAL ASPECTS OF BANDAGES, DRESSINGS, ABSORBENT PADS OR SURGICAL ARTICLES; MATERIALS FOR BANDAGES, DRESSINGS, ABSORBENT PADS OR SURGICAL ARTICLES
- A61L2/00—Methods or apparatus for disinfecting or sterilising materials or objects other than foodstuffs or contact lenses; Accessories therefor
- A61L2/02—Methods or apparatus for disinfecting or sterilising materials or objects other than foodstuffs or contact lenses; Accessories therefor using physical phenomena
- A61L2/08—Radiation
- A61L2/10—Ultraviolet radiation
-
- F—MECHANICAL ENGINEERING; LIGHTING; HEATING; WEAPONS; BLASTING
- F25—REFRIGERATION OR COOLING; COMBINED HEATING AND REFRIGERATION SYSTEMS; HEAT PUMP SYSTEMS; MANUFACTURE OR STORAGE OF ICE; LIQUEFACTION SOLIDIFICATION OF GASES
- F25D—REFRIGERATORS; COLD ROOMS; ICE-BOXES; COOLING OR FREEZING APPARATUS NOT OTHERWISE PROVIDED FOR
- F25D23/00—General constructional features
- F25D23/02—Doors; Covers
-
- F—MECHANICAL ENGINEERING; LIGHTING; HEATING; WEAPONS; BLASTING
- F25—REFRIGERATION OR COOLING; COMBINED HEATING AND REFRIGERATION SYSTEMS; HEAT PUMP SYSTEMS; MANUFACTURE OR STORAGE OF ICE; LIQUEFACTION SOLIDIFICATION OF GASES
- F25D—REFRIGERATORS; COLD ROOMS; ICE-BOXES; COOLING OR FREEZING APPARATUS NOT OTHERWISE PROVIDED FOR
- F25D23/00—General constructional features
- F25D23/06—Walls
-
- F—MECHANICAL ENGINEERING; LIGHTING; HEATING; WEAPONS; BLASTING
- F25—REFRIGERATION OR COOLING; COMBINED HEATING AND REFRIGERATION SYSTEMS; HEAT PUMP SYSTEMS; MANUFACTURE OR STORAGE OF ICE; LIQUEFACTION SOLIDIFICATION OF GASES
- F25D—REFRIGERATORS; COLD ROOMS; ICE-BOXES; COOLING OR FREEZING APPARATUS NOT OTHERWISE PROVIDED FOR
- F25D25/00—Charging, supporting, and discharging the articles to be cooled
- F25D25/02—Charging, supporting, and discharging the articles to be cooled by shelves
- F25D25/027—Rotatable shelves
-
- F—MECHANICAL ENGINEERING; LIGHTING; HEATING; WEAPONS; BLASTING
- F25—REFRIGERATION OR COOLING; COMBINED HEATING AND REFRIGERATION SYSTEMS; HEAT PUMP SYSTEMS; MANUFACTURE OR STORAGE OF ICE; LIQUEFACTION SOLIDIFICATION OF GASES
- F25D—REFRIGERATORS; COLD ROOMS; ICE-BOXES; COOLING OR FREEZING APPARATUS NOT OTHERWISE PROVIDED FOR
- F25D29/00—Arrangement or mounting of control or safety devices
-
- A—HUMAN NECESSITIES
- A61—MEDICAL OR VETERINARY SCIENCE; HYGIENE
- A61L—METHODS OR APPARATUS FOR STERILISING MATERIALS OR OBJECTS IN GENERAL; DISINFECTION, STERILISATION OR DEODORISATION OF AIR; CHEMICAL ASPECTS OF BANDAGES, DRESSINGS, ABSORBENT PADS OR SURGICAL ARTICLES; MATERIALS FOR BANDAGES, DRESSINGS, ABSORBENT PADS OR SURGICAL ARTICLES
- A61L2202/00—Aspects relating to methods or apparatus for disinfecting or sterilising materials or objects
- A61L2202/10—Apparatus features
- A61L2202/11—Apparatus for generating biocidal substances, e.g. vaporisers, UV lamps
Landscapes
- Engineering & Computer Science (AREA)
- Thermal Sciences (AREA)
- Mechanical Engineering (AREA)
- General Engineering & Computer Science (AREA)
- Combustion & Propulsion (AREA)
- Physics & Mathematics (AREA)
- Chemical & Material Sciences (AREA)
- Health & Medical Sciences (AREA)
- Life Sciences & Earth Sciences (AREA)
- General Health & Medical Sciences (AREA)
- Zoology (AREA)
- Environmental Sciences (AREA)
- Wood Science & Technology (AREA)
- Dentistry (AREA)
- Epidemiology (AREA)
- Animal Behavior & Ethology (AREA)
- Public Health (AREA)
- Veterinary Medicine (AREA)
- Investigating Or Analysing Biological Materials (AREA)
Abstract
The utility model provides a medical pathology department's sample strorage device, the power distribution box comprises a box body and a box door, box one side articulates there is the chamber door, the inside division board that is equipped with of box, the division board divide into with the box and deposits the chamber and place the chamber, division board central point puts and is equipped with well core rod perpendicularly, well core rod connects in placing intracavity's reduction gear and motor, well core rod pot head is equipped with supporting disk and fixed plate, the fixed plate is located the supporting disk upper end, it evenly is equipped with a plurality of test tube fixed orificess to wear on the fixed plate, the inside blotter that is equipped with of supporting disk, the inside top of box is equipped with. The medical pathological specimen storage device is simple in structure and convenient to use, can be used for storing the living tissue sampling samples in a classified mode, enables the living tissue sampling samples to be in a low-temperature environment, guarantees the activity of the living tissue sampling samples, and guarantees the accuracy of detection results.
Description
Technical Field
The invention relates to the technical field of medical equipment, in particular to a medical pathology department specimen storage device.
Background
Pathological specimens have the characteristics of particularity and uniqueness of material taking, and the treatment of the diseases of patients can be delayed once the pathological specimens are lost or confused. The safe and ordered storage device for pathological specimens is an important content in the pathological management. The prior art pathology department sample strorage device has following problem: 1. the box body does not well protect the storage tube, leakage can be easily broken when the storage tube is placed under collision, the storage tube placed in the box body is inconvenient to integrally transfer, and a protected object in the storage tube easily leaks due to the inclination of the box body; 2. simple information for storing and taking the biopsy sample is written on paper and pasted on a storage tube, and the biopsy sample needs to be taken up one by one when being taken and used, so that the information is observed, the proper use is selected, and the searching is troublesome and wastes time; 3. the device has no refrigeration function, can not ensure that the biopsy sample is in a low-temperature environment, influences the activity of the biopsy sample and influences the accuracy of a detection result.
Disclosure of Invention
The invention aims to provide a medical pathological specimen storage device which is simple in structure and convenient to use, can be used for storing a living tissue sampling sample in a classified manner, can be used for enabling the living tissue sampling sample to be in a low-temperature environment, ensuring the activity of the living tissue sampling sample, ensuring the accuracy of a detection result, and can be used for sterilizing and disinfecting a box body by using an ultraviolet disinfection lamp, so that the living tissue sampling sample is ensured to be in a sterile environment.
The technical scheme adopted by the invention for solving the technical problems is as follows: the utility model provides a medical pathology department's sample strorage device, the power distribution box comprises a box body and a box door, box one side articulates there is the chamber door, the inside division board that is equipped with of box, the division board divide into with the box and deposits the chamber and place the chamber, division board central point puts and is equipped with well core rod perpendicularly, well core rod connects in placing intracavity's reduction gear and motor, well core rod pot head is equipped with supporting disk and fixed plate, the fixed plate is located the supporting disk upper end, it evenly is equipped with a plurality of test tube fixed orificess to wear on the fixed plate, the inside blotter that is equipped with of supporting disk, the inside top of box is equipped with.
Furthermore, the box body and the outer side of the box door are both provided with a fireproof layer, and a light shading layer is arranged between the fireproof layer and the box body and between the fireproof layer and the box door.
Furthermore, the temperature sensor is electrically connected with the refrigerator.
Further, the inside both sides of box all are equipped with the ultraviolet ray disinfection lamp, and the ultraviolet ray disinfection lamp outside is equipped with the protection casing.
Furthermore, the anti-slip ring is arranged in the fixing hole, the bottom of the elastic cushion is provided with a positioning groove corresponding to the fixing hole, the positioning groove is in an arc shape, and the cushion is a plastic foam cushion.
Further, every fixed orifices upper end all is equipped with the label retainer plate, and the label retainer plate front end is equipped with the label and pastes the district.
The invention has the following beneficial effects: the medical pathological specimen storage device is simple in structure and convenient to use, can be used for storing the living tissue sampling samples in a classified manner, can enable the living tissue sampling samples to be in a low-temperature environment, guarantees the activity of the living tissue sampling samples, guarantees the accuracy of detection results, can be used for sterilizing and disinfecting the inside of the box body by using the ultraviolet disinfection lamp, and guarantees that the living tissue sampling samples are in a sterile environment; the buffer pad is arranged at the bottom of the inner side of the supporting plate, the groove is formed in the upper surface of the buffer pad and is in a circular arc shape, the groove can be attached to the bottom of a test tube to provide buffer protection for the test tube, the anti-slip ring is arranged inside the test tube limiting hole to prevent the test tube from shaking in the test tube limiting hole to cause rupture and leakage, and a great number of good test tube fixing effects are achieved; the arrangement of the label fixing ring can paste the information of the test tube on the label fixing ring, the test tube can be observed by opening the box door, and the test tube does not need to be searched one by one, so that the time for searching proper liquid is saved, and the use is convenient and quick; the setting of light shielding plate makes the biopsy sample in the test tube not contact with sunlight, guarantees the activity of liquid, improves the survival rate of biopsy sample, and the safety of biopsy sample has been guaranteed when having avoided the conflagration breaing out in the setting of flame retardant coating.
Drawings
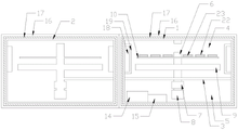
FIG. 1 is a schematic view of the overall structure of the present invention;
fig. 2 is a cross-sectional view of the support disk of fig. 1.
Wherein: 1. the box, 2, chamber door, 3, division board, 4, deposit the chamber, 5, place the chamber, 6, well core rod, 7, the reduction gear, 8, the motor, 9, the supporting disk, 10, the fixed plate, 11, the test tube fixed orifices, 12, the blotter, 13, the temperature-sensing ware, 14, the refrigerator, 15, the power, 16, the flame retardant coating, 17, the layer of keeping away light, 18, ultraviolet ray disinfection lamp, 19, the protection casing, 20, the antiskid circle, 21, the constant head tank, 22, the label retainer plate, 23, the label pasting district, 24, the through-hole.
Detailed Description
The present invention will now be described in further detail with reference to the accompanying drawings.
As shown in fig. 1 and 2, a medical pathology department's sample strorage device, including box 1 and chamber door 2, 1 one side of box articulates there is chamber door 2, 1 inside division board 3 that is equipped with of box, division board 3 divide into with box 1 and deposit chamber 4 and place chamber 5, 3 central point of division board puts and is equipped with well core rod 6 perpendicularly, well core rod 6 connects in placing the inside reduction gear 7 and the motor 8 in chamber 5, well core rod 6 upper end cover is equipped with supporting disk 9 and fixed plate 10, fixed plate 10 is located supporting disk 9 upper end, it evenly is equipped with a plurality of test tube fixed orificess 11 to wear on the fixed plate 10, the inside blotter 12 that is equipped with of supporting disk 9, 1 inside top of box is equipped with temperature sensing ware 13, it is equipped with refrigerator 14 to place chamber 5 bottom, 14 one side fixed mounting.
The outer sides of the box body 1 and the box door 2 are both provided with a fireproof layer 16, and a light shading layer 17 is arranged between the fireproof layer 16 and the box body 1 and between the fireproof layer 16 and the box door 2.
The temperature sensor 13 is electrically connected to the refrigerator 14.
The two sides in the box body 1 are both provided with ultraviolet disinfection lamps 18, and the outer sides of the ultraviolet disinfection lamps 18 are provided with protective covers 19.
The anti-skid ring 20 is arranged in the fixed hole 11, the positioning groove 21 corresponding to the fixed hole 11 is arranged at the bottom of the elastic cushion 12, the positioning groove 21 is in an arc shape, and the cushion 12 is a plastic foam cushion.
And the upper end of each fixing hole 11 is provided with a label fixing ring 22, and the front end of the label fixing ring 22 is provided with a label sticking area 23.
When a living tissue sampling sample needs to be stored, the box door is opened, the test tube filled with the living tissue sampling sample is placed in the limiting hole of the storage tube, the outer wall of the storage tube is contacted with the anti-slip ring, the bottom of the storage tube is contacted with the groove formed in the buffer pad, the label of the test tube is pasted in the label pasting area, and the box door is closed; when a biopsy sample of a designated patient needs to be taken, the motor is started to decelerate through the speed reducer and then drive the central shaft, the supporting plate and the fixing plate to rotate, when the biopsy sample needing to be taken is found, the motor is stopped to work, and the biopsy sample is taken; the temperature sensor tests the stability of the interior of the box body through the refrigerator, so that a user can conveniently adjust the temperature correspondingly, the quality guarantee period and the preservation effect of blood are improved, and the power supply provides power for the power-on facility; the ultraviolet disinfection lamp is used for sterilizing and disinfecting the inside of the box body, so that the living tissue sampling sample is ensured to be in a sterile environment.
The present invention is not limited to the above embodiments, and any structural changes made under the teaching of the present invention shall fall within the scope of the present invention, which is similar or similar to the technical solutions of the present invention.
The techniques, shapes, and configurations not described in detail in the present invention are all known techniques.
Claims (6)
1. The utility model provides a medical pathology department's sample strorage device, includes box and chamber door, its characterized in that: box one side articulates there is the chamber door, the inside division board that is equipped with of box, the division board divide into with the box and deposits the chamber and place the chamber, division board central point puts and is equipped with well core rod perpendicularly, well core rod connects in placing intracavity's reduction gear and motor, well core rod pot head is equipped with supporting disk and fixed plate, the fixed plate is located the supporting disk upper end, it evenly is equipped with a plurality of test tube fixed orificess to wear on the fixed plate, the inside blotter that is equipped with of supporting disk, the inside top of box is equipped with the temperature sensor, it is equipped with the refrigerator to place the.
2. The medical pathology department specimen storage device according to claim 1, wherein: the box body and the outer side of the box door are both provided with fireproof layers, and light shading layers are arranged between the fireproof layers and the box body and between the fireproof layers and the box door.
3. The medical pathology department specimen storage device according to claim 1, wherein: the temperature sensor is electrically connected with the refrigerator.
4. The medical pathology department specimen storage device according to claim 1, wherein: the inside both sides of box all are equipped with the ultraviolet ray disinfection lamp, and the ultraviolet ray disinfection lamp outside is equipped with the protection casing.
5. The medical pathology department specimen storage device according to claim 1, wherein: the anti-slip ring is arranged in the fixing hole, the positioning groove corresponding to the fixing hole is arranged at the bottom of the elastic cushion, the positioning groove is in an arc shape, and the cushion is a plastic foam cushion.
6. The medical pathology department specimen storage device according to claim 1, wherein: and a label fixing ring is arranged at the upper end of each fixing hole, and a label sticking area is arranged at the front end of each label fixing ring.
Priority Applications (1)
| Application Number | Priority Date | Filing Date | Title |
|---|---|---|---|
| CN201911372453.6A CN111089444A (en) | 2019-12-27 | 2019-12-27 | A kind of medical pathology specimen storage device |
Applications Claiming Priority (1)
| Application Number | Priority Date | Filing Date | Title |
|---|---|---|---|
| CN201911372453.6A CN111089444A (en) | 2019-12-27 | 2019-12-27 | A kind of medical pathology specimen storage device |
Publications (1)
| Publication Number | Publication Date |
|---|---|
| CN111089444A true CN111089444A (en) | 2020-05-01 |
Family
ID=70397356
Family Applications (1)
| Application Number | Title | Priority Date | Filing Date |
|---|---|---|---|
| CN201911372453.6A Withdrawn CN111089444A (en) | 2019-12-27 | 2019-12-27 | A kind of medical pathology specimen storage device |
Country Status (1)
| Country | Link |
|---|---|
| CN (1) | CN111089444A (en) |
Cited By (2)
| Publication number | Priority date | Publication date | Assignee | Title |
|---|---|---|---|---|
| CN111689068A (en) * | 2020-06-04 | 2020-09-22 | 崔若凡 | Medical pathology department's sample strorage device |
| CN112471139A (en) * | 2020-12-17 | 2021-03-12 | 程涛 | Skull bone flap activity preservation system for neurosurgery |
-
2019
- 2019-12-27 CN CN201911372453.6A patent/CN111089444A/en not_active Withdrawn
Cited By (2)
| Publication number | Priority date | Publication date | Assignee | Title |
|---|---|---|---|---|
| CN111689068A (en) * | 2020-06-04 | 2020-09-22 | 崔若凡 | Medical pathology department's sample strorage device |
| CN112471139A (en) * | 2020-12-17 | 2021-03-12 | 程涛 | Skull bone flap activity preservation system for neurosurgery |
Similar Documents
| Publication | Publication Date | Title |
|---|---|---|
| JP6788033B2 (en) | Devices and methods for temperature monitoring of cryopreserved biological samples | |
| CN111089444A (en) | A kind of medical pathology specimen storage device | |
| EP3744308B1 (en) | Sperm collecting container | |
| CN106861795A (en) | A kind of anti-pollution sample storage device of clinical laboratory | |
| CN204582282U (en) | A kind of Portable disinfecting pen | |
| CN211066646U (en) | Multifunctional stem cell tissue collection device | |
| CN110236603A (en) | A kind of oncology living body sampling feeding device for inspection | |
| CN204916506U (en) | specimen box | |
| RU104844U1 (en) | CONTAINER FOR BIOMATERIAL | |
| CN208942401U (en) | Multifunctional containing device for medical instrument | |
| CN205678986U (en) | A kind of biological material low temperature storage device | |
| CN210913472U (en) | Specimen storage device for oncology department | |
| CN209847245U (en) | Sampling device for dermatology department | |
| CN215078603U (en) | A blood sample collection device | |
| CN209624396U (en) | A protective case for test strips | |
| CN208086330U (en) | A kind of test kit for hospital assay | |
| CN214691244U (en) | Double-deck dry tooth material evidence case | |
| CN209268982U (en) | A medical laboratory chemical reagent safety management cabinet | |
| CN207689489U (en) | A kind of portable medical test box | |
| CN207507517U (en) | A kind of improvement Mohs experiment dedicated specimen holds component | |
| CN211884040U (en) | A hold device for medical treatment check out test set | |
| CN219515080U (en) | Cell cryopreservation tube | |
| CN110745386A (en) | Pathology department sampling censorship device based on living body tissue is collected | |
| CN215690148U (en) | Individual sterilizing device of electronic thermometer | |
| CN206005607U (en) | A kind of portable insect assays device |
Legal Events
| Date | Code | Title | Description |
|---|---|---|---|
| PB01 | Publication | ||
| PB01 | Publication | ||
| SE01 | Entry into force of request for substantive examination | ||
| SE01 | Entry into force of request for substantive examination | ||
| WW01 | Invention patent application withdrawn after publication | ||
| WW01 | Invention patent application withdrawn after publication |
Application publication date: 20200501 |