CN110689768A - Multimedia display device for art design - Google Patents
Multimedia display device for art design Download PDFInfo
- Publication number
- CN110689768A CN110689768A CN201910966623.7A CN201910966623A CN110689768A CN 110689768 A CN110689768 A CN 110689768A CN 201910966623 A CN201910966623 A CN 201910966623A CN 110689768 A CN110689768 A CN 110689768A
- Authority
- CN
- China
- Prior art keywords
- fixedly connected
- placing box
- wall
- art design
- hole
- Prior art date
- Legal status (The legal status is an assumption and is not a legal conclusion. Google has not performed a legal analysis and makes no representation as to the accuracy of the status listed.)
- Granted
Links
Images
Classifications
-
- G—PHYSICS
- G09—EDUCATION; CRYPTOGRAPHY; DISPLAY; ADVERTISING; SEALS
- G09B—EDUCATIONAL OR DEMONSTRATION APPLIANCES; APPLIANCES FOR TEACHING, OR COMMUNICATING WITH, THE BLIND, DEAF OR MUTE; MODELS; PLANETARIA; GLOBES; MAPS; DIAGRAMS
- G09B5/00—Electrically-operated educational appliances
- G09B5/06—Electrically-operated educational appliances with both visual and audible presentation of the material to be studied
- G09B5/065—Combinations of audio and video presentations, e.g. videotapes, videodiscs, television systems
Landscapes
- Engineering & Computer Science (AREA)
- Multimedia (AREA)
- Business, Economics & Management (AREA)
- Physics & Mathematics (AREA)
- Educational Administration (AREA)
- Educational Technology (AREA)
- General Physics & Mathematics (AREA)
- Theoretical Computer Science (AREA)
- Mirrors, Picture Frames, Photograph Stands, And Related Fastening Devices (AREA)
Abstract
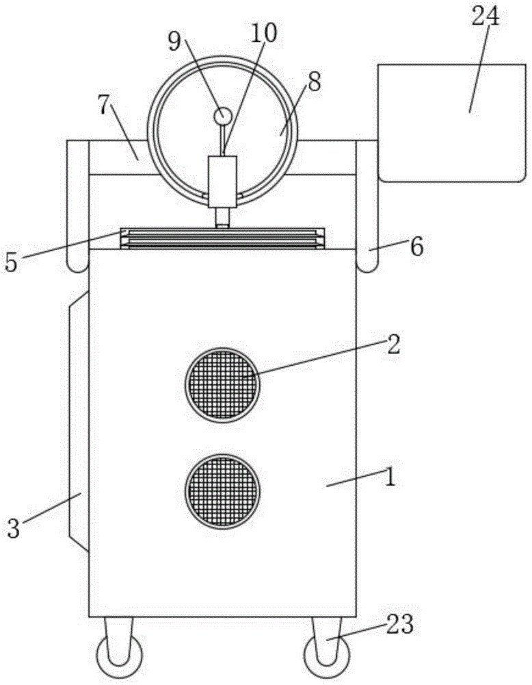
本发明公开了一种艺术设计用多媒体展示装置,包括放置箱,所述放置箱的侧面设有音频播放设备,所述放置箱的前侧固定连接有显示屏,所述放置箱内壁的底部固定连接有液压伸缩杆,所述液压伸缩杆上输出轴的顶部固定连接有撑板,所述撑板的上表面叠放设有封装套,所述封装套内固定连接有纸质作品,所述放置箱上靠近顶部的前后侧均固定连接有侧板,两个所述侧板的相对侧固定连接有连接板。本发明,通过上述结构之间的配合使用,解决了在实际使用过程中,由于纸质作品一般都提前固定在传统的展架上,无论展示还是收集过程均存在不便,手动操作起来费时费力,使教学人员难以集中注意力进行教学,降低了教学质量的问题。
The invention discloses a multimedia display device for artistic design, comprising a placing box, an audio playing device is arranged on the side of the placing box, a display screen is fixedly connected to the front side of the placing box, and the bottom of the inner wall of the placing box is fixed A hydraulic telescopic rod is connected, and a support plate is fixedly connected to the top of the output shaft of the hydraulic telescopic rod. A packaging sleeve is stacked on the upper surface of the support plate, and a paper work is fixedly connected in the packaging sleeve. The front and rear sides of the placing box near the top are fixedly connected with side plates, and the opposite sides of the two side plates are fixedly connected with connecting plates. The present invention, through the cooperative use of the above structures, solves the problem that in the actual use process, since paper works are generally fixed on traditional display racks in advance, there are inconveniences in both display and collection processes, and manual operations are time-consuming and labor-intensive. It is difficult for teaching staff to concentrate on teaching, which reduces the problem of teaching quality.
Description
技术领域technical field
本发明涉及教学设备技术领域,具体为一种艺术设计用多媒体展示装置。The invention relates to the technical field of teaching equipment, in particular to a multimedia display device for artistic design.
背景技术Background technique
艺术设计乃是一个技术和艺术融通的边缘学科,其内涵虽然也渗透到实用的造型计划中,但主要是指实用的美的造型计划。本文对艺术设计学的形成和发展、性质和特点、内容以及艺术设计训练的终极目标等问题进行了论述。并指出艺术设计学必将充分利用现代科学技术条件和多学科的协作,更好地满足人们物质上、精神上对于艺术设计的需求,为人类提供适合现代的、更美好的生活环境和生活方式;而在艺术设计教学过程中,需要对艺术品进行展示讲解,而现有的多媒体展示装置在使用时,展品一般都放置在展架上,其展示效果不佳,使用不够稳定,而且展示后的纸质作品存放时也容易造成损坏,给使用带来不便,为此人们提出一种艺术设计用多媒体展示装置,如中国专利CN208973160U所公开的一种艺术设计用多媒体展示装置,包括底座,调节螺母和导轨,所述控制盘顶部中央向上固定连接在立柱的底端;所述立柱顶端固定连接有定位柱,且定位柱顶端固定连接在顶板的底面上;所述顶板与顶盘之间固定连接有四个电动气缸。本实用新型顶盘和展示屏的设置,通过通孔两侧的顶盘上均开设置有深度为顶盘厚度二分之一的滑槽,并且顶盘底部与每个展示屏相对应的位置均设置有一个楔体状的补光灯,且补光灯的倾斜面为灯面,而补光灯垂直面为标识粘附区,方便对艺术设计的简单名称介绍和对展示屏区域进行灯光补偿,并且顶盘可以通过电动气缸进行上下调节位置,方便使用;但是在实际使用过程中,纸质作品一般都提前固定在传统的展架上,无论展示还是收集过程均存在不便,手动操作起来费时费力,使教学人员难以集中注意力进行教学,降低了教学质量。。Art design is a fringe discipline that integrates technology and art. Although its connotation also penetrates into practical modeling plans, it mainly refers to practical and beautiful modeling plans. This article discusses the formation and development, nature and characteristics, content and ultimate goal of art design training. And pointed out that art design will make full use of modern scientific and technological conditions and multidisciplinary cooperation to better meet people's material and spiritual needs for art design, and provide human beings with a modern and better living environment and lifestyle. ; In the process of art design teaching, it is necessary to display and explain the artwork, and when the existing multimedia display device is in use, the exhibits are generally placed on the display rack, the display effect is not good, the use is not stable enough, and the display is not stable enough. Paper works are also easily damaged when stored, which brings inconvenience to use. For this reason, people propose a multimedia display device for art design, such as a multimedia display device for art design disclosed in Chinese Patent CN208973160U, including a base, an adjusting nut and guide rail, the top center of the control panel is fixedly connected to the bottom end of the column; the top of the column is fixedly connected with a positioning column, and the top of the positioning column is fixedly connected to the bottom surface of the top plate; the top plate and the top plate are fixedly connected There are four electric cylinders. For the arrangement of the top tray and the display screen of the present invention, the top tray on both sides of the through hole is provided with a chute with a depth of half of the thickness of the top tray, and the bottom of the top tray corresponds to the position of each display screen. Both are equipped with a wedge-shaped fill light, and the inclined surface of the fill light is the light surface, and the vertical surface of the fill light is the marking adhesion area, which is convenient for the introduction of the simple name of the artistic design and the lighting of the display screen area. Compensation, and the top plate can be adjusted up and down through the electric cylinder, which is convenient to use; however, in the actual use process, paper works are generally fixed on the traditional display rack in advance, which is inconvenient in both the display and collection process, and the manual operation is time-consuming It is laborious, making it difficult for teaching staff to concentrate on teaching and reducing the quality of teaching. .
发明内容SUMMARY OF THE INVENTION
本发明的目的在于提供一种艺术设计用多媒体展示装置,对传统装置进行改进,解决了背景技术中的问题。The purpose of the present invention is to provide a multimedia display device for artistic design, which improves the traditional device and solves the problems in the background technology.
为实现上述目的,本发明提供如下技术方案:一种艺术设计用多媒体展示装置,包括放置箱,所述放置箱的侧面设有音频播放设备,所述放置箱的前侧固定连接有显示屏,所述放置箱内壁的底部固定连接有液压伸缩杆,所述液压伸缩杆上输出轴的顶部固定连接有撑板,所述撑板的上表面叠放设有封装套,所述封装套内固定连接有纸质作品。In order to achieve the above purpose, the present invention provides the following technical solutions: a multimedia display device for artistic design, comprising a placement box, the side of the placement box is provided with audio playback equipment, and the front side of the placement box is fixedly connected with a display screen, A hydraulic telescopic rod is fixedly connected to the bottom of the inner wall of the placing box, and a support plate is fixedly connected to the top of the output shaft of the hydraulic telescopic rod. Attached are paper works.
所述放置箱上靠近顶部的前后侧均固定连接有侧板,两个所述侧板的相对侧固定连接有连接板,所述连接板的右侧固定连接有圆盘,所述圆盘的右侧开设有通孔并通过通孔限位转动有由动力机构驱动转动的主轴,所述主轴的表面固定连接有传动杆,所述圆盘的右侧开设有环形槽,所述环形槽的内壁滑动连接有滑块,所述滑块的右侧固定连接有壳体,所述壳体的内壁滑动连接有活塞,所述传动杆的底部贯穿壳体的上表面并与活塞的上表面固定连接,所述壳体的底部开设有通孔并通过通孔固定连接有密封组件。The front and rear sides of the placing box near the top are fixedly connected with side plates, the opposite sides of the two side plates are fixedly connected with connecting plates, the right side of the connecting plates is fixedly connected with a disc, and the A through hole is opened on the right side, and a main shaft driven and rotated by a power mechanism is rotated through the through hole. The surface of the main shaft is fixedly connected with a transmission rod. The inner wall is slidably connected with a slider, the right side of the slider is fixedly connected with a casing, the inner wall of the casing is slidably connected with a piston, and the bottom of the transmission rod penetrates the upper surface of the casing and is fixed with the upper surface of the piston The bottom of the casing is provided with a through hole and a sealing component is fixedly connected through the through hole.
优选的,所述密封组件包括通管,所述通管上靠近顶部的表面与壳体底部上通孔的内壁固定连接,所述通管的底部固定连接有橡胶环,所述通管上靠近底部的内壁固定连接有漏板,所述漏板的圆心处开设有通孔并通过通孔滑动连接有挤压杆,所述挤压杆的顶部固定连接有圆台形密封块,所述圆台形密封块的表面活动连接有密封环,所述密封环的侧面与通管的内壁固定连接,所述挤压杆的表面套有拉簧,所述拉簧的两端分别与圆台形密封块和漏板的相对面固定连接。Preferably, the sealing assembly includes a through pipe, the surface of the through pipe near the top is fixedly connected to the inner wall of the through hole on the bottom of the casing, the bottom of the through pipe is fixedly connected with a rubber ring, and the through pipe is close to the bottom of the casing. The inner wall of the bottom is fixedly connected with a leakage plate, a through hole is opened at the center of the leakage plate, and an extrusion rod is slidably connected through the through hole, and a circular truncated sealing block is fixedly connected to the top of the extrusion rod. The surface of the sealing block is movably connected with a sealing ring, the side of the sealing ring is fixedly connected with the inner wall of the through pipe, the surface of the extrusion rod is sleeved with a tension spring, and the two ends of the tension spring are respectively connected with the circular truncated sealing block and the inner wall of the through pipe. The opposite sides of the bushing are fixedly connected.
优选的,所述放置箱的底部固定连接有滚轮组。Preferably, a roller group is fixedly connected to the bottom of the placing box.
优选的,所述侧板的后侧固定连接有放置框。Preferably, a placement frame is fixedly connected to the rear side of the side panel.
优选的,所述滑块为与环形槽相适配的弧形滑块。Preferably, the sliding block is an arc-shaped sliding block adapted to the annular groove.
优选的,所述挤压杆的底部为弧形面。Preferably, the bottom of the extrusion rod is an arc surface.
优选的,所述密封环的内壁固定连接有橡胶垫。Preferably, a rubber gasket is fixedly connected to the inner wall of the sealing ring.
与现有技术相比,本发明的有益效果如下:Compared with the prior art, the beneficial effects of the present invention are as follows:
一、本发明通过放置箱起到对纸质作品的初步储存收集,通过音频播放设备播放预设的音频文件,通过显示屏展现作品的背景信息,方便学生更加全面的了解学习内容;1. The present invention preliminarily stores and collects paper works by placing boxes, plays preset audio files through an audio playback device, and displays background information of works through a display screen, so that students can more comprehensively understand the learning content;
二、本发明通过将纸质作品封装在封装套内,通过封装套对纸质作品进行保护,使用前,将封装套依次叠放在撑板上,通过液压伸缩杆上的输出轴带动撑板以及封装套的升降;通过主轴带动传动杆的转动,首先主轴在圆盘上的非圆心位置,而通过传动杆的传动,会使壳体同步转动,而由于滑块只能在环形槽中进行滑动,故壳体会以圆盘的圆心为转动中心进行定轴转动,由于壳体与传动杆的运动轨迹不同,致使活塞可在壳体内进行往复滑动,如图3所示,此时壳体中活塞的下方为负压空间,通过密封组件的传导,建立通道,最终由封装套的上表面,将密封组件的底部进行封堵,进而通过负压将封装套进行吸附,使得封装套能够随着密封组件和壳体一起进行转动,如图3所示,转动方向为顺指针方向;液压伸缩杆会进行适应性的升降,在进行吸附时,液压伸缩杆上的输出轴上升,使密封组件对最顶部的封装套进行吸附操作,而在吸附完成后,液压伸缩杆上的输出轴会及时下降,为被吸附的封装套提供转动空间;通过封装套的转动,带动纸质作品的转动,通过设置和调节,实现封装套的间歇转动,适应教学讲解的需求;而壳体转至图所示状态时,壳体内对于封装套的负压吸附解除,密封组件上的封装套可被取下;通过密封组件实现壳体内负压环境的开通与密封;2. The present invention protects the paper work by encapsulating the paper works in the packaging sleeve. Before use, the packaging sleeves are stacked on the support plate in turn, and the support plate is driven by the output shaft on the hydraulic telescopic rod. And the lifting and lowering of the packaging sleeve; the rotation of the transmission rod is driven by the main shaft. First, the main shaft is not at the center of the circle on the disc, and the transmission of the transmission rod will cause the casing to rotate synchronously, and because the slider can only be carried out in the annular groove. Because of the different motion trajectories of the casing and the transmission rod, the piston can slide back and forth in the casing, as shown in Figure 3, at this time, the casing is in the casing. Below the piston is a negative pressure space. Through the conduction of the sealing component, a channel is established. Finally, the bottom of the sealing component is blocked by the upper surface of the packaging sleeve, and the packaging sleeve is adsorbed by the negative pressure, so that the packaging sleeve can follow the The sealing assembly and the housing rotate together, as shown in Figure 3, and the direction of rotation is the direction of the pointer; the hydraulic telescopic rod will move up and down adaptively. During adsorption, the output shaft on the hydraulic telescopic rod will rise, causing the sealing assembly The topmost packaging sleeve performs the adsorption operation, and after the adsorption is completed, the output shaft on the hydraulic telescopic rod will drop in time to provide a rotation space for the adsorbed packaging sleeve; through the rotation of the packaging sleeve, the paper works are driven to rotate. Set and adjust to realize the intermittent rotation of the packaging sleeve to meet the needs of teaching and explanation; and when the housing is turned to the state shown in the figure, the negative pressure adsorption of the packaging sleeve in the housing is released, and the packaging sleeve on the sealing assembly can be removed; The opening and sealing of the negative pressure environment in the casing is realized by the sealing assembly;
三、本发明通过上述结构之间的配合使用,解决了在实际使用过程中,由于纸质作品一般都提前固定在传统的展架上,无论展示还是收集过程均存在不便,手动操作起来费时费力,使教学人员难以集中注意力进行教学,降低了教学质量的问题。3. The present invention solves the problem of inconvenience in both the display and collection process in the actual use process, because the paper works are generally fixed on the traditional display rack in advance, and the manual operation is time-consuming and labor-intensive. It makes it difficult for teaching staff to concentrate on teaching and reduces the problem of teaching quality.
附图说明Description of drawings
图1为本发明结构的右视图;Fig. 1 is the right side view of the structure of the present invention;
图2为本发明放置箱的右视剖视图;Fig. 2 is the right side sectional view of the present invention placing box;
图3为本发明壳体的右视剖视图;Fig. 3 is the right side sectional view of the housing of the present invention;
图4为本发明通管的右视剖视图;Fig. 4 is the right side sectional view of the through pipe of the present invention;
图5为本发明圆盘的右视图。Figure 5 is a right side view of the disc of the present invention.
图中:1-放置箱、2-音频播放设备、3-显示屏、4-液压伸缩杆、41-撑板、5-封装套、6-侧板、7-连接板、8-圆盘、9-主轴、10-传动杆、11-环形槽、12-滑块、13-壳体、14-活塞、15-密封组件、16-通管、17-橡胶环、18-漏板、19-挤压杆、20-圆台形密封块、21-密封环、22-拉簧、23-滚轮组、24-放置框、25-橡胶垫。In the picture: 1-Place box, 2-Audio playback device, 3-Display screen, 4-Hydraulic telescopic rod, 41-Support plate, 5-Encapsulation sleeve, 6-Side plate, 7-Connecting plate, 8-Disc, 9-Spindle, 10-Transmission rod, 11-Annular groove, 12-Slider, 13-Housing, 14-Piston, 15-Sealing assembly, 16-Through pipe, 17-Rubber ring, 18-Blind plate, 19- Extrusion rod, 20-circular truncated sealing block, 21-seal ring, 22-tension spring, 23-roller group, 24-placement frame, 25-rubber pad.
具体实施方式Detailed ways
下面将结合本发明实施例中的附图,对本发明实施例中的技术方案进行清楚、完整地描述,显然,所描述的实施例仅仅是本发明一部分实施例,而不是全部的实施例。基于本发明中的实施例,本领域普通技术人员在没有做出创造性劳动前提下所获得的所有其他实施例,都属于本发明保护的范围。The technical solutions in the embodiments of the present invention will be clearly and completely described below with reference to the accompanying drawings in the embodiments of the present invention. Obviously, the described embodiments are only a part of the embodiments of the present invention, but not all of the embodiments. Based on the embodiments of the present invention, all other embodiments obtained by those of ordinary skill in the art without creative efforts shall fall within the protection scope of the present invention.
请参阅图1至图5,本发明提供一种技术方案:一种艺术设计用多媒体展示装置,包括放置箱1,通过放置箱1起到对纸质作品的初步储存收集;放置箱1的底部固定连接有滚轮组23,通过滚轮组23的设置,使得装置整体便于移动,所述放置箱1的侧面设有音频播放设备2,音频播放设备2可为常见的无线蓝牙音箱设备,所述放置箱1的前侧固定连接有显示屏3,通过音频播放设备2播放预设的音频文件,通过显示屏3展现作品的背景信息,方便学生更加全面的了解学习内容;所述放置箱1内壁的底部固定连接有液压伸缩杆4,液压伸缩杆4由预先设置的程序控制,能够配合壳体13的转动状态实现升降,通过程序控制液压伸缩杆4的方式为本领域技术人员所熟知的技术手段,通过公开的文件或技术手册均可快速查询和了解,故在此不再赘述;所述液压伸缩杆4上输出轴的顶部固定连接有撑板41,通过撑板41增加与封装套5的接触面积,进而能够对其上所叠放的封装套5进行更加稳定的托举;所述撑板41的上表面叠放设有封装套5,所述封装套5内固定连接有纸质作品,通过将纸质作品封装在封装套5内,实现对纸质作品的完整保护;使用前,将封装套5依次叠放在撑板41上,通过液压伸缩杆4上的输出轴带动撑板41以及封装套5的升降。Please refer to FIG. 1 to FIG. 5 , the present invention provides a technical solution: a multimedia display device for artistic design, including a placement box 1, through which the preliminary storage and collection of paper works are performed; the bottom of the placement box 1 A
所述放置箱1上靠近顶部的前后侧均固定连接有侧板6,侧板6的后侧固定连接有放置框24,通过放置框24的设置,使得解除吸附状态后的封装套5能够实现规整的放置,避免随意堆放,给纸质作品带来损伤;两个所述侧板6的相对侧固定连接有连接板7,所述连接板7的右侧固定连接有圆盘8,所述圆盘8的右侧开设有通孔并通过通孔限位转动有由动力机构驱动转动的主轴9,上述动力机构为步进电机,并由外接电源进行供电,通过控制步进电机的运作,实现间歇式转动;所述主轴9的表面固定连接有传动杆10,所述圆盘8的右侧开设有环形槽11,所述环形槽11的内壁滑动连接有滑块12,滑块12为与环形槽11相适配的弧形滑块,通过弧形滑块的设置,能够稳定的在环形槽11的内壁中进行转动,促使壳体13在圆盘8上进行定轴转动;所述滑块12的右侧固定连接有壳体13,所述壳体13的内壁滑动连接有活塞14,所述传动杆10的底部贯穿壳体13的上表面并与活塞14的上表面固定连接,通过主轴9带动传动杆10的转动,首先主轴9在圆盘8上的非圆心位置,而通过传动杆10的传动,会使壳体13同步转动,而由于滑块12只能在环形槽11中进行滑动,故壳体13会以圆盘8的圆心为转动中心进行定轴转动,由于壳体13与传动杆10的运动轨迹不同,致使活塞14可在壳体13内进行往复滑动,如图3所示,此时壳体13中活塞14的下方为负压空间,通过密封组件15的传导,建立通道,最终由封装套5的上表面,将密封组件15的底部进行封堵,进而通过负压将封装套5进行吸附,使得封装套5能够随着密封组件15和壳体13一起进行转动,如图3所示,转动方向为顺指针方向;液压伸缩杆4会进行适应性的升降,在进行吸附时,液压伸缩杆4上的输出轴上升,使密封组件15对最顶部的封装套5进行吸附操作,而在吸附完成后,液压伸缩杆4上的输出轴会及时下降,为被吸附的封装套5提供转动空间;通过封装套5的转动,带动纸质作品的转动,通过设置和调节,实现封装套5的间歇转动,适应教学讲解的需求;而壳体13转至图5所示状态时,壳体13内对于封装套5的负压吸附解除,密封组件15上的封装套5可被取下;通过密封组件15实现壳体13内负压环境的开通与密封;所述壳体13的底部开设有通孔并通过通孔固定连接有密封组件15,密封组件15包括通管16,所述通管16上靠近顶部的表面与壳体13底部上通孔的内壁固定连接,所述通管16的底部固定连接有橡胶环17,所述通管16上靠近底部的内壁固定连接有漏板18,所述漏板18的圆心处开设有通孔并通过通孔滑动连接有挤压杆19,挤压杆19的底部为弧形面,通过挤压杆19底部上弧形面的设置,使得挤压杆19在封装套5避免上的滑动会更为流畅,减少阻力,也不避免长期使用后破坏了封装套5的光滑表面;所述挤压杆19的顶部固定连接有圆台形密封块20,所述圆台形密封块20的表面活动连接有密封环21,密封环21的内壁固定连接有橡胶垫25,通过橡胶垫25的设置,进一步加强密封环21与圆台形密封块20之间接触贴合后的密封性能;所述密封环21的侧面与通管16的内壁固定连接,所述挤压杆19的表面套有拉簧22,所述拉簧22的两端分别与圆台形密封块20和漏板18的相对面固定连接,使用时,当挤压杆19随通管16和壳体13转至图4所示状态时,挤压杆19和橡胶环17的底部会与封装套5的上表面抵触,在克服拉簧22的弹力后,会使挤压杆19带着圆台形密封块20向上移动,进而使圆台形密封块20与密封环21的内壁脱离接触,此时通管16内的空气会快速的吸入壳体13中,使得通管16内也为负压环境,由橡胶环17与封装套5的上表面紧密贴合,与通管16和壳体13形成密封空间,进而使封装套5被紧密的吸附在橡胶环17的底部上,相应的,封装套5的材质为橡胶材质,且表面光滑,同理,在转至图5所示状态时,随着活塞14在壳体13内的复位移动,使得负压空间逐渐消失,而对于封装套5的吸附也逐渐解除,并最终由拉簧22的弹力作用,使封装套5能够轻易的脱离与橡胶环17的接触。A
工作原理:该艺术设计用多媒体展示装置在使用时,通过放置箱1起到对纸质作品的初步储存收集,通过音频播放设备2播放预设的音频文件,通过显示屏3展现作品的背景信息,方便学生更加全面的了解学习内容;通过将纸质作品封装在封装套5内,通过封装套5对纸质作品进行保护,使用前,将封装套5依次叠放在撑板41上,通过液压伸缩杆4上的输出轴带动撑板41以及封装套5的升降;通过主轴9带动传动杆10的转动,首先主轴9在圆盘8上的非圆心位置,而通过传动杆10的传动,会使壳体13同步转动,而由于滑块12只能在环形槽11中进行滑动,故壳体13会以圆盘8的圆心为转动中心进行定轴转动,由于壳体13与传动杆10的运动轨迹不同,致使活塞14可在壳体13内进行往复滑动,如图3所示,此时壳体13中活塞14的下方为负压空间,通过密封组件15的传导,建立通道,最终由封装套5的上表面,将密封组件15的底部进行封堵,进而通过负压将封装套5进行吸附,使得封装套5能够随着密封组件15和壳体13一起进行转动,如图3所示,转动方向为顺指针方向;液压伸缩杆4会进行适应性的升降,在进行吸附时,液压伸缩杆4上的输出轴上升,使密封组件15对最顶部的封装套5进行吸附操作,而在吸附完成后,液压伸缩杆4上的输出轴会及时下降,为被吸附的封装套5提供转动空间;通过封装套5的转动,带动纸质作品的转动,通过设置和调节,实现封装套5的间歇转动,适应教学讲解的需求;而壳体13转至图5所示状态时,壳体13内对于封装套5的负压吸附解除,密封组件15上的封装套5可被取下;通过密封组件15实现壳体13内负压环境的开通与密封;通过上述结构之间的配合使用,解决了在实际使用过程中,由于纸质作品一般都提前固定在传统的展架上,无论展示还是收集过程均存在不便,手动操作起来费时费力,使教学人员难以集中注意力进行教学,降低了教学质量的问题。Working principle: When the multimedia display device for art design is in use, the storage and collection of paper works are performed through the placing box 1, the preset audio files are played through the audio playback device 2, and the background information of the works is displayed through the
尽管已经示出和描述了本发明的实施例,对于本领域的普通技术人员而言,可以理解在不脱离本发明的原理和精神的情况下可以对这些实施例进行多种变化、修改、替换和变型,本发明的范围由所附权利要求及其等同物限定。Although embodiments of the present invention have been shown and described, it will be understood by those skilled in the art that various changes, modifications, and substitutions can be made in these embodiments without departing from the principle and spirit of the invention and modifications, the scope of the present invention is defined by the appended claims and their equivalents.
Claims (7)
Priority Applications (1)
| Application Number | Priority Date | Filing Date | Title |
|---|---|---|---|
| CN201910966623.7A CN110689768B (en) | 2019-10-12 | 2019-10-12 | Multimedia display device for art design |
Applications Claiming Priority (1)
| Application Number | Priority Date | Filing Date | Title |
|---|---|---|---|
| CN201910966623.7A CN110689768B (en) | 2019-10-12 | 2019-10-12 | Multimedia display device for art design |
Publications (2)
| Publication Number | Publication Date |
|---|---|
| CN110689768A true CN110689768A (en) | 2020-01-14 |
| CN110689768B CN110689768B (en) | 2021-09-10 |
Family
ID=69112629
Family Applications (1)
| Application Number | Title | Priority Date | Filing Date |
|---|---|---|---|
| CN201910966623.7A Expired - Fee Related CN110689768B (en) | 2019-10-12 | 2019-10-12 | Multimedia display device for art design |
Country Status (1)
| Country | Link |
|---|---|
| CN (1) | CN110689768B (en) |
Cited By (1)
| Publication number | Priority date | Publication date | Assignee | Title |
|---|---|---|---|---|
| CN112242089A (en) * | 2020-11-05 | 2021-01-19 | 张运凤 | Demonstration device for building construction process informatization teaching |
Citations (11)
| Publication number | Priority date | Publication date | Assignee | Title |
|---|---|---|---|---|
| CN101425195A (en) * | 2007-10-31 | 2009-05-06 | 黄金富 | Automatic banknote box for bank machinery by employing pre-packaged banknote bag |
| AU2012100800A4 (en) * | 2012-05-30 | 2012-06-21 | Brendan Soulos | Multimedia display system |
| CN204900496U (en) * | 2015-06-26 | 2015-12-23 | 边悦庆 | Novel sucking disc hook |
| CN205645031U (en) * | 2016-03-18 | 2016-10-12 | 苏奋 | Finance specialty is with show board |
| CN206453611U (en) * | 2016-11-10 | 2017-09-01 | 浙江商业职业技术学院 | A kind of Art Design multimedium showing device |
| CN206453472U (en) * | 2016-11-15 | 2017-09-01 | 杨洪 | A kind of desk of the political teacher of senior middle school |
| CN108433385A (en) * | 2018-05-22 | 2018-08-24 | 江苏海事职业技术学院 | A kind of library information categorizing system device |
| CN108689188A (en) * | 2018-05-17 | 2018-10-23 | 吴华丽 | A kind of equipment for detaching sheet material |
| CN208873309U (en) * | 2018-07-02 | 2019-05-17 | 江西工业工程职业技术学院 | A kind of Art Design teaching demonstration device |
| CN208922518U (en) * | 2018-08-01 | 2019-05-31 | 长春师范大学 | A kind of art teaching displaying device based on computer regulated |
| CN209377192U (en) * | 2018-11-09 | 2019-09-13 | 郑州升达经贸管理学院 | All-position art design works display device |
-
2019
- 2019-10-12 CN CN201910966623.7A patent/CN110689768B/en not_active Expired - Fee Related
Patent Citations (11)
| Publication number | Priority date | Publication date | Assignee | Title |
|---|---|---|---|---|
| CN101425195A (en) * | 2007-10-31 | 2009-05-06 | 黄金富 | Automatic banknote box for bank machinery by employing pre-packaged banknote bag |
| AU2012100800A4 (en) * | 2012-05-30 | 2012-06-21 | Brendan Soulos | Multimedia display system |
| CN204900496U (en) * | 2015-06-26 | 2015-12-23 | 边悦庆 | Novel sucking disc hook |
| CN205645031U (en) * | 2016-03-18 | 2016-10-12 | 苏奋 | Finance specialty is with show board |
| CN206453611U (en) * | 2016-11-10 | 2017-09-01 | 浙江商业职业技术学院 | A kind of Art Design multimedium showing device |
| CN206453472U (en) * | 2016-11-15 | 2017-09-01 | 杨洪 | A kind of desk of the political teacher of senior middle school |
| CN108689188A (en) * | 2018-05-17 | 2018-10-23 | 吴华丽 | A kind of equipment for detaching sheet material |
| CN108433385A (en) * | 2018-05-22 | 2018-08-24 | 江苏海事职业技术学院 | A kind of library information categorizing system device |
| CN208873309U (en) * | 2018-07-02 | 2019-05-17 | 江西工业工程职业技术学院 | A kind of Art Design teaching demonstration device |
| CN208922518U (en) * | 2018-08-01 | 2019-05-31 | 长春师范大学 | A kind of art teaching displaying device based on computer regulated |
| CN209377192U (en) * | 2018-11-09 | 2019-09-13 | 郑州升达经贸管理学院 | All-position art design works display device |
Cited By (2)
| Publication number | Priority date | Publication date | Assignee | Title |
|---|---|---|---|---|
| CN112242089A (en) * | 2020-11-05 | 2021-01-19 | 张运凤 | Demonstration device for building construction process informatization teaching |
| CN112242089B (en) * | 2020-11-05 | 2022-09-16 | 长春建工集团有限公司 | Demonstration device for building construction process informatization teaching |
Also Published As
| Publication number | Publication date |
|---|---|
| CN110689768B (en) | 2021-09-10 |
Similar Documents
| Publication | Publication Date | Title |
|---|---|---|
| CN209021914U (en) | A kind of anti-offset drive disk multi-functional clamp | |
| CN110689768A (en) | Multimedia display device for art design | |
| CN209121421U (en) | A kind of convenient multimedia teaching device | |
| CN211375929U (en) | Multi-functional teaching device of english | |
| CN108198483A (en) | A kind of teaching aid for being convenient for music teaching | |
| CN209691121U (en) | A portable multifunctional demonstration device for adult education | |
| CN217821205U (en) | Light filling lamp with beauty function | |
| CN216438841U (en) | A command writing board for subway dispatching | |
| CN222248133U (en) | Storage device with rhizome supports | |
| CN212460845U (en) | A medical multimedia teaching device | |
| CN219501947U (en) | Image display device for training | |
| CN218288592U (en) | Landscape environment design model strorage device of environmental protection | |
| CN216719445U (en) | Display fence capable of being adjusted in multiple directions for environmental design | |
| CN216562450U (en) | Voice interaction device based on deep learning | |
| CN222636729U (en) | Icon display mechanism for economic analysis | |
| CN221671271U (en) | Economics teaching picture wall map device | |
| CN112466191B (en) | English teaching auxiliary operation equipment and operation method thereof | |
| CN220232696U (en) | Advertisement is with putting in device | |
| CN215679737U (en) | National music is with demonstrating board | |
| CN211124542U (en) | Art design teaching board with improved structure | |
| CN210925030U (en) | A display device for art teaching | |
| CN210989115U (en) | An animation design support frame that is easy to lift | |
| CN221424427U (en) | Teaching equipment for hotel management | |
| CN205910871U (en) | Tourism management specialty teaching device | |
| CN219506501U (en) | A moon cake box with convenient opening and closing |
Legal Events
| Date | Code | Title | Description |
|---|---|---|---|
| PB01 | Publication | ||
| PB01 | Publication | ||
| SE01 | Entry into force of request for substantive examination | ||
| SE01 | Entry into force of request for substantive examination | ||
| GR01 | Patent grant | ||
| GR01 | Patent grant | ||
| CF01 | Termination of patent right due to non-payment of annual fee | ||
| CF01 | Termination of patent right due to non-payment of annual fee |
Granted publication date: 20210910 |
