CN110685435A - Waterproof structure for screw hole of shear wall of outer vertical surface - Google Patents
Waterproof structure for screw hole of shear wall of outer vertical surface Download PDFInfo
- Publication number
- CN110685435A CN110685435A CN201911031958.6A CN201911031958A CN110685435A CN 110685435 A CN110685435 A CN 110685435A CN 201911031958 A CN201911031958 A CN 201911031958A CN 110685435 A CN110685435 A CN 110685435A
- Authority
- CN
- China
- Prior art keywords
- hole
- shear wall
- positioning
- water
- conical
- Prior art date
- Legal status (The legal status is an assumption and is not a legal conclusion. Google has not performed a legal analysis and makes no representation as to the accuracy of the status listed.)
- Pending
Links
Images
Classifications
-
- E—FIXED CONSTRUCTIONS
- E04—BUILDING
- E04G—SCAFFOLDING; FORMS; SHUTTERING; BUILDING IMPLEMENTS OR AIDS, OR THEIR USE; HANDLING BUILDING MATERIALS ON THE SITE; REPAIRING, BREAKING-UP OR OTHER WORK ON EXISTING BUILDINGS
- E04G17/00—Connecting or other auxiliary members for forms, falsework structures, or shutterings
- E04G17/06—Tying means; Spacers ; Devices for extracting or inserting wall ties
- E04G17/065—Tying means, the tensional elements of which are threaded to enable their fastening or tensioning
- E04G17/0655—Tying means, the tensional elements of which are threaded to enable their fastening or tensioning the element consisting of several parts
-
- E—FIXED CONSTRUCTIONS
- E04—BUILDING
- E04G—SCAFFOLDING; FORMS; SHUTTERING; BUILDING IMPLEMENTS OR AIDS, OR THEIR USE; HANDLING BUILDING MATERIALS ON THE SITE; REPAIRING, BREAKING-UP OR OTHER WORK ON EXISTING BUILDINGS
- E04G17/00—Connecting or other auxiliary members for forms, falsework structures, or shutterings
- E04G17/06—Tying means; Spacers ; Devices for extracting or inserting wall ties
- E04G17/065—Tying means, the tensional elements of which are threaded to enable their fastening or tensioning
- E04G17/0655—Tying means, the tensional elements of which are threaded to enable their fastening or tensioning the element consisting of several parts
- E04G17/0657—Tying means, the tensional elements of which are threaded to enable their fastening or tensioning the element consisting of several parts fully recoverable
Landscapes
- Engineering & Computer Science (AREA)
- Architecture (AREA)
- Mechanical Engineering (AREA)
- Civil Engineering (AREA)
- Structural Engineering (AREA)
- Building Environments (AREA)
Abstract
本发明公开了一种外立面剪力墙螺杆洞防水结构,其包括:锥形套管,套设于穿墙螺杆中段,剪力墙上开设有形状与锥形套管外形一致的锥形孔洞,锥形孔洞贯穿剪力墙的迎水面和背水面两侧墙面,且第一洞口设于迎水面,第二洞口设于背水面,第一洞口位置低于第二洞口位置;定位埋件,埋设于剪力墙迎水面一侧,定位埋件上连接有定位杆,剪力墙迎水面一侧的外侧模板上开设有供定位杆插设的定位孔,定位孔与外侧模板上供穿设穿墙螺杆的螺杆孔之间的距离等于对应的定位埋件与第一洞口之间的距离。本发明利用锥形套管使外墙螺杆洞始终低于内墙螺杆洞,以使雨水无法通过螺杆洞渗入建筑内部。
The invention discloses a waterproof structure for a screw hole of an external facade shear wall, which comprises: a conical sleeve sleeved on the middle section of the screw through the wall; Holes, conical holes penetrate through the water-facing side and the walls on both sides of the back-water side of the shear wall, and the first hole is set on the water-facing side, the second hole is set on the back-water side, and the position of the first hole is lower than the position of the second hole; the location is buried It is embedded on the water-facing side of the shear wall, and the positioning embedded part is connected with a positioning rod. The outer formwork on the water-facing side of the shear wall is provided with a positioning hole for the positioning rod to be inserted. The distance between the screw holes passing through the wall screw is equal to the distance between the corresponding positioning embedded part and the first hole. In the present invention, the conical casing is used to make the screw hole of the outer wall always lower than the screw hole of the inner wall, so that rainwater cannot penetrate into the interior of the building through the screw hole.
Description
技术领域technical field
本发明涉及工程建设领域,尤其涉及一种外立面剪力墙螺杆洞防水结构。The invention relates to the field of engineering construction, in particular to a screw hole waterproof structure of an external facade shear wall.
背景技术Background technique
随着我国房屋城市化建设、工业化的发展推行,房地产开发市场随之繁荣,高层住宅楼以其土地利用率高、拆迁费用低、地下车库停车位多等优势成为城市规划及人口居住的最佳场所。高层建筑由于高度较大结构工程师们不得不以核心筒、剪力墙等形式提高其整体刚度,而核心筒结构一般在超高层建筑结构中使用较多,住宅楼一般为剪力墙结构。高层住宅楼结构设计中不可避免地将剪力墙作为建筑的边缘构件,钢筋混凝土制作而成的剪力墙由于常规施工技术中内外侧模板需要使用对拉螺杆固定,而对拉螺杆往往使用塑料套管与混凝土隔开以便拆模取出对拉螺杆,且对拉螺杆水平设置。如此临水面外墙防水仅依托于螺杆洞灌浆及外墙防水层施工质量,螺杆洞本身不具备防水功能。With the development and implementation of housing urbanization and industrialization in China, the real estate development market has prospered. High-rise residential buildings have become the best choice for urban planning and population living due to their advantages of high land utilization, low demolition costs, and many underground garage parking spaces. place. Due to the high height of high-rise buildings, structural engineers have to improve their overall stiffness in the form of core tubes and shear walls. Core tube structures are generally used in super high-rise building structures, and residential buildings are generally shear wall structures. In the structural design of high-rise residential buildings, the shear wall is inevitably used as the edge component of the building. The shear wall made of reinforced concrete needs to be fixed by the use of tension screws for the inner and outer formwork in the conventional construction technology, and the tension screws are often made of plastic. The casing is spaced from the concrete so that the tie rods can be removed from the formwork, and the tie rods are set horizontally. In this way, the waterproofing of the water-facing exterior wall only relies on the screw hole grouting and the construction quality of the exterior wall waterproof layer, and the screw hole itself does not have the waterproof function.
因此,针对临水剪力墙有必要对传统模板体系进行优化。Therefore, it is necessary to optimize the traditional formwork system for the water-facing shear wall.
发明内容SUMMARY OF THE INVENTION
本发明主要是针对现有技术的不足,提供一种外立面剪力墙螺杆洞防水结构,利用锥形套管及锥形预埋件组合使用减少外立面剪力墙螺杆洞渗水现象。The invention mainly aims at the deficiencies of the prior art, and provides a waterproof structure for the screw hole of the external facade shear wall, which utilizes the combined use of the conical casing and the conical embedded parts to reduce the water seepage phenomenon of the screw hole of the external facade shear wall.
本发明所采用的技术方案为:一种外立面剪力墙螺杆洞防水结构,其包括:The technical scheme adopted in the present invention is: a waterproof structure for screw holes of an external facade shear wall, which comprises:
锥形套管,套设于穿墙螺杆中段,剪力墙上开设有形状与所述锥形套管外形一致的锥形孔洞,所述锥形孔洞贯穿所述剪力墙的迎水面和背水面两侧墙面,且第一洞口设于迎水面,第二洞口设于背水面,所述第一洞口位置低于所述第二洞口位置;The tapered bushing is sleeved on the middle section of the screw through the wall, and the shear wall is provided with a tapered hole whose shape is consistent with the shape of the tapered bushing, and the tapered hole penetrates the water-facing surface and the back of the shear wall. The walls on both sides of the water surface, and the first opening is arranged on the upstream surface, the second opening is arranged on the backwater surface, and the position of the first opening is lower than the position of the second opening;
定位埋件,埋设于剪力墙迎水面一侧,所述定位埋件上连接有定位杆,剪力墙迎水面一侧的外侧模板上开设有供所述定位杆插设的定位孔,所述定位孔与所述外侧模板上供穿设穿墙螺杆的螺杆孔之间的距离等于对应的所述定位埋件与所述第一洞口之间的距离。The positioning embedded piece is embedded on the water-facing side of the shear wall, the positioning embedded piece is connected with a positioning rod, and the outer formwork on the water-facing side of the shear wall is provided with a positioning hole for the positioning rod to be inserted. The distance between the positioning hole and the screw hole on the outer template for penetrating the wall screw is equal to the distance between the corresponding positioning embedded part and the first hole.
本发明结构的一些实施例中,所述定位埋件为锥形埋件,所述锥形埋件的窄头端位于剪力墙迎水面表面。In some embodiments of the structure of the present invention, the positioning embedded part is a conical embedded part, and the narrow head end of the conical embedded part is located on the water-facing surface of the shear wall.
本发明结构的一些实施例中,所述定位埋件中部设有螺纹孔,所述定位杆上设有与所述螺纹孔匹配旋合的外螺纹。In some embodiments of the structure of the present invention, a threaded hole is formed in the middle of the positioning embedded member, and an external thread matched and screwed with the threaded hole is formed on the positioning rod.
本发明结构的一些实施例中,所述定位杆的第一端连接于所述定位埋件,所述定位杆的第二端螺合有螺母并配合钢管和山型卡固定外侧模板,所述山型卡中部设有供所述定位杆穿设的开孔。In some embodiments of the structure of the present invention, the first end of the positioning rod is connected to the positioning embedded member, and the second end of the positioning rod is screwed with a nut and cooperates with a steel pipe and a mountain-shaped clamp to fix the outer formwork. The middle part of the mountain-shaped card is provided with an opening for the positioning rod to pass through.
本发明结构的一些实施例中,所述锥形套管的纵身长度等于所述剪力墙的迎水面和背水面之间的厚度。In some embodiments of the structure of the present invention, the longitudinal length of the tapered sleeve is equal to the thickness between the water-facing surface and the water-reversing surface of the shear wall.
本发明结构的一些实施例中,所述锥形套管的管径自第一端向第二端逐渐增大,且所述锥形套管的第一端与所述第一洞口齐平,所述锥形套管的第二端与所述第二洞口齐平。In some embodiments of the structure of the present invention, the diameter of the conical sleeve gradually increases from the first end to the second end, and the first end of the conical sleeve is flush with the first hole, The second end of the tapered sleeve is flush with the second opening.
本发明结构的一些实施例中,所述第一洞口的洞口下沿低于所述第二洞口的洞口下沿。In some embodiments of the structure of the present invention, the lower edge of the opening of the first opening is lower than the lower edge of the opening of the second opening.
本发明对剪力墙上的螺杆洞的形状、倾斜角,内外墙模板高度差进行合理化调整以达到如下效果:The present invention rationally adjusts the shape and inclination angle of the screw hole in the shear wall and the height difference between the inner and outer wall formwork to achieve the following effects:
1.利用锥形套管使外墙螺杆洞始终低于内墙螺杆洞;1. Use the tapered casing to make the screw hole of the outer wall always lower than the screw hole of the inner wall;
2.利用锥形套管消除施工中的误差;2. Use tapered casing to eliminate errors in construction;
3.利用锥形预埋件使外侧模板螺杆洞精确定位;3. Use the conical embedded parts to accurately locate the screw holes of the outer template;
4.该技术适用于标准层迎水剪力墙结构施工,对模板整体施工精度控制要求较高;4. This technology is suitable for the construction of standard layer water-facing shear wall structures, and has high requirements for the control of the overall construction accuracy of the formwork;
5.传统模板体系中使用的塑料套管在拆模后无法取出,塑料套管内壁为光面后期灌浆封堵质量效果较差,锥形套管由于其特殊形状轻敲即可取出,其重复利用性有效响应了绿色施工政策。5. The plastic sleeve used in the traditional template system cannot be taken out after the mold is removed. The inner wall of the plastic sleeve is smooth and the quality of the later grouting sealing is poor. The tapered sleeve can be taken out due to its special shape. Utilization effectively responds to the green construction policy.
附图说明Description of drawings
为了更清楚地说明本发明实施例中的技术方案,下面将对实施例描述中所需要使用的附图作简单地介绍,显而易见地,下面描述中的附图仅仅是本发明的一些实施例,对于本领域普通技术人员来讲,在不付出创造性劳动的前提下,还可以根据这些附图获得其他的附图。In order to illustrate the technical solutions in the embodiments of the present invention more clearly, the following briefly introduces the accompanying drawings used in the description of the embodiments. Obviously, the accompanying drawings in the following description are only some embodiments of the present invention. For those of ordinary skill in the art, other drawings can also be obtained from these drawings without creative effort.
图1是本发明第一种实施例的外立面剪力墙螺杆洞防水结构的使用状态示意图。FIG. 1 is a schematic diagram of the use state of the screw hole waterproof structure of the external facade shear wall according to the first embodiment of the present invention.
图2是本发明第二种实施例的外立面剪力墙螺杆洞防水结构的使用状态示意图。FIG. 2 is a schematic diagram of the use state of the screw hole waterproof structure of the external facade shear wall according to the second embodiment of the present invention.
图3是本发明第二种实施例的外立面剪力墙螺杆洞防水结构的定位埋件的示意图。FIG. 3 is a schematic diagram of the positioning embedded part of the screw hole waterproof structure of the facade shear wall according to the second embodiment of the present invention.
具体实施方式Detailed ways
以下通过特定的具体实例说明本发明的实施方式,本领域技术人员可由本说明书所揭露的内容轻易地了解本发明的其他优点与功效。本发明还可以通过另外不同的具体实施方式加以实施或应用,本说明书中的各项细节也可以基于不同观点与应用,在没有背离本发明的精神下进行各种修饰或改变。The embodiments of the present invention are described below through specific specific examples, and those skilled in the art can easily understand other advantages and effects of the present invention from the contents disclosed in this specification. The present invention can also be implemented or applied through other different specific embodiments, and various details in this specification can also be modified or changed based on different viewpoints and applications without departing from the spirit of the present invention.
高层住宅楼结构设计中不可避免地将剪力墙作为建筑的边缘构件,钢筋混凝土制作而成的剪力墙由于常规施工技术中内外侧模板需要使用对拉螺杆固定,而对拉螺杆往往使用塑料套管与混凝土隔开以便拆模取出对拉螺杆,且对拉螺杆水平设置。如此临水面外墙防水仅依托于螺杆洞灌浆及外墙防水层施工质量,螺杆洞本身不具备防水功能。In the structural design of high-rise residential buildings, the shear wall is inevitably used as the edge component of the building. The shear wall made of reinforced concrete needs to be fixed by the use of tension screws for the inner and outer formwork in the conventional construction technology, and the tension screws are often made of plastic. The casing is spaced from the concrete so that the tie rods can be removed from the formwork, and the tie rods are set horizontally. In this way, the waterproofing of the water-facing exterior wall only relies on the screw hole grouting and the construction quality of the exterior wall waterproof layer, and the screw hole itself does not have the waterproof function.
因此,针对临水剪力墙有必要对传统模板体系进行优化。Therefore, it is necessary to optimize the traditional formwork system for the water-facing shear wall.
本发明的主要目的是优化改进迎水外墙模板体系,使得剪力墙内侧螺杆洞始终高于外侧,以使雨水无法通过螺杆洞渗入建筑内部。The main purpose of the present invention is to optimize and improve the water-facing exterior wall formwork system, so that the inner screw hole of the shear wall is always higher than the outer side, so that rainwater cannot penetrate into the building through the screw hole.
下面结合附图和具体实施例对本发明做进一步详细的说明。The present invention will be described in further detail below with reference to the accompanying drawings and specific embodiments.
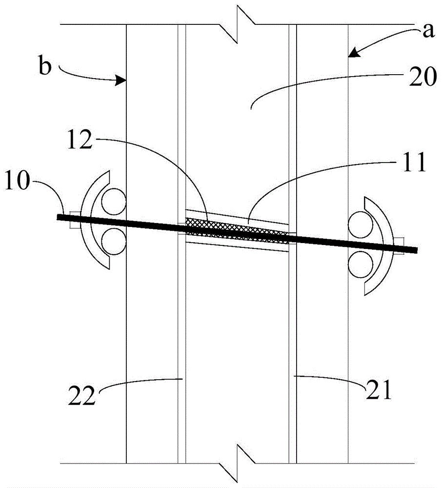
首先参阅图1和图3,提供了本发明第一种实施例的外立面剪力墙螺杆洞防水结构的使用状态示意图,如图所示,该外立面剪力墙螺杆洞防水结构,主要包括改造后的新型剪力墙螺杆洞,即锥形孔洞11,套设于穿墙螺杆上的锥形套管12,以及用于定位剪力墙迎水面一侧的外侧模板21的定位埋件13及定位杆14。通过对剪力墙螺杆洞的形状和倾斜角以及内外墙模板高度差进行合理化调整以达到本发明目的。Referring first to FIG. 1 and FIG. 3, a schematic diagram of the use state of the screw hole waterproof structure of the facade shear wall according to the first embodiment of the present invention is provided. As shown in the figures, the screw hole waterproof structure of the facade shear wall, It mainly includes the new type of shear wall screw hole after transformation, namely the
其中,锥形套管12的外轮廓形状与剪力墙20的锥形孔洞11的开孔形状一致,且锥形套管12的纵身长度亦与锥形孔洞11的长度一致,如此,可使锥形套管12在塞入锥形孔洞11中后,锥形套管12的两端端口分别与锥形孔洞11的两端洞口齐平,一方面不会影响到剪力墙两侧模板的安装顺直度,另一方面也可以方便在使用完毕后取出锥形套管12。The shape of the outer contour of the
优选地,锥形套管12套设在穿墙螺杆10的中段位置,随穿墙螺杆10一起穿入到剪力墙的锥形孔洞11内,剪力墙20相对的两个侧面分别构成迎水面a和背水面b,锥形孔洞11贯穿剪力墙的迎水面a和背水面b两侧表面,锥形孔洞11的第一洞口111设于迎水面a上,锥形孔洞11的第二洞口112设于背水面b上,且该第一洞口111的位置始终低于第二洞口112的位置,即迎水面一侧的洞口始终低于背水面一侧的洞口,以使雨水不会通过螺杆洞流入到建筑内部。Preferably, the
配合图3所示,定位埋件13埋设于剪力墙20的迎水面a一侧,定位埋件13上连接有定位杆14,剪力墙迎水面a一侧的外侧模板21上开设有供定位杆14插设的定位孔,外侧模板21还开设有供穿墙螺杆穿过的螺杆孔,外侧模板21上的定位孔与螺杆孔之间的距离等于对应的定位埋件13与第一洞口111之间的距离。利用锥形埋件13和定位杆14可以使外侧模板21上的螺杆洞精确定位。定位埋件13采用锥形埋件,锥形埋件13的窄头端位于剪力墙迎水面a表面。定位埋件13中部设有螺纹孔,定位杆14上设有与螺纹孔匹配旋合的外螺纹,定位杆14通过该外螺纹螺合于定位埋件的螺纹孔中。定位埋件13和定位杆14之间也可采用卡接或其他连接结构。为了更利于定位,通常定位埋件13上的螺纹孔呈水平设置,保证定位杆14能够呈水平设置。As shown in FIG. 3 , the positioning embedded
安装时,将定位杆14的第一端连接于定位埋件13,定位杆14的第二端螺合有螺母141并配合钢管142和山型卡143一起使用,固定外侧模板21,其中,山型卡143中部设有供定位杆14穿设的开孔。During installation, the first end of the
本申请外立面剪力墙螺杆洞防水结构的关键技术点在于:保证剪力墙内侧背水面一侧的螺杆洞始终高于外侧迎水面的螺杆洞,防止雨水从螺杆洞自外侧迎水面流入到建筑内部。因此,需要保证上述锥形孔洞11的位于迎水面一侧的第一洞口111的下沿始终低于其位于背水面一侧的第二洞口112的下沿。The key technical point of the screw hole waterproof structure of the facade shear wall of the present application is to ensure that the screw hole on the back side of the inner side of the shear wall is always higher than the screw hole on the outside water-facing side, and prevent rainwater from flowing into the screw hole from the outer water-facing side. into the building. Therefore, it is necessary to ensure that the lower edge of the
在如图1所示的实施例中,锥形孔洞11的倾斜度比较大,第二洞口112的下沿甚至已经高于第一洞口111的上沿,此时,需要适当的调整剪力墙两侧的内侧模板22的外侧模板21上供穿设穿墙螺杆10的螺杆孔位置,时两侧模板上的对应螺杆孔上下错开,即适当调高内侧模板22的螺杆孔位置,或者,适当调低外侧模板22的螺杆孔位置。In the embodiment shown in FIG. 1 , the inclination of the
又比如在图2所示的实施例中,锥形孔洞11的倾斜度比较小,第二洞口112的下沿略高于第一洞口111的下沿并低于第一洞口111的上沿,此时,无需调整剪力墙两侧模板上的螺杆孔高度位置,两侧模板上的螺杆孔仍旧可以水平对齐。For another example, in the embodiment shown in FIG. 2 , the inclination of the
本发明中锥形套管12和锥形孔洞11的设计还能一定程度上起到消除部分施工误差的作用。本发明技术还适用于标准层迎水剪力墙结构施工,对模板整体施工精度控制要求较高。另外,传统模板体系中使用的塑料套管在拆模后无法取出,塑料套管内壁为光面后期灌浆封堵质量效果较差,锥形套管由于其特殊形状轻敲即可取出,其重复利用性有效响应了绿色施工政策。The design of the
需要说明的是,本说明书所附图式所绘示的结构、比例、大小等,均仅用以配合说明书所揭示的内容,以供熟悉此技术的人士了解与阅读,并非用以限定本发明可实施的限定条件,故不具技术上的实质意义,任何结构的修饰、比例关系的改变或大小的调整,在不影响本发明所能产生的功效及所能达成的目的下,均应仍落在本发明所揭示的技术内容得能涵盖的范围内。同时,本说明书中所引用的如“上”、“下”、“左”、“右”、“中间”及“一”等的用语,亦仅为便于叙述的明了,而非用以限定本发明可实施的范围,其相对关系的改变或调整,在无实质变更技术内容下,当亦视为本发明可实施的范畴。It should be noted that the structures, proportions, sizes, etc. shown in the drawings attached in this specification are only used to cooperate with the contents disclosed in the specification, so as to be understood and read by those who are familiar with the technology, and are not intended to limit the present invention. The limited conditions that can be implemented have no technical significance. Any modification of the structure, change of the proportional relationship or adjustment of the size should still fall within the scope of the present invention without affecting the effect and the purpose that the present invention can achieve. It is within the scope that the technical content disclosed in the present invention can cover. At the same time, the terms such as "up", "down", "left", "right", "middle" and "one" quoted in this specification are only for the convenience of description and clarity, and are not used to limit this specification. The implementable scope of the invention, and the change or adjustment of the relative relationship thereof, shall also be regarded as the implementable scope of the present invention without substantially changing the technical content.
以上所述仅是本发明的较佳实施例而已,并非对本发明做任何形式上的限制,虽然本发明已以较佳实施例揭露如上,然而并非用以限定本发明,任何熟悉本专业的技术人员,在不脱离本发明技术方案的范围内,当可利用上述揭示的技术内容作出些许更动或修饰为等同变化的等效实施例,但凡是未脱离本发明技术方案的内容,依据本发明的技术实质对以上实施例所作的任何简单修改、等同变化与修饰,均仍属于本发明技术方案的范围内。The above descriptions are only preferred embodiments of the present invention, and are not intended to limit the present invention in any form. Although the present invention has been disclosed above with preferred embodiments, it is not intended to limit the present invention. Personnel, within the scope of not departing from the technical solution of the present invention, can make some changes or modifications to equivalent examples of equivalent changes by using the technical content disclosed above. Any simple modifications, equivalent changes and modifications made to the above embodiments still fall within the scope of the technical solutions of the present invention.
Claims (7)
Priority Applications (1)
| Application Number | Priority Date | Filing Date | Title |
|---|---|---|---|
| CN201911031958.6A CN110685435A (en) | 2019-10-28 | 2019-10-28 | Waterproof structure for screw hole of shear wall of outer vertical surface |
Applications Claiming Priority (1)
| Application Number | Priority Date | Filing Date | Title |
|---|---|---|---|
| CN201911031958.6A CN110685435A (en) | 2019-10-28 | 2019-10-28 | Waterproof structure for screw hole of shear wall of outer vertical surface |
Publications (1)
| Publication Number | Publication Date |
|---|---|
| CN110685435A true CN110685435A (en) | 2020-01-14 |
Family
ID=69114327
Family Applications (1)
| Application Number | Title | Priority Date | Filing Date |
|---|---|---|---|
| CN201911031958.6A Pending CN110685435A (en) | 2019-10-28 | 2019-10-28 | Waterproof structure for screw hole of shear wall of outer vertical surface |
Country Status (1)
| Country | Link |
|---|---|
| CN (1) | CN110685435A (en) |
Cited By (1)
| Publication number | Priority date | Publication date | Assignee | Title |
|---|---|---|---|---|
| CN111576879A (en) * | 2020-04-29 | 2020-08-25 | 中国十七冶集团有限公司 | Construction method for plugging screw hole of outer vertical face shear wall |
Citations (7)
| Publication number | Priority date | Publication date | Assignee | Title |
|---|---|---|---|---|
| JP2001279928A (en) * | 2000-03-31 | 2001-10-10 | Spacer Kogyo:Kk | Concrete form constructing apparatus and buried concrete for use therein |
| CN204899220U (en) * | 2015-08-04 | 2015-12-23 | 天津市兴业龙祥建设工程有限公司 | Shear force wall outer wall meet a batch connection structure |
| CN205558277U (en) * | 2016-04-19 | 2016-09-07 | 湖南省第四工程有限公司 | Template is consolidated and is used sleeve pipe and template structure to drawing screw rod |
| CN108868121A (en) * | 2018-09-13 | 2018-11-23 | 中信国安建工集团有限公司 | A kind of horizontal construction joint reinforcing bolt and the reinforcement means based on the bolt |
| CN209011571U (en) * | 2018-09-14 | 2019-06-21 | 河南省鼎铝环保建材有限公司 | It wears muscle positioning formula wall and pours aluminum alloy pattern plate carrier location structure |
| CN209369066U (en) * | 2018-12-28 | 2019-09-10 | 中信国安建工集团有限公司 | Concrete structure split bolt hole anti-leakage structure |
| CN211447797U (en) * | 2019-10-28 | 2020-09-08 | 中国建筑第八工程局有限公司 | Formwork Mounting Structure for Conical Screw Holes in Shear Walls |
-
2019
- 2019-10-28 CN CN201911031958.6A patent/CN110685435A/en active Pending
Patent Citations (7)
| Publication number | Priority date | Publication date | Assignee | Title |
|---|---|---|---|---|
| JP2001279928A (en) * | 2000-03-31 | 2001-10-10 | Spacer Kogyo:Kk | Concrete form constructing apparatus and buried concrete for use therein |
| CN204899220U (en) * | 2015-08-04 | 2015-12-23 | 天津市兴业龙祥建设工程有限公司 | Shear force wall outer wall meet a batch connection structure |
| CN205558277U (en) * | 2016-04-19 | 2016-09-07 | 湖南省第四工程有限公司 | Template is consolidated and is used sleeve pipe and template structure to drawing screw rod |
| CN108868121A (en) * | 2018-09-13 | 2018-11-23 | 中信国安建工集团有限公司 | A kind of horizontal construction joint reinforcing bolt and the reinforcement means based on the bolt |
| CN209011571U (en) * | 2018-09-14 | 2019-06-21 | 河南省鼎铝环保建材有限公司 | It wears muscle positioning formula wall and pours aluminum alloy pattern plate carrier location structure |
| CN209369066U (en) * | 2018-12-28 | 2019-09-10 | 中信国安建工集团有限公司 | Concrete structure split bolt hole anti-leakage structure |
| CN211447797U (en) * | 2019-10-28 | 2020-09-08 | 中国建筑第八工程局有限公司 | Formwork Mounting Structure for Conical Screw Holes in Shear Walls |
Cited By (1)
| Publication number | Priority date | Publication date | Assignee | Title |
|---|---|---|---|---|
| CN111576879A (en) * | 2020-04-29 | 2020-08-25 | 中国十七冶集团有限公司 | Construction method for plugging screw hole of outer vertical face shear wall |
Similar Documents
| Publication | Publication Date | Title |
|---|---|---|
| CN205314107U (en) | Sectional type slip casting pipe device that foundation stabilization used | |
| CN205206324U (en) | Precast concrete wallboard and wall form setting node | |
| CN104196128A (en) | Insertion plate type node for connection of steel beam and flat concrete-filled steel tube column | |
| CN206070796U (en) | A kind of vertical attachment means of prefabricated assembled shear wall slab | |
| CN211447797U (en) | Formwork Mounting Structure for Conical Screw Holes in Shear Walls | |
| CN110685435A (en) | Waterproof structure for screw hole of shear wall of outer vertical surface | |
| CN204174753U (en) | A kind of board plug type node be connected with Flat steel pipe concrete column for girder steel | |
| CN204059608U (en) | A kind of sticking board type mental node be connected with Flat steel pipe concrete column for girder steel | |
| CN205399731U (en) | Assembled reinforced concrete wall structure based on heat channel cuts off technique | |
| CN201024584Y (en) | Water heating ground heat pipeline pavement template | |
| CN204753841U (en) | Picture peg formula beam column connected node | |
| CN103410345B (en) | A kind of reinforced concrete column reinforcing device and method | |
| CN204252393U (en) | Corrugated steel web-concrete filled steel tube flange combined cross-shaped column | |
| CN209556239U (en) | A semi-connected grouting sleeve with adjustable length | |
| CN104328862A (en) | Corrugated steel web-concrete filled steel tube flange combined cross-shaped column | |
| CN204252392U (en) | Corrugated steel web-steel pipe concrete flange combined section L-shaped column | |
| CN206090823U (en) | Precast concrete frame girder segment point | |
| CN206495317U (en) | A kind of board-changing type node being connected for girder steel with band steel pipe concrete column | |
| CN216239719U (en) | A kind of aluminum alloy reverse sill template structure | |
| CN205713099U (en) | Detachable construction wall duct mould | |
| CN208072393U (en) | A kind of pile pile of the built-in slip casting pipe with piecing devices | |
| CN206495415U (en) | A kind of stiffener formula node for the T-shaped Special-Shaped Column of Flat steel pipe Combined concrete | |
| CN204252394U (en) | Corrugated steel web-steel pipe concrete flange combined section H-shaped column | |
| CN205654073U (en) | On --spot protection scaffold steel pipe connecting bend of construction | |
| CN206495335U (en) | A kind of reinforcement gusset-type joint for the T-shaped Special-Shaped Column of Flat steel pipe Combined concrete |
Legal Events
| Date | Code | Title | Description |
|---|---|---|---|
| PB01 | Publication | ||
| PB01 | Publication | ||
| SE01 | Entry into force of request for substantive examination | ||
| SE01 | Entry into force of request for substantive examination | ||
| RJ01 | Rejection of invention patent application after publication | ||
| RJ01 | Rejection of invention patent application after publication |
Application publication date: 20200114 |
