CN110353690B - Novel skin disease and venereal disease examination device - Google Patents
Novel skin disease and venereal disease examination device Download PDFInfo
- Publication number
- CN110353690B CN110353690B CN201910719757.9A CN201910719757A CN110353690B CN 110353690 B CN110353690 B CN 110353690B CN 201910719757 A CN201910719757 A CN 201910719757A CN 110353690 B CN110353690 B CN 110353690B
- Authority
- CN
- China
- Prior art keywords
- handle
- adjusting
- measuring
- gear
- novel
- Prior art date
- Legal status (The legal status is an assumption and is not a legal conclusion. Google has not performed a legal analysis and makes no representation as to the accuracy of the status listed.)
- Expired - Fee Related
Links
- 201000010099 disease Diseases 0.000 title claims abstract description 17
- 208000037265 diseases, disorders, signs and symptoms Diseases 0.000 title claims abstract description 17
- 208000017520 skin disease Diseases 0.000 title claims description 4
- 230000007246 mechanism Effects 0.000 claims abstract description 104
- 238000005070 sampling Methods 0.000 claims abstract description 14
- 238000007689 inspection Methods 0.000 claims abstract description 12
- 239000007788 liquid Substances 0.000 claims abstract description 10
- 238000004026 adhesive bonding Methods 0.000 claims description 6
- 238000003466 welding Methods 0.000 claims description 5
- 230000007704 transition Effects 0.000 claims description 2
- 239000010902 straw Substances 0.000 claims 2
- 238000000034 method Methods 0.000 abstract description 4
- 206010052428 Wound Diseases 0.000 description 12
- 208000027418 Wounds and injury Diseases 0.000 description 12
- 238000010586 diagram Methods 0.000 description 7
- 230000000694 effects Effects 0.000 description 6
- 238000003745 diagnosis Methods 0.000 description 2
- 238000005259 measurement Methods 0.000 description 2
- 238000000465 moulding Methods 0.000 description 2
- 208000017667 Chronic Disease Diseases 0.000 description 1
- 239000000853 adhesive Substances 0.000 description 1
- 230000001070 adhesive effect Effects 0.000 description 1
- 230000009286 beneficial effect Effects 0.000 description 1
- 238000003759 clinical diagnosis Methods 0.000 description 1
- 238000004891 communication Methods 0.000 description 1
- 239000011521 glass Substances 0.000 description 1
- 238000012986 modification Methods 0.000 description 1
- 230000004048 modification Effects 0.000 description 1
- 230000008569 process Effects 0.000 description 1
- 238000007789 sealing Methods 0.000 description 1
- 208000024891 symptom Diseases 0.000 description 1
Images
Classifications
-
- A—HUMAN NECESSITIES
- A61—MEDICAL OR VETERINARY SCIENCE; HYGIENE
- A61B—DIAGNOSIS; SURGERY; IDENTIFICATION
- A61B10/00—Instruments for taking body samples for diagnostic purposes; Other methods or instruments for diagnosis, e.g. for vaccination diagnosis, sex determination or ovulation-period determination; Throat striking implements
- A61B10/0045—Devices for taking samples of body liquids
-
- A—HUMAN NECESSITIES
- A61—MEDICAL OR VETERINARY SCIENCE; HYGIENE
- A61B—DIAGNOSIS; SURGERY; IDENTIFICATION
- A61B5/00—Measuring for diagnostic purposes; Identification of persons
- A61B5/103—Measuring devices for testing the shape, pattern, colour, size or movement of the body or parts thereof, for diagnostic purposes
- A61B5/107—Measuring physical dimensions, e.g. size of the entire body or parts thereof
- A61B5/1072—Measuring physical dimensions, e.g. size of the entire body or parts thereof measuring distances on the body, e.g. measuring length, height or thickness
-
- A—HUMAN NECESSITIES
- A61—MEDICAL OR VETERINARY SCIENCE; HYGIENE
- A61B—DIAGNOSIS; SURGERY; IDENTIFICATION
- A61B90/00—Instruments, implements or accessories specially adapted for surgery or diagnosis and not covered by any of the groups A61B1/00 - A61B50/00, e.g. for luxation treatment or for protecting wound edges
- A61B90/39—Markers, e.g. radio-opaque or breast lesions markers
-
- A—HUMAN NECESSITIES
- A61—MEDICAL OR VETERINARY SCIENCE; HYGIENE
- A61B—DIAGNOSIS; SURGERY; IDENTIFICATION
- A61B90/00—Instruments, implements or accessories specially adapted for surgery or diagnosis and not covered by any of the groups A61B1/00 - A61B50/00, e.g. for luxation treatment or for protecting wound edges
- A61B90/39—Markers, e.g. radio-opaque or breast lesions markers
- A61B2090/3937—Visible markers
Landscapes
- Health & Medical Sciences (AREA)
- Life Sciences & Earth Sciences (AREA)
- Surgery (AREA)
- Public Health (AREA)
- Veterinary Medicine (AREA)
- General Health & Medical Sciences (AREA)
- Pathology (AREA)
- Engineering & Computer Science (AREA)
- Biomedical Technology (AREA)
- Heart & Thoracic Surgery (AREA)
- Medical Informatics (AREA)
- Molecular Biology (AREA)
- Animal Behavior & Ethology (AREA)
- Oral & Maxillofacial Surgery (AREA)
- Biophysics (AREA)
- Dentistry (AREA)
- Physics & Mathematics (AREA)
- Nuclear Medicine, Radiotherapy & Molecular Imaging (AREA)
- Hematology (AREA)
- Surgical Instruments (AREA)
- External Artificial Organs (AREA)
Abstract
本发明公开了一种新型皮肤病性病检查装置,包括握持机构、电子机构,所述电子机构设置在所述握持机构上,还包括能够测量伤口长度的测量机构和吸收集液的取样机构,以及能够调节所述测量机构角度和方向的调节机构,所述调节机构设置在所述握持机构下端,所述测量机构设置在所述调节机构下端,所述取样机构连接在所述调节机构。本发明结构合理,装置采用自动吸取集液的方式,提高了取样的工作效率,利用滚轮、胶圈和电磁阀能够方便测量伤口的长度和标记伤口的位置,方便后期治疗。
The invention discloses a novel dermatological and venereal disease inspection device, comprising a holding mechanism and an electronic mechanism, wherein the electronic mechanism is arranged on the holding mechanism, a measuring mechanism capable of measuring the length of a wound, and a sampling mechanism for absorbing liquid collection , and an adjustment mechanism capable of adjusting the angle and direction of the measuring mechanism, the adjustment mechanism is arranged at the lower end of the holding mechanism, the measuring mechanism is arranged at the lower end of the adjustment mechanism, and the sampling mechanism is connected to the adjustment mechanism . The invention has a reasonable structure, and the device adopts the method of automatically sucking and collecting liquid, which improves the working efficiency of sampling, and can conveniently measure the length of the wound and mark the position of the wound by using the roller, the rubber ring and the electromagnetic valve, and facilitate the later treatment.
Description
技术领域technical field
本发明涉及皮肤病性病检查领域,特别是涉及一种新型皮肤病性病检查装置。The invention relates to the field of skin disease and venereal disease examination, in particular to a novel skin disease and venereal disease examination device.
背景技术Background technique
皮肤性病是慢性疾病,临床上诊治皮肤性病症状最常用到的医疗器械一般有放大镜、刮匙和标尺等,而目前这三类医疗器具一般都是分体的。Skin venereal diseases are chronic diseases. The most commonly used medical devices in clinical diagnosis and treatment of skin venereal disease symptoms are magnifying glasses, curettes and rulers. At present, these three types of medical devices are generally separated.
医生症治过程中需要经常更换医疗器具,操作十分繁琐,费时费力,给医务人员带来极大的工作难度,浪费大量时间造成诊治效率低,并且在标记伤口时,单纯使用直尺测量也十分不便,从而影响到诊治的效率。Doctors need to replace medical equipment frequently during the treatment process. The operation is very cumbersome, time-consuming and labor-intensive, which brings great difficulty to the medical staff, wastes a lot of time and causes low diagnosis and treatment efficiency. When marking wounds, simply using a ruler to measure is also very difficult. Inconvenience, thus affecting the efficiency of diagnosis and treatment.
发明内容SUMMARY OF THE INVENTION
本发明的目的就在于为了解决上述问题而提供一种新型皮肤病性病检查装置。An object of the present invention is to provide a novel dermatological and venereal disease inspection device in order to solve the above-mentioned problems.
本发明通过以下技术方案来实现上述目的:The present invention realizes above-mentioned purpose through following technical scheme:
一种新型皮肤病性病检查装置,包括握持机构、电子机构,所述电子机构设置在所述握持机构上,还包括能够测量伤口长度的测量机构和吸收集液的取样机构,以及能够调节所述测量机构角度和方向的调节机构,所述调节机构设置在所述握持机构下端,所述测量机构设置在所述调节机构下端,所述取样机构连接在所述调节机构。A novel dermatological and venereal disease inspection device, comprising a holding mechanism, an electronic mechanism, the electronic mechanism being arranged on the holding mechanism, a measuring mechanism capable of measuring the length of a wound, a sampling mechanism for absorbing liquid collection, and an adjustable The adjustment mechanism of the angle and direction of the measurement mechanism, the adjustment mechanism is arranged at the lower end of the holding mechanism, the measurement mechanism is arranged at the lower end of the adjustment mechanism, and the sampling mechanism is connected to the adjustment mechanism.
优选的:所述握持机构包括手柄、盖帽、防滑垫、凹槽,所述手柄上端连接所述盖帽,所述手柄上设置有所述凹槽,所述手柄外部连接有所述凹槽,所述防滑垫连接在所述手柄外侧。Preferably, the holding mechanism includes a handle, a cap, an anti-skid pad and a groove, the upper end of the handle is connected to the cap, the handle is provided with the groove, and the outside of the handle is connected with the groove, The anti-skid pad is connected to the outside of the handle.
如此设置,通过设置所述手柄和所述盖帽,方便拆卸,使用方便。In this way, by arranging the handle and the cap, it is convenient to disassemble and use.
优选的:所述电子机构包括控制按钮、显示屏、蓄电池、单片机,所述控制按钮镶嵌连接在所述握持机构的所述手柄外侧,所述显示屏镶嵌连接在所述握持机构的所述盖帽上端,所述蓄电池通过卡扣连接在所述握持机构的所述手柄内部,所述单片机连接在所述蓄电池下端。Preferably, the electronic mechanism includes a control button, a display screen, a battery, and a single-chip microcomputer, the control button is inlaid and connected to the outside of the handle of the holding mechanism, and the display screen is inlaid and connected to all parts of the holding mechanism. The upper end of the cap, the battery is connected inside the handle of the holding mechanism through a buckle, and the single chip is connected to the lower end of the battery.
如此设置,设置所述控制按钮可以方便控制设备地工作状态。In this way, setting the control button can conveniently control the working state of the device.
优选的:所述调节机构包括调节座、旋转齿条、齿轮、马达,所述调节座连接所述握持机构的所述手柄,所述旋转齿条设置在所述调节座和所述握持机构的所述手柄之间,所述齿轮连接在所述旋转齿条一侧,所述马达连接在所述齿轮上。Preferably, the adjusting mechanism includes an adjusting seat, a rotating rack, a gear and a motor, the adjusting seat is connected to the handle of the holding mechanism, and the rotating rack is arranged on the adjusting seat and the holding mechanism. Between the handles of the mechanism, the gear is connected to one side of the rotating rack, and the motor is connected to the gear.
如此设置,通过设置所述调节座可以方便调节所述测量机构的方向和工作状态。In this way, the direction and working state of the measuring mechanism can be easily adjusted by arranging the adjusting seat.
优选的:所述测量机构包括滚轮、胶圈、编码器、电磁阀,所述滚轮连接在所述调节机构的所述调节座上,所述胶圈连接在所述滚轮外部,所述编码器连接在所述滚轮一侧,所述电磁阀连接在所述滚轮上侧,所述电磁阀一端连接有导管,所述导管一端连接有墨囊。Preferably: the measuring mechanism includes a roller, a rubber ring, an encoder, and a solenoid valve, the roller is connected to the adjustment seat of the adjustment mechanism, the rubber ring is connected to the outside of the roller, and the encoder The solenoid valve is connected to one side of the roller, the solenoid valve is connected to the upper side of the roller, one end of the solenoid valve is connected with a conduit, and one end of the conduit is connected with an ink bag.
如此设置,所述滚轮能够测量和标记伤口,提高治疗效果。In this way, the roller can measure and mark the wound, improving the treatment effect.
优选的:所述取样机构包括吸头、吸管、气囊、流量阀,所述吸头连接在所述调节机构的所述调节座上,所述吸管连接在所述吸头上端,所述气囊外侧连接有固定架,所述气囊上端连接有所述流量阀,所述流量阀上端连接有气泵。Preferably: the sampling mechanism includes a suction head, a suction pipe, an air bag, and a flow valve, the suction head is connected to the adjustment seat of the adjustment mechanism, the suction pipe is connected to the upper end of the suction head, and the outside of the air bag is A fixing frame is connected, the upper end of the air bag is connected with the flow valve, and the upper end of the flow valve is connected with an air pump.
如此设置,通过设置所述吸头、所述吸管、所述气囊,可以方便吸取集液,方便后期治疗。In this way, by arranging the suction head, the suction tube and the air bag, the liquid collection can be easily absorbed and the later treatment can be facilitated.
优选的:所述手柄通过螺纹连接于所述盖帽,所述防滑垫通过胶粘和所述手柄连接,所述凹槽和所述手柄一体成型。Preferably, the handle is connected to the cap through a thread, the anti-skid pad is connected to the handle by gluing, and the groove and the handle are integrally formed.
如此设置,通过螺纹连接便于拆卸。In this way, the threaded connection is convenient for disassembly.
优选的:所述旋转齿条通过焊接和所述调节座连接,所述齿轮和所述旋转齿条啮合,所述齿轮键连接于所述马达。Preferably, the rotating rack is connected to the adjusting seat by welding, the gear is meshed with the rotating rack, and the gear key is connected to the motor.
如此设置,通过焊接可以保证所述调节座的稳定性和旋转效果。In this way, the stability and rotation effect of the adjusting seat can be ensured by welding.
优选的:所述胶圈通过胶粘和所述滚轮连接,所述编码器键连接于所述胶圈,所述电磁阀通过螺纹连接于所述导管。Preferably, the rubber ring is connected to the roller by gluing, the encoder key is connected to the rubber ring, and the solenoid valve is connected to the conduit through a thread.
如此设置,所述胶圈提高了所述滚轮的转动效率,通过胶粘连接保证了连接效果。In this way, the rubber ring improves the rotation efficiency of the roller, and the connection effect is ensured through the adhesive connection.
优选的:所述吸头、所述吸管、所述气囊一体成型,所述流量阀通过卡扣连接于所述气囊,所述固定架和所述气囊过渡配合。Preferably, the suction head, the suction tube, and the air bag are integrally formed, the flow valve is connected to the air bag through a snap, and the fixing frame and the air bag are in transition fit.
如此设置,通过一体成型保证了密封性。In this way, the airtightness is ensured by integral molding.
与现有技术相比,本发明的有益效果如下:Compared with the prior art, the beneficial effects of the present invention are as follows:
1、结构合理,装置采用自动吸取集液的方式,提高了取样的工作效率;1. The structure is reasonable, and the device adopts the method of automatically sucking and collecting liquid, which improves the working efficiency of sampling;
2、利用滚轮、胶圈和电磁阀能够方便测量伤口的长度和标记伤口的位置,方便后期治疗。2. The use of rollers, rubber rings and solenoid valves can easily measure the length of the wound and mark the position of the wound, which is convenient for later treatment.
附图说明Description of drawings
为了更清楚地说明本发明实施例或现有技术中的技术方案,下面将对实施例或现有技术描述中所需要使用的附图作简单地介绍,显而易见地,下面描述中的附图仅是本发明的一些实施例,对于本领域普通技术人员来讲,在不付出创造性劳动性的前提下,还可以根据这些附图获得其他的附图。In order to explain the embodiments of the present invention or the technical solutions in the prior art more clearly, the following briefly introduces the accompanying drawings that need to be used in the description of the embodiments or the prior art. Obviously, the drawings in the following description are only These are some embodiments of the present invention, and for those of ordinary skill in the art, other drawings can also be obtained from these drawings without any creative effort.
图1是本发明所述一种新型皮肤病性病检查装置的第一结构示意图;Fig. 1 is a first structural schematic diagram of a novel dermatological and venereal disease inspection device according to the present invention;
图2是本发明所述一种新型皮肤病性病检查装置的第二结构示意图;FIG. 2 is a second structural schematic diagram of a novel dermatological and venereal disease inspection device according to the present invention;
图3是本发明所述一种新型皮肤病性病检查装置的握持机构结构示意图;3 is a schematic structural diagram of a gripping mechanism of a novel dermatological and venereal disease inspection device according to the present invention;
图4是本发明所述一种新型皮肤病性病检查装置的握持机构内部结构示意图;4 is a schematic diagram of the internal structure of the gripping mechanism of a novel dermatological and venereal disease inspection device according to the present invention;
图5是本发明所述一种新型皮肤病性病检查装置的盖帽结构示意图;5 is a schematic diagram of a cap structure of a novel dermatological and venereal disease inspection device according to the present invention;
图6是本发明所述一种新型皮肤病性病检查装置的主测量机构结构示意图;6 is a schematic structural diagram of the main measuring mechanism of a novel dermatological and venereal disease inspection device according to the present invention;
图7是本发明所述一种新型皮肤病性病检查装置的电路结构流程框图。FIG. 7 is a block diagram showing the circuit structure of a novel dermatological and venereal disease inspection device according to the present invention.
附图标记说明如下:The reference numerals are explained as follows:
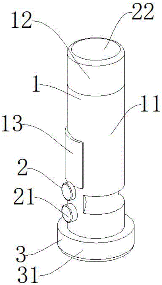
1、握持机构;2、电子机构;3、调节机构;4、测量机构;5、取样机构;11、手柄;12、盖帽;13、防滑垫;14、凹槽;21、控制按钮;22、显示屏;23、蓄电池;24、单片机;31、调节座;32、旋转齿条;33、齿轮;34、马达;41、滚轮;42、胶圈;43、编码器;44、电磁阀;45、导管;46、墨囊;51、吸头;52、吸管;53、气囊;54、流量阀;55、气泵;56、固定架。1. Holding mechanism; 2. Electronic mechanism; 3. Adjusting mechanism; 4. Measuring mechanism; 5. Sampling mechanism; 11. Handle; 12. Cap; 13. Anti-skid pad; 14. Groove; 21. Control button; 22 , display screen; 23, battery; 24, microcontroller; 31, adjusting seat; 32, rotating rack; 33, gear; 34, motor; 41, roller; 42, rubber ring; 43, encoder; 44, solenoid valve; 45, catheter; 46, ink bag; 51, suction head; 52, suction pipe; 53, air bag; 54, flow valve; 55, air pump; 56, fixing frame.
具体实施方式Detailed ways
在本发明的描述中,需要理解的是,术语“中心”、“纵向”、“横向”、“上”、“下”、“前”、“后”、“左”、“右”、“竖直”、“水平”、“顶”、“底”、“内”、“外”等指示的方位或位置关系为基于附图所示的方位或位置关系,仅是为了便于描述本发明和简化描述,而不是指示或暗示所指的装置或元件必须具有特定的方位、以特定的方位构造和操作,因此不能理解为对本发明的限制。此外,术语“第一”、“第二”等仅用于描述目的,而不能理解为指示或暗示相对重要性或者隐含指明所指示的技术特征的数量。由此,限定有“第一”、“第二”等的特征可以明示或者隐含地包括一个或者更多个该特征。在本发明的描述中,除非另有说明,“多个”的含义是两个或两个以上。In the description of the present invention, it should be understood that the terms "center", "portrait", "horizontal", "top", "bottom", "front", "rear", "left", "right", " The orientation or positional relationship indicated by vertical, horizontal, top, bottom, inner, outer, etc. is based on the orientation or positional relationship shown in the drawings, and is only for the convenience of describing the present invention and The description is simplified rather than indicating or implying that the device or element referred to must have a particular orientation, be constructed and operate in a particular orientation, and therefore should not be construed as limiting the invention. In addition, the terms "first", "second", etc. are used for descriptive purposes only, and should not be construed as indicating or implying relative importance or implying the number of indicated technical features. Thus, a feature defined as "first", "second", etc., may expressly or implicitly include one or more of that feature. In the description of the present invention, unless otherwise specified, "plurality" means two or more.
在本发明的描述中,需要说明的是,除非另有明确的规定和限定,术语“安装”、“相连”、“连接”应做广义理解,例如,可以是固定连接,也可以是可拆卸连接,或一体地连接;可以是机械连接,也可以是电连接;可以是直接相连,也可以通过中间媒介间接相连,可以是两个元件内部的连通。对于本领域的普通技术人员而言,可以通过具体情况理解上述术语在本发明中的具体含义。In the description of the present invention, it should be noted that the terms "installed", "connected" and "connected" should be understood in a broad sense, unless otherwise expressly specified and limited, for example, it may be a fixed connection or a detachable connection Connection, or integral connection; can be mechanical connection, can also be electrical connection; can be directly connected, can also be indirectly connected through an intermediate medium, can be internal communication between two elements. For those of ordinary skill in the art, the specific meanings of the above terms in the present invention can be understood through specific situations.
下面结合附图对本发明作进一步说明:The present invention will be further described below in conjunction with the accompanying drawings:
一种新型皮肤病性病检查装置,包括握持机构1、电子机构2,电子机构2设置在握持机构1上,电子机构2起控制作用,握持机构1起辅助作用,还包括能够测量伤口长度的测量机构4和吸收集液的取样机构5,以及能够调节测量机构4角度和方向的调节机构3,调节机构3设置在握持机构1下端,测量机构4设置在调节机构3下端,取样机构5连接在调节机构3。A novel dermatological and venereal disease inspection device, comprising a
单片机24通过导线连接于控制按钮21、显示屏22、蓄电池23、马达34、编码器43、电磁阀44、流量阀54、气泵55,单片机型号为80C52,编码器型号为RM08。The
实施例Example
如图1-图7所示,握持机构1包括手柄11、盖帽12、防滑垫13、凹槽14,手柄11上端连接盖帽12,手柄11上设置有凹槽14,手柄11外部连接有凹槽14,,防滑垫13连接在手柄11外侧,通过设置手柄11和盖帽12,方便拆卸,使用方便;电子机构2包括控制按钮21、显示屏22、蓄电池23、单片机24,控制按钮21镶嵌连接在握持机构1的手柄11外侧,显示屏22镶嵌连接在握持机构1的盖帽12上端,蓄电池23通过卡扣连接在握持机构1的手柄11内部,单片机24连接在蓄电池23下端,设置控制按钮21可以方便控制设备地工作状态;调节机构3包括调节座31、旋转齿条32、齿轮33、马达34,调节座31连接握持机构1的手柄11,旋转齿条32设置在调节座31和握持机构1的手柄11之间,齿轮33连接在旋转齿条32一侧,马达34连接在齿轮33上,通过设置调节座31可以方便调节测量机构4的方向和工作状态;测量机构4包括滚轮41、胶圈42、编码器43、电磁阀44,滚轮41连接在调节机构3的调节座31上,胶圈42连接在滚轮41外部,编码器43连接在滚轮41一侧,电磁阀44连接在滚轮41上侧,电磁阀44一端连接有导管45,导管45一端连接有墨囊46,滚轮41能够测量和标记伤口,提高治疗效果;取样机构5包括吸头51、吸管52、气囊53、流量阀54,吸头51连接在调节机构3的调节座31上,吸管52连接在吸头51上端,气囊53外侧连接有固定架56,气囊53上端连接有流量阀54,流量阀54上端连接有气泵55,通过设置吸头51、吸管52、气囊53,可以方便吸取集液,方便后期治疗;手柄11通过螺纹连接于盖帽12,防滑垫13通过胶粘和手柄11连接,凹槽14和手柄11一体成型,通过螺纹连接便于拆卸;旋转齿条32通过焊接和调节座31连接,齿轮33和旋转齿条32啮合,齿轮33键连接于马达34,通过焊接可以保证调节座31的稳定性和旋转效果;胶圈42通过胶粘和滚轮41连接,编码器43键连接于胶圈42,电磁阀44通过螺纹连接于导管45,胶圈42提高了滚轮41的转动效率,通过胶粘连接保证了连接效果;吸头51、吸管52、气囊53一体成型,流量阀54通过卡扣连接于气囊53,固定架56和气囊53过渡配合,通过一体成型保证了密封性。As shown in FIGS. 1-7 , the
工作原理:当需要测量伤口的位置和标记伤口时,手握手柄11,按动控制按钮21启动装置,将滚轮41贴附在伤口外侧,推动装置,胶圈42收到摩擦力带动滚轮41旋转,编码器43检测旋转长度从而将长度显示在显示屏22上,当需要标记伤口时,按动控制按钮21,电磁阀44打开,墨囊46内的墨水通过导管45、电磁阀44到达胶圈42上,从而标记伤口,当需要吸收集液时,气泵55启动将气囊53内部抽成低压,从而底部的集液会被压进吸管52内部,从而完成收集。Working principle: When it is necessary to measure the position of the wound and mark the wound, hold the
以上显示和描述了本发明的基本原理、主要特征和优点。本行业的技术人员应该了解,本发明不受上述实施例的限制,上述实施例和说明书中描述的只是说明本发明的原理,在不脱离本发明精神和范围的前提下,本发明还会有各种变化和改进,这些变化和改进都落入要求保护的本发明范围内。The foregoing has shown and described the basic principles, main features and advantages of the present invention. Those skilled in the art should understand that the present invention is not limited by the above-mentioned embodiments, and the descriptions in the above-mentioned embodiments and the description are only to illustrate the principle of the present invention. Without departing from the spirit and scope of the present invention, the present invention will have Various changes and modifications fall within the scope of the claimed invention.
Claims (8)
Priority Applications (1)
| Application Number | Priority Date | Filing Date | Title |
|---|---|---|---|
| CN201910719757.9A CN110353690B (en) | 2019-08-06 | 2019-08-06 | Novel skin disease and venereal disease examination device |
Applications Claiming Priority (1)
| Application Number | Priority Date | Filing Date | Title |
|---|---|---|---|
| CN201910719757.9A CN110353690B (en) | 2019-08-06 | 2019-08-06 | Novel skin disease and venereal disease examination device |
Publications (2)
| Publication Number | Publication Date |
|---|---|
| CN110353690A CN110353690A (en) | 2019-10-22 |
| CN110353690B true CN110353690B (en) | 2022-05-10 |
Family
ID=68223300
Family Applications (1)
| Application Number | Title | Priority Date | Filing Date |
|---|---|---|---|
| CN201910719757.9A Expired - Fee Related CN110353690B (en) | 2019-08-06 | 2019-08-06 | Novel skin disease and venereal disease examination device |
Country Status (1)
| Country | Link |
|---|---|
| CN (1) | CN110353690B (en) |
Families Citing this family (1)
| Publication number | Priority date | Publication date | Assignee | Title |
|---|---|---|---|---|
| CN113080860B (en) * | 2021-04-02 | 2022-11-29 | 郭向阳 | A device for testing skin and venereal diseases |
Family Cites Families (11)
| Publication number | Priority date | Publication date | Assignee | Title |
|---|---|---|---|---|
| JP2003024307A (en) * | 2001-07-17 | 2003-01-28 | Yoshiaki Sakamoto | Sebum collecting device |
| GB0402929D0 (en) * | 2004-02-11 | 2004-03-17 | Arnold Frank | Wound meter |
| ES2989708T3 (en) * | 2008-05-20 | 2024-11-27 | Univ Health Network | Device and method for imaging and monitoring by fluorescence |
| CN201719273U (en) * | 2010-07-02 | 2011-01-26 | 李明阳 | Disposable biopsy forceps with measuring function |
| CN101983730B (en) * | 2010-11-17 | 2013-02-13 | 惠州市华阳医疗电子有限公司 | Negative pressure wound therapy system capable of detecting viscosity of wound exudates |
| WO2012078784A1 (en) * | 2010-12-08 | 2012-06-14 | Convatec Technologies Inc. | Wound exudate system accessory |
| US8911384B2 (en) * | 2011-05-24 | 2014-12-16 | Carmen Celia Santiago | Wound measuring device and system |
| CN204468086U (en) * | 2015-01-15 | 2015-07-15 | 郑飞 | A kind of new medical measuring instrument |
| CN108937945A (en) * | 2018-07-20 | 2018-12-07 | 庞海燕 | Portable multi-function limbs measurement record assessment device |
| CN109171736A (en) * | 2018-09-25 | 2019-01-11 | 深圳前海超体智能科技有限公司 | A kind of intelligence degree of the enclosing ruler and its measurement method of automatic switch |
| CN109568682A (en) * | 2018-11-21 | 2019-04-05 | 中南大学湘雅医院 | Sputum clearing device for department of respiration and sputum clearing method thereof |
-
2019
- 2019-08-06 CN CN201910719757.9A patent/CN110353690B/en not_active Expired - Fee Related
Also Published As
| Publication number | Publication date |
|---|---|
| CN110353690A (en) | 2019-10-22 |
Similar Documents
| Publication | Publication Date | Title |
|---|---|---|
| CN110711272A (en) | Automatic negative pressure suction device of pressure regulating | |
| CN211410332U (en) | Department of respiration nurses and inhales phlegm device | |
| CN110353690B (en) | Novel skin disease and venereal disease examination device | |
| CN211611184U (en) | Just, use clinical multi-functional respiratory device of formula internal medicine | |
| CN220477875U (en) | Measurable sputum suction negative pressure device | |
| CN210844542U (en) | Special drainage device of emergency internal medicine | |
| CN205924555U (en) | Medical aspirator head | |
| CN211634513U (en) | Automatic negative pressure suction device of pressure regulating | |
| CN211634522U (en) | Disposable drainage ball for drainage liquid | |
| CN213608690U (en) | A brain surgery drainage tube control device | |
| CN205095092U (en) | Portable vacuum suction device | |
| CN204520660U (en) | A kind of blood pressure detector based on Internet of Things clinical practice | |
| CN210355468U (en) | Efficient drainage device for cardiovascular internal medicine | |
| CN221431702U (en) | Sputum collection device | |
| CN208838101U (en) | A kind of operation nursing abdominocentesis drainage device | |
| CN215230723U (en) | Clinical ascites drainage equipment of gastroenterology | |
| CN113812983A (en) | Medical nasopharynx swab self-service collector | |
| CN223112120U (en) | Condensed water collecting device of oxygen humidifying bottle | |
| CN210354710U (en) | Rapid blood glucose test strips | |
| CN213251255U (en) | Anesthesia department uses anesthetic quantity detection device | |
| CN218420547U (en) | A sensing device for the effect of bladder flushing | |
| CN222444100U (en) | Full-automatic electronic sphygmomanometer protective sleeve | |
| CN221751917U (en) | Children's suction tube with adjustable suction force | |
| CN218899425U (en) | Integrated form instrument for clinical care | |
| CN221577711U (en) | A central venous pressure measurement tool |
Legal Events
| Date | Code | Title | Description |
|---|---|---|---|
| PB01 | Publication | ||
| PB01 | Publication | ||
| SE01 | Entry into force of request for substantive examination | ||
| SE01 | Entry into force of request for substantive examination | ||
| GR01 | Patent grant | ||
| GR01 | Patent grant | ||
| CF01 | Termination of patent right due to non-payment of annual fee |
Granted publication date: 20220510 |
|
| CF01 | Termination of patent right due to non-payment of annual fee |
