CN109328672B - Forage rubbing crusher for farming and animal husbandry - Google Patents
Forage rubbing crusher for farming and animal husbandry Download PDFInfo
- Publication number
- CN109328672B CN109328672B CN201811192564.4A CN201811192564A CN109328672B CN 109328672 B CN109328672 B CN 109328672B CN 201811192564 A CN201811192564 A CN 201811192564A CN 109328672 B CN109328672 B CN 109328672B
- Authority
- CN
- China
- Prior art keywords
- bin
- forage
- dust
- crushing
- air
- Prior art date
- Legal status (The legal status is an assumption and is not a legal conclusion. Google has not performed a legal analysis and makes no representation as to the accuracy of the status listed.)
- Active
Links
Images
Classifications
-
- A—HUMAN NECESSITIES
- A01—AGRICULTURE; FORESTRY; ANIMAL HUSBANDRY; HUNTING; TRAPPING; FISHING
- A01F—PROCESSING OF HARVESTED PRODUCE; HAY OR STRAW PRESSES; DEVICES FOR STORING AGRICULTURAL OR HORTICULTURAL PRODUCE
- A01F29/00—Cutting apparatus specially adapted for cutting hay, straw or the like
- A01F29/005—Cutting apparatus specially adapted for cutting hay, straw or the like for disintegrating and cutting up bales of hay, straw or fodder
-
- A—HUMAN NECESSITIES
- A01—AGRICULTURE; FORESTRY; ANIMAL HUSBANDRY; HUNTING; TRAPPING; FISHING
- A01F—PROCESSING OF HARVESTED PRODUCE; HAY OR STRAW PRESSES; DEVICES FOR STORING AGRICULTURAL OR HORTICULTURAL PRODUCE
- A01F29/00—Cutting apparatus specially adapted for cutting hay, straw or the like
- A01F29/02—Cutting apparatus specially adapted for cutting hay, straw or the like having rotating knives with their cutting edges in a plane perpendicular to their rotational axis
- A01F29/04—Cutting apparatus specially adapted for cutting hay, straw or the like having rotating knives with their cutting edges in a plane perpendicular to their rotational axis with feeding direction transverse to axis
-
- A—HUMAN NECESSITIES
- A01—AGRICULTURE; FORESTRY; ANIMAL HUSBANDRY; HUNTING; TRAPPING; FISHING
- A01F—PROCESSING OF HARVESTED PRODUCE; HAY OR STRAW PRESSES; DEVICES FOR STORING AGRICULTURAL OR HORTICULTURAL PRODUCE
- A01F29/00—Cutting apparatus specially adapted for cutting hay, straw or the like
- A01F29/09—Details
-
- A—HUMAN NECESSITIES
- A01—AGRICULTURE; FORESTRY; ANIMAL HUSBANDRY; HUNTING; TRAPPING; FISHING
- A01F—PROCESSING OF HARVESTED PRODUCE; HAY OR STRAW PRESSES; DEVICES FOR STORING AGRICULTURAL OR HORTICULTURAL PRODUCE
- A01F29/00—Cutting apparatus specially adapted for cutting hay, straw or the like
- A01F29/09—Details
- A01F29/10—Feeding devices
-
- A—HUMAN NECESSITIES
- A01—AGRICULTURE; FORESTRY; ANIMAL HUSBANDRY; HUNTING; TRAPPING; FISHING
- A01F—PROCESSING OF HARVESTED PRODUCE; HAY OR STRAW PRESSES; DEVICES FOR STORING AGRICULTURAL OR HORTICULTURAL PRODUCE
- A01F29/00—Cutting apparatus specially adapted for cutting hay, straw or the like
- A01F29/09—Details
- A01F29/16—Safety devices, e.g. emergency brake arrangements
- A01F29/18—Safety devices, e.g. emergency brake arrangements for protecting human beings
Landscapes
- Life Sciences & Earth Sciences (AREA)
- Environmental Sciences (AREA)
- Health & Medical Sciences (AREA)
- Toxicology (AREA)
- Crushing And Pulverization Processes (AREA)
Abstract
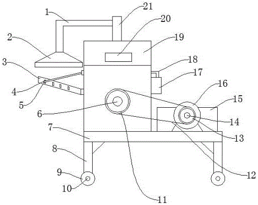
本发明公开了一种农牧业用草料粉碎机,包括车架、粉碎仓和收屑箱,所述车架下端四角处焊接有支撑腿,所述支撑腿底端设置有滚轴,所述滚轴上设置有车轮。有益效果在于:通过设置固定块一、固定块二、连接轴一、连接轴二、挂杆和挂环,可根据需要实现投料斗角度的便捷调节,以适应不同草料投料的需求,提高投料的效率,通过设置抽风机、气管、收屑箱、吸尘罩一、吸尘罩二、吸尘主管、吸尘支管一和吸尘支管二,可在投料和排料的过程中将扩散在空气中的草料粉末吸入到收屑箱内,可确保粉碎环境的清洁,通过设置鼓风机、连接管、储气腔和气孔,可在粉碎过程中持续的向粉碎仓内鼓风,以确保草料与粉碎仓内壁的分离,提高粉碎的效率。
The invention discloses a forage pulverizer for agriculture and animal husbandry, comprising a frame, a pulverizing bin and a dust collecting box. Support legs are welded at four corners of the lower end of the frame, and rollers are arranged at the bottom ends of the support legs. Wheels are provided on the rollers. The beneficial effect is that: by setting the first fixed block, the second fixed block, the first connecting shaft, the second connecting shaft, the hanging rod and the hanging ring, the angle of the feeding hopper can be conveniently adjusted according to the needs, so as to meet the needs of different forage feeding and improve the feeding efficiency. Efficiency, by setting the exhaust fan, air pipe, dust box, dust hood 1, dust hood 2, dust main pipe, dust branch pipe 1 and dust branch pipe 2, it can diffuse in the air during the feeding and discharging process. The forage powder in the crusher is sucked into the dust collecting box, which can ensure the cleanness of the crushing environment. By setting the blower, connecting pipe, air storage cavity and air hole, air can be continuously blown into the crushing bin during the crushing process to ensure the forage and crushing. The separation of the inner wall of the bin improves the efficiency of crushing.
Description
Claims (10)
Priority Applications (1)
| Application Number | Priority Date | Filing Date | Title |
|---|---|---|---|
| CN201811192564.4A CN109328672B (en) | 2018-10-13 | 2018-10-13 | Forage rubbing crusher for farming and animal husbandry |
Applications Claiming Priority (1)
| Application Number | Priority Date | Filing Date | Title |
|---|---|---|---|
| CN201811192564.4A CN109328672B (en) | 2018-10-13 | 2018-10-13 | Forage rubbing crusher for farming and animal husbandry |
Publications (2)
| Publication Number | Publication Date |
|---|---|
| CN109328672A CN109328672A (en) | 2019-02-15 |
| CN109328672B true CN109328672B (en) | 2021-05-04 |
Family
ID=65309787
Family Applications (1)
| Application Number | Title | Priority Date | Filing Date |
|---|---|---|---|
| CN201811192564.4A Active CN109328672B (en) | 2018-10-13 | 2018-10-13 | Forage rubbing crusher for farming and animal husbandry |
Country Status (1)
| Country | Link |
|---|---|
| CN (1) | CN109328672B (en) |
Families Citing this family (1)
| Publication number | Priority date | Publication date | Assignee | Title |
|---|---|---|---|---|
| CN112243639B (en) * | 2020-10-09 | 2021-09-07 | 安徽灵杨机械装备股份有限公司 | A straw returning planter |
Citations (7)
| Publication number | Priority date | Publication date | Assignee | Title |
|---|---|---|---|---|
| JP3734054B2 (en) * | 1996-09-13 | 2006-01-11 | 株式会社アテックス | Combine disc cutter |
| CN205142956U (en) * | 2015-12-07 | 2016-04-13 | 湖北恒泰羊养殖有限公司 | System is smashed to hu sheep pellet feed raw materials |
| CN206743938U (en) * | 2017-05-12 | 2017-12-15 | 叶育田 | A kind of hand propelled agricultural stalk reducing mechanism |
| CN107497563A (en) * | 2017-09-22 | 2017-12-22 | 安吉高纯蒙脱石有限公司 | A kind of anti-clogging pulverizer |
| CN108112361A (en) * | 2017-12-19 | 2018-06-05 | 林永辉 | Cleaning type agricultural stalk disintegrating apparatus |
| CN108293448A (en) * | 2018-03-30 | 2018-07-20 | 陈浩 | A kind of corn stalk powder crushing device |
| CN207887285U (en) * | 2017-12-26 | 2018-09-21 | 山东卓文节能工程有限公司 | A kind of environment-friendly type building waste material crusher with dust treatment device |
-
2018
- 2018-10-13 CN CN201811192564.4A patent/CN109328672B/en active Active
Patent Citations (7)
| Publication number | Priority date | Publication date | Assignee | Title |
|---|---|---|---|---|
| JP3734054B2 (en) * | 1996-09-13 | 2006-01-11 | 株式会社アテックス | Combine disc cutter |
| CN205142956U (en) * | 2015-12-07 | 2016-04-13 | 湖北恒泰羊养殖有限公司 | System is smashed to hu sheep pellet feed raw materials |
| CN206743938U (en) * | 2017-05-12 | 2017-12-15 | 叶育田 | A kind of hand propelled agricultural stalk reducing mechanism |
| CN107497563A (en) * | 2017-09-22 | 2017-12-22 | 安吉高纯蒙脱石有限公司 | A kind of anti-clogging pulverizer |
| CN108112361A (en) * | 2017-12-19 | 2018-06-05 | 林永辉 | Cleaning type agricultural stalk disintegrating apparatus |
| CN207887285U (en) * | 2017-12-26 | 2018-09-21 | 山东卓文节能工程有限公司 | A kind of environment-friendly type building waste material crusher with dust treatment device |
| CN108293448A (en) * | 2018-03-30 | 2018-07-20 | 陈浩 | A kind of corn stalk powder crushing device |
Also Published As
| Publication number | Publication date |
|---|---|
| CN109328672A (en) | 2019-02-15 |
Similar Documents
| Publication | Publication Date | Title |
|---|---|---|
| CN105993429B (en) | A High Efficiency Straw Crusher | |
| CN104353535A (en) | Multistage combined grinding machine for straws | |
| CN110934000A (en) | Crop straw pulverizer | |
| CN204261772U (en) | A kind of stalk multi-stage combination pulverizer | |
| CN109328672B (en) | Forage rubbing crusher for farming and animal husbandry | |
| CN108934501A (en) | A kind of integrated straw millstone of environmental protection | |
| CN106984395B (en) | Forage grass pulverizer with three pulverizing chambers | |
| CN205495772U (en) | Screening subassembly of surplus fruit vegetables rubbish in kitchen | |
| CN210787496U (en) | Fodder reducing mechanism | |
| CN211612898U (en) | Crushing apparatus is used in chinese-medicinal material production | |
| CN109249505A (en) | A kind of wood grinder | |
| CN204168801U (en) | A kind of stalk crasher | |
| CN212263400U (en) | Device for improving eucommia bark grinding efficiency through large-scale rolling | |
| CN213880987U (en) | Broken straw agitating unit for electricity generation | |
| CN214009809U (en) | Feed production equipment with dry-wet separation structure | |
| CN221360085U (en) | Reducing mechanism is used in pig feed production | |
| CN2788537Y (en) | Cotton stalk harvesting crusher | |
| CN207589560U (en) | A kind of herding feed grinder | |
| CN220443925U (en) | Fodder reducing mechanism | |
| CN218784115U (en) | A crushing device for a feed processing system | |
| CN219844144U (en) | Environment-friendly energy-saving green coarse fodder grinder | |
| CN202232234U (en) | Multifunctional hay cutting machine used for straw chopping | |
| CN222219756U (en) | A double-air hammer self-priming crushing mill | |
| CN221849767U (en) | Plastic grinding pulverizer | |
| CN218460428U (en) | Organic garbage crushing and pulping all-in-one machine |
Legal Events
| Date | Code | Title | Description |
|---|---|---|---|
| PB01 | Publication | ||
| PB01 | Publication | ||
| SE01 | Entry into force of request for substantive examination | ||
| SE01 | Entry into force of request for substantive examination | ||
| TA01 | Transfer of patent application right |
Effective date of registration: 20210407 Address after: Block a, Rongjin Plaza, No.88 Qiliang Road, Danyang Development Zone, Zhenjiang City, Jiangsu Province Applicant after: JIANGSU XINZHONG INTELLECTUAL PROPERTY OPERATION MANAGEMENT Co.,Ltd. Address before: 303, business complex building, 299 Xingzhou South Road, Qiaodong District, Zhengzhou City, Henan Province Applicant before: Gu Jianzhong |
|
| TA01 | Transfer of patent application right | ||
| GR01 | Patent grant | ||
| GR01 | Patent grant | ||
| CP03 | Change of name, title or address |
Address after: 212300 block D2, science and Innovation Park, No. 19, Qiliang Road, Danyang Development Zone, Zhenjiang City, Jiangsu Province Patentee after: Jiangsu Xinzhong Enterprise Management Co.,Ltd. Address before: Block a, Rongjin Plaza, No.88 Qiliang Road, Danyang Development Zone, Zhenjiang City, Jiangsu Province Patentee before: JIANGSU XINZHONG INTELLECTUAL PROPERTY OPERATION MANAGEMENT CO.,LTD. |
|
| CP03 | Change of name, title or address | ||
| TR01 | Transfer of patent right |
Effective date of registration: 20220601 Address after: 252000 room 21302, floor 13, unit 2, building 5, Yingcai community, Haihe Road, Dongcheng Street, Liaocheng Economic and Technological Development Zone, Shandong Province Patentee after: Liaocheng xuanshang Industrial Design Co.,Ltd. Address before: 212300 block D2, science and Innovation Park, No. 19, Qiliang Road, Danyang Development Zone, Zhenjiang City, Jiangsu Province Patentee before: Jiangsu Xinzhong Enterprise Management Co.,Ltd. |
|
| TR01 | Transfer of patent right | ||
| TR01 | Transfer of patent right |
Effective date of registration: 20231220 Address after: 252000 No. 1-383a, zhougonghe farmer's market East, logistics park, Liaocheng Economic and Technological Development Zone, Shandong Province Patentee after: Liaocheng Canghe Agricultural Technology Co.,Ltd. Address before: 252000 room 21302, floor 13, unit 2, building 5, Yingcai community, Haihe Road, Dongcheng Street, Liaocheng Economic and Technological Development Zone, Shandong Province Patentee before: Liaocheng xuanshang Industrial Design Co.,Ltd. |
|
| TR01 | Transfer of patent right | ||
| TR01 | Transfer of patent right |
Effective date of registration: 20250402 Address after: No. 1 Genghai Road, Genghai Village, Shazhen Town, Dongchangfu District, Liaocheng City, Shandong Province, China 252000 Patentee after: Shandong Mufenghe Farm Co.,Ltd. Country or region after: China Address before: 252000 No. 1-383a, zhougonghe farmer's market East, logistics park, Liaocheng Economic and Technological Development Zone, Shandong Province Patentee before: Liaocheng Canghe Agricultural Technology Co.,Ltd. Country or region before: China |
|
| TR01 | Transfer of patent right |
