CN109043903B - A smart drawer with automatic coin separation - Google Patents
A smart drawer with automatic coin separation Download PDFInfo
- Publication number
- CN109043903B CN109043903B CN201810808138.2A CN201810808138A CN109043903B CN 109043903 B CN109043903 B CN 109043903B CN 201810808138 A CN201810808138 A CN 201810808138A CN 109043903 B CN109043903 B CN 109043903B
- Authority
- CN
- China
- Prior art keywords
- bottom plate
- sliding bottom
- plate
- fixed
- outer frame
- Prior art date
- Legal status (The legal status is an assumption and is not a legal conclusion. Google has not performed a legal analysis and makes no representation as to the accuracy of the status listed.)
- Expired - Fee Related
Links
Images
Classifications
-
- A—HUMAN NECESSITIES
- A47—FURNITURE; DOMESTIC ARTICLES OR APPLIANCES; COFFEE MILLS; SPICE MILLS; SUCTION CLEANERS IN GENERAL
- A47B—TABLES; DESKS; OFFICE FURNITURE; CABINETS; DRAWERS; GENERAL DETAILS OF FURNITURE
- A47B88/00—Drawers for tables, cabinets or like furniture; Guides for drawers
- A47B88/40—Sliding drawers; Slides or guides therefor
-
- A—HUMAN NECESSITIES
- A47—FURNITURE; DOMESTIC ARTICLES OR APPLIANCES; COFFEE MILLS; SPICE MILLS; SUCTION CLEANERS IN GENERAL
- A47B—TABLES; DESKS; OFFICE FURNITURE; CABINETS; DRAWERS; GENERAL DETAILS OF FURNITURE
- A47B88/00—Drawers for tables, cabinets or like furniture; Guides for drawers
- A47B88/90—Constructional details of drawers
- A47B88/969—Drawers having means for organising or sorting the content
-
- G—PHYSICS
- G07—CHECKING-DEVICES
- G07D—HANDLING OF COINS OR VALUABLE PAPERS, e.g. TESTING, SORTING BY DENOMINATIONS, COUNTING, DISPENSING, CHANGING OR DEPOSITING
- G07D3/00—Sorting a mixed bulk of coins into denominations
- G07D3/14—Apparatus driven under control of coin-sensing elements
Landscapes
- Physics & Mathematics (AREA)
- General Physics & Mathematics (AREA)
- Control Of Vending Devices And Auxiliary Devices For Vending Devices (AREA)
Abstract
本发明公开了一种带硬币自动分离的智能抽屉,包括抽屉的盒体和外框体,盒体插设在外框体内,盒体的前端面上固定有面板,盒体左前侧内设有若干隔板,隔板分隔盒体左前侧呈第一槽格、第二槽格和第三槽格,第一槽格前侧的外框体上成型有投币口,投币口下方的外框体内壁上固定有前挡板,前挡板抵靠在面板上,前挡板的后侧设有L型的滑动底板,滑动底板抵靠在隔板的上端面上并位于前挡板的下侧,滑动底板靠近外框体的一侧插接在隔板和挡条之间,挡条固定在外框体的内壁上;所述第一槽格、第二槽格和第三槽格的上侧均设有下限位条,下限位条分布在滑动底板的上侧并固定在挡条上;上限位条固定在挡条上。本发明能实现第五套人民币硬币的分选投放到抽屉的槽格内。
The invention discloses an intelligent drawer with automatic coin separation, comprising a drawer box body and an outer frame body, the box body is inserted in the outer frame body, a panel is fixed on the front end surface of the box body, and several Partition, the left front side of the partition box is divided into a first slot, a second slot and a third slot, the outer frame body on the front side of the first slot is formed with a coin slot, and the outer frame below the coin slot is formed. A front baffle is fixed on the inner wall, the front baffle is against the panel, the rear side of the front baffle is provided with an L-shaped sliding bottom plate, and the sliding bottom plate abuts on the upper end surface of the partition and is located under the front baffle. The side of the sliding bottom plate close to the outer frame body is inserted between the partition plate and the blocking bar, and the blocking bar is fixed on the inner wall of the outer frame body; the upper part of the first slot, the second slot and the third slot The sides are provided with lower limit bars, the lower limit bars are distributed on the upper side of the sliding bottom plate and fixed on the stop bars; the upper limit bars are fixed on the stop bars. The invention can realize the sorting and putting of the fifth set of RMB coins into the slots of the drawer.
Description
技术领域:Technical field:
本发明涉及智能家具的技术领域,更具体地说涉及一种带硬币自动分离的智能抽屉。The invention relates to the technical field of smart furniture, and more particularly to a smart drawer with automatic coin separation.
背景技术:Background technique:
抽屉,是目前柜体上重要的组成部分,其用于盛放储存物件。同时办公桌上也常常设置有抽屉。而人们购物时常常会找回一些硬币零钱,如一毛、五毛或一元的硬币,这些硬币携带在身上极不方便,从而就搁置带办公桌的抽屉,其搁置在抽屉内的硬币随抽屉进出会移动到抽屉内各个地方,则当需要往抽屉内找零钱硬币时较为麻烦。The drawer is an important part of the current cabinet, which is used to hold storage objects. At the same time, there are often drawers on the desk. When people go shopping, they often find some coins and change, such as one-cent, fifty-cent or one-yuan coins. These coins are extremely inconvenient to carry on the body, so they are placed in a drawer with a desk, and the coins placed in the drawer will go in and out with the drawer. If it is moved to various places in the drawer, it is more troublesome when it is necessary to find change coins in the drawer.
发明内容:Invention content:
本发明的目的就是针对现有技术之不足,而提供了一种带硬币自动分离的智能抽屉,其能实现第五套人民币硬币的分选投放到抽屉的槽格内。The purpose of the present invention is to address the deficiencies of the prior art, and to provide an intelligent drawer with automatic coin separation, which can realize the sorting of the fifth set of RMB coins and put them into the slots of the drawer.
为实现上述目的,本发明采用的技术方案如下:For achieving the above object, the technical scheme adopted in the present invention is as follows:
一种带硬币自动分离的智能抽屉,包括抽屉的盒体和外框体,盒体插设在外框体内,盒体的前端面上固定有面板,盒体左前侧内设有若干隔板,隔板分隔盒体左前侧呈第一槽格、第二槽格和第三槽格,第一槽格前侧的外框体上成型有投币口,投币口下方的外框体内壁上固定有前挡板,前挡板抵靠在面板上,前挡板的后侧设有L型的滑动底板,滑动底板抵靠在隔板的上端面上并位于前挡板的下侧,滑动底板靠近外框体的一侧插接在隔板和挡条之间,挡条固定在外框体的内壁上;所述第一槽格、第二槽格和第三槽格的上侧均设有下限位条,下限位条分布在滑动底板的上侧并固定在挡条上;第二槽格的上侧设有上限位条,上限位条固定在挡条上;An intelligent drawer with automatic coin separation, comprising a drawer box body and an outer frame body, the box body is inserted in the outer frame body, a panel is fixed on the front end surface of the box body, and a number of partitions are arranged in the left front side of the box body to separate the The left front side of the board partition box is a first slot, a second slot and a third slot, the outer frame body on the front side of the first slot is formed with a coin slot, and the inner wall of the outer frame below the coin slot is fixed on the inner wall There is a front baffle, the front baffle abuts on the panel, the rear side of the front baffle is provided with an L-shaped sliding bottom plate, the sliding bottom plate abuts on the upper end surface of the partition plate and is located on the lower side of the front baffle, and the sliding bottom plate The side close to the outer frame body is inserted between the partition plate and the blocking bar, and the blocking bar is fixed on the inner wall of the outer frame body; the upper sides of the first slot, the second slot and the third slot are all provided with The lower limit bar is distributed on the upper side of the sliding bottom plate and fixed on the stop bar; the upper side of the second slot is provided with an upper limit bar, and the upper limit bar is fixed on the stop bar;
所述滑动底板的上端面固定有磁钢板,磁钢板的上端面上固定有若干电磁铁,上限位条和磁钢板之间设有间隙;所述挡条后侧的外框体内壁上固定有后挡板,后挡板分布在隔板的后侧,滑动底板的外侧壁上成型有支耳,支耳上螺接有丝杠,丝杠的两端分别铰接在前挡板和后挡板上,后挡板上固定连接有电机,电机的转轴和丝杠相固接。A magnetic steel plate is fixed on the upper end surface of the sliding bottom plate, a number of electromagnets are fixed on the upper end surface of the magnetic steel plate, and a gap is arranged between the upper limit bar and the magnetic steel plate; The rear baffle, the rear baffle is distributed on the rear side of the partition, the outer side wall of the sliding bottom plate is formed with a support lug, and the support lug is screwed with a lead screw, and the two ends of the lead screw are hinged on the front baffle and the rear baffle respectively. A motor is fixedly connected to the rear baffle, and the rotating shaft of the motor is fixedly connected with the lead screw.
优选的,所述隔板的上端面和盒体的上端面在同一平面内,滑动底板由水平板和竖直板组成。前挡板和盒体上端面之间的间距等于滑动底板水平板的厚度。Preferably, the upper end surface of the partition plate and the upper end surface of the box body are in the same plane, and the sliding bottom plate is composed of a horizontal plate and a vertical plate. The distance between the front baffle and the upper end face of the box body is equal to the thickness of the horizontal plate of the sliding bottom plate.
优选的,所述下限位条的下端面和滑动底板水平板的上端面在同一平面内,滑动底板竖直板内侧壁至挡条的距离等于下限位条的长度。Preferably, the lower end surface of the lower limit bar and the upper end surface of the horizontal plate of the sliding bottom plate are in the same plane, and the distance from the inner side wall of the vertical plate of the sliding bottom plate to the stop bar is equal to the length of the lower limit bar.
优选的,所述挡条和盒体上端面之间的间距等于滑动底板水平板的厚度。Preferably, the distance between the blocking bar and the upper end face of the box body is equal to the thickness of the horizontal plate of the sliding bottom plate.
优选的,所述上限位条和磁钢板之间的间距小于人民币一元硬币的厚度,上限位条和磁钢板之间的间距大于人民币一角硬币的厚度。Preferably, the distance between the upper limit bar and the magnetic steel plate is less than the thickness of a one-yuan coin, and the distance between the upper limit bar and the magnetic steel plate is greater than the thickness of a one-yuan coin.
优选的,所述磁钢板的前端面分布在滑动底板前端面的后侧,前挡板上成型有与滑动底板竖直板相对的插槽。Preferably, the front end surface of the magnetic steel plate is distributed on the rear side of the front end surface of the sliding bottom plate, and a slot opposite to the vertical plate of the sliding bottom plate is formed on the front baffle plate.
优选的,所述面板的前端面上固定有把手。Preferably, a handle is fixed on the front end surface of the panel.
本发明的有益效果在于:器能实现第五套人民币硬币的分选投放到抽屉的槽格内。The beneficial effect of the invention is that the device can realize the sorting and putting of the fifth set of RMB coins into the slots of the drawer.
附图说明:Description of drawings:
图1为本发明立体的结构示意图;Fig. 1 is the three-dimensional structural representation of the present invention;
图2为本发明局部剖视的立体结构示意图;Fig. 2 is the three-dimensional structure schematic diagram of the partial cross-section of the present invention;
图3为本发明侧视方向的剖视结构示意图;Fig. 3 is the sectional structure schematic diagram of the side view direction of the present invention;
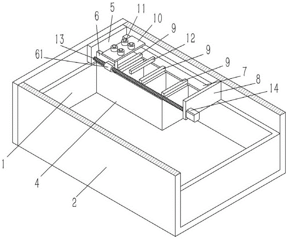
图中:1、盒体;2、外框体;21、投币口;3、面板;4、隔板;5、前挡板;6、滑动底板;61、支耳;7、挡条;8、后挡板;9、下限位条;10、磁钢板;11、电磁铁;12、上限位条;13、丝杠;14、电机;15、把手;a、第一槽格;b、第二槽格;c、第三槽格。In the figure: 1, box body; 2, outer frame body; 21, coin slot; 3, panel; 4, partition plate; 5, front baffle; 6, sliding bottom plate; 8. tailgate; 9. lower limit bar; 10, magnetic steel plate; 11, electromagnet; 12, upper limit bar; 13, lead screw; 14, motor; 15, handle; a, the first slot; b, The second slot; c, the third slot.
具体实施方式:Detailed ways:
实施例:见图1至3所示,一种带硬币自动分离的智能抽屉,包括抽屉的盒体1和外框体2,盒体1插设在外框体2内,盒体1的前端面上固定有面板3,盒体1左前侧内设有若干隔板4,隔板4分隔盒体1左前侧呈第一槽格a、第二槽格b和第三槽格c,第一槽格a前侧的外框体2上成型有投币口21,投币口21下方的外框体2内壁上固定有前挡板5,前挡板5抵靠在面板3上,前挡板5的后侧设有L型的滑动底板6,滑动底板6抵靠在隔板4的上端面上并位于前挡板5的下侧,滑动底板6靠近外框体2的一侧插接在隔板4和挡条7之间,挡条7固定在外框体2的内壁上;所述第一槽格a、第二槽格b和第三槽格c的上侧均设有下限位条9,下限位条9分布在滑动底板6的上侧并固定在挡条7上;第二槽格b的上侧设有上限位条12,上限位条12固定在挡条7上;Example: As shown in Figures 1 to 3, a smart drawer with automatic coin separation includes a
所述滑动底板6的上端面固定有磁钢板10,磁钢板10的上端面上固定有若干电磁铁11,上限位条12和磁钢板10之间设有间隙;所述挡条7后侧的外框体2内壁上固定有后挡板8,后挡板8分布在隔板4的后侧,滑动底板6的外侧壁上成型有支耳61,支耳61上螺接有丝杠13,丝杠13的两端分别铰接在前挡板5和后挡板8上,后挡板8上固定连接有电机14,电机14的转轴和丝杠13相固接。A
优选的,所述隔板4的上端面和盒体1的上端面在同一平面内,滑动底板6由水平板和竖直板组成。前挡板5和盒体1上端面之间的间距等于滑动底板6水平板的厚度。Preferably, the upper end surface of the
优选的,所述下限位条9的下端面和滑动底板6水平板的上端面在同一平面内,滑动底板6竖直板内侧壁至挡条7的距离等于下限位条9的长度。Preferably, the lower end surface of the
优选的,所述挡条7和盒体1上端面之间的间距等于滑动底板6水平板的厚度。Preferably, the distance between the
优选的,所述上限位条12和磁钢板10之间的间距小于人民币一元硬币的厚度,上限位条12和磁钢板10之间的间距大于人民币一角硬币的厚度。Preferably, the distance between the
优选的,所述磁钢板10的前端面分布在滑动底板6前端面的后侧,前挡板5上成型有与滑动底板6竖直板相对的插槽。Preferably, the front end surface of the
优选的,所述面板3的前端面上固定有把手15。Preferably, a
工作原理:本发明为一种带硬币自动分离的智能抽屉,其可以从外框体2的投币口21内投入硬币,然后其电机14驱动滑动底板6向前移动,再开启电磁铁11,则一角和一元的硬币会被电磁铁11吸持在磁钢板10上,五角的硬币安置在滑动底板6上;然后驱动电机14,实现滑动底板6向后移动,移动过程中,五角的硬币为第一槽格a上侧的下限位条9所阻挡,落入第一槽格a内;Working principle: The present invention is a smart drawer with automatic coin separation, which can put coins into the
继续移动中,其一元的硬币移动过程为上限位条12所阻挡,落在滑动底板6,接着为第二槽格b上的下限位条9所阻挡,落入第二槽格b内,当滑动底板6移动到第三槽格c上侧时,电磁铁11关闭,则一角的硬币落到滑动底板6上,接着移动过程中,其为第三槽格c上的下限位条9所阻挡,则接着移动过程中,其落入第三槽格c内。During the continuous movement, the moving process of the one-dollar coin is blocked by the
所述实施例用以例示性说明本发明,而非用于限制本发明。任何本领域技术人员均可在不违背本发明的精神及范畴下,对所述实施例进行修改,因此本发明的权利保护范围,应如本发明的权利要求所列。The examples are used to illustrate the invention, but not to limit the invention. Any person skilled in the art can make modifications to the embodiments without departing from the spirit and scope of the present invention. Therefore, the protection scope of the present invention should be as listed in the claims of the present invention.
Claims (7)
Priority Applications (1)
| Application Number | Priority Date | Filing Date | Title |
|---|---|---|---|
| CN201810808138.2A CN109043903B (en) | 2018-07-22 | 2018-07-22 | A smart drawer with automatic coin separation |
Applications Claiming Priority (1)
| Application Number | Priority Date | Filing Date | Title |
|---|---|---|---|
| CN201810808138.2A CN109043903B (en) | 2018-07-22 | 2018-07-22 | A smart drawer with automatic coin separation |
Publications (2)
| Publication Number | Publication Date |
|---|---|
| CN109043903A CN109043903A (en) | 2018-12-21 |
| CN109043903B true CN109043903B (en) | 2020-11-27 |
Family
ID=64835094
Family Applications (1)
| Application Number | Title | Priority Date | Filing Date |
|---|---|---|---|
| CN201810808138.2A Expired - Fee Related CN109043903B (en) | 2018-07-22 | 2018-07-22 | A smart drawer with automatic coin separation |
Country Status (1)
| Country | Link |
|---|---|
| CN (1) | CN109043903B (en) |
Family Cites Families (7)
| Publication number | Priority date | Publication date | Assignee | Title |
|---|---|---|---|---|
| FR2528598A1 (en) * | 1982-06-14 | 1983-12-16 | Vandeputte Fils & Cie | Coin sorting machine - uses first belt to carry coins to underside of magnetised belt to which magnetic coins adhere |
| JP6308670B2 (en) * | 2014-08-05 | 2018-04-11 | ローレル機械株式会社 | Bar metal storage device |
| CN205080642U (en) * | 2015-09-25 | 2016-03-09 | 上海造币有限公司 | Coin magnetism sorting device |
| CN105962663B (en) * | 2016-05-11 | 2018-03-16 | 江西团团圆家具有限公司 | A kind of intelligent drawer |
| CN106056740B (en) * | 2016-07-13 | 2018-12-21 | 厦门大学嘉庚学院 | Multilayer conical surface Coin sorting is checked and packaging integrated machine and its working method |
| CN206961214U (en) * | 2017-07-27 | 2018-02-02 | 广东德尚智能科技有限公司 | A kind of Coin-sorting-counting machine |
| CN107527416B (en) * | 2017-09-04 | 2019-11-12 | 辽宁石油化工大学 | A sorting and counting device for coins |
-
2018
- 2018-07-22 CN CN201810808138.2A patent/CN109043903B/en not_active Expired - Fee Related
Also Published As
| Publication number | Publication date |
|---|---|
| CN109043903A (en) | 2018-12-21 |
Similar Documents
| Publication | Publication Date | Title |
|---|---|---|
| CN103976572A (en) | Multifunctional wardrobe convenient to use | |
| CN206275395U (en) | A kind of Liftable bookshelf | |
| CN109043903B (en) | A smart drawer with automatic coin separation | |
| CN108968403A (en) | Book arrangement structure on intelligent bookcase | |
| CN210043619U (en) | Island cabinet structure in multi-functional pull formula glass display | |
| CN209883471U (en) | An item cashier management device | |
| CN211511007U (en) | Classification device for file management | |
| CN204499931U (en) | A kind of shoe chest | |
| CN204146622U (en) | There is the wardrobe of flush door structure | |
| CN105962663B (en) | A kind of intelligent drawer | |
| CN207411830U (en) | A kind of finance economy class grouping of data frame | |
| CN105559368A (en) | Novel wardrobe | |
| CN212980761U (en) | Cosmetics storage box is used in life | |
| CN209090307U (en) | A kind of office bookcase for capableing of multiple classification | |
| CN203353995U (en) | Shoe cabinet | |
| CN216388232U (en) | Automatic change express delivery cabinet | |
| CN208403682U (en) | A kind of accounting document storage cabinet | |
| CN206596846U (en) | Combine desk | |
| CN215776588U (en) | Dining cabinet with good hiding performance | |
| CN223262595U (en) | Storage bed backs and storage beds | |
| CN206006533U (en) | A kind of Storage Cabinets | |
| CN221730064U (en) | A file storage cabinet that is easy to classify and place | |
| CN205493173U (en) | Combination formula bedroom built -in cupboard for interior decoration | |
| CN216723990U (en) | Hanging tobacco selling rack | |
| CN214548160U (en) | File storage rack for travel arrangement |
Legal Events
| Date | Code | Title | Description |
|---|---|---|---|
| PB01 | Publication | ||
| PB01 | Publication | ||
| SE01 | Entry into force of request for substantive examination | ||
| SE01 | Entry into force of request for substantive examination | ||
| TA01 | Transfer of patent application right |
Effective date of registration: 20191009 Address after: 523000 room 06, Room 203, building 1, No. 5, Songshan Lake section, Songshan Lake Avenue, Songshan Lake Park, Dongguan City, Guangdong Province Applicant after: Dongguan Jinyue Information Technology Co.,Ltd. Address before: 523000 Guangdong province Dongguan City Songshan Lake high tech Industrial Zone Building 406 industrial development productivity Applicant before: Dongguan Lianzhou Intellectual Property Operation Management Co.,Ltd. |
|
| TA01 | Transfer of patent application right | ||
| TA01 | Transfer of patent application right |
Effective date of registration: 20201020 Address after: No.567, Xiwei, Dongyuan village, Dongyuan Town, Taiwan investment zone, Quanzhou City, Fujian Province Applicant after: Kele Technology Co.,Ltd. Address before: 523000 room 06, Room 203, building 1, No. 5, Songshan Lake section, Songshan Lake Avenue, Songshan Lake Park, Dongguan City, Guangdong Province Applicant before: Dongguan Jinyue Information Technology Co.,Ltd. |
|
| TA01 | Transfer of patent application right | ||
| GR01 | Patent grant | ||
| GR01 | Patent grant | ||
| CF01 | Termination of patent right due to non-payment of annual fee |
Granted publication date: 20201127 |
|
| CF01 | Termination of patent right due to non-payment of annual fee |
