CN108136397B - 确定血液样品中的分析物的量的方法以及医疗系统 - Google Patents
确定血液样品中的分析物的量的方法以及医疗系统 Download PDFInfo
- Publication number
- CN108136397B CN108136397B CN201680062895.9A CN201680062895A CN108136397B CN 108136397 B CN108136397 B CN 108136397B CN 201680062895 A CN201680062895 A CN 201680062895A CN 108136397 B CN108136397 B CN 108136397B
- Authority
- CN
- China
- Prior art keywords
- chamber
- cassette
- analyte
- rotation
- fluid
- Prior art date
- Legal status (The legal status is an assumption and is not a legal conclusion. Google has not performed a legal analysis and makes no representation as to the accuracy of the status listed.)
- Active
Links
Images
Classifications
-
- B—PERFORMING OPERATIONS; TRANSPORTING
- B01—PHYSICAL OR CHEMICAL PROCESSES OR APPARATUS IN GENERAL
- B01L—CHEMICAL OR PHYSICAL LABORATORY APPARATUS FOR GENERAL USE
- B01L3/00—Containers or dishes for laboratory use, e.g. laboratory glassware; Droppers
- B01L3/50—Containers for the purpose of retaining a material to be analysed, e.g. test tubes
- B01L3/502—Containers for the purpose of retaining a material to be analysed, e.g. test tubes with fluid transport, e.g. in multi-compartment structures
- B01L3/5023—Containers for the purpose of retaining a material to be analysed, e.g. test tubes with fluid transport, e.g. in multi-compartment structures with a sample being transported to, and subsequently stored in an absorbent for analysis
-
- B—PERFORMING OPERATIONS; TRANSPORTING
- B01—PHYSICAL OR CHEMICAL PROCESSES OR APPARATUS IN GENERAL
- B01L—CHEMICAL OR PHYSICAL LABORATORY APPARATUS FOR GENERAL USE
- B01L3/00—Containers or dishes for laboratory use, e.g. laboratory glassware; Droppers
- B01L3/50—Containers for the purpose of retaining a material to be analysed, e.g. test tubes
- B01L3/502—Containers for the purpose of retaining a material to be analysed, e.g. test tubes with fluid transport, e.g. in multi-compartment structures
- B01L3/5027—Containers for the purpose of retaining a material to be analysed, e.g. test tubes with fluid transport, e.g. in multi-compartment structures by integrated microfluidic structures, i.e. dimensions of channels and chambers are such that surface tension forces are important, e.g. lab-on-a-chip
- B01L3/502738—Containers for the purpose of retaining a material to be analysed, e.g. test tubes with fluid transport, e.g. in multi-compartment structures by integrated microfluidic structures, i.e. dimensions of channels and chambers are such that surface tension forces are important, e.g. lab-on-a-chip characterised by integrated valves
-
- B—PERFORMING OPERATIONS; TRANSPORTING
- B01—PHYSICAL OR CHEMICAL PROCESSES OR APPARATUS IN GENERAL
- B01L—CHEMICAL OR PHYSICAL LABORATORY APPARATUS FOR GENERAL USE
- B01L3/00—Containers or dishes for laboratory use, e.g. laboratory glassware; Droppers
- B01L3/50—Containers for the purpose of retaining a material to be analysed, e.g. test tubes
- B01L3/502—Containers for the purpose of retaining a material to be analysed, e.g. test tubes with fluid transport, e.g. in multi-compartment structures
- B01L3/5027—Containers for the purpose of retaining a material to be analysed, e.g. test tubes with fluid transport, e.g. in multi-compartment structures by integrated microfluidic structures, i.e. dimensions of channels and chambers are such that surface tension forces are important, e.g. lab-on-a-chip
- B01L3/502753—Containers for the purpose of retaining a material to be analysed, e.g. test tubes with fluid transport, e.g. in multi-compartment structures by integrated microfluidic structures, i.e. dimensions of channels and chambers are such that surface tension forces are important, e.g. lab-on-a-chip characterised by bulk separation arrangements on lab-on-a-chip devices, e.g. for filtration or centrifugation
-
- G—PHYSICS
- G01—MEASURING; TESTING
- G01N—INVESTIGATING OR ANALYSING MATERIALS BY DETERMINING THEIR CHEMICAL OR PHYSICAL PROPERTIES
- G01N35/00—Automatic analysis not limited to methods or materials provided for in any single one of groups G01N1/00 - G01N33/00; Handling materials therefor
- G01N35/00029—Automatic analysis not limited to methods or materials provided for in any single one of groups G01N1/00 - G01N33/00; Handling materials therefor provided with flat sample substrates, e.g. slides
- G01N35/00069—Automatic analysis not limited to methods or materials provided for in any single one of groups G01N1/00 - G01N33/00; Handling materials therefor provided with flat sample substrates, e.g. slides whereby the sample substrate is of the bio-disk type, i.e. having the format of an optical disk
-
- B—PERFORMING OPERATIONS; TRANSPORTING
- B01—PHYSICAL OR CHEMICAL PROCESSES OR APPARATUS IN GENERAL
- B01L—CHEMICAL OR PHYSICAL LABORATORY APPARATUS FOR GENERAL USE
- B01L2200/00—Solutions for specific problems relating to chemical or physical laboratory apparatus
- B01L2200/06—Fluid handling related problems
- B01L2200/0605—Metering of fluids
-
- B—PERFORMING OPERATIONS; TRANSPORTING
- B01—PHYSICAL OR CHEMICAL PROCESSES OR APPARATUS IN GENERAL
- B01L—CHEMICAL OR PHYSICAL LABORATORY APPARATUS FOR GENERAL USE
- B01L2200/00—Solutions for specific problems relating to chemical or physical laboratory apparatus
- B01L2200/16—Reagents, handling or storing thereof
-
- B—PERFORMING OPERATIONS; TRANSPORTING
- B01—PHYSICAL OR CHEMICAL PROCESSES OR APPARATUS IN GENERAL
- B01L—CHEMICAL OR PHYSICAL LABORATORY APPARATUS FOR GENERAL USE
- B01L2300/00—Additional constructional details
- B01L2300/06—Auxiliary integrated devices, integrated components
- B01L2300/0627—Sensor or part of a sensor is integrated
-
- B—PERFORMING OPERATIONS; TRANSPORTING
- B01—PHYSICAL OR CHEMICAL PROCESSES OR APPARATUS IN GENERAL
- B01L—CHEMICAL OR PHYSICAL LABORATORY APPARATUS FOR GENERAL USE
- B01L2300/00—Additional constructional details
- B01L2300/08—Geometry, shape and general structure
- B01L2300/0803—Disc shape
-
- B—PERFORMING OPERATIONS; TRANSPORTING
- B01—PHYSICAL OR CHEMICAL PROCESSES OR APPARATUS IN GENERAL
- B01L—CHEMICAL OR PHYSICAL LABORATORY APPARATUS FOR GENERAL USE
- B01L2300/00—Additional constructional details
- B01L2300/08—Geometry, shape and general structure
- B01L2300/0861—Configuration of multiple channels and/or chambers in a single devices
- B01L2300/0864—Configuration of multiple channels and/or chambers in a single devices comprising only one inlet and multiple receiving wells, e.g. for separation, splitting
-
- B—PERFORMING OPERATIONS; TRANSPORTING
- B01—PHYSICAL OR CHEMICAL PROCESSES OR APPARATUS IN GENERAL
- B01L—CHEMICAL OR PHYSICAL LABORATORY APPARATUS FOR GENERAL USE
- B01L2300/00—Additional constructional details
- B01L2300/08—Geometry, shape and general structure
- B01L2300/0861—Configuration of multiple channels and/or chambers in a single devices
- B01L2300/0867—Multiple inlets and one sample wells, e.g. mixing, dilution
-
- B—PERFORMING OPERATIONS; TRANSPORTING
- B01—PHYSICAL OR CHEMICAL PROCESSES OR APPARATUS IN GENERAL
- B01L—CHEMICAL OR PHYSICAL LABORATORY APPARATUS FOR GENERAL USE
- B01L2300/00—Additional constructional details
- B01L2300/08—Geometry, shape and general structure
- B01L2300/0861—Configuration of multiple channels and/or chambers in a single devices
- B01L2300/087—Multiple sequential chambers
-
- B—PERFORMING OPERATIONS; TRANSPORTING
- B01—PHYSICAL OR CHEMICAL PROCESSES OR APPARATUS IN GENERAL
- B01L—CHEMICAL OR PHYSICAL LABORATORY APPARATUS FOR GENERAL USE
- B01L2400/00—Moving or stopping fluids
- B01L2400/04—Moving fluids with specific forces or mechanical means
- B01L2400/0403—Moving fluids with specific forces or mechanical means specific forces
- B01L2400/0406—Moving fluids with specific forces or mechanical means specific forces capillary forces
-
- B—PERFORMING OPERATIONS; TRANSPORTING
- B01—PHYSICAL OR CHEMICAL PROCESSES OR APPARATUS IN GENERAL
- B01L—CHEMICAL OR PHYSICAL LABORATORY APPARATUS FOR GENERAL USE
- B01L2400/00—Moving or stopping fluids
- B01L2400/04—Moving fluids with specific forces or mechanical means
- B01L2400/0403—Moving fluids with specific forces or mechanical means specific forces
- B01L2400/0409—Moving fluids with specific forces or mechanical means specific forces centrifugal forces
-
- B—PERFORMING OPERATIONS; TRANSPORTING
- B01—PHYSICAL OR CHEMICAL PROCESSES OR APPARATUS IN GENERAL
- B01L—CHEMICAL OR PHYSICAL LABORATORY APPARATUS FOR GENERAL USE
- B01L2400/00—Moving or stopping fluids
- B01L2400/06—Valves, specific forms thereof
- B01L2400/0688—Valves, specific forms thereof surface tension valves, capillary stop, capillary break
-
- B—PERFORMING OPERATIONS; TRANSPORTING
- B01—PHYSICAL OR CHEMICAL PROCESSES OR APPARATUS IN GENERAL
- B01L—CHEMICAL OR PHYSICAL LABORATORY APPARATUS FOR GENERAL USE
- B01L2400/00—Moving or stopping fluids
- B01L2400/08—Regulating or influencing the flow resistance
- B01L2400/084—Passive control of flow resistance
-
- B—PERFORMING OPERATIONS; TRANSPORTING
- B01—PHYSICAL OR CHEMICAL PROCESSES OR APPARATUS IN GENERAL
- B01L—CHEMICAL OR PHYSICAL LABORATORY APPARATUS FOR GENERAL USE
- B01L3/00—Containers or dishes for laboratory use, e.g. laboratory glassware; Droppers
- B01L3/50—Containers for the purpose of retaining a material to be analysed, e.g. test tubes
- B01L3/502—Containers for the purpose of retaining a material to be analysed, e.g. test tubes with fluid transport, e.g. in multi-compartment structures
- B01L3/5027—Containers for the purpose of retaining a material to be analysed, e.g. test tubes with fluid transport, e.g. in multi-compartment structures by integrated microfluidic structures, i.e. dimensions of channels and chambers are such that surface tension forces are important, e.g. lab-on-a-chip
- B01L3/502715—Containers for the purpose of retaining a material to be analysed, e.g. test tubes with fluid transport, e.g. in multi-compartment structures by integrated microfluidic structures, i.e. dimensions of channels and chambers are such that surface tension forces are important, e.g. lab-on-a-chip characterised by interfacing components, e.g. fluidic, electrical, optical or mechanical interfaces
-
- B—PERFORMING OPERATIONS; TRANSPORTING
- B01—PHYSICAL OR CHEMICAL PROCESSES OR APPARATUS IN GENERAL
- B01L—CHEMICAL OR PHYSICAL LABORATORY APPARATUS FOR GENERAL USE
- B01L3/00—Containers or dishes for laboratory use, e.g. laboratory glassware; Droppers
- B01L3/50—Containers for the purpose of retaining a material to be analysed, e.g. test tubes
- B01L3/502—Containers for the purpose of retaining a material to be analysed, e.g. test tubes with fluid transport, e.g. in multi-compartment structures
- B01L3/5027—Containers for the purpose of retaining a material to be analysed, e.g. test tubes with fluid transport, e.g. in multi-compartment structures by integrated microfluidic structures, i.e. dimensions of channels and chambers are such that surface tension forces are important, e.g. lab-on-a-chip
- B01L3/50273—Containers for the purpose of retaining a material to be analysed, e.g. test tubes with fluid transport, e.g. in multi-compartment structures by integrated microfluidic structures, i.e. dimensions of channels and chambers are such that surface tension forces are important, e.g. lab-on-a-chip characterised by the means or forces applied to move the fluids
-
- G—PHYSICS
- G01—MEASURING; TESTING
- G01N—INVESTIGATING OR ANALYSING MATERIALS BY DETERMINING THEIR CHEMICAL OR PHYSICAL PROPERTIES
- G01N35/00—Automatic analysis not limited to methods or materials provided for in any single one of groups G01N1/00 - G01N33/00; Handling materials therefor
- G01N35/10—Devices for transferring samples or any liquids to, in, or from, the analysis apparatus, e.g. suction devices, injection devices
- G01N2035/1027—General features of the devices
- G01N2035/1032—Dilution or aliquotting
Landscapes
- Chemical & Material Sciences (AREA)
- Health & Medical Sciences (AREA)
- Analytical Chemistry (AREA)
- General Health & Medical Sciences (AREA)
- Hematology (AREA)
- Clinical Laboratory Science (AREA)
- Chemical Kinetics & Catalysis (AREA)
- Life Sciences & Earth Sciences (AREA)
- Dispersion Chemistry (AREA)
- Molecular Biology (AREA)
- Physics & Mathematics (AREA)
- General Physics & Mathematics (AREA)
- Immunology (AREA)
- Pathology (AREA)
- Biochemistry (AREA)
- Automatic Analysis And Handling Materials Therefor (AREA)
- Investigating Or Analysing Biological Materials (AREA)
Abstract
本发明提供一种用于使用套盒(100)来确定血液样品(600)中的分析物(602、602’)的量的医疗系统(700)。医疗仪器包括套盒。套盒可操作以绕旋转轴线(102)回转,其中,套盒包括:入口(108),所述入口(108)用于接收血液样品;血液分离腔室(118),所述血液分离腔室(118)用于使血浆与血液样品分离,其中,所述血液分离腔室流体连接到入口;处理腔室(124),所述处理腔室(124)包含包括至少一种特定型结合配偶体(611)的至少一种试剂,所述至少一种特定型结合配偶体(611)能够操作以结合到分析物从而形成至少一种分析物特定型结合配偶体复合物;第一阀结构(122),所述第一阀结构(122)将血液分离腔室连接到处理腔室;测量结构(130),所述测量结构(130)用于实现对分析物的量的测量,其中,所述测量结构包括色谱分析膜(134),其中,所述色谱分析膜包括用于直接或间接地结合分析物或至少一种分析物特定型结合配偶体复合物的固定化结合配偶体(620),其中,所述测量结构还包括吸收体结构(132),其中,所述吸收体结构比膜更靠近旋转轴线;第二阀结构(128),所述第二阀结构(128)将处理腔室连接到测量结构;以及流体腔室(136、136’),所述流体腔室(136、136’)填充有洗涤缓冲液(1202),其中,所述流体腔室流体连接到测量结构,其中,密封部将洗涤缓冲液保持在所述流体腔室内。
Description
技术领域
本发明涉及用于生物样品的分析测试装置,特别地涉及用于执行对血液样品的测量的可旋转套盒的设计和使用。
背景技术
两类分析系统在医学分析的领域中是已知的:湿分析系统和干化学分析系统。基本上使用“湿试剂”(液体试剂)操作的湿分析系统经由许多个所需步骤来执行分析,这些步骤为诸如例如将样品和试剂提供到试剂容器中、在试剂容器中将样品和试剂混合在一起、以及针对测量变量特性来测量并分析混合物以提供期望的分析结果(分析结果)。此类步骤常常使用技术上复杂、大型、在线操作(line-operated)分析仪器来执行,这些分析仪器允许参与元件做多种多样的移动。通常在大型医学分析实验室中使用这类分析系统。
另一方面,干化学分析系统使用“干试剂”来操作,例如,所述干试剂通常集成在测试元件中并实施为“测试条”。当使用这些干化学分析系统时,液体样品溶解测试元件中的试剂,并且样品与所溶解的试剂发生的反应导致测量变量的变化,这可以在测试元件自身上测量。首先,光学可分析(特别地,比色)分析系统在这类中是典型的,其中测量变量是颜色改变或其他光学可测量变量。电化学系统在这类中也是典型的,其中可以在测试元件的测量区中使用提供在该测量区中的电极来测量用于分析的电测量变量特性(特别地,在施加所限定的电压时的电流)。
干化学分析系统的分析仪器通常是紧凑的,并且这些分析仪器中一些是便携式和电池操作的。所述系统用于分散式分析(也称为照护定点检测(point-od-care testing)),例如在住院医生处、在医院病房上和在由患者自身监控医学分析参数(特别地,由华法林(warfarin)患者通过糖尿病或凝血状态的血糖分析)期间的在所谓的“家庭监控”中。
在湿分析系统中,高性能分析仪器允许执行更加复杂的多步反应序列(“测试协议”)。例如,免疫化学分析常常需要多步反应序列,其中“结合/游离分离”(下文称为“b/f分离”)、即,结合相与游离相的分离是必要的。根据一项测试协议,例如,可首先使样品接触用于分析物的特定的结合试剂,所述结合试剂被固定化到表面上。这可以例如通过使样品与包括具有此类固定化试剂的表面的珠状物混合或经由表面或通过多孔基质运送样品来实现,其中,这些表面或多孔基质包括固定化试剂的涂层。随后,可以以类似的方式使标记试剂接触这个表面,以标记结合分析物并允许对其进行检测。为实现更精确的分析,经常执行随后的洗涤步骤,其中未结合的标记试剂被至少部分地去除。已知用于确定多种多样的分析物的众多测试协议,这些分析物以多种多样的方式相异但其共享以下特征:它们需要具有多个反应步骤的复杂处理,特别地b/f分离有可能也是必要的。
测试条和类似的分析元件通常不允许受控的多步反应序列。与测试条类似的测试元件是已知的,所述测试元件除了供应呈干的形式的试剂之外还允许实现另外的功能(诸如,将红血细胞与全血分离)。然而,它们通常不允许精确控制各个反应步骤的时间序列。湿化学实验室系统提供这些能力,但对于许多应用而言太大、太昂贵且操纵起来太复杂。
为缩小这些差距,使用测试元件来操作的分析系统得到推荐,所述测试元件被实施成使得在其中发生至少一个受外部控制(即,使用在测试元件自身外部的元件)的液体运送步骤(“可控测试元件”)。外部控制可以基于压力差(过压或低压)的施加或力作用的改变(例如,由于测试元件的姿态变化或由于加速力所造成的重力作用方向的改变)。外部控制可以通过离心力来执行,所述离心力根据旋转速度来作用在旋转的测试元件上。
具有可控测试元件的分析系统是已知的,并且通常具有:外壳,其包括尺寸稳定的塑料材料;以及由外壳围住的样品分析通道,其常常包括一系列多个通道区段和位于其之间的与通道区段相比扩展的腔室。通过塑料零件的仿形加工来限定样品分析通道(具有其通道区段和腔室)的结构。该仿形加工能够通过注射模制技术或热冲压来产生。然而,近来,已越来越多地使用通过光刻法(lithography methods)产生的微结构。
具有可控测试元件的分析系统允许对仅能使用大型实验室系统来执行的测试小型化。另外,它们允许通过反复应用相同的结构以对来自一个样品的类似分析和/或来自不同样品的相同分析做并行处理来使程序并行化。另外的优点是,测试元件通常可以使用已确立的生产方法来生产,并且它们也能够使用已知的分析方法来测量和分析。在此类测试元件的化学和生化组分中也能够采用已知的方法和产品。
尽管有这些优点,仍然还需要改进。特别地,使用可控测试元件操作的分析系统仍然太大。对于许多预期的应用而言,可能的最紧凑尺寸具有重大的实践意义。
美国专利申请US 2009/0191643 A1描述了一种测试元件和在其帮助下用于检测分析物的方法。所述测试元件呈基本盘状且扁平,并且可以绕优选地中心轴线旋转,所述中心轴线垂直于盘状测试元件的平面。测试元件具有以下各者:样品施加开口,其用于施加液体样品;毛细有效区,特别是多孔、吸收体基质,其具有远离轴线的第一端和靠近轴线的第二端;以及样品通道,其从靠近轴线的区域延伸到毛细有效区的远离轴线的第一端。
美国专利申请US 8,759,081 B2公开了用于对流体样品的光学分析的测试元件、分析系统和方法。测试元件具有衬底和微流体通道结构,所述微流体通道结构用衬底和覆盖层围住。通道结构具有带入口开口的测量腔室。测试元件具有:第一水平面,其面向覆盖层;以及第二水平面,其与第一水平面互连,使得第一水平面定位在覆盖层与第二水平面之间。测量腔室的延伸穿过第一水平面的部分形成测量区,其与测量腔室的部分地延伸到第二水平面中的部分连接,从而形成混合区。通过平行于覆盖层被导引穿过第一水平面的光来实施对流体样品的光学分析,使得光沿光轴横越测量区。
美国专利US 8,911,684 B2公开了一种用于针对包含在其中的分析物来分析身体流体样品的微流体元件,所述元件具有衬底、用衬底围住的通道结构和覆盖层,并且可围绕旋转轴线旋转。微流体元件的通道结构包括:馈送通道,其具有馈送开口;通风通道,其具有通风开口;以及至少两个试剂腔室。这些试剂腔室经由两个连接通道以使得有可能在这些试剂腔室之间进行流体交换这样一种方式彼此连接,这些试剂腔室中的一者具有入口开口,所述入口开口流体连接到馈送通道,使得液体样品可以流入在旋转轴线远侧的试剂腔室。这些试剂腔室中的至少一者包含与液体样品反应的试剂。
发明内容
本发明在从属权利要求中提供方法和医疗系统。在附属权利要求中给出了实施例。
如此处所使用的套盒还涵盖用于将生物样品处理为已处理的生物样品的任何测试元件。套盒可包括使得能够对生物样品执行测量的结构或部件。典型的套盒是如美国专利8,114,351 B2和US 2009/0191643 A1中所限定和解释的测试元件。如本文中使用的套盒也可称为离心微流体盘状件(也称为“盘状实验室”、实验室盘状件或微流体CD)。
如本文中使用的生物样品涵盖从取自生物体的样品衍生、复制、重复或再生的化学产品。血液样品是生物样品的示例,所述生物样品为全血抑或血液制品。可将血浆考虑为经处理的生物样品。
应理解,下文和权利要求中对血液样品及产品的参考可加以修改,使得它们是指生物样品。
在一个方面中,本发明提供一种使用套盒来确定血液样品中的分析物的量的方法。如本文中使用的量可指代样品内所测量的分析物的绝对量(量值),并且可以以如克或摩尔为单位给出。在一些示例中,分析物的绝对量可被校准到溶剂的量值(重量或体积),并且将导致以如克/ml或mol/l为单位给出的血液样品中的分析物的浓度。因而,可用术语“浓度”来代替权利要求和/或公开内容中的术语“量”。
套盒能够操作以围绕旋转轴线回转。套盒包括用于接收血液样品的入口。套盒还包括血液分离腔室,所述血液分离腔室用于通过离心法使血浆与血球血液样品组分分离。美国专利US 2009/0191643 A1说明了在旋转盘状件中的微流体结构,所述旋转盘状件能够使血清或血浆与全血样品的血细胞部分(主要是红细胞)分离。
套盒还包括包含至少一种试剂的处理腔室。所述至少一种试剂包括至少一种特定型结合配偶体,所述至少一种特定型结合配偶体能够操作以与分析物结合从而形成至少一种分析物特定型结合配偶体复合物。套盒还包括第一阀结构,所述第一阀结构将血液分离腔室连接到处理腔室。套盒还包括用于实现对分析物的量的测量的测量结构。测量结构包括色谱分析膜。色谱分析膜包括固定化结合配偶体,所述固定化结合配偶体用于直接或间接地结合分析物或至少一种分析物特定型结合配偶体复合物。测量结构还包括吸收体结构。吸收体结构比膜更靠近旋转轴线。吸收体结构可支持跨越或穿过色谱分析膜来完全运送已处理的流体,并且还可通过结合经处理的流体和/或另外的流体(如洗涤缓冲液)来充当废物吸收织物(waste-fleece),因此避免其渗漏并由此污染仪器或用户。
套盒还包括第二阀结构,所述第二阀结构将处理腔室连接到测量结构。套盒还包括填充有洗涤缓冲液的流体腔室。流体腔室流体连接到测量结构。密封部将洗涤缓冲液保持在流体腔室内。
所述方法包括:将血液样品放置到入口中。所述方法还包括:使套盒绕旋转轴线旋转以将血液样品运送到血液分离腔室中。所述方法还包括:控制套盒绕旋转轴线的旋转以通过离心法使血浆与血球血液样品组分分离。所述方法还包括:开启第一阀结构并且使套盒绕旋转轴线旋转以将血浆的限定部分从血液分离腔室运送到处理腔室。在不同的示例中,阀结构可采取不同形式。在一个示例中,第一阀结构是虹吸管。这可被结构化成使得开启阀结构包括:减小套盒的旋转速率,使得流体能够通过毛细力进入并穿过虹吸管。在其他示例中,第一阀结构可为例如疏水阀、蜡阀、机械阀或磁阀。
所述方法还包括:将血浆的所述部分保持在处理腔室中。血浆与试剂混合并与至少一种特定型结合配偶体相组合,以形成至少一种分析物特定型结合配偶体复合物。
所述方法还包括:释放密封部,以使得洗涤缓冲液的第一部分能够进入测量结构。
所述方法还包括:开启第二阀结构以将至少一种分析物特定型结合配偶体复合物转移到测量结构,以及控制套盒的旋转速率以允许至少一种分析物特定型结合配偶体复合物通过第二阀结构流动到测量结构。如果第二阀结构是虹吸管,则开启第二阀和控制旋转速率的过程可相同。在其他示例中,第二阀结构可为针对第一阀结构所描述的替代性阀结构中的一者。在这种情况下,在一些例子中,可先于控制套盒的旋转速率来开启第二阀结构。在其他示例中,同时执行开启第二阀结构和控制套盒的旋转速率。
所述方法还包括:控制套盒的旋转速率,以允许至少一种分析物特定型结合配偶体复合物以限定的速度跨越膜流动到吸收体结构以及允许至少一种分析物特定型结合配偶体复合物结合到固定化结合配偶体。
所述方法还包括:控制套盒的旋转速率以允许洗涤缓冲液的第一部分以限定的速度跨越膜流动到吸收体结构。
所述方法还包括:使用膜以及使用光学测量系统来执行测量,以测量分析物的量。
在一些示例中,包含在处理腔室中的试剂可为干的化学配方。在其他示例中,试剂可呈液体的形式。
在一些示例中,试剂可以以不同的方式位于处理腔室内:被涂覆到处理腔室的表面上、被涂覆到添加到处理腔室中的珠状物的表面上、被添加作为冻干物/粉末、被添加作为胶囊、被添加作为包括可溶解试剂和/或囊泡的基质(例如,纸张)。
可将色谱分析膜称为毛细有效区。在一个实施例中,毛细有效区包括多孔、吸收体基质。在根据本发明的测试元件的一个实施例中,毛细有效区的靠近轴线的第二端邻接另外的吸收体材料或吸收体结构,使得其可以从毛细有效区吸收液体。出于这个目的,毛细有效区和另外的吸收体材料通常轻微地重叠。另外的材料或另外的吸收体结构一方面起帮助毛细有效区且特别地多孔、吸收体基质的吸入行动的作用,且另一方面充当用于已穿过毛细有效区的液体的保持区。在这一点上,所述另外的材料可以由与基质相同的材料或不同的材料组成。例如,基质可以是膜,且另外的吸收体材料可以是吸收织物或纸张。当然,其他组合同样是可能的。
在一个实施例中,根据本发明的测试元件的特征在于以下事实:样品通道包含不同尺寸和/或用于不同功能的区。例如,样品通道可以包含一个区,所述区包含能够溶于样品中或可以悬浮于样品中的试剂。这些试剂可以在液体样品流入或流经通道时被溶解或悬浮于液体样品中,并且可以与样品中的分析物或与其他样品组分反应。
样品通道中的不同区也可以是不同的,因为存在具有毛细活性的区和不具有毛细活性的区。此外,可存在具有高的亲水性的区和具有低的亲水性的区。各个区可以准无缝地合并到彼此之中,或通过某些障碍物(诸如,阀且特别地诸如几何阀的非封闭式阀、虹吸管或疏水性障碍物)彼此分离。
测试元件可包含试剂区,所述试剂区包含以下的共轭物(conjugate):分析物结合配偶体(通常为具备分析物结合能力的抗体或免疫活性抗体片段(如果分析物是抗原或半抗原),或为抗原或半抗原(如果分析物是抗体));以及标记,其可以通过视觉、光学或电化学手段直接地或间接地检测,其中,所述共轭物可以通过液体样品溶解。合适的标记是(例如)酶、荧光标记、化学发光标记、电化学活性基团或所谓的直接标记(诸如,金属或碳标记或彩色晶格)。也可将这个区称为共轭物区。
共轭物区也可以充当样品施用区,或单独的样品施用区可以位于测试元件上。除了上述分析物结合配偶体和标记的共轭物之外,共轭物区还可以包含第二分析物结合配偶体(其又通常为具备分析物结合能力的抗体或免疫活性抗体片段)和标记物质(taggingsubstance)的额外共轭物,所述标记物质自身是结合对中的配偶体。标记物质可以为例如生物素、链霉亲和素或地高辛(digoxigenin),并且可以用来在检测区和/或控制区中固定化由有标记的共轭物、分析物和加标记的共轭物组成的夹层复合物。
测试元件可另外包括检测区,所述检测区包含用于分析物或用于包含分析物的复合物的永久固定化的结合配偶体(即,不可以通过液体样品分离的结合配偶体)。所述固定化的结合配偶体又通常是具备分析物结合能力的抗体或免疫活性抗体片段或者是抗原或(聚)半抗原。如果使用上文提到的加标记的共轭物中的一种(例如,其包括生物素或地高辛连同分析物结合配偶体),则固定化的结合配偶体也可以为链霉亲和素或聚链霉亲和素和抗地高辛(anti-digoxigenin)抗体。
最后,也可存在在测试元件之中或之上的控制区,所述控制区包含用于分析物结合配偶体和标记的共轭物的永久固定化的结合配偶体,例如,呈固定化的聚半抗原的形式,所述固定化的聚半抗原充当分析物相似体并且能够结合来自有标记的共轭物的分析物结合配偶体。对于本发明来说中重要的是,控制区可另外包含用于分析物或用于包含分析物的复合物的一个或多个永久固定化的结合配偶体。后一种结合配偶体可以选自上文关于检测区的固定化的结合配偶体所描述的相同化合物。检测区中和控制区中的这些固定化的结合配偶体通常是相同的。然而,它们也可以是不同的,例如因为用于加生物素标记的共轭物的结合配偶体(因此,例如聚链霉亲和素)在检测区中被固定化并且除了聚半抗原之外抗分析物抗体在控制区中也被固定化。在后一种情况下,另外在控制区中被固定化的抗分析物抗体应指向(另一个)独立表位,并且因此是未由共轭物抗体(生物素-加标记的共轭物和有标记的共轭物)辨认的抗分析物抗体。
毛细有效区通常是多孔、吸收剂基质,且特别地可以是纸张、膜、微结构化的聚合物结构(例如,包括微结构化的支柱)或吸收织物。
毛细有效区且特别地多孔、吸收剂基质可以包含一个或多个区,所述一个或多个区包含固定化试剂。
特定结合试剂通常在毛细有效区中且特别地在多孔、吸收剂基质中被固定化,所述特定结合试剂例如为诸如以下各者的特定型结合配偶体:抗原、抗体、(聚)半抗原、链霉亲和素、聚链霉亲和素、配体、受体、核酸线(捕获探针)。它们用来从流经毛细有效区的样品中特别地捕获分析物或从分析物衍生或与分析物有关的物种。这些结合配偶体可以以线、点、图案的形式呈现为在毛细有效区的材料之中或之上被固定化,或它们可以间接地结合到毛细有效区(例如,借助于所谓的珠状物)。因此,例如,在免疫检定的情况下,抵抗分析物的一种抗体可以呈现为在毛细有效区的表面上或在多孔、吸收剂基质中被固定化,该抗体然后从样品中捕获分析物(在这种情况下为抗原或半抗原)并且也使其在毛细有效区(诸如,吸收剂基质)中被固定化。在这种情况下,可以(例如)借助于标记使分析物变得可检测,所述标记可以通过进一步的反应、例如通过另外使其与有标记的可结合配偶体接触视觉地、光学地或荧光光学地被检测。
在另一个实施例中,套盒还包括等分腔室。套盒还包括流体导管,所述流体导管将流体腔室与等分腔室连接。套盒还包括计量腔室。套盒还包括连接导管,所述连接导管将计量腔室与等分腔室流体连接。测量结构经由第三阀结构连接到计量腔室。流体元件可具有针对第一和第二阀结构所识别的替代性形式中的任一者。套盒还包括连接到计量腔室的通气口。所述通气口比计量腔室更靠近旋转轴线。
释放密封部的步骤使得洗涤缓冲液能够进入等分腔室。所述方法还包括以下步骤:控制套盒的旋转速率,以使得等分腔室中的洗涤缓冲液能够转移到连接导管中并且第一次填充计量腔室。所述方法还包括:控制套盒的旋转速率,以将洗涤缓冲液的第一部分通过阀从计量腔室转移到测量结构中并且将第一剩余部分转移回到等分腔室中。
所述方法还包括以下步骤:控制套盒的旋转速率,以允许等分腔室中的洗涤缓冲液转移到连接导管中并且第二次填充计量腔室。所述方法还包括以下步骤:控制套盒的旋转速率,以将洗涤缓冲液的第二部分通过阀从计量腔室转移到测量结构中并且将第二剩余部分转移回到等分腔室中。所述方法还包括以下步骤:控制套盒的旋转速率以允许洗涤缓冲液的第二部分跨越膜流动到吸收体结构。上述结构的使用可为有益的,因为其可提供待在后续的洗涤步骤中使用的被准确地计量的量的洗涤缓冲液。这也可为有益的,因为不必使用移液系统或其他装置将流体添加到套盒以便具有使用洗涤缓冲液的多个步骤。
在另一个实施例中,处理腔室包含:分析物的第一特定型结合配偶体,其具有可检测标记;以及第二特定型结合配偶体,其具有捕获标记。这两者与分析物形成结合复合物。这可由第一特定型结合配偶体、第二特定型结合配偶体以及分析物组成。这可另外提供在固定化结合配偶体内的测量结构,所述测量结构特定于第二特定型结合配偶体的捕获标记。
在另一个实施例中,检测是基于荧光的。
在另一个实施例中,标记是基于粒子的荧光标记。
在另一个实施例中,测量结构包含光学校准区。光学校准区可例如为测量结构上的一个区域,其包含所限定的量的固定化标记并且提供用于检查仪器的光学器件是否正确运作以及如果不是则适当地校准其的装置。在其他实施例中,光学校准区位于测试元件上的不同位置处。
在另一个实施例中,测量结构包含试剂和流动控制区。这可提供用于在试剂和免疫色谱法方面来检查套盒是否正确运作的装置。可存在例如两个不同的控制区(试剂/流动控制区和光学校准区)以作为用于在进行光学测量时校正辐射或激励源的强度的仪器控制区。
在另一个实施例中,测量是对心肌肌钙蛋白的浓度的测量。
在另一个实施例中,至少一种试剂中的每一者均是干的。干试剂的使用可为有益的,因为它们可以以稳定的方式直接储存在测试元件上并且在储存很长的时间段之后仍提供准确的结果。
在另一个实施例中,以干的化学配方来提供至少一种试剂中的每一者。干试剂的使用可为有益的,因为它们可以稳定的方式直接储存在测试元件上并且在储存很长的时间段之后仍提供准确的结果。
在一个方面中,本发明提供一种用于使用套盒来确定血液样品中的分析物的量的方法。医疗系统包括套盒。套盒能够操作以围绕旋转轴线回转。套盒包括用于接收血液样品的入口。套盒还包括血液分离腔室,所述血液分离腔室用于通过离心法使血浆与血球血液样品分离。血液分离腔室流体连接到入口。套盒还包括包含至少一种试剂的处理腔室。所述至少一种试剂包括至少一种特定型结合配偶体,所述至少一种特定型结合配偶体能够操作以与分析物结合从而形成至少一种分析物特定型结合配偶体复合物。套盒还包括第一阀结构,所述第一阀结构将血液分离腔室连接到处理腔室。套盒还包括用于实现对分析物的量的测量的测量结构。
测量结构包括色谱分析膜。色谱分析膜包括固定化结合配偶体,所述固定化结合配偶体用于直接或间接地结合分析物或至少一种分析物特定型结合配偶体复合物。测量结构还包括吸收体结构。吸收体结构比膜更靠近旋转轴线。套盒还包括第二阀结构,所述第二阀结构将处理腔室连接到测量结构。套盒还包括填充有洗涤缓冲液的流体腔室。流体腔室流体连接到测量结构。密封部将洗涤缓冲液保持在流体腔室内。
套盒还包括等分腔室。套盒还包括流体导管,所述流体导管将流体腔室与等分腔室连接。套盒还包括计量腔室。套盒还包括连接导管,所述连接导管将计量腔室与等分腔室流体连接。测量结构经由第三阀结构连接到计量腔室。套盒还包括连接到计量腔室的通气口。所述通气口比计量腔室更靠近旋转轴线。
在另一个方面中,计量腔室具有侧壁和中心区域。侧壁远离中心区域渐缩。在计量腔室的侧壁近旁的毛细作用大于计量腔室的中心区域中的毛细作用。这可促进对计量腔室的填充,减少在计量腔室中形成气泡的机会。这可导致对从计量腔室分配的流体进行更准确的计量。
在另一个实施例中,计量腔室能够操作以导致流体使用毛细作用来填充计量腔室。连接导管包括在等分腔室中的导管进入口。连接导管还包括在计量腔室中的导管退出口。导管退出口比导管进入口更接近旋转轴线。连接导管能够操作以导致流体使用毛细作用流动到计量腔室。这个实施例可为有益的,因为其可提供对于流体的被准确计量的多次等分的准确方式。
在另一个实施例中,连接导管包括在等分腔室中的导管进入口。连接导管还包括在计量腔室中的导管退出口。绕旋转轴线的圆弧穿过导管进入口与导管退出口两者。这个实施例可为有益的,因为其可提供一种提供缓冲流体的被准确地计量的多个体积的非常有效的手段。
在另一个实施例中,套盒还包括连接到血液分离腔室的溢流腔室。溢流腔室包括开口。第一虹吸管包括在血液分离腔室中的虹吸管进入口。第一虹吸管包括在处理腔室中的虹吸管退出口。所述开口比虹吸管退出口更接近旋转轴线。虹吸管进入口可以比虹吸管退出口更接近旋转轴线。这个实施例可具有以下益处:来自血液分离腔室的全部流体都被转移到处理腔室。
在另一个实施例中,套盒还包括连接到血液分离腔室的溢流腔室。溢流腔室包括开口。第一虹吸管包括在血液分离腔室中的虹吸管进入口。第一虹吸管包括在处理腔室中的虹吸管退出口。所述开口比虹吸管退出口更接近旋转轴线。虹吸管退出口可以比虹吸管进入口更接近旋转轴线。这个实施例可具有以下益处:并非来自血液分离腔室的所有流体都被转移到处理腔室。这可减少血浆中的被转移到处理腔室的脂肪材料的量。这可导致比在虹吸管处于不同位置中的情况下将执行的分析更高质量的分析。
在另一个实施例中,第一虹吸管包括接近旋转轴线的最靠近位置。第一虹吸管与旋转轴线的距离在虹吸管进入口与最靠近位置之间单调地变化。第一虹吸管与旋转轴线的距离在虹吸管退出口与最靠近位置之间单调地变化。
在另一个实施例中,处理腔室包括至少两个子处理腔室。所述至少两个子处理腔室中的每一者通过中间阀结构被流体连接。中间阀结构可为针对第一或第二阀结构所论述的替代性阀结构类型中的任一者。处理腔室包含两种或更多种试剂。所述至少两个子处理腔室中的每一者包含两种或更多种试剂的一部分。两种或更多种试剂可被划分成两个子处理腔室中的每一者内的不同试剂区域,或可在两个子处理腔室内存在两种或更多种试剂的混合物。这个实施例可为有利的,因为其使得能够通过不同试剂以一定的相继顺序来处理血浆。这可使得能够利用套盒来执行更复杂的测试。如果将彼此发生反应的试剂必须被储存在套盒上,那么使用两个或更多个子处理腔室以用于储存不同试剂也可以是有利的,因为通过将不同试剂空间分割成不同的子处理腔室,可防止试剂之间在无意中发生反应。
在另一个实施例中,医疗系统还包括用于控制套盒绕旋转轴线的旋转的套盒回转器。
在另一个实施例中,医疗系统包括:存贮器,其用于储存机器可执行指令;以及处理器,其用于控制医疗系统。机器可执行指令的执行导致处理器:通过控制套盒回转器来使套盒绕旋转轴线旋转,以将血液样品运送到血液分离腔室。机器可执行指令的执行还导致处理器:通过控制套盒回转器来控制套盒绕旋转轴线的旋转,以通过离心法使血浆与血球血液样品组分分离。机器可执行指令的执行还导致处理器:通过控制套盒回转器来开启第一阀结构并且使套盒绕旋转轴线旋转以将血浆的限定部分从血液分离腔室运送到处理腔室。在其中第一阀结构是虹吸管的情况下,则可以通过控制套盒回转器来执行套盒的开启与旋转两者。如果第一阀结构是另一种类的阀(诸如,蜡或机械阀或机械阀),则可由处理器控制阀开启机构以实现此。本文中提到的其他阀结构中的任一者也是如此。
机器可执行指令的执行还导致处理器:将血浆的所述部分保持在处理腔室中。这可通过控制套盒回转器来实现。血浆与试剂混合并与至少一种特定型结合配偶体相组合,以形成至少一种分析物特定型结合配偶体复合物。机器可执行指令的执行还导致处理器:释放密封部,以使得洗涤缓冲液的第一部分能够进入测量结构。这例如可通过处理器控制密封开启器来执行,所述密封开启器是致动套盒以便开启密封的设备或机构。
机器可执行指令的执行还导致处理器:开启第二阀结构以将至少一种分析物特定型结合配偶体复合物转移到测量结构,以及控制套盒的旋转重量以允许至少一种分析物特定型结合配偶体复合物通过第二阀结构流动到测量结构。这可例如通过利用套盒回转器控制套盒的旋转速率来实现。机器可执行指令的执行还导致处理器:通过控制套盒回转器来控制套盒的旋转速率,以允许至少一种分析物特定型结合配偶体复合物以限定的速度跨越膜流动到吸收体结构以及允许至少一种分析物特定型结合配偶体复合物结合到行动化结合配偶体。此步骤也可由处理器通过利用套盒回转器控制套盒的旋转速率来实现。
机器可执行指令的执行还允许处理器控制套盒的旋转速率以允许洗涤缓冲液的第一部分以限定的速度跨越膜流动到吸收体结构。可使用套盒回转器来控制套盒的旋转速率。机器可执行指令的执行还导致处理器:使用膜以及使用光学测量系统来执行测量以用于实现分析物定量。
在另一个实施例中,医疗系统还包括密封开启器。例如,处理器可能够自动地控制密封开启器。机器可执行指令的执行导致处理器控制密封开启器以在降低套盒的旋转速率之前释放密封部以使得洗涤缓冲液能够进入等分腔室,从而准许等分腔室中的洗涤缓冲液转移到连接导管中并且第一次填充计量腔室。
在另一个实施例中,第一阀结构是第一虹吸管。
在另一个实施例中,第二阀结构是第二虹吸管。
在另一个实施例中,第三阀结构是第三虹吸管。
在另一个实施例中,医疗系统还包括用于使用膜来执行测量的光学测量系统。
在另一个实施例中,光学测量系统是基于荧光的检测器。在一些示例中,基于荧光的检测器可为分光仪或单色仪。
在另一个实施例中,医疗系统还包括用于将套盒的温度维持在预定的温度范围内的温度控制器。这可为有益的,因为如果准确地控制温度,则测量和试剂可更好地运作或处于受控的速率。
在另一个实施例中,流体腔室被包含在套盒内。
在另一个实施例中,流体腔室的密封部是可由切开(lancing)结构刺入的箔。
在另一个实施例中,流体腔室在泡罩包(blister pack)或泡罩封装(blisterpackaging)内。泡罩可被压下,并且压力的增加可导致密封破损,从而释放流体贮器中的流体。
在另一个实施例中,吸收体结构是废物吸收织物。
在另一个实施例中,流体腔室是泡罩包(blister packet),其中,所述泡罩包包括柔性壁。压下柔性壁可导致密封部开启。
在另一个实施例中,套盒由塑料模制或形成。可存在附接到模制部分的盖子。
在另一个实施例中,血液分离腔室还用于在完成血浆与血球血液样品组分的分离之后确定血液样品的红细胞比容(hematocrit)。在一个示例中,这可以通过光学确定以下各者来完成:在对测试元件进行离心之后在血液分离腔室的远离旋转轴线部分中由血球血液样品组分填充的体积,以及在对测试元件进行离心之后在血液分离腔室的靠近旋转轴线部分中由血浆填充的体积。这两个体积可以彼此相关,以获得与血液样品的红细胞比容有关的参数。
在另一个示例中,在没有任何洗涤步骤的情况下执行分析物定量。因此,可从权利要求中删除详述控制套盒的旋转速率以将洗涤缓冲液控制为以限定的速度跨越色谱分析膜流动到吸收体结构的方法步骤。
在另一个实施例中,通过在利用洗涤缓冲液洗涤膜之前且在对经处理的样品进行色谱分析之后执行光学测量来产生用于分析物定量的初值。这可针对样品内的高分析物浓度给出指示,并且允许在分析物量或浓度高的情况下向用户发送早期警报。
在另一个示例中,通过将血清、血浆或尿用作样品来执行分析物定量。
关于不同的免役检定格式,我们也可以参考US 2009/0191643以获得更多的细节。
应理解,可组合本发明的上述实施例和/或示例中的一个或多个,只要所组合的实施例并不互相排斥。
还应理解,可以不同的次序执行由处理器响应于机器可执行指令所执行的方法步骤和/或动作,只要重新布置不导致动作或方法步骤的自相矛盾的次序。特别地,可在释放密封以使得洗涤缓冲液的第一部分能够进入测量结构之前执行以下两者的步骤(和由处理器执行的等效动作):开启第二阀结构以将至少一种分析物特定型结合配偶体复合物转移到测量结构以及控制套盒的旋转速率以允许至少一种分析物特定型结合配偶体复合物通过第二阀结构流动到测量结构,以及控制套盒的旋转速率以允许至少一种分析物特定型结合配偶体复合物以限定的速度跨越膜流动到吸收体结构以及允许至少一种分析物特定型结合配偶体复合物结合到固定化的结合配偶体。
还应理解的是,由处理器响应于机器可执行指令所执行的方法步骤和/或动作并不限于如上文描述及如权利要求中所定义的特定次序。
附图说明
下文中,仅通过示例参考附图更详细地解释了本发明的实施例,在附图中:
图1图示了套盒的示例;
图2示出了图1的套盒的另外的视图;
图3示出了图1的套盒的另外的视图;
图4示出了图3中所图示的部件的替代例;
图5示出了图1中所图示的处理腔室的替代例;
图6示出了图示可以如何使用套盒来确定定量分析物的原理的符号图;
图7图示了自动分析仪的示例;
图8示出了说明操作图7的自动分析仪的方法的流程图;
图9A、图9B和图9C图解地说明了使用图1的套盒来确定血液样品中的分析物的量的方法;
图10图示了用于对流体执行多次等分的计量结构;
图11图示了计量腔室的截面视图;
图12说明了使用图10的计量结构来执行分配流体的方法的一部分;
图13进一步说明了使用图10的计量结构来执行分配流体的方法的一部分;
图14进一步说明了使用图10的计量结构来执行分配流体的方法的一部分;
图15进一步说明了使用图10的计量结构来执行分配流体的方法的一部分;
图16进一步说明了使用图10的计量结构来执行分配流体的方法的一部分;
图17进一步说明了使用图10的计量结构来执行分配流体的方法的一部分;
图18进一步说明了使用图10的计量结构来执行分配流体的方法的一部分;
图19图示了用于对流体执行多次等分的替代性计量结构;
图20图示了使用图19的计量结构来执行分配流体的方法的一部分;
图21进一步说明了使用图19的计量结构来执行分配流体的方法的一部分;
图22进一步说明了使用图19的计量结构来执行分配流体的方法的一部分;
图23进一步说明了使用图19的计量结构来执行分配流体的方法的一部分;
图24进一步说明了使用图19的计量结构来执行分配流体的方法的一部分;
图25进一步说明了使用图19的计量结构来执行分配流体的方法的一部分;以及
图26进一步说明了使用图19的计量结构来执行分配流体的方法的一部分。
具体实施方式
这些图中的相似编号的元件是等效元件抑或执行相同的功能。如果功能等效,则在后面的图中将没必要论述先前已论述的元件。
图1和图2示出了套盒100的示例。图1示出了套盒100的前视图。图2示出了套盒100的背侧视图。所述套盒适于围绕旋转轴线102旋转。套盒100主体为扁平状,并且具有垂直于旋转轴线102的外边缘。外边缘104小于特定的半径,并且形状主体为圆形。在图1和图2中所示的实施例中,还存在外边缘的若干可选的平坦部分106。这些可有助于夹持或储存套盒100。在替代性实施例中,此类平坦部分是没有的,并且套盒的整个外边缘的形状主体为圆形。套盒100可例如由模制塑料制成。可存在盖子,所述盖子放置在图1中所示的结构的表面上。未示出盖子,以便有助于观察套盒100内的微流体结构。
套盒100被示为具有血液入口108,在所述血液入口处,可以将血液样品添加到或用移液器吸取到套盒100中。血液入口108可例如包括用于储存一定体积的血液样品的储存腔室110。储存腔室110被示为具有带通气口114的延伸腔室112。各种微流体结构也可示为具有延伸腔室112和通气口114。还存在失效安全指示器116,其为微流体结构的填充有流体的区域,以指示微流体结构已接收到足够量的流体或样品。这些例如可在使用套盒100期间被光学检查。在一些情况下,这些是带标记的,但本文中未被论述。血液入口108被示为流体连接到血液分离腔室118。血液分离腔室118用于使血液样品中的血浆与血球血液样品组分(血细胞)分离。血液分离腔室118还被示为连接到溢流腔室120,溢流腔室120接收来自血液样品的过量的血浆。下文将更详细地描述血液分离腔室118的功能。血液分离腔室118经由第一阀结构122连接到处理腔室124。
在这个示例中,第一阀结构122是虹吸管。然而,其可包括其他结构,诸如机械、磁性或热激活阀。处理腔室124被示为包含可用于储存干试剂的若干表面126。在其他示例中,可存在可以与血浆样品混合的大量的液体或其他类型的试剂。处理腔室124被示为经由第二阀结构128连接到测量结构130。在这个示例中,第二阀结构128是虹吸管。第二阀结构128可采取第一阀结构122也可以采取的形式中的任一种。在这个示例中,处理腔室124被示为单一腔室。在另一个示例中,处理腔室124可包括若干子腔室,使得可以通过不同的试剂来相继地处理血浆样品。测量结构130被示为包含色谱分析膜134和另外的吸收体结构132,吸收体结构132接触色谱分析膜的更靠近旋转轴线的一端,吸收体结构132用作废物吸收织物(waste fleece)。下文更详细地论述试剂和色谱分析膜134。
在用试剂进行处理之后,可将血浆样品芯吸或运送跨越色谱分析膜134。在此之前和/或之后,可使用洗涤缓冲液来准备好或洗涤色谱分析膜134。图1和图2中所示的套盒100是包括许多个不同的可选特征的套盒。在套盒100的背侧上示出了流体腔室136。在这个示例中,流体腔室136是可以从套盒100的外部压缩的泡罩包或柔性流体腔室。当压缩流体腔室136时,密封破损,其允许流体腔室136内的流体进入流体导管138。流体导管138然后将流体运送到计量结构140。
计量结构140使得能够以精确测量的量将洗涤缓冲液多次供应到测量结构130。然而,计量结构140不是必须的。可存在其中洗涤缓冲液被直接递送到测量结构130的示例。在其他示例中,在执行测试之前,测量结构未事先经洗涤缓冲液处理。被标记为136’的结构是替代性流体腔室。可机械地致动流体腔室136’以使其围界周围的密封破损,这导致流体经由流体导管138´进入计量结构140。套盒100还被示为包含另一个可选结构。被标记为142的结构是手动填充位置,在所述手动填充位置处,可将试剂或缓冲溶液手动地或通过外部源(如分配器)添加到测量结构130。
计量结构140被示为包含等分腔室144。等分腔室144从流体腔室136或136’接收流体。等分腔室144经由连接导管148连接到计量腔室146。计量结构146用于对缓冲流体进行准确的计量并将流体的所计量的等分部分一次或多次供应到测量结构130。计量结构 146经由流体元件150连接到测量结构130。在这种情况下,流体元件150被示为包含微流体导管或通道以及腔室,以便在对缓冲流体进行计量时容纳一定量的所述缓冲流体。将参考后面的附图来论述计量结构140和若干替代例的功能。
图3示出了图1的放大区域,其更详细地图示了血液分离腔室118和处理腔室124。分离腔室118被示为包含上部分300和下部分302。上部分300更接近旋转轴线102。溢流腔室被示为具有溢流开口304。溢流开口304设定血液分离腔室118内的流体的最大体积。在这个示例中,第一阀结构122是虹吸管。其也可被称为第一虹吸管。第一虹吸管122具有在血液分离腔室118中的虹吸管进入口306。第一虹吸管122还具有进入延伸腔室112’中的虹吸管退出口308。在这个示例中,存在位于血液分离腔室118与处理腔室124之间的另外的延伸腔室112’。在其他示例中,虹吸管退出口308可直接连接到处理腔室124。
延伸腔室112使得处理腔室124能够定位成离旋转轴线更远。这在一些例子中可为处理腔室124提供额外的空间。在仔细观察图3时,可以看到,虹吸管退出口308比虹吸管进入口306更接近旋转轴线102。这么做是因为其捕获在上部分300内的额外的量的血浆。最后一点儿或最后的量的血浆可包含血浆中所包含的脂肪或油性组织。将虹吸管退出口308放置成更接近旋转轴线102可减少血浆中最终被转移到处理腔室124的这种材料的量。这可导致对分析物的测量更优异或更准确。
可以看到,第一虹吸管122具有至旋转轴线102的最靠近位置310。在最靠近位置310与虹吸管退出口308之间,至旋转轴线102的距离单调地增加。
图4示出了套盒100的另外的放大区域。图4的区域与图3的区域相同。在图4中所示的示例中,第一阀结构122和第二阀结构128已被修改。第一阀结构122包括阀元件400,并且第二阀结构128包括阀元件402。阀元件400和402可为机械阀,其可通过多种手段开启和/或闭合。例如,阀元件400、402可被机械地致动,它们可包括受热融化的蜡或其他材料,它们可被磁性地操作,或使用其他手段被致动。
图5示出了图1中所示的套盒100的修改。在图5中所示的示例中,处理腔室124已被分解为两个单独的子腔室500和502。第一阀结构122连接到第一子腔室500。然后在第一子腔室500与第二子腔室502之间存在中间阀结构504。第二阀结构128然后从第二子腔室502连接到测量结构130。两个子腔室500、502可以用于利用不同试剂来相继地处理血浆。
图6示出了说明可以如何使用套盒来确定定量分析物的原理的符号图。600表示血液样品,且602表示血液600中存在的分析物。箭头604表示通过离心法生成血浆。602’表示血浆中的分析物602。箭头606表示血浆与干的化验试剂的混合和在处理腔室中的培养。124表示处理腔室。在处理腔室中,捕获抗体(capture antibody)608和检测抗体610附着到血浆中的分析物602’。捕获抗体608和检测抗体610与分析物602’的组合形成分析物特定型结合配偶体复合物611。箭头609表示运送到测量结构。
箭头612表示血浆运送通过测量结构的色谱分析膜134。三个条块614、616和618表示色谱分析膜134上的三个不同区。614表示捕获和检测区。条块616表示仪器控制区。条块618表示化验控制区。在捕获和检测区614中,可存在结合到捕获抗体608的捕获元素620。例如,捕获元素可为链霉亲和素,并且捕获抗体可为生物素化的。当捕获抗体608接触捕获元素 620时,其快速结合到捕获抗体608并由此结合到完整的分析物特定型结合配偶体复合物611。检测抗体610(其为这个所结合的分析物特定型结合配偶体复合物611的一部分)由此也被固定化在这个位置处并且然后可以稍后被检测。例如,检测抗体610包含荧光标记(诸如,荧光乳胶)。仪器控制区616也可包含具有荧光记号的乳胶。这可以用于检查仪器的光学测量系统是否正确运作和/或校准这个光学测量系统。在化验控制区618中,过多的检测抗体610结合到人工分析物链(line)622。区域616和618用作控制部,以确保套盒100和仪器的光学测量系统正确运作。
当与图1的套盒一起使用时,图6中所解释的方案可在一些例子中提供比在使用标准实验室方法时的测量结果更好的测量结果。例如,使用盘状件(disc)中的等效微流体结构来测试心肌肌钙蛋白的浓度。这些测试的结果表明,测量的精度和重现性优于在典型分析实验室中所获得的准确性和重现性。
在实施例中,可以用于检测人体心肌肌钙蛋白T的抗体是如下的抗体:识别人心肌肌钙蛋白(P45379,UniProt数据库)的位于P45379(UniProt数据库)的氨基酸位置129-135处的线性表位ELVSLKD的抗体;或识别人心肌肌钙蛋白(P45379,UniProt数据库)的位于P45379(UniProt数据库)的氨基酸位置147-157处的线性表位QQRIRNEREKE的抗体;或识别人心肌肌钙蛋白(P45379,UniProt数据库)的位于P45379(UniProt数据库)的氨基酸位置147-155处的线性表位QQRIRNERE的抗体。在实施例中,这些抗体是鼠源单克隆抗体。在实施例中,使用第一抗体和第二抗体的组合来以夹层化验形式(sandwich assay format)检测人心肌肌钙蛋白T,所述第一抗体识别人心肌肌钙蛋白(P45379,UniProt数据库)的位于P45379(UniProt数据库)的氨基酸位置129-135处的线性表位ELVSLKD,所述第二抗体识别人心肌肌钙蛋白(P45379,UniProt数据库)的位于P45379(UniProt数据库)的氨基酸位置147-157处的线性表位QQRIRNEREKE或者人心肌肌钙蛋白(P45379,UniProt数据库)的位于P45379(UniProt数据库)的氨基酸位置147-155处的线性表位QQRIRNERE。在另一个实施例中,使用带标记的检测抗体和捕获抗体的组合来以夹层化验形式检测人心肌肌钙蛋白T,所述检测抗体识别人心肌肌钙蛋白(P45379,UniProt数据库)的位于P45379(UniProt数据库)的氨基酸位置129-135处的线性表位ELVSLKD,所述捕获抗体识别人心肌肌钙蛋白(P45379,UniProt数据库)的位于P45379(UniProt数据库)的氨基酸位置147-157处的线性表位QQRIRNEREKE或者人心肌肌钙蛋白(P45379,UniProt数据库)的位于P45379(UniProt数据库)的氨基酸位置147-155处的线性表位QQRIRNERE。在另一个实施例中,带标记的检测抗体的标记是荧光乳胶粒子。
图7示出了医疗系统700的示例。医疗系统700适于接收套盒100。存在套盒回转器702,套盒回转器702能够操作以用于使套盒100绕旋转轴线旋转。套盒回转器702具有附接到夹具706的马达704,其附接到套盒708的一部分。套盒100还被示为具有测量或透明结构710。套盒100可以旋转,使得测量结构710在光学测量系统712前面行进,光学测量系统712可以对一定量的分析物执行例如光学测量。在此附图中还示出了致动器711。其可以用于开启套盒100中的流体贮器。还可存在用于致动套盒上的机械阀或阀元件(如果它们存在的话)的另外的致动器或机构。
致动器711、套盒回转器702、以及测量系统712被示为全部连接到控制器714的硬件接口716。控制器714包含与硬件接口716通信的处理器718、电子储存装置720、电子存贮器722和网络接口724。电子存贮器730具有机器可执行指令,所述机器可执行指令使得处理器718能够控制医疗系统700的操作和功能。电子储存装置720被示为包含在由处理器718执行指令730时获取的测量值732。网络接口724使得处理器718能够经由网络连接726将测量值732发送到实验室信息系统728。
图8示出了流程图,所述流程图说明了操作图7的医疗系统700的方法。图8中的步骤例如可为包括在指令730中的机器可执行指令。在执行图8的方法之前,可例如将血液样品放置到入口中,并且然后将套盒100放置到医疗系统700中。首先,在步骤800中,处理器718控制马达704,使得套盒绕旋转轴线旋转以将血液样品运送到血液分离腔室中。接下来,在步骤802中,处理器718进一步控制马达704,使得套盒绕旋转轴线的旋转通过离心法使血浆与血球血液样品组分分离。接下来,在步骤804中,处理器718控制马达704,使得第一阀结构开启并且套盒以足够的速度绕旋转轴线旋转以将血浆的限定部分从血液分离腔室运送到处理腔室。在其中阀结构包括机械阀元件的情况下,可存在另外的机构或设备,处理器718控制所述另外的机构或设备以开启这些机械阀元件。
接下来,在步骤806中,处理器718控制马达704的旋转速率,使得血浆的所述部分被保持在处理腔室中。在此时间期间,血浆与试剂混合并与至少一种特定型结合配偶体相组合,以形成至少一种分析物特定型结合配偶体复合物。接下来,在步骤808中,由处理器718释放密封,以使得洗涤缓冲液的第一部分能够进入测量结构。例如,处理器718可控制致动器711以压缩图2中所示的流体腔室136。接下来,在步骤810中,处理器718控制马达704的旋转速率,使得第二阀结构被开启以将至少一种特定型结合配偶体复合物转移到测量结构以及使得套盒允许至少一种分析物特定型结合配偶体复合物通过第二阀结构流动到测量结构。再次,如果第二阀结构包括机械阀元件,则处理器也可控制另外的设备或机构以开启这个机械阀元件。
接下来,在步骤812中,处理器718控制马达704的旋转速率,使得套盒允许至少一种分析物特定型结合配偶体复合物以限定的速度跨越膜流动到吸收体结构以及允许至少一种分析物特定型结合配偶体复合物结合到固定化结合配偶体。在步骤814中,处理器718控制马达704的旋转速率,使得套盒以一定的速率回转,所述速率允许洗涤缓冲液的第一部分以限定的速度跨越膜流动到吸收体结构。在替代性实施例中,执行步骤808(释放密封,以使得洗涤缓冲液的第一部分能够进入测量结构),然后直接执行步骤814。
最后,在步骤816中,处理器718控制光学测量系统712,以使用光学测量系统来执行测量。然后,可将此测量值732转变成分析物量或浓度。
图9A、图9B和图9C图解地说明了使用套盒100来确定血液样品中的分析物的量的方法。在图9A、图9B和图9C中图解地说明了所述方法。图像900示出套盒100处于其初始条件下。接下来,在步骤902中,将血液放置到入口中。接下来,在步骤904中,将血液样品转移到血液分离腔室。在步骤906中,通过离心法使血浆与红血细胞分离。接下来,在步骤908中,将血浆转移到处理腔室。接下来,在步骤910中,将血浆与试剂混合。在步骤912中,通过使密封破损来释放洗涤缓冲液。在步骤914中,将血浆和试剂的培养物或组合转移到测量结构。
接下来,在步骤916中,执行对分析物特定型结合配偶体复合物或培养物的色谱分析。接下来,在步骤918中,对洗涤缓冲液进行计量。在若干例子中,所描绘的结构可用于提供对洗涤缓冲液的多次计量。然而,这并非在所有情况下都是必要的,并且有可能仅转移来自流体腔室的流体以及不存在计量步骤。接下来,在步骤920中,将洗涤缓冲液转移到测量结构,并且跨越色谱分析膜134将洗涤缓冲液芯吸到吸收体结构132中,如步骤922中所示。最后,在步骤924中,使用荧光测量来执行对分析物的测量。
图10示出了计量结构140的示例。计量结构是构成如图1中所示的套盒100的流体部件的一部分。存在被标记为102的旋转轴线。该附图中还示出了流体腔室136的一部分。流体腔室被设计成用于具有贮器,所述贮器经由通向等分腔室144中的流体腔室导管138来提供流体。在这个示例中,等分腔室144成鲸鱼状。存在将等分腔室144与计量腔室146连接的连接导管148。连接导管148具有导管进入口1014和导管退出口1016。导管进入口1014通向等分腔室144,并且导管退出口1016通向计量腔室146。绕旋转轴线102画出的圆弧1018穿过导管进入口1014与导管退出口1016两者。计量腔室146经由管状结构1020连接到流体元件150。在这个示例中,在管状结构1020与计量腔室146之间存在阀1021。在这个示例中,阀1021是毛细阀。
可以不同的方式来实施阀1021。在一些替代例中,管状结构1020与流体元件150之间的接口的形状可充当毛细阀。替代地,可将阀放置在元件1020与150之间。在其他实施例中,导管可连接在同一个位置中,并且可改为使用可控微阀。可将所述可控微阀放置在计量腔室146与管状结构1020之间,或放置在管状结构1020与流体元件150之间。
可选的延伸腔室1024被示为与计量腔室146的上边缘1026交界。存在使延伸腔室1024通气的通气口1028。计量腔室146与延伸腔室1024之间的整个边界是开放的。这可帮助减少在计量腔室146中形成气泡的机会。在一些示例中,延伸腔室1024可具有大于计量腔室146的宽度的宽度。然后,可使用毛细力以将流体保持在计量腔室146中。被标记为1030以及A-A的虚线示出了计量腔室146的横截面视图的位置。图11中示出了这个横截面视图。等分腔室144可以被示为也具有通气口1028。在这个实施例中,导管进入口1014周围的区域成漏斗状。还可注意的是,等分腔室144被示为不具有锐边缘。当盘状件减速时,锐边缘的缺乏有助于促进流体从等分腔室144移动到导管进入口1014。
等分腔室144还被示为具有至流体连接部1034的连接,流体连接部1034通向过量流体腔室1032。流体连接部1034具有流体连接部进入口1036。流体连接部进入口1036限定等分腔室144中的最大流体液位。等分腔室144中的最大流体液位低于圆弧1018。在这个实施例中,流体连接部1034经由毛细阀1038连接到过量流体腔室1032。阀或毛细阀的使用是可选的。过量流体腔室被示为具有通气口1028,并且其也连接到失效安全腔室1040。当流体流入过量流体腔室1032中时,填充失效安全腔室1040。破失效安全腔室1040可用于光学地指示流体是否已进入过量流体腔室1032中。例如,在使用期间,如果失效安全腔室1040未被填充,则其可指示等分腔室144未正确填充有流体。
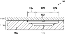
图11示出了在图10中被标记为1030的剖切面A-A的横截面视图1100。在此附图中,可以看见套盒1102的主体。主体1102中存在用于计量腔室146的开口。在这个示例中,通过注射模制来制造套盒1102的主体。套盒的主体由盖(lid)1108和支撑结构1110装配而成。
在计量腔室的远端处,可以看到至阀1021中的进入口。可以将计量腔室146看作被划分成若干不同区域。在边缘上,存在两个侧壁区域1104。在这两个侧壁区域或两个侧区域之间的是中心区域1106。侧壁区域1104远离中心区域1106而变得更窄或渐缩。这导致在这个区域中计量腔室146的尺寸变窄。因此,侧壁区域1104中的毛细作用高于中心区域1106中的毛细作用。这可导致计量腔室146先于中心区域1106而首先在侧壁区域1104中填充有流体。这可具有以下益处:当计量腔室146填充有流体时,减少形成或捕获在计量腔室146中的气泡的数目。
图12到图18说明了可如何使用计量结构140来对至流体元件150的流体执行多次等分。
在图12中,盘状件绕旋转轴线102旋转。箭头1200指示旋转的方向。在这个特定示例中,盘状件以20 Hz回转。流体或洗涤缓冲液1202被从流体腔室136运送到等分腔室144中。可以看到流体1202从流体导管138滴落到等分腔室144中。等分腔室144中的流体体积受流体连接部1034的限制,且由此由流体连接部1034对其进行计量,所述流体连接部连接到过量流体腔室1032。可以将失效安全腔室1040看作填充有流体。
接下来,在图13中,流体体积1202已从流体腔室136完全转移到等分腔室144中。失效安全腔室1040被示为填充有流体。在这个示例中,盘状件仍以与图12中所示的速率相同的速率回转。等分腔室144填充有流体1202一直到最大流体液位1300。可以看到,最大流体液位1300低于连接导管148,或比连接导管148更远离旋转轴线102。当盘状件以这种方式回转时,流体1202可以不进入计量腔室146。
接下来,在图14中,盘状件停止或减速到更低的旋转频率,其中高的减速率例如处于50 Hz/秒。流体的惯性迫使流体1202朝向并穿过连接导管148且进入到计量腔室146中。在此附图中可以看到,流体1202在其填充中心区域之前先填充计量腔室146的侧部。这是由于图11中所示的渐缩的侧壁1104所致。毛细作用导致首先填充计量腔室146的这个侧壁部分。这种填充计量腔室的方式可减少气泡形成或依附在计量腔室146中的机会。
在图15中,套盒仍是固定不动的,或处于减小的旋转速率,并且计量腔室146完全填充有流体1202。仍可将套盒或盘状件考虑为处于静止。计量腔室的完全填充由毛细力导致,毛细力由计量腔室的相应的几何尺寸导致。
图16示出如图15中所示的相同视图,除了在计量腔室146中已画出虚线1600之外。计量腔室146中的这条线1600将计量腔室中的流体划分成若干部分或份量。自线1600径向向内(更接近旋转轴线102)的流体部分1604可回流到贮器中。径向向外部分(更远离旋转轴线102)或部分1602可完全转移到流体元件150中。可以将径向向内部分1604称为流体的剩余部分,并且可以将径向向外部分1602称为被转移到下游流体元件中的流体部分1602。流体体积1602是等分试样,其在随后的步骤中被转移到流体元件150。
接下来,在图17中,盘状件开始加速,并且沿方向1200回转。盘状件加速;这导致毛细阀1021开启。流体的剩余部分1604被转移回到等分腔室144。流体部分1602处于被转移到流体元件150的过程中。可以看到一滴流体从管1020落下。
接下来,在图18中,可以看到,流体体积1602已完全转移到流体元件150,并且在所述附图中不再可见。流体的剩余部分1604已被转移回到等分腔室144中,并且与剩余流体1202混合。完成了第一等分步骤;可从图14再次重复该过程,并且可重复该过程直到等分腔室144中的流体体积1202小于计量腔室146的体积。
图19示出了替代性计量结构140’的示例。计量结构140’可代替图1中的计量结构140。计量结构140’的机械结构类似于图10的计量结构140,具有若干机械性差异。再次,存在被标记为102的旋转轴线。所述附图中还示出了流体腔室136的一部分。流体腔室136具有贮器,所述贮器经由通向等分腔室144中的流体腔室导管138来提供流体。在这个示例中,等分腔室144成茶壶状。存在将等分腔室144与计量腔室146连接的连接导管148。连接导管148具有导管进入口1014和导管退出口1016。导管进入口1014通向等分腔室144,并且导管退出口1016通向计量腔室146。导管进入口1014比连接导管148的导管退出口1016更远离旋转轴线102。
计量腔室146经由管状结构1020连接到流体元件150。在这个示例中,在管状结构1020与流体元件之间存在阀1021。在这个示例中,阀1021是毛细阀。可以以不同的方式来实施阀1021。在一些实施例中,管状结构1020可充当毛细阀。在一些实施例中,导管可连接在同一个位置中,并且可改为使用可控微阀。可将所述可控微阀放置在计量腔室146与管状结构1020之间,或放置在管状结构1020与流体元件150之间。
延伸腔室1024被示为与计量腔室146的上边缘1026交界。存在使延伸腔室1024通气的通气口1028。计量腔室146与延伸腔室1024之间的整个边界是开放的。这可帮助减少在计量腔室146中形成气泡的机会。在一些示例中,延伸腔室1024可具有大于计量腔室146的宽度的宽度。然后,可使用毛细力以将流体保持在计量腔室146中。被标记为1030以及A-A的虚线示出了计量腔室112的横截面视图的位置。横截面A-A 1030与图10中的横截面A-A等效。关于图11描述的细节也适用于图19中的横截面A-A。
等分腔室144可以被示为也具有通气口1028。在这个实施例中,导管进入口1014周围的区域成漏斗状。还可注意的是,等分腔室144被示为不具有锐边缘。当盘状件减速时,锐边缘的缺乏有助于促进流体从等分腔室144移动到导管进入口1014。
等分腔室144还被示为具有至流体连接部1034的连接,流体连接部1034通向过量流体腔室1032。流体连接部1034具有流体连接部进入口1036。流体连接部进入口1036限定等分腔室144中的最大流体液位。等分腔室144中的最大流体液位比导管退出口1016更远离旋转轴线102。在这个示例中,流体连接部1034连接到过量流体腔室1032。阀或毛细阀的使用是可选的。过量流体腔室被示为具有通气口1028,并且其也连接到失效安全腔室1040。当流体流入过量流体腔室1032中时,填充失效安全腔室1040。失效安全腔室1040可用于光学地指示流体是否已进入过量流体腔室1032中。例如,在使用期间,如果失效安全腔室1040未被填充,则其可指示等分腔室144未正确填充有流体。
图20到图26说明了可如何使用计量结构140’来执行对至流体元件150的流体的多次等分。
首先,在图20中,流体已被添加到流体腔室136。然后,使套盒绕旋转轴线102回转。这迫使流体洗涤缓冲液1202穿过第一导管106行进到等分腔室144中。然后,流体1202使等分腔室144和连接导管148的对应的径向向外部分填充有流体。
图21示出了套盒以与图20中所示的速率相同的速率和沿与图20中所示的方向相同的方向1200回转。在图21中,所有流体都已从流体腔室136流出。流体1202可以被示为将连接导管148和等分腔室144填充到由流体连接部进入口1036设定的最大流体液位1300。过多的流体1202可以被示为填充到过量流体腔室1032和失效安全腔室1040中。
接下来,在图22中,盘状件停止或减速到更低的旋转频率。连接导管148和计量腔室146中的毛细作用被示为开始将流体吸取到计量腔室146中。流体1202首先填充计量腔室146的周边或边缘。这是由于图11中所示的渐缩的侧壁1104所致。毛细作用导致首先填充计量腔室146的侧壁部分。这帮助防止气泡形成或依附在计量腔室146内。当套盒迅速减速时,流体1202的惯性也可帮助其进入计量腔室146。
接下来,在图23中,套盒被示为仍是固定不动的,或处于减小的旋转速率,并且计量腔室146完全填充有流体1202。仍可将套盒或盘状件考虑为处于静止。
图24示出如图23中所示的相同视图,除了在计量腔室146中已画出虚线1600之外。计量腔室146中的这条线1600将计量腔室中的流体划分成若干部分或份量。自线1600径向向内(更接近旋转轴线102)的流体体积的一部分或整个流体体积1604可回流到贮器中。径向向外部分(更远离旋转轴线102)或部分1602可转移到流体元件150中。可以将径向向内部分1604称为流体的剩余部分,并且可以将径向向外部分1602称为被转移到流体元件150中的流体部分1602。流体体积1602是可等分的。
接下来,在图25中,盘状件开始加速,并且沿方向1200回转。盘状件加速;这导致毛细阀1021开启。流体的剩余部分1604被转移回到等分腔室144。流体部分1602处于被转移到下游流体元件150的过程中。可以看到一滴流体1202从管状结构1020落下。
接下来,在图26中,可以看到,流体体积1602已完全转移到流体元件150,并且在图26中不再可见。流体的剩余部分1604已被转移回到等分腔室144中,并且与剩余流体1202混合。完成了第一等分步骤;可从图22再次重复该过程,并且可重复该过程直到等分腔室144中的流体体积1202小于计量腔室146的体积。
附图标记列表
100 套盒
102 旋转轴线
104 圆形外边缘
106 平坦外边缘
108 血液入口
110 储存腔室
112 延伸腔室
112’ 延伸腔室
114 通气口
116 失效安全指示器
118 血液分离腔室
120 溢流腔室
122 第一阀结构
124 处理腔室
126 用于试剂的表面
128 第二阀结构
130 测量结构
132 吸收体结构
134 色谱分析膜
136 流体腔室
136’ 流体腔室
138 流体导管
138’ 流体导管
140 计量结构
140’ 计量结构
142 手动填充位置
144 等分腔室
146 计量腔室
148 连接导管
150 流体元件
300 上部分
302 下部分
304 溢流开口
306 虹吸管进入口
308 虹吸管退出口
310 最靠近位置
400 阀元件
402 阀元件
500 第一子腔室
502 第二子腔室
504 中间阀结构
600 血液
602 血液中的分析物
602’ 血浆中的分析物
604 血浆生成
606 将血浆与干的化验试剂混合并且在处理腔室中进行培养
608 捕获抗体
609 运送到测量结构
610 检测抗体
611 分析物特定型结合配偶体复合物
612 血浆跨越膜的运动
614 捕获和检测区
616 仪器控制区
618 化验控制区
620 捕获元素
622 人工分析物谱线
700 医疗系统
702 套盒回转器
704 马达
706 夹具
708 套盒的一部分
710 测量结构
711 致动器
712 光学测量系统
714 控制器
716 硬件接口
718 处理器
720 电子储存装置
722 电子存贮器
724 网络接口
726 网络连接
728 实验室信息系统
730 可执行指令
732 测量值
800 使套盒绕旋转轴线旋转以将血液样品运送到血液分离腔室中
802 控制套盒绕旋转轴线的旋转以通过离心法使血浆与血球血液样品组分分离
804 开启第一阀结构并且使套盒绕旋转轴线旋转以将血浆的限定部分从血液分离腔室运送到处理腔室
806 将血浆的所述部分保持在处理腔室中
808 释放密封,以使得洗涤缓冲液的第一部分能够进入测量结构
810 开启第二阀结构以将至少一种特定型结合配偶体复合物转移到测量结构,以及控制套盒的旋转速率以允许至少一种分析物特定型结合配偶体复合物通过第二阀结构流动到测量结构
812 控制套盒的旋转速率,以允许至少一种分析物特定型结合配偶体复合物以限定的速度跨越膜流动到吸收体结构以及允许至少一种分析物特定型结合配偶体复合物结合到固定化结合配偶体
814 控制套盒的旋转速率以允许洗涤缓冲液的第一部分以限定的速度跨越膜流动到吸收体结构
816 使用膜以及使用光学测量系统来执行测量以用于实现分析物定量
900 套盒处于初始条件下
902 将血液放置到入口中
904 将样品转移到血液分离腔室
906 通过离心法分离出血浆
908 将血浆转移到处理腔室
910 将血浆与试剂混合
912 释放洗涤缓冲液
914 将培养物转移到测量结构
916 对分析物特定型结合配偶体复合物进行色谱分析
918 对洗涤缓冲液进行计量
920 转移洗涤缓冲液
922 对洗涤缓冲液进行色谱分析
924 测量分析物
1014 导管进入口
1016 导管退出口
1018 圆弧
1020 管状结构
1021 阀
1024 延伸腔室
1026 上边缘
1028 通气口
1030 剖切面A-A
1032 过量流体腔室
1034 流体连接部
1036 流体连接部进入口
1038 毛细阀
1040 失效安全腔室
1100 横截面视图A-A
1102 套盒的主体
1104 侧壁
1106 中心区域
1108 盖
1110 支撑结构
1200 旋转的方向
1202 流体
1300 最大流体液位
1600 划分线
1602 流体的一部分
1604 流体的剩余部分。
Claims (13)
1.一种使用套盒(100)来确定血液样品(600)中的分析物(602、602’)的量的方法,其中,所述套盒能够操作以围绕旋转轴线(102)回转,其中,所述套盒包括:
-入口(108),所述入口(108)用于接收所述血液样品;
-血液分离腔室(118),所述血液分离腔室(118)用于使血浆与所述血液样品分离,其中,所述血液分离腔室流体连接到所述入口;
-处理腔室(124),所述处理腔室(124)包含包括至少一种特定型结合配偶体(608、610)的至少一种试剂,所述至少一种特定型结合配偶体(608、610)能够操作以结合到所述分析物从而形成至少一种分析物特定型结合配偶体复合物(611);
-第一阀结构(122),所述第一阀结构(122)将所述血液分离腔室连接到所述处理腔室;
-测量结构(130),所述测量结构(130)用于实现对所述分析物的量的测量,其中,所述测量结构包括色谱分析膜(134),其中,所述色谱分析膜(134)包括用于直接或间接地结合所述分析物或所述至少一种分析物特定型结合配偶体复合物的固定化结合配偶体(620),其中,所述测量结构还包括吸收体结构(132),其中,所述吸收体结构(132)比所述膜更靠近所述旋转轴线;
-第二阀结构(128),所述第二阀结构(128)将所述处理腔室连接到所述测量结构;
-流体腔室(136、136’),所述流体腔室(136、136’)填充有洗涤缓冲液(1202),其中,所述流体腔室流体连接到所述测量结构,其中,密封部将所述洗涤缓冲液保持在所述流体腔室内;
-等分腔室(144);
-流体导管(138),所述流体导管(138)将所述流体腔室与所述等分腔室连接;
-计量腔室(146);
-连接导管(148),所述连接导管(148)将所述计量腔室与所述等分腔室流体连接,其中,所述测量结构经由第三阀结构连接到所述计量腔室;以及
-通气口(114、1028),所述通气口(114、1028)连接到所述计量腔室,其中,所述通气口比所述计量腔室更靠近所述旋转轴线;
其中,所述方法包括以下步骤:
-将所述血液样品放置到所述入口中;
-使所述套盒绕所述旋转轴线旋转以将所述血液样品运送到所述血液分离腔室中;
-控制所述套盒绕所述旋转轴线的旋转以通过离心法使所述血液样品中的血浆与所述血液样品中的血球血液样品组分分离;
-开启所述第一阀结构并且使所述套盒绕所述旋转轴线旋转以将所述血浆的限定部分从所述血液分离腔室运送到所述处理腔室;
-将所述血浆的部分保持在所述处理腔室中,其中,所述血浆与所述试剂混合并与所述至少一种特定型结合配偶体相组合,以形成所述至少一种分析物特定型结合配偶体复合物;
-释放所述密封部,以使得所述洗涤缓冲液的第一部分(1602)能够进入所述测量结构,其中,释放所述密封部的所述步骤使得所述洗涤缓冲液能够进入所述等分腔室;
-控制所述套盒的旋转速率以准许所述等分腔室中的所述洗涤缓冲液转移到所述连接导管中并且第一次填充所述计量腔室;
-开启所述第二阀结构以将所述至少一种分析物特定型结合配偶体复合物转移到所述测量结构,以及控制所述套盒的旋转速率以允许所述至少一种分析物特定型结合配偶体复合物通过所述第二阀结构流动到所述测量结构;
-控制所述套盒的旋转速率,以允许所述至少一种分析物特定型结合配偶体复合物以限定的速度跨越所述膜流动到所述吸收体结构以及允许所述至少一种分析物特定型结合配偶体复合物结合到所述固定化结合配偶体;
-控制所述套盒的旋转速率,以将所述洗涤缓冲液的第一部分从所述计量腔室通过所述第三阀结构转移到所述测量结构中并且将第一剩余部分转移回到所述等分腔室中;
-控制所述套盒的旋转速率以允许所述洗涤缓冲液的第一部分以限定的速度跨越所述膜流动到所述吸收体结构;
-控制所述套盒的旋转速率以允许所述等分腔室中的所述洗涤缓冲液转移到所述连接导管中并且第二次填充所述计量腔室;
-控制所述套盒的旋转速率,以将所述洗涤缓冲液的第二部分从所述计量腔室通过所述第三阀结构转移到所述测量结构中并且将第二剩余部分转移回到所述等分腔室中;
-控制所述套盒的旋转速率以允许所述洗涤缓冲液的第二部分跨越所述膜流动到所述吸收体结构;以及
-使用所述膜并且使用光学测量系统(712)来测量所述分析物的量。
2.根据权利要求1所述的方法,其中,所述方法还包括:
-控制所述套盒的旋转速率以准许所述等分腔室中的洗涤缓冲液转移到所述连接导管中并且第三次填充所述计量腔室;
-增加所述套盒的旋转速率,以将所述洗涤缓冲液的第三部分从所述计量腔室通过所述第三阀结构转移到所述测量结构中并且将第三剩余部分转移回到所述等分腔室中;以及
-控制所述套盒的旋转速率,以在执行所述测量之前允许所述洗涤缓冲液的第三部分跨越所述膜流动到所述吸收体结构。
3.根据前述权利要求中的任一项所述的方法,其中,所述至少一种试剂中的每一者是干的。
4.一种医疗系统(700),其中,所述医疗系统包括套盒,其中,所述套盒能够操作以围绕旋转轴线(102)回转,其中,所述套盒包括:
-入口(108),所述入口(108)用于接收血液样品(600);
-血液分离腔室(118),所述血液分离腔室(118)用于使血浆与所述血液样品分离,其中,所述血液分离腔室流体连接到所述入口;
-处理腔室(124),所述处理腔室(124)包含包括至少一种特定型结合配偶体(608、610)的至少一种试剂,所述至少一种特定型结合配偶体(608、610)能够操作以结合到分析物(602、602’)从而形成至少一种分析物特定型结合配偶体复合物(611);
-第一阀结构(122),所述第一阀结构(122)将所述血液分离腔室连接到所述处理腔室;
-测量结构(130),所述测量结构(130)用于实现对所述分析物的量的测量,其中,所述测量结构包括色谱分析膜(134),其中,所述色谱分析膜(134)包括用于直接或间接地结合所述分析物或所述至少一种分析物特定型结合配偶体复合物的固定化结合配偶体(620),其中,所述测量结构还包括吸收体结构(132),其中,所述吸收体结构比所述膜更靠近所述旋转轴线;
-第二阀结构(128),所述第二阀结构(128)将所述处理腔室连接到所述测量结构;
-流体腔室(136、136’),所述流体腔室(136、136’)填充有洗涤缓冲液(1202),其中,所述流体腔室流体连接到所述测量结构,其中,密封部将所述洗涤缓冲液保持在所述流体腔室内;
-等分腔室(144);
-流体导管(138),所述流体导管(138)将所述流体腔室与所述等分腔室连接;
-计量腔室(146);
-连接导管(148),所述连接导管(148)将所述计量腔室与所述等分腔室流体连接,其中,所述测量结构经由流体元件(150)连接到所述计量腔室;以及
-通气口(114、1028),所述通气口(114、1028)连接到所述计量腔室,其中,所述通气口比所述计量腔室更靠近所述旋转轴线。
5.根据权利要求4所述的医疗系统,其中,所述计量腔室具有侧壁(1104)和中心区域(1106),其中,所述侧壁远离所述中心区域渐缩,并且其中,在所述计量腔室的所述侧壁近旁的毛细作用大于所述计量腔室的所述中心区域中的毛细作用。
6.根据权利要求4或5所述的医疗系统,其中,所述计量腔室能够操作以导致流体使用毛细作用来填充所述计量腔室,其中,所述连接导管包括在所述等分腔室中的导管进入口(1014),其中,所述连接导管还包括在所述计量腔室中的导管退出口(1016),其中,所述导管退出口比所述导管进入口更接近所述旋转轴线,并且其中,所述连接导管能够操作以导致流体使用毛细作用流动到所述计量腔室。
7.根据权利要求4或5所述的医疗系统,其中,所述连接导管包括在所述等分腔室中的导管进入口(1014),其中,所述连接导管还包括在所述计量腔室中的导管退出口(1016),并且其中,绕所述旋转轴线的圆弧(1018)穿过所述导管进入口与所述导管退出口两者。
8.根据权利要求4或5所述的医疗系统,其中,所述第一阀结构是第一虹吸管,其中,所述套盒还包括连接到所述血液分离腔室的溢流腔室(120),其中,所述溢流腔室包括开口(304),其中,所述第一虹吸管包括在所述血液分离腔室中的虹吸管进入口(306),其中,所述第一虹吸管包括在所述处理腔室中的虹吸管退出口(308),其中,所述开口比所述虹吸管退出口更接近所述旋转轴线,其中,所述虹吸管退出口比所述虹吸管进入口更接近所述旋转轴线。
9.根据权利要求4或5所述的医疗系统,其中,所述处理腔室包括至少两个子处理腔室(500、502),其中,所述至少两个子处理腔室中的每一者被中间的第一阀结构(122)流体连接,其中,所述处理腔室包含两种或更多种试剂,其中,所述至少两个子处理腔室中的每一者包含所述两种或更多种试剂的一部分。
10.根据权利要求4或5所述的医疗系统,其中,所述医疗系统还包括用于控制所述套盒绕所述旋转轴线的旋转的套盒回转器(702),其中,所述医疗系统还包括:存贮器(722),所述存贮器(722)用于储存机器可执行指令(730);以及处理器(718),所述处理器(718)用于控制所述医疗系统,其中,所述机器可执行指令的执行导致所述处理器:
-通过控制所述套盒回转器来使所述套盒绕所述旋转轴线旋转,以将所述血液样品运送到所述血液分离腔室中;
-通过控制所述套盒回转器来控制所述套盒绕所述旋转轴线的旋转,以通过离心法使所述血液样品中的血浆与所述血液样品中的血球血液样品组分分离;
-通过控制所述套盒回转器来开启所述第一阀结构并且使所述套盒绕所述旋转轴线旋转以将所述血浆的限定部分从所述血液分离腔室至少部分地运送到所述处理腔室;
-通过控制所述套盒回转器来将所述血浆的所述部分保持在所述处理腔室中,其中,所述血浆与所述试剂混合并与所述至少一种特定型结合配偶体相组合,以形成所述至少一种分析物特定型结合配偶体复合物;
-释放所述密封部,以使得所述洗涤缓冲液的第一部分能够进入所述测量结构;
-通过控制所述套盒回转器来开启所述第二阀结构以将所述至少一种分析物特定型结合配偶体复合物转移到所述测量结构,以及控制所述套盒的旋转速率以允许所述至少一种分析物特定型结合配偶体复合物通过所述第二阀结构至少部分地流动到所述测量结构;
-通过控制所述套盒回转器来控制所述套盒的旋转速率,以允许所述至少一种分析物特定型结合配偶体复合物以限定的速度跨越所述膜流动到所述吸收体结构以及允许所述至少一种分析物特定型结合配偶体复合物结合到所述固定化结合配偶体;
-通过控制所述套盒回转器来控制所述套盒的旋转速率以允许所述洗涤缓冲液的第一部分以限定的速度跨越所述膜流动到所述吸收体结构;
-使用所述膜并且通过控制光学测量系统来测量所述分析物的量。
11.根据权利要求10所述的医疗系统,其中,所述医疗系统还包括密封开启器(711),其中,所述机器可执行指令的执行导致所述处理器控制所述密封开启器以:在降低所述套盒的旋转速率之前释放密封部以使得所述洗涤缓冲液能够进入所述等分腔室,从而准许所述等分腔室中的洗涤缓冲液转移到所述连接导管中并且第一次填充所述计量腔室。
12.根据权利要求10所述的医疗系统,其中,所述医疗系统还包括用于使用所述色谱分析膜来执行所述测量的光学测量系统(712)。
13.根据权利要求4、5、11以及12中的任一项所述的医疗系统,其中,所述医疗系统还包括用于将所述套盒的温度维持在预定的温度范围内的温度控制器。
Applications Claiming Priority (3)
| Application Number | Priority Date | Filing Date | Title |
|---|---|---|---|
| EP15196519.1A EP3173149A1 (en) | 2015-11-26 | 2015-11-26 | Determining a quantity of an analyte in a blood sample |
| EP15196519.1 | 2015-11-26 | ||
| PCT/EP2016/078916 WO2017089599A1 (en) | 2015-11-26 | 2016-11-25 | Determining a quantity of an analyte in a blood sample |
Publications (2)
| Publication Number | Publication Date |
|---|---|
| CN108136397A CN108136397A (zh) | 2018-06-08 |
| CN108136397B true CN108136397B (zh) | 2020-07-10 |
Family
ID=54838162
Family Applications (1)
| Application Number | Title | Priority Date | Filing Date |
|---|---|---|---|
| CN201680062895.9A Active CN108136397B (zh) | 2015-11-26 | 2016-11-25 | 确定血液样品中的分析物的量的方法以及医疗系统 |
Country Status (7)
| Country | Link |
|---|---|
| US (2) | US11000848B2 (zh) |
| EP (2) | EP3173149A1 (zh) |
| JP (1) | JP6790081B2 (zh) |
| KR (1) | KR101931071B1 (zh) |
| CN (1) | CN108136397B (zh) |
| ES (1) | ES2753624T3 (zh) |
| WO (1) | WO2017089599A1 (zh) |
Families Citing this family (19)
| Publication number | Priority date | Publication date | Assignee | Title |
|---|---|---|---|---|
| WO2014062719A2 (en) | 2012-10-15 | 2014-04-24 | Nanocellect Biomedical, Inc. | Systems, apparatus, and methods for sorting particles |
| EP3184158B1 (en) * | 2015-12-21 | 2019-01-16 | Roche Diagniostics GmbH | Blood collector with capillary structure |
| CA3045457A1 (en) * | 2016-12-01 | 2018-06-07 | Novel Microdevices, Llc | Automated point-of-care devices for complex sample processing and methods of use thereof |
| KR102137306B1 (ko) | 2017-11-20 | 2020-07-23 | 주식회사 엘지화학 | 회전식 디스크 시스템을 활용한 중금속 정성 및 정량 분석 디바이스 및 분석 방법 |
| KR101891968B1 (ko) * | 2018-05-30 | 2018-08-27 | 티엔에스(주) | 하이브리드 유전자칩 |
| JP7496368B2 (ja) * | 2019-03-12 | 2024-06-06 | ノヴィラクス エルエルシー | 診療地点濃度分析器 |
| WO2020204232A1 (ko) * | 2019-04-04 | 2020-10-08 | 바이오뱅크 주식회사 | 생화학검사와 혈액검사를 동시에 수행하는 멀티시스템 및 이에 사용되는 멀티디스크 |
| CN112834763B (zh) * | 2019-11-22 | 2025-03-25 | 京东方科技集团股份有限公司 | 检测芯片及检测系统 |
| CN113617401B (zh) * | 2020-05-08 | 2023-06-06 | 浙江普施康生物科技有限公司 | 离心式检测流道、检测装置及检测方法 |
| CN111537708A (zh) * | 2020-06-11 | 2020-08-14 | 烟台芥子生物技术有限公司 | 微流控检测结构及其应用 |
| US12434235B2 (en) | 2020-07-22 | 2025-10-07 | Skyla Corporation | Cartridge and biological detection system |
| CN114100212B (zh) * | 2021-12-07 | 2023-03-31 | 江西华兴四海机械设备有限公司 | 水洗废液回收装置 |
| CN116930489A (zh) * | 2022-04-01 | 2023-10-24 | 广东菲鹏生物有限公司 | 层析试纸条、检测试剂盒及方法 |
| CN117080346A (zh) * | 2022-12-30 | 2023-11-17 | 天马新型显示技术研究院(厦门)有限公司 | 发光元件封装结构、显示面板、显示装置以及制备方法 |
| WO2024185437A1 (ja) * | 2023-03-09 | 2024-09-12 | 学校法人早稲田大学 | 分析チップ、検体の分析方法および検体分析システム |
| WO2025022292A1 (en) * | 2023-07-21 | 2025-01-30 | Vital Biosciences Inc. | Methods and devices for biological sample preparation and microscopic analysis |
| WO2025083614A1 (en) * | 2023-10-19 | 2025-04-24 | Vital Biosciences Inc. | Devices, systems, and methods for optical analysis of biological samples |
| WO2025132558A1 (fr) * | 2023-12-21 | 2025-06-26 | Commissariat A L'energie Atomique Et Aux Energies Alternatives | Collecteur d'échantillons liquides sur papier pour des systèmes microfluidiques, système microfluidique associé |
| WO2025184193A1 (en) * | 2024-02-27 | 2025-09-04 | Aridica Corporation | Pbmc separation systems and methods of use |
Citations (3)
| Publication number | Priority date | Publication date | Assignee | Title |
|---|---|---|---|---|
| WO1993008893A1 (en) * | 1991-10-29 | 1993-05-13 | Abaxis, Inc. | Sample metering port for analytical rotor |
| EP2302396A1 (en) * | 2008-07-17 | 2011-03-30 | Panasonic Corporation | Analyzing device, and analyzing method using the analyzing device |
| CN103480438A (zh) * | 2012-06-12 | 2014-01-01 | 奥索临床诊断有限公司 | 用于临床诊断设备中的侧向流测定装置和使用它们的临床诊断设备的构型 |
Family Cites Families (14)
| Publication number | Priority date | Publication date | Assignee | Title |
|---|---|---|---|---|
| US5320808A (en) * | 1988-08-02 | 1994-06-14 | Abbott Laboratories | Reaction cartridge and carousel for biological sample analyzer |
| US5160702A (en) * | 1989-01-17 | 1992-11-03 | Molecular Devices Corporation | Analyzer with improved rotor structure |
| AU5895898A (en) * | 1996-12-20 | 1998-07-17 | Gamera Bioscience Corporation | An affinity binding-based system for detecting particulates in a fluid |
| JP4095886B2 (ja) * | 2002-05-08 | 2008-06-04 | 株式会社日立ハイテクノロジーズ | 化学分析装置及び遺伝子診断装置 |
| US7384602B2 (en) | 2002-05-08 | 2008-06-10 | Hitachi High-Technologies Corporation | Chemical analysis apparatus and genetic diagnostic apparatus |
| EP1916524A1 (de) * | 2006-09-27 | 2008-04-30 | Roche Diagnostics GmbH | Rotierbares Testelement |
| US8534319B2 (en) * | 2007-03-02 | 2013-09-17 | Universite Laval | Serial siphon valves for fluidic or microfluidic devices |
| EP2062643B1 (de) | 2007-11-24 | 2012-01-18 | Roche Diagnostics GmbH | Analysesystem und Verfahren zur Analyse einer Körperflüssigkeitsprobe auf einen darin enthaltenen Analyten |
| US7854893B2 (en) | 2008-03-28 | 2010-12-21 | Panasonic Corporation | Analysis device and an analysis apparatus using the analysis device |
| WO2010038952A2 (en) * | 2008-10-01 | 2010-04-08 | Samsung Electronics Co., Ltd., | Centrifugal-based microfluid apparatus, method of fabricationg the same, and method of testing samples using the microfluidic apparatus |
| JP2010243373A (ja) * | 2009-04-08 | 2010-10-28 | Panasonic Corp | 分析用デバイスにおける分析方法と分析装置 |
| EP2329877A1 (de) | 2009-12-04 | 2011-06-08 | Roche Diagnostics GmbH | Mikrofluidisches Element zur Analyse einer Flüssigkeitsprobe |
| DE102010013752A1 (de) | 2010-03-31 | 2011-10-06 | Roche Diagnostics Gmbh | Multifunktionelle Detektionsküvette |
| EP2944965A1 (en) * | 2014-05-13 | 2015-11-18 | Roche Diagnostics GmbH | Rotatable cartridge for measuring a property of a biological sample |
-
2015
- 2015-11-26 EP EP15196519.1A patent/EP3173149A1/en not_active Ceased
-
2016
- 2016-11-25 EP EP16801508.9A patent/EP3380236B1/en active Active
- 2016-11-25 WO PCT/EP2016/078916 patent/WO2017089599A1/en not_active Ceased
- 2016-11-25 KR KR1020187011728A patent/KR101931071B1/ko active Active
- 2016-11-25 ES ES16801508T patent/ES2753624T3/es active Active
- 2016-11-25 JP JP2018516123A patent/JP6790081B2/ja active Active
- 2016-11-25 CN CN201680062895.9A patent/CN108136397B/zh active Active
-
2018
- 2018-05-17 US US15/982,009 patent/US11000848B2/en active Active
-
2021
- 2021-04-13 US US17/229,086 patent/US12194466B2/en active Active
Patent Citations (4)
| Publication number | Priority date | Publication date | Assignee | Title |
|---|---|---|---|---|
| WO1993008893A1 (en) * | 1991-10-29 | 1993-05-13 | Abaxis, Inc. | Sample metering port for analytical rotor |
| EP2302396A1 (en) * | 2008-07-17 | 2011-03-30 | Panasonic Corporation | Analyzing device, and analyzing method using the analyzing device |
| CN102981004A (zh) * | 2008-07-17 | 2013-03-20 | 松下电器产业株式会社 | 分析用器件及使用该分析用器件的分析方法 |
| CN103480438A (zh) * | 2012-06-12 | 2014-01-01 | 奥索临床诊断有限公司 | 用于临床诊断设备中的侧向流测定装置和使用它们的临床诊断设备的构型 |
Also Published As
| Publication number | Publication date |
|---|---|
| EP3380236A1 (en) | 2018-10-03 |
| EP3380236B1 (en) | 2019-08-28 |
| US11000848B2 (en) | 2021-05-11 |
| EP3173149A1 (en) | 2017-05-31 |
| KR20180057706A (ko) | 2018-05-30 |
| US20180264471A1 (en) | 2018-09-20 |
| US12194466B2 (en) | 2025-01-14 |
| JP6790081B2 (ja) | 2020-11-25 |
| KR101931071B1 (ko) | 2018-12-19 |
| JP2019500576A (ja) | 2019-01-10 |
| ES2753624T3 (es) | 2020-04-13 |
| WO2017089599A1 (en) | 2017-06-01 |
| CN108136397A (zh) | 2018-06-08 |
| US20210229098A1 (en) | 2021-07-29 |
Similar Documents
| Publication | Publication Date | Title |
|---|---|---|
| CN108136397B (zh) | 确定血液样品中的分析物的量的方法以及医疗系统 | |
| US10416054B2 (en) | Blood collector with capillary structure | |
| US10086373B2 (en) | Cartridge with a rotatable lid | |
| JP6494658B2 (ja) | 生体試料を分析するための回転可能カートリッジ | |
| US10677809B2 (en) | Rotatable cartridge with multiple metering chambers | |
| JP6604966B2 (ja) | 生体試料を処理および分析するための回転可能カートリッジ | |
| KR101869184B1 (ko) | 생체 샘플의 특성을 측정하기 위한 회전가능한 카트리지 | |
| CN106489072A (zh) | 具有计量室的用于分析生物样品的旋转筒 | |
| EP4023338B1 (en) | Cartridge and optical measurement of an analyte with said cartridge |
Legal Events
| Date | Code | Title | Description |
|---|---|---|---|
| PB01 | Publication | ||
| PB01 | Publication | ||
| SE01 | Entry into force of request for substantive examination | ||
| SE01 | Entry into force of request for substantive examination | ||
| GR01 | Patent grant | ||
| GR01 | Patent grant |