CN108022457B - An interesting punishment device for teaching classrooms - Google Patents
An interesting punishment device for teaching classrooms Download PDFInfo
- Publication number
- CN108022457B CN108022457B CN201711286616.XA CN201711286616A CN108022457B CN 108022457 B CN108022457 B CN 108022457B CN 201711286616 A CN201711286616 A CN 201711286616A CN 108022457 B CN108022457 B CN 108022457B
- Authority
- CN
- China
- Prior art keywords
- support
- switch
- gear
- rod
- ball
- Prior art date
- Legal status (The legal status is an assumption and is not a legal conclusion. Google has not performed a legal analysis and makes no representation as to the accuracy of the status listed.)
- Active
Links
- 239000004033 plastic Substances 0.000 claims abstract description 40
- 230000005540 biological transmission Effects 0.000 claims abstract description 38
- 230000002146 bilateral effect Effects 0.000 claims 1
- 230000000694 effects Effects 0.000 abstract description 4
- 230000006378 damage Effects 0.000 description 6
- 238000010586 diagram Methods 0.000 description 5
- 208000027418 Wounds and injury Diseases 0.000 description 3
- 230000005484 gravity Effects 0.000 description 3
- 208000014674 injury Diseases 0.000 description 3
- 238000000034 method Methods 0.000 description 3
- 230000009286 beneficial effect Effects 0.000 description 1
- 238000012986 modification Methods 0.000 description 1
- 230000004048 modification Effects 0.000 description 1
- 238000006467 substitution reaction Methods 0.000 description 1
Images
Classifications
-
- G—PHYSICS
- G09—EDUCATION; CRYPTOGRAPHY; DISPLAY; ADVERTISING; SEALS
- G09B—EDUCATIONAL OR DEMONSTRATION APPLIANCES; APPLIANCES FOR TEACHING, OR COMMUNICATING WITH, THE BLIND, DEAF OR MUTE; MODELS; PLANETARIA; GLOBES; MAPS; DIAGRAMS
- G09B3/00—Manually or mechanically operated teaching appliances working with questions and answers
Landscapes
- Engineering & Computer Science (AREA)
- Business, Economics & Management (AREA)
- Physics & Mathematics (AREA)
- Educational Administration (AREA)
- Educational Technology (AREA)
- General Physics & Mathematics (AREA)
- Theoretical Computer Science (AREA)
- Toys (AREA)
Abstract
本发明涉及一种惩罚设备,尤其涉及一种教学课堂用趣味惩罚设备。本发明要解决的技术问题是提供一种教学课堂用趣味惩罚设备。为了解决上述技术问题,本发明提供了这样一种教学课堂用趣味惩罚设备,包括有底板、支架、支撑板等;底板上中间设有支架,支架顶部设有支撑板,支撑板底部中间设有传动机构,支撑板右侧下部设有固定机构,传动机构下侧设有圆球,圆球与固定机构接触,传动机构上侧设有固定块,固定块底端设有塑料板,底板上右侧设有第一开关。本发明达到了不会导致学生留下阴影和能让老师和学生之间的关系不会更加疏远的效果,上下两方的夹子相向运动能够将圆球固定住,此举能够在未使用本设备时圆球固定在下方,使用时能够更加方便。
The invention relates to a punishment device, in particular to an interesting punishment device for teaching classrooms. The technical problem to be solved by the present invention is to provide a fun punishment device for teaching classrooms. In order to solve the above-mentioned technical problems, the present invention provides such a fun punishment device for teaching classrooms, including a bottom plate, a bracket, a support plate, etc.; The transmission mechanism, the lower part of the right side of the support plate is provided with a fixing mechanism, the lower side of the transmission mechanism is provided with a ball, the ball is in contact with the fixing mechanism, the upper side of the transmission mechanism is provided with a fixing block, the bottom end of the fixing block is provided with a plastic plate, and the bottom right A first switch is provided on the side. The invention achieves the effect of not causing students to leave shadows and making the relationship between teachers and students less distant. The upper and lower clips can move towards each other to fix the ball, which can be used when the device is not used. When the ball is fixed below, it is more convenient to use.
Description
技术领域technical field
本发明涉及一种惩罚设备,尤其涉及一种教学课堂用趣味惩罚设备。The invention relates to a punishment device, in particular to an interesting punishment device for teaching classes.
背景技术Background technique
教学是教师的教和学生的学所组成的一种人类特有的人才培养活动。通过这种活动,教师有目的、有计划、有组织地引导学生学习和掌握文化科学知识和技能,促进学生素质提高,使他们成为社会所需要的人。课堂是学生学习的场所,或课堂是育人的主渠道,课堂是一种有结构的时期,学生在这个时期打算学习知识。教师或导师会在上课时,教导最少一个学生,甚至更多的。Teaching is a kind of human-specific talent training activity composed of teachers' teaching and students' learning. Through this kind of activity, teachers guide students to learn and master cultural and scientific knowledge and skills in a purposeful, planned and organized way, and promote the improvement of students' quality, so that they can become people needed by society. The classroom is the place where students learn, or the classroom is the main channel for educating people. The classroom is a structured period in which students intend to learn knowledge. A teacher or tutor will teach at least one student, or even more, during a class.
趣味惩罚,惩罚通常表示惩戒、责罚、处罚。或者施加鞭鞑或体罚使之服贴、受辱或以苦行赎罪。但趣味惩罚的意义就是让某人能够因为某事受到惩罚,但是不会在身心上留下痛苦或者阴影。Fun punishment, punishment usually means punishment, punishment, punishment. Or flogging or corporal punishment to subdue, humiliate, or atone for penance. But the meaning of fun punishment is to allow someone to be punished for something without leaving pain or shadows on the body and mind.
在平常的教学中,老师通常都会在课堂上点名一些同学回答问题或者去黑板上答题,但有时候学生们会答不出老师的问题,老师就会对学生做一些相应的惩罚,来告诫学生,但是有些老师会使用体罚等之类的惩罚,存在会导致学生留下阴影和让老师和学生之间的关系更加疏远的缺点,因此亟需研发一种不会导致学生留下阴影和能让老师和学生之间的关系不会更加疏远的教学课堂用趣味惩罚设备。In ordinary teaching, teachers usually name some students in class to answer questions or go to the blackboard to answer questions, but sometimes the students can't answer the teacher's questions, and the teacher will punish the students accordingly to warn the students , but some teachers will use corporal punishment and other punishments, which have the disadvantage of causing shadows on students and making the relationship between teachers and students more distant. The relationship between teacher and student will not be more alienated in teaching classrooms with fun punishment devices.
发明内容SUMMARY OF THE INVENTION
(1)要解决的技术问题(1) Technical problems to be solved
本发明为了克服有些老师会使用体罚等之类的惩罚,存在会导致学生留下阴影和让老师和学生之间的关系更加疏远的缺点,本发明要解决的技术问题是提供一种教学课堂用趣味惩罚设备。In order to overcome some teachers using corporal punishment and other punishments, the present invention has the disadvantage of causing shadows on students and making the relationship between teachers and students more distant. Fun punishment device.
(2)技术方案(2) Technical solutions
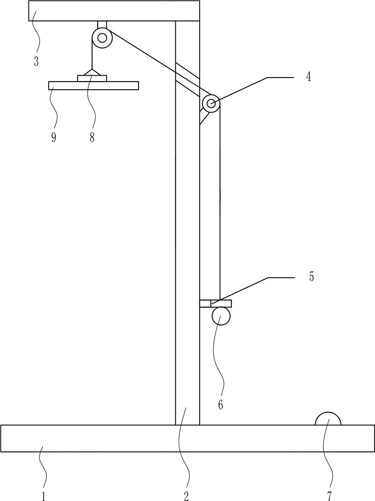
为了解决上述技术问题,本发明提供了这样一种教学课堂用趣味惩罚设备,包括有底板、支架、支撑板、传动机构、固定机构、圆球、第一开关、固定块和塑料板,底板上中间设有支架,支架顶部设有支撑板,支撑板底部中间设有传动机构,支撑板右侧下部设有固定机构,传动机构下侧设有圆球,圆球与固定机构接触,传动机构上侧设有固定块,固定块底端设有塑料板,底板上右侧设有第一开关。In order to solve the above technical problems, the present invention provides such a fun punishment device for teaching classrooms, which includes a base plate, a bracket, a support plate, a transmission mechanism, a fixing mechanism, a ball, a first switch, a fixing block and a plastic plate. A bracket is arranged in the middle, a support plate is arranged on the top of the bracket, a transmission mechanism is arranged in the middle of the bottom of the support plate, a fixing mechanism is arranged at the lower part of the right side of the support plate, and a ball is arranged on the lower side of the transmission mechanism. A fixing block is arranged on the side, a plastic plate is arranged at the bottom end of the fixing block, and a first switch is arranged on the right side of the bottom plate.
优选地,传动机构包括有第一支杆、第一导向轮、第二支杆、第二导向轮和拉绳,支撑板底部中间设有第一支杆,第一支杆下端设有第一导向轮,支架右侧上部设有第二支杆,第二支杆上端设有第二导向轮,支架上部开有第一通孔,第一通孔位于第二支杆上方,第一导向轮和第二导向轮上绕有拉绳,拉绳穿过第一通孔,拉绳上端与固定块上端连接,拉绳下端与圆球上端连接。Preferably, the transmission mechanism includes a first support rod, a first guide wheel, a second support rod, a second guide wheel and a pull rope, a first support rod is provided in the middle of the bottom of the support plate, and a first support rod is provided at the lower end of the first support rod Guide wheel, the upper right side of the bracket is provided with a second support rod, the upper end of the second support rod is provided with a second guide wheel, the upper part of the support is provided with a first through hole, the first through hole is located above the second support rod, the first guide wheel A pull rope is wound around the second guide wheel, the pull rope passes through the first through hole, the upper end of the pull rope is connected with the upper end of the fixing block, and the lower end of the pull rope is connected with the upper end of the ball.
优选地,固定机构包括有连接块、第一电机、第一转轴、第一齿轮、第一轴承座、第二转轴、第二齿轮和夹子,支架右侧下部设有连接块,连接块顶部右侧后部设有第一电机,第一电机的输出轴上设有第一转轴,第一转轴上端设有第一齿轮,连接块顶部右侧前部设有第一轴承座,第一轴承座上安装有第二转轴,第二转轴上端设有第二齿轮,第二齿轮和第一齿轮啮合,第二齿轮和第一齿轮右端对称设有夹子。Preferably, the fixing mechanism includes a connecting block, a first motor, a first rotating shaft, a first gear, a first bearing seat, a second rotating shaft, a second gear and a clip, the lower part of the right side of the bracket is provided with a connecting block, and the top of the connecting block is on the right A first motor is arranged on the rear side of the side, a first rotating shaft is arranged on the output shaft of the first motor, a first gear is arranged on the upper end of the first rotating shaft, and a first bearing seat is arranged on the front right side of the top of the connecting block. A second rotating shaft is installed on the upper end of the second rotating shaft, a second gear is arranged on the upper end of the second rotating shaft, the second gear meshes with the first gear, and a clip is symmetrically arranged on the right end of the second gear and the first gear.
优选地,还包括有第二轴承座、丝杆、第二电机和螺母,支架右侧下部开有凹槽,凹槽内左壁上下对称设有第二轴承座,上下两方的第二轴承座上安装有丝杆,凹槽内顶部设有第二电机,丝杆上端与第二电机的输出轴连接,丝杆上设有螺母,螺母右端与连接块左端连接。Preferably, it also includes a second bearing seat, a screw rod, a second motor and a nut, a groove is formed on the lower part of the right side of the bracket, a second bearing seat is symmetrically arranged on the left wall in the groove, and the second bearing on the upper and lower sides is symmetrical. A screw rod is installed on the seat, a second motor is arranged on the top of the groove, the upper end of the screw rod is connected with the output shaft of the second motor, a nut is arranged on the screw rod, and the right end of the nut is connected with the left end of the connecting block.
优选地,还包括有固定杆、第二开关、电铃、弹簧、触碰块和触碰杆,支架右侧下部设有固定杆,固定杆位于连接块上方,固定杆中部开有第二通孔,拉绳穿过第二通孔,固定杆底端左侧设有第二开关,支撑板底部左侧设有电铃,固定杆底部左右对称设有弹簧,第二开关位于左右两方弹簧之间,左右两方弹簧下端设有触碰块,圆球左右两侧对称设有触碰杆。Preferably, it also includes a fixing rod, a second switch, an electric bell, a spring, a touch block and a touch rod, a fixing rod is arranged on the lower part of the right side of the bracket, the fixing rod is located above the connecting block, and a second through hole is opened in the middle of the fixing rod , the pull rope passes through the second through hole, a second switch is arranged on the left side of the bottom end of the fixing rod, an electric bell is arranged on the left side of the bottom of the support plate, and a spring is symmetrically arranged at the bottom of the fixing rod, and the second switch is located between the left and right springs , the lower ends of the left and right springs are provided with touch blocks, and the left and right sides of the ball are symmetrically provided with touch rods.
优选地,还包括有支撑杆和放置块,底板上右侧设有支撑杆,支撑杆上端设有放置块,放置块上端与第一开关底部连接。Preferably, it also includes a support rod and a placement block, a support rod is provided on the right side of the bottom plate, a placement block is provided on the upper end of the support rod, and the upper end of the placement block is connected to the bottom of the first switch.
优选地,还包括有橡胶垫,塑料板底部设有橡胶垫。Preferably, a rubber pad is also included, and the bottom of the plastic plate is provided with a rubber pad.
工作原理:在平常的课堂上,老师通常都会因为学生没有答对题目而做出相应的惩罚,好让学生铭记,也可以作为一种激励方式来让学生学习,由此需要用到本设备,当老师需要惩罚学生时,老师让学生站在塑料板下,由于第一开关与固定机构通过电路连接,然后老师用脚向下踩第一开关,使得第一开关打开带动固定机构打开,固定机构打开使得塑料板由于重力通过传动机构向下移动,塑料板向下移动使得圆球向上移动,从而使得塑料板向下移动能够敲击学生头部,此举能够有效的惩罚学生,并且不会对学生造成伤害,然后老师将圆球向下移动,圆球向下移动通过传动机构带动塑料板向上移动,然后老师再向下踩第一开关,第一开关关闭带动固定机构将圆球固定,方便下一次的使用。How it works: In ordinary classrooms, teachers usually punish students for not answering questions correctly, so that students can remember it, and it can also be used as a way to motivate students to learn. When the teacher needs to punish the students, the teacher asks the students to stand under the plastic board. Since the first switch is connected to the fixing mechanism through a circuit, the teacher then steps down on the first switch with his foot, so that the opening of the first switch drives the fixing mechanism to open, and the fixing mechanism opens. Make the plastic plate move downward through the transmission mechanism due to gravity, and the plastic plate moves downward to make the ball move upward, so that the downward movement of the plastic plate can hit the student's head, which can effectively punish the student and will not harm the student. Inflict damage, and then the teacher moves the ball down, the ball moves down through the transmission mechanism to drive the plastic plate to move up, and then the teacher steps down the first switch, the first switch is turned off, and the fixing mechanism is used to fix the ball, which is convenient for lowering. one use.
因为传动机构包括有第一支杆、第一导向轮、第二支杆、第二导向轮和拉绳,支撑板底部中间设有第一支杆,第一支杆下端设有第一导向轮,支架右侧上部设有第二支杆,第二支杆上端设有第二导向轮,支架上部开有第一通孔,第一通孔位于第二支杆上方,第一导向轮和第二导向轮上绕有拉绳,拉绳穿过第一通孔,拉绳上端与固定块上端连接,拉绳下端与圆球上端连接,所以当圆球未被固定时,塑料板由于自身重力向下移动,塑料板向下移动带动拉绳左方向下移动和右方向上移动,第一导向轮和第二导向轮能够对拉绳做导向运动,从而使得塑料板能够向下移动,当圆球向下移动时,圆球向下移动带动拉绳右方向下移动和拉绳左方向上移动,拉绳左方向上移动带动塑料板向上移动,从而使得塑料板能够向上移动回原位,方便接下来的使用。Because the transmission mechanism includes a first support rod, a first guide wheel, a second support rod, a second guide wheel and a pull rope, a first support rod is provided in the middle of the bottom of the support plate, and a first guide wheel is provided at the lower end of the first support rod , the upper right side of the bracket is provided with a second support rod, the upper end of the second support rod is provided with a second guide wheel, the upper part of the support is provided with a first through hole, the first through hole is located above the second support rod, the first guide wheel and the A pull rope is wound around the second guide wheel, the pull rope passes through the first through hole, the upper end of the pull rope is connected to the upper end of the fixing block, and the lower end of the pull rope is connected to the upper end of the ball. Moving down, the downward movement of the plastic plate drives the pull rope to move downward in the left direction and upward in the right direction. The first guide wheel and the second guide wheel can guide the pull rope, so that the plastic plate can move downward. When the ball moves downward, the downward movement of the ball drives the pull rope to move downward in the right direction and the pull rope moves upward in the left direction. next use.
因为固定机构包括有连接块、第一电机、第一转轴、第一齿轮、第一轴承座、第二转轴、第二齿轮和夹子,支架右侧下部设有连接块,连接块顶部右侧后部设有第一电机,第一电机的输出轴上设有第一转轴,第一转轴上端设有第一齿轮,连接块顶部右侧前部设有第一轴承座,第一轴承座上安装有第二转轴,第二转轴上端设有第二齿轮,第二齿轮和第一齿轮啮合,第二齿轮和第一齿轮右端对称设有夹子,所以当人们需要将圆球固定住时,老师可以向下踩第一开关,使得第一开关打开带动第一电机正方向转动,第一电机正方向转动带动第一转轴正方向转动,第一转轴正方向转动带动第一齿轮正方向转动,第一齿轮正方向转动带动第二齿轮反方向转动,第一齿轮正方向转动和第二齿轮反方向转动使得上下两方的夹子相向运动,上下两方的夹子相向运动到合适的位置后,人们再向下踩第一开关,第一开关关闭使第一电机不再转动,从而使得上下两方的夹子相向运动能够将圆球固定住,此举能够在未使用本设备时圆球固定在下方,使用时能够更加方便,当人们不需要固定住圆球时,人们可以向下踩第一开关,第一开关打开带动第一电机反方向转动,第一电机反方向转动带动第一转轴反方向转动,第一转轴反方向转动带动第一齿轮反方向转动,第一齿轮反方向转动带动第二齿轮正方向转动,第一齿轮反方向转动和第二齿轮正方向转动使得上下两方的夹子相离运动,上下两方的夹子相离运动到合适的位置后,人们再向下踩第一开关,第一开关关闭使第一电机不再转动,从而使得上下两方的夹子相离运动能够使圆球向上移动。Because the fixing mechanism includes a connecting block, a first motor, a first rotating shaft, a first gear, a first bearing seat, a second rotating shaft, a second gear and a clip, the lower part of the right side of the bracket is provided with a connecting block. There is a first motor on the first motor, the output shaft of the first motor is provided with a first rotating shaft, the upper end of the first rotating shaft is provided with a first gear, and a first bearing seat is installed on the front right side of the top of the connecting block, which is installed on the first bearing seat. There is a second shaft, the upper end of the second shaft is provided with a second gear, the second gear meshes with the first gear, and the second gear and the right end of the first gear are symmetrically provided with clips, so when people need to fix the ball, the teacher can Step down on the first switch, so that the first switch is turned on to drive the first motor to rotate in the positive direction, the first motor rotates in the positive direction to drive the first shaft to rotate in the positive direction, the first shaft The forward rotation of the gear drives the second gear to rotate in the opposite direction. The forward rotation of the first gear and the reverse rotation of the second gear make the upper and lower clips move toward each other. Press down on the first switch, the first switch is turned off so that the first motor no longer rotates, so that the upper and lower clips move toward each other to fix the ball. When people do not need to fix the ball, they can step down on the first switch, the first switch is turned on to drive the first motor to rotate in the opposite direction, and the first motor rotates in the opposite direction to drive the first shaft to rotate in the opposite direction. The reverse rotation of the first shaft drives the first gear to rotate in the reverse direction, and the reverse rotation of the first gear drives the second gear to rotate in the forward direction. The reverse rotation of the first gear and the forward rotation of the second gear make the upper and lower clips move away from each other. , after the upper and lower clips move away from each other to an appropriate position, people step down on the first switch, the first switch is turned off so that the first motor no longer rotates, so that the upper and lower clips move away from each other to make the ball Move up.
因为还包括有第二轴承座、丝杆、第二电机和螺母,支架右侧下部开有凹槽,凹槽内左壁上下对称设有第二轴承座,上下两方的第二轴承座上安装有丝杆,凹槽内顶部设有第二电机,丝杆上端与第二电机的输出轴连接,丝杆上设有螺母,螺母右端与连接块左端连接,所以当人们需要向下移动固定机构时,人们启动电机正方向转动,电机正方向转动带动丝杆正方向转动,丝杆正方向转动带动螺母向下移动,从而使得螺母向下移动能够带动固定机构向下移动,当人们需要向上移动固定机构时,人们启动电机反方向转动,电机反方向转动带动丝杆反方向转动,丝杆反方向转动带动螺母向上移动,从而使得人们可以自由上下移动固定机构,此举能够有效调节塑料板的高度。Because it also includes a second bearing seat, a screw rod, a second motor and a nut, a groove is formed in the lower part of the right side of the bracket, and a second bearing seat is symmetrically arranged up and down on the left wall of the groove. A screw rod is installed, a second motor is installed on the top of the groove, the upper end of the screw rod is connected with the output shaft of the second motor, a nut is provided on the screw rod, and the right end of the nut is connected with the left end of the connecting block, so when people need to move down to fix it When the mechanism is used, people start the motor to rotate in the positive direction, the motor rotates in the positive direction to drive the lead screw to rotate in the positive direction, and the lead screw rotates in the positive direction to drive the nut to move downward, so that the downward movement of the nut can drive the fixed mechanism to move downward. When moving the fixing mechanism, people start the motor to rotate in the opposite direction, the motor rotates in the opposite direction, and the screw rotates in the opposite direction, and the screw rotates in the opposite direction to drive the nut to move upward, so that people can move the fixing mechanism up and down freely, which can effectively adjust the plastic plate. the height of.
因为还包括有固定杆、第二开关、电铃、弹簧、触碰块和触碰杆,支架右侧下部设有固定杆,固定杆位于连接块上方,固定杆中部开有第二通孔,拉绳穿过第二通孔,固定杆底端左侧设有第二开关,支撑板底部左侧设有电铃,固定杆底部左右对称设有弹簧,第二开关位于左右两方弹簧之间,左右两方弹簧下端设有触碰块,圆球左右两侧对称设有触碰杆,所以当圆球向上移动时,圆球带动触碰杆向上移动,触碰杆向上移动到合适位置后能够向上挤压触碰块,触碰块向上移动压缩弹簧,触碰块向上移动按压第二开关,由于第二开关与电铃通过电路连接,使得第二开关打开带动电铃发出响声,此举能够有效的活跃课堂气氛,当圆球向下移动后,触碰杆不再挤压触碰块,弹簧随之带动触碰块向下移动到原位,触碰块向下移动不再按压第二开关,第二开关关闭,使得电铃不再发出响声。Because it also includes a fixing rod, a second switch, an electric bell, a spring, a touch block and a touch rod, a fixing rod is arranged on the lower part of the right side of the bracket, the fixing rod is located above the connecting block, and a second through hole is opened in the middle of the fixing rod. The rope passes through the second through hole, a second switch is arranged on the left side of the bottom end of the fixed rod, an electric bell is arranged on the left side of the bottom of the support plate, and springs are arranged symmetrically at the bottom of the fixed rod, and the second switch is located between the left and right springs. There are touch blocks at the lower ends of the two springs, and touch rods are arranged symmetrically on the left and right sides of the ball. Therefore, when the ball moves upward, the ball drives the touch rod to move upward, and the touch rod moves upward to a suitable position. Squeeze the touch block, the touch block moves upward to compress the spring, and the touch block moves upward to press the second switch. Since the second switch is connected to the electric bell through a circuit, the second switch is opened to drive the electric bell to make a sound, which can effectively activate In the classroom atmosphere, when the ball moves down, the touch rod no longer squeezes the touch block, and the spring drives the touch block to move down to its original position. The touch block moves down and no longer presses the second switch. The second switch is closed, so that the bell no longer sounds.
因为还包括有支撑杆和放置块,底板上右侧设有支撑杆,支撑杆上端设有放置块,放置块上端与第一开关底部连接,所以当老师需要打开第一开关时,老师可以不需要用脚踩第一开关,从而使得老师能够更加方便的按压第一开关。Because it also includes a support rod and a placing block, the right side of the bottom plate is provided with a supporting rod, the upper end of the support rod is provided with a placing block, and the upper end of the placing block is connected with the bottom of the first switch, so when the teacher needs to open the first switch, the teacher can not It is necessary to step on the first switch with a foot, so that the teacher can press the first switch more conveniently.
因为还包括有橡胶垫,塑料板底部设有橡胶垫,所以当塑料板向下移动并敲击学生头部时,橡胶垫能够有效保护学生头部,避免学生受到伤害。Because it also includes a rubber pad, and there is a rubber pad at the bottom of the plastic plate, so when the plastic plate moves down and hits the student's head, the rubber pad can effectively protect the student's head and avoid injury to the student.
为了清楚地说明本装置的工作原理,在说明书附图中并没有画丝杆螺母的导向装置(丝杆螺母的导向装置一般为滑轨滑块或者是线性导轨),在本装置的实际工作中,丝杆螺母的导向装置是必须要有的,否则丝杆转动,螺母也会跟着转动,丝杆螺母的导向装置就是用来限制螺母跟着丝杆转动的,迫使螺母沿丝杆的轴向运动,因为机械领域的技术人员看到有丝杆螺母装置时,就必然知道在实际制作本装置时,添加上丝杆螺母的导向装置,添加丝杆螺母的导向装置不需要机械领域人员付出创造性的劳动即可实现,特此说明。In order to clearly explain the working principle of the device, the guide device of the screw nut is not drawn in the accompanying drawings (the guide device of the screw nut is generally a slide rail slider or a linear guide rail), in the actual work of the device , The guide device of the screw nut is necessary, otherwise the screw rotates, and the nut will also rotate. , because when a person skilled in the mechanical field sees a lead screw nut device, they must know that when the device is actually made, a guide device for the lead screw nut is added, and the guide device for the lead screw nut does not require creative efforts by personnel in the mechanical field. Labor can be achieved, hereby explain.
本发明的控制方式是通过控制器来自动控制,控制器的控制电路通过本领域的技术人员简单编程即可实现,属于本领域的公知常识,并且本发明主要用来保护机械装置,所以本发明不再详细解释控制方式和电路连接。The control method of the present invention is automatically controlled by the controller, and the control circuit of the controller can be realized by simple programming by those skilled in the art, which belongs to the common knowledge in the art, and the present invention is mainly used to protect the mechanical device, so the present invention The control modes and circuit connections are not explained in detail.
(3)有益效果(3) Beneficial effects
本发明达到了不会导致学生留下阴影和能让老师和学生之间的关系不会更加疏远的效果,上下两方的夹子相向运动能够将圆球固定住,此举能够在未使用本设备时圆球固定在下方,使用时能够更加方便,橡胶垫能够有效保护学生头部,避免学生受到伤害。The invention achieves the effect of not causing students to leave shadows and making the relationship between teachers and students less distant. The upper and lower clips can move towards each other to fix the ball, which can be used when the device is not used. When the ball is fixed below, it is more convenient to use, and the rubber pad can effectively protect the student's head and avoid injury to the student.
附图说明Description of drawings
图1为本发明的主视结构示意图。FIG. 1 is a schematic view of the front structure of the present invention.
图2为本发明传动机构的主视结构示意图。FIG. 2 is a schematic view of the front structure of the transmission mechanism of the present invention.
图3为本发明固定机构的俯视结构示意图。3 is a schematic top view of the structure of the fixing mechanism of the present invention.
图4为本发明的第一种部分主视结构示意图。FIG. 4 is a schematic diagram of a first partial front view of the present invention.
图5为本发明的第二种部分主视结构示意图。FIG. 5 is a schematic diagram of a second partial front view of the present invention.
图6为本发明的第三种部分主视结构示意图。FIG. 6 is a schematic diagram of a third partial front view of the present invention.
图7为本发明的第四种部分主视结构示意图。FIG. 7 is a schematic diagram of a fourth partial front view structure of the present invention.
图8为本发明的第五种部分主视结构示意图。FIG. 8 is a schematic diagram of a fifth partial front view structure of the present invention.
附图中的标记为:1-底板,2-支架,3-支撑板,4-传动机构,401-第一支杆,402-第一导向轮,403-第二支杆,404-第二导向轮,405-第一通孔,406-拉绳,5-固定机构,501-连接块,502-第一电机,503-第一转轴,504-第一齿轮,505-第一轴承座,506-第二转轴,507-第二齿轮,508-夹子,6-圆球,7-第一开关,8-固定块,9-塑料板,10-凹槽,11-第二轴承座,12-丝杆,13-第二电机,14-螺母,15-固定杆,16-第二通孔,17-第二开关,18-电铃,19-弹簧,20-触碰块,21-触碰杆,22-支撑杆,23-放置块,24-橡胶垫。The symbols in the drawings are: 1-base plate, 2-bracket, 3-support plate, 4-transmission mechanism, 401-first support rod, 402-first guide wheel, 403-second support rod, 404-second Guide wheel, 405-first through hole, 406-pull rope, 5-fixing mechanism, 501-connecting block, 502-first motor, 503-first shaft, 504-first gear, 505-first bearing seat, 506-Second shaft, 507-Second gear, 508-Clamp, 6-Ball, 7-First switch, 8-Fixing block, 9-Plastic plate, 10-Groove, 11-Second bearing seat, 12 -screw, 13-second motor, 14-nut, 15-fixed rod, 16-second through hole, 17-second switch, 18-electric bell, 19-spring, 20-touch block, 21-touch Rod, 22-Support rod, 23-Place block, 24-Rubber pad.
具体实施方式Detailed ways
下面结合附图和实施例对本发明作进一步的说明。The present invention will be further described below with reference to the accompanying drawings and embodiments.
实施例1Example 1
一种教学课堂用趣味惩罚设备,如图1-8所示,包括有底板1、支架2、支撑板3、传动机构4、固定机构5、圆球6、第一开关7、固定块8和塑料板9,底板1上中间设有支架2,支架2顶部设有支撑板3,支撑板3底部中间设有传动机构4,支撑板3右侧下部设有固定机构5,传动机构4下侧设有圆球6,圆球6与固定机构5接触,传动机构4上侧设有固定块8,固定块8底端设有塑料板9,底板1上右侧设有第一开关7。An interesting punishment device for teaching classroom, as shown in Figures 1-8, includes a base plate 1, a
实施例2Example 2
一种教学课堂用趣味惩罚设备,如图1-8所示,包括有底板1、支架2、支撑板3、传动机构4、固定机构5、圆球6、第一开关7、固定块8和塑料板9,底板1上中间设有支架2,支架2顶部设有支撑板3,支撑板3底部中间设有传动机构4,支撑板3右侧下部设有固定机构5,传动机构4下侧设有圆球6,圆球6与固定机构5接触,传动机构4上侧设有固定块8,固定块8底端设有塑料板9,底板1上右侧设有第一开关7。An interesting punishment device for teaching classroom, as shown in Figures 1-8, includes a base plate 1, a
传动机构4包括有第一支杆401、第一导向轮402、第二支杆403、第二导向轮404和拉绳406,支撑板3底部中间设有第一支杆401,第一支杆401下端设有第一导向轮402,支架2右侧上部设有第二支杆403,第二支杆403上端设有第二导向轮404,支架2上部开有第一通孔405,第一通孔405位于第二支杆403上方,第一导向轮402和第二导向轮404上绕有拉绳406,拉绳406穿过第一通孔405,拉绳406上端与固定块8上端连接,拉绳406下端与圆球6上端连接。The
实施例3Example 3
一种教学课堂用趣味惩罚设备,如图1-8所示,包括有底板1、支架2、支撑板3、传动机构4、固定机构5、圆球6、第一开关7、固定块8和塑料板9,底板1上中间设有支架2,支架2顶部设有支撑板3,支撑板3底部中间设有传动机构4,支撑板3右侧下部设有固定机构5,传动机构4下侧设有圆球6,圆球6与固定机构5接触,传动机构4上侧设有固定块8,固定块8底端设有塑料板9,底板1上右侧设有第一开关7。An interesting punishment device for teaching classroom, as shown in Figures 1-8, includes a base plate 1, a
传动机构4包括有第一支杆401、第一导向轮402、第二支杆403、第二导向轮404和拉绳406,支撑板3底部中间设有第一支杆401,第一支杆401下端设有第一导向轮402,支架2右侧上部设有第二支杆403,第二支杆403上端设有第二导向轮404,支架2上部开有第一通孔405,第一通孔405位于第二支杆403上方,第一导向轮402和第二导向轮404上绕有拉绳406,拉绳406穿过第一通孔405,拉绳406上端与固定块8上端连接,拉绳406下端与圆球6上端连接。The
固定机构5包括有连接块501、第一电机502、第一转轴503、第一齿轮504、第一轴承座505、第二转轴506、第二齿轮507和夹子508,支架2右侧下部设有连接块501,连接块501顶部右侧后部设有第一电机502,第一电机502的输出轴上设有第一转轴503,第一转轴503上端设有第一齿轮504,连接块501顶部右侧前部设有第一轴承座505,第一轴承座505上安装有第二转轴506,第二转轴506上端设有第二齿轮507,第二齿轮507和第一齿轮504啮合,第二齿轮507和第一齿轮504右端对称设有夹子508。The
实施例4Example 4
一种教学课堂用趣味惩罚设备,如图1-8所示,包括有底板1、支架2、支撑板3、传动机构4、固定机构5、圆球6、第一开关7、固定块8和塑料板9,底板1上中间设有支架2,支架2顶部设有支撑板3,支撑板3底部中间设有传动机构4,支撑板3右侧下部设有固定机构5,传动机构4下侧设有圆球6,圆球6与固定机构5接触,传动机构4上侧设有固定块8,固定块8底端设有塑料板9,底板1上右侧设有第一开关7。An interesting punishment device for teaching classroom, as shown in Figures 1-8, includes a base plate 1, a
传动机构4包括有第一支杆401、第一导向轮402、第二支杆403、第二导向轮404和拉绳406,支撑板3底部中间设有第一支杆401,第一支杆401下端设有第一导向轮402,支架2右侧上部设有第二支杆403,第二支杆403上端设有第二导向轮404,支架2上部开有第一通孔405,第一通孔405位于第二支杆403上方,第一导向轮402和第二导向轮404上绕有拉绳406,拉绳406穿过第一通孔405,拉绳406上端与固定块8上端连接,拉绳406下端与圆球6上端连接。The
固定机构5包括有连接块501、第一电机502、第一转轴503、第一齿轮504、第一轴承座505、第二转轴506、第二齿轮507和夹子508,支架2右侧下部设有连接块501,连接块501顶部右侧后部设有第一电机502,第一电机502的输出轴上设有第一转轴503,第一转轴503上端设有第一齿轮504,连接块501顶部右侧前部设有第一轴承座505,第一轴承座505上安装有第二转轴506,第二转轴506上端设有第二齿轮507,第二齿轮507和第一齿轮504啮合,第二齿轮507和第一齿轮504右端对称设有夹子508。The
还包括有第二轴承座11、丝杆12、第二电机13和螺母14,支架2右侧下部开有凹槽10,凹槽10内左壁上下对称设有第二轴承座11,上下两方的第二轴承座11上安装有丝杆12,凹槽10内顶部设有第二电机13,丝杆12上端与第二电机13的输出轴连接,丝杆12上设有螺母14,螺母14右端与连接块501左端连接。It also includes a
还包括有固定杆15、第二开关17、电铃18、弹簧19、触碰块20和触碰杆21,支架2右侧下部设有固定杆15,固定杆15位于连接块501上方,固定杆15中部开有第二通孔16,拉绳406穿过第二通孔16,固定杆15底端左侧设有第二开关17,支撑板3底部左侧设有电铃18,固定杆15底部左右对称设有弹簧19,第二开关17位于左右两方弹簧19之间,左右两方弹簧19下端设有触碰块20,圆球6左右两侧对称设有触碰杆21。It also includes a fixed
还包括有支撑杆22和放置块23,底板1上右侧设有支撑杆22,支撑杆22上端设有放置块23,放置块23上端与第一开关7底部连接。It also includes a
还包括有橡胶垫24,塑料板9底部设有橡胶垫24。A
工作原理:在平常的课堂上,老师通常都会因为学生没有答对题目而做出相应的惩罚,好让学生铭记,也可以作为一种激励方式来让学生学习,由此需要用到本设备,当老师需要惩罚学生时,老师让学生站在塑料板9下,由于第一开关7与固定机构5通过电路连接,然后老师用脚向下踩第一开关7,使得第一开关7打开带动固定机构5打开,固定机构5打开使得塑料板9由于重力通过传动机构4向下移动,塑料板9向下移动使得圆球6向上移动,从而使得塑料板9向下移动能够敲击学生头部,此举能够有效的惩罚学生,并且不会对学生造成伤害,然后老师将圆球6向下移动,圆球6向下移动通过传动机构4带动塑料板9向上移动,然后老师再向下踩第一开关7,第一开关7关闭带动固定机构5将圆球6固定,方便下一次的使用。How it works: In ordinary classrooms, teachers usually punish students for not answering questions correctly, so that students can remember it, and it can also be used as a way to motivate students to learn. When the teacher needs to punish the students, the teacher asks the students to stand under the
因为传动机构4包括有第一支杆401、第一导向轮402、第二支杆403、第二导向轮404和拉绳406,支撑板3底部中间设有第一支杆401,第一支杆401下端设有第一导向轮402,支架2右侧上部设有第二支杆403,第二支杆403上端设有第二导向轮404,支架2上部开有第一通孔405,第一通孔405位于第二支杆403上方,第一导向轮402和第二导向轮404上绕有拉绳406,拉绳406穿过第一通孔405,拉绳406上端与固定块8上端连接,拉绳406下端与圆球6上端连接,所以当圆球6未被固定时,塑料板9由于自身重力向下移动,塑料板9向下移动带动拉绳406左方向下移动和右方向上移动,第一导向轮402和第二导向轮404能够对拉绳406做导向运动,从而使得塑料板9能够向下移动,当圆球6向下移动时,圆球6向下移动带动拉绳406右方向下移动和拉绳406左方向上移动,拉绳406左方向上移动带动塑料板9向上移动,从而使得塑料板9能够向上移动回原位,方便接下来的使用。Because the transmission mechanism 4 includes a first support rod 401 , a first guide wheel 402 , a second support rod 403 , a second guide wheel 404 and a pull rope 406 , a first support rod 401 is provided in the middle of the bottom of the support plate 3 , and the first support rod The lower end of the rod 401 is provided with a first guide wheel 402, the upper right side of the bracket 2 is provided with a second support rod 403, the upper end of the second support rod 403 is provided with a second guide wheel 404, the upper part of the support 2 is provided with a first through hole 405, A through hole 405 is located above the second support rod 403 , a pull rope 406 is wound around the first guide wheel 402 and the second guide wheel 404 , the pull rope 406 passes through the first through hole 405 , and the upper end of the pull rope 406 is connected to the upper end of the fixing block 8 Connection, the lower end of the pull rope 406 is connected with the upper end of the ball 6, so when the ball 6 is not fixed, the plastic plate 9 moves downward due to its own gravity, and the downward movement of the plastic plate 9 drives the pull rope 406 to move downward in the left and right directions. Moving up, the
因为固定机构5包括有连接块501、第一电机502、第一转轴503、第一齿轮504、第一轴承座505、第二转轴506、第二齿轮507和夹子508,支架2右侧下部设有连接块501,连接块501顶部右侧后部设有第一电机502,第一电机502的输出轴上设有第一转轴503,第一转轴503上端设有第一齿轮504,连接块501顶部右侧前部设有第一轴承座505,第一轴承座505上安装有第二转轴506,第二转轴506上端设有第二齿轮507,第二齿轮507和第一齿轮504啮合,第二齿轮507和第一齿轮504右端对称设有夹子508,所以当人们需要将圆球6固定住时,老师可以向下踩第一开关7,使得第一开关7打开带动第一电机502正方向转动,第一电机502正方向转动带动第一转轴503正方向转动,第一转轴503正方向转动带动第一齿轮504正方向转动,第一齿轮504正方向转动带动第二齿轮507反方向转动,第一齿轮504正方向转动和第二齿轮507反方向转动使得上下两方的夹子508相向运动,上下两方的夹子508相向运动到合适的位置后,人们再向下踩第一开关7,第一开关7关闭使第一电机502不再转动,从而使得上下两方的夹子508相向运动能够将圆球6固定住,此举能够在未使用本设备时圆球6固定在下方,使用时能够更加方便,当人们不需要固定住圆球6时,人们可以向下踩第一开关7,第一开关7打开带动第一电机502反方向转动,第一电机502反方向转动带动第一转轴503反方向转动,第一转轴503反方向转动带动第一齿轮504反方向转动,第一齿轮504反方向转动带动第二齿轮507正方向转动,第一齿轮504反方向转动和第二齿轮507正方向转动使得上下两方的夹子508相离运动,上下两方的夹子508相离运动到合适的位置后,人们再向下踩第一开关7,第一开关7关闭使第一电机502不再转动,从而使得上下两方的夹子508相离运动能够使圆球6向上移动。Because the fixing mechanism 5 includes the connecting block 501, the first motor 502, the first rotating shaft 503, the first gear 504, the first bearing seat 505, the second rotating shaft 506, the second gear 507 and the clip 508, the lower part of the right side of the bracket 2 is provided with There is a connecting block 501, a first motor 502 is provided on the top right rear of the connecting block 501, a first rotating shaft 503 is provided on the output shaft of the first motor 502, and a first gear 504 is provided on the upper end of the first rotating shaft 503, and the connecting block 501 A first bearing seat 505 is arranged on the front part of the right side of the top, a second rotating shaft 506 is installed on the first bearing seat 505, a second gear 507 is arranged on the upper end of the second rotating shaft 506, the second gear 507 meshes with the first gear 504, and the first The second gear 507 and the right end of the first gear 504 are symmetrically provided with a clip 508, so when people need to fix the ball 6, the teacher can step down on the first switch 7, so that the first switch 7 is turned on to drive the first motor 502 in the positive direction Rotation, the first motor 502 rotates in the positive direction to drive the first rotating shaft 503 to rotate in the positive direction, the first rotating shaft 503 rotates in the positive direction and drives the first gear 504 to rotate in the positive direction, and the first gear 504 rotates in the positive direction to drive the second gear 507 rotates in the opposite direction. The
因为还包括有第二轴承座11、丝杆12、第二电机13和螺母14,支架2右侧下部开有凹槽10,凹槽10内左壁上下对称设有第二轴承座11,上下两方的第二轴承座11上安装有丝杆12,凹槽10内顶部设有第二电机13,丝杆12上端与第二电机13的输出轴连接,丝杆12上设有螺母14,螺母14右端与连接块501左端连接,所以当人们需要向下移动固定机构5时,人们启动电机正方向转动,电机正方向转动带动丝杆12正方向转动,丝杆12正方向转动带动螺母14向下移动,从而使得螺母14向下移动能够带动固定机构5向下移动,当人们需要向上移动固定机构5时,人们启动电机反方向转动,电机反方向转动带动丝杆12反方向转动,丝杆12反方向转动带动螺母14向上移动,从而使得人们可以自由上下移动固定机构5,此举能够有效调节塑料板9的高度。Because it also includes a
因为还包括有固定杆15、第二开关17、电铃18、弹簧19、触碰块20和触碰杆21,支架2右侧下部设有固定杆15,固定杆15位于连接块501上方,固定杆15中部开有第二通孔16,拉绳406穿过第二通孔16,固定杆15底端左侧设有第二开关17,支撑板3底部左侧设有电铃18,固定杆15底部左右对称设有弹簧19,第二开关17位于左右两方弹簧19之间,左右两方弹簧19下端设有触碰块20,圆球6左右两侧对称设有触碰杆21,所以当圆球6向上移动时,圆球6带动触碰杆21向上移动,触碰杆21向上移动到合适位置后能够向上挤压触碰块20,触碰块20向上移动压缩弹簧19,触碰块20向上移动按压第二开关17,由于第二开关17与电铃18通过电路连接,使得第二开关17打开带动电铃18发出响声,此举能够有效的活跃课堂气氛,当圆球6向下移动后,触碰杆21不再挤压触碰块20,弹簧19随之带动触碰块20向下移动到原位,触碰块20向下移动不再按压第二开关17,第二开关17关闭,使得电铃18不再发出响声。Because it also includes the fixing
因为还包括有支撑杆22和放置块23,底板1上右侧设有支撑杆22,支撑杆22上端设有放置块23,放置块23上端与第一开关7底部连接,所以当老师需要打开第一开关7时,老师可以不需要用脚踩第一开关7,从而使得老师能够更加方便的按压第一开关7。Because it also includes a
因为还包括有橡胶垫24,塑料板9底部设有橡胶垫24,所以当塑料板9向下移动并敲击学生头部时,橡胶垫24能够有效保护学生头部,避免学生受到伤害。Because the
为了清楚地说明本装置的工作原理,在说明书附图中并没有画丝杆12螺母14的导向装置(丝杆12螺母14的导向装置一般为滑轨滑块或者是线性导轨),在本装置的实际工作中,丝杆12螺母14的导向装置是必须要有的,否则丝杆12转动,螺母14也会跟着转动,丝杆12螺母14的导向装置就是用来限制螺母14跟着丝杆12转动的,迫使螺母14沿丝杆12的轴向运动,因为机械领域的技术人员看到有丝杆12螺母14装置时,就必然知道在实际制作本装置时,添加上丝杆12螺母14的导向装置,添加丝杆12螺母14的导向装置不需要机械领域人员付出创造性的劳动即可实现,特此说明。In order to clearly illustrate the working principle of the device, the guide device of the
本发明的控制方式是通过控制器来自动控制,控制器的控制电路通过本领域的技术人员简单编程即可实现,属于本领域的公知常识,并且本发明主要用来保护机械装置,所以本发明不再详细解释控制方式和电路连接。The control method of the present invention is automatically controlled by the controller, and the control circuit of the controller can be realized by simple programming by those skilled in the art, which belongs to the common knowledge in the art, and the present invention is mainly used to protect the mechanical device, so the present invention The control modes and circuit connections are not explained in detail.
以上所述实施例仅表达了本发明的优选实施方式,其描述较为具体和详细,但并不能因此而理解为对本发明专利范围的限制。应当指出的是,对于本领域的普通技术人员来说,在不脱离本发明构思的前提下,还可以做出若干变形、改进及替代,这些都属于本发明的保护范围。因此,本发明专利的保护范围应以所附权利要求为准。The above-mentioned embodiments only represent the preferred embodiments of the present invention, and the descriptions thereof are specific and detailed, but should not be construed as limiting the scope of the present invention. It should be pointed out that for those of ordinary skill in the art, without departing from the concept of the present invention, several modifications, improvements and substitutions can be made, which all belong to the protection scope of the present invention. Therefore, the protection scope of the patent of the present invention should be subject to the appended claims.
Claims (3)
Priority Applications (1)
| Application Number | Priority Date | Filing Date | Title |
|---|---|---|---|
| CN201711286616.XA CN108022457B (en) | 2017-12-07 | 2017-12-07 | An interesting punishment device for teaching classrooms |
Applications Claiming Priority (1)
| Application Number | Priority Date | Filing Date | Title |
|---|---|---|---|
| CN201711286616.XA CN108022457B (en) | 2017-12-07 | 2017-12-07 | An interesting punishment device for teaching classrooms |
Publications (2)
| Publication Number | Publication Date |
|---|---|
| CN108022457A CN108022457A (en) | 2018-05-11 |
| CN108022457B true CN108022457B (en) | 2020-06-05 |
Family
ID=62079016
Family Applications (1)
| Application Number | Title | Priority Date | Filing Date |
|---|---|---|---|
| CN201711286616.XA Active CN108022457B (en) | 2017-12-07 | 2017-12-07 | An interesting punishment device for teaching classrooms |
Country Status (1)
| Country | Link |
|---|---|
| CN (1) | CN108022457B (en) |
Citations (5)
| Publication number | Priority date | Publication date | Assignee | Title |
|---|---|---|---|---|
| CN2191099Y (en) * | 1994-06-02 | 1995-03-08 | 张世基 | Height adjustable blackboard |
| CN204017357U (en) * | 2014-08-13 | 2014-12-17 | 北京统游网络技术有限公司 | A kind of aerial entertainment device |
| CN204977945U (en) * | 2015-05-20 | 2016-01-20 | 慈溪市纯奇电器有限公司 | Physical teaching blackboard device |
| CN105674015A (en) * | 2016-03-18 | 2016-06-15 | 李海秀 | Liftable placement trolley for projectors |
| CN107221228A (en) * | 2017-07-26 | 2017-09-29 | 肖述盛 | A kind of childhood teaching rewards and punishments device |
Family Cites Families (1)
| Publication number | Priority date | Publication date | Assignee | Title |
|---|---|---|---|---|
| US6412833B2 (en) * | 1999-11-30 | 2002-07-02 | Darryl S. Lusk | Knot teaching, tying and developing system |
-
2017
- 2017-12-07 CN CN201711286616.XA patent/CN108022457B/en active Active
Patent Citations (5)
| Publication number | Priority date | Publication date | Assignee | Title |
|---|---|---|---|---|
| CN2191099Y (en) * | 1994-06-02 | 1995-03-08 | 张世基 | Height adjustable blackboard |
| CN204017357U (en) * | 2014-08-13 | 2014-12-17 | 北京统游网络技术有限公司 | A kind of aerial entertainment device |
| CN204977945U (en) * | 2015-05-20 | 2016-01-20 | 慈溪市纯奇电器有限公司 | Physical teaching blackboard device |
| CN105674015A (en) * | 2016-03-18 | 2016-06-15 | 李海秀 | Liftable placement trolley for projectors |
| CN107221228A (en) * | 2017-07-26 | 2017-09-29 | 肖述盛 | A kind of childhood teaching rewards and punishments device |
Also Published As
| Publication number | Publication date |
|---|---|
| CN108022457A (en) | 2018-05-11 |
Similar Documents
| Publication | Publication Date | Title |
|---|---|---|
| CN205384789U (en) | Teaching aid is used in english teaching | |
| CN203805565U (en) | Auxiliary device for Chinese teaching | |
| CN108294486B (en) | Think political affairs classroom teaching auxiliary device | |
| CN108022457B (en) | An interesting punishment device for teaching classrooms | |
| CN210721922U (en) | Children cardiopulmonary resuscitation data training model | |
| CN106073169A (en) | A kind of Accounting Course multifunctional platform with small blackboard | |
| CN212112877U (en) | An online education demonstration device | |
| CN108288415B (en) | Real device of instructing of law teaching | |
| CN211349582U (en) | Word exercise equipment for english education | |
| CN206865687U (en) | The portable microphone of music teaching before one kind is learned | |
| CN213815059U (en) | Interactive trainer in ideological and political education classroom | |
| CN206836571U (en) | A kind of Political Teaching entertaining dais | |
| CN211857750U (en) | Interesting teaching toy for kindergarten teaching | |
| CN111477047B (en) | Multifunctional online education platform | |
| CN212135754U (en) | An optical principle experimental device for physics teaching | |
| CN206497612U (en) | An electronic classroom teaching system | |
| CN211479404U (en) | Teaching display device | |
| CN215954537U (en) | Intelligent questioning device and teaching interactive system | |
| CN213458576U (en) | A kind of mathematics teaching aid for elementary school mathematics thinking training | |
| CN214202773U (en) | Teaching is display device for speech convenient to adjust | |
| CN223245197U (en) | Interactive question-answering device | |
| CN212165244U (en) | Ideological and political education is with explaining table | |
| CN210018327U (en) | Music stand for music teaching | |
| CN210295528U (en) | Music theory teaching aid | |
| CN215417053U (en) | Remote education and teaching platform |
Legal Events
| Date | Code | Title | Description |
|---|---|---|---|
| PB01 | Publication | ||
| PB01 | Publication | ||
| SE01 | Entry into force of request for substantive examination | ||
| SE01 | Entry into force of request for substantive examination | ||
| TA01 | Transfer of patent application right |
Effective date of registration: 20200513 Address after: 325000 No.6, building A7, Xinyu, Shuangyu street, Lucheng District, Wenzhou City, Zhejiang Province Applicant after: Fei Zaoxin Address before: The 156 floor No. 341000 Jiangxi province Zhanggong District of Ganzhou City, the Hakka Avenue 4 floor room S14 Applicant before: GANZHOU YIYANG MECHANICAL DESIGN RESEARCH INSTITUTE Co.,Ltd. |
|
| TA01 | Transfer of patent application right | ||
| GR01 | Patent grant | ||
| GR01 | Patent grant | ||
| TR01 | Transfer of patent right |
Effective date of registration: 20210705 Address after: 250000 in fengjialin Industrial Park, Laiwu high tech Zone, Jinan City, Shandong Province Patentee after: Laiwu Wenlin Geotechnical Material Co.,Ltd. Address before: 325000 No.6, building A7, Xinyu street, Lucheng District, Wenzhou City, Zhejiang Province Patentee before: Fei Zaoxin |
|
| TR01 | Transfer of patent right | ||
| TR01 | Transfer of patent right |
Effective date of registration: 20241215 Address after: Room 205, No. 10 Qianou Road, Qianqiao Street, Huishan District, Wuxi City, Jiangsu Province, China 214000 Patentee after: Wuxi Mingbishang Education Technology Co.,Ltd. Country or region after: China Address before: 250000 in fengjialin Industrial Park, Laiwu high tech Zone, Jinan City, Shandong Province Patentee before: Laiwu Wenlin Geotechnical Material Co.,Ltd. Country or region before: China |
|
| TR01 | Transfer of patent right |
