CN107062149B - High-efficient heat dissipation solar energy LED street lamp - Google Patents
High-efficient heat dissipation solar energy LED street lamp Download PDFInfo
- Publication number
- CN107062149B CN107062149B CN201710445197.3A CN201710445197A CN107062149B CN 107062149 B CN107062149 B CN 107062149B CN 201710445197 A CN201710445197 A CN 201710445197A CN 107062149 B CN107062149 B CN 107062149B
- Authority
- CN
- China
- Prior art keywords
- lamp
- hole
- fan
- battery
- movable block
- Prior art date
- Legal status (The legal status is an assumption and is not a legal conclusion. Google has not performed a legal analysis and makes no representation as to the accuracy of the status listed.)
- Active
Links
Images
Classifications
-
- F—MECHANICAL ENGINEERING; LIGHTING; HEATING; WEAPONS; BLASTING
- F21—LIGHTING
- F21S—NON-PORTABLE LIGHTING DEVICES; SYSTEMS THEREOF; VEHICLE LIGHTING DEVICES SPECIALLY ADAPTED FOR VEHICLE EXTERIORS
- F21S9/00—Lighting devices with a built-in power supply; Systems employing lighting devices with a built-in power supply
- F21S9/02—Lighting devices with a built-in power supply; Systems employing lighting devices with a built-in power supply the power supply being a battery or accumulator
- F21S9/03—Lighting devices with a built-in power supply; Systems employing lighting devices with a built-in power supply the power supply being a battery or accumulator rechargeable by exposure to light
- F21S9/035—Lighting devices with a built-in power supply; Systems employing lighting devices with a built-in power supply the power supply being a battery or accumulator rechargeable by exposure to light the solar unit being integrated within the support for the lighting unit, e.g. within or on a pole
-
- F—MECHANICAL ENGINEERING; LIGHTING; HEATING; WEAPONS; BLASTING
- F21—LIGHTING
- F21S—NON-PORTABLE LIGHTING DEVICES; SYSTEMS THEREOF; VEHICLE LIGHTING DEVICES SPECIALLY ADAPTED FOR VEHICLE EXTERIORS
- F21S8/00—Lighting devices intended for fixed installation
- F21S8/08—Lighting devices intended for fixed installation with a standard
- F21S8/085—Lighting devices intended for fixed installation with a standard of high-built type, e.g. street light
- F21S8/088—Lighting devices intended for fixed installation with a standard of high-built type, e.g. street light with lighting device mounted on top of the standard, e.g. for pedestrian zones
-
- F—MECHANICAL ENGINEERING; LIGHTING; HEATING; WEAPONS; BLASTING
- F21—LIGHTING
- F21V—FUNCTIONAL FEATURES OR DETAILS OF LIGHTING DEVICES OR SYSTEMS THEREOF; STRUCTURAL COMBINATIONS OF LIGHTING DEVICES WITH OTHER ARTICLES, NOT OTHERWISE PROVIDED FOR
- F21V23/00—Arrangement of electric circuit elements in or on lighting devices
- F21V23/003—Arrangement of electric circuit elements in or on lighting devices the elements being electronics drivers or controllers for operating the light source, e.g. for a LED array
-
- F—MECHANICAL ENGINEERING; LIGHTING; HEATING; WEAPONS; BLASTING
- F21—LIGHTING
- F21V—FUNCTIONAL FEATURES OR DETAILS OF LIGHTING DEVICES OR SYSTEMS THEREOF; STRUCTURAL COMBINATIONS OF LIGHTING DEVICES WITH OTHER ARTICLES, NOT OTHERWISE PROVIDED FOR
- F21V23/00—Arrangement of electric circuit elements in or on lighting devices
- F21V23/04—Arrangement of electric circuit elements in or on lighting devices the elements being switches
- F21V23/0442—Arrangement of electric circuit elements in or on lighting devices the elements being switches activated by means of a sensor, e.g. motion or photodetectors
-
- F—MECHANICAL ENGINEERING; LIGHTING; HEATING; WEAPONS; BLASTING
- F21—LIGHTING
- F21V—FUNCTIONAL FEATURES OR DETAILS OF LIGHTING DEVICES OR SYSTEMS THEREOF; STRUCTURAL COMBINATIONS OF LIGHTING DEVICES WITH OTHER ARTICLES, NOT OTHERWISE PROVIDED FOR
- F21V29/00—Protecting lighting devices from thermal damage; Cooling or heating arrangements specially adapted for lighting devices or systems
- F21V29/50—Cooling arrangements
- F21V29/60—Cooling arrangements characterised by the use of a forced flow of gas, e.g. air
- F21V29/67—Cooling arrangements characterised by the use of a forced flow of gas, e.g. air characterised by the arrangement of fans
-
- F—MECHANICAL ENGINEERING; LIGHTING; HEATING; WEAPONS; BLASTING
- F21—LIGHTING
- F21V—FUNCTIONAL FEATURES OR DETAILS OF LIGHTING DEVICES OR SYSTEMS THEREOF; STRUCTURAL COMBINATIONS OF LIGHTING DEVICES WITH OTHER ARTICLES, NOT OTHERWISE PROVIDED FOR
- F21V29/00—Protecting lighting devices from thermal damage; Cooling or heating arrangements specially adapted for lighting devices or systems
- F21V29/50—Cooling arrangements
- F21V29/70—Cooling arrangements characterised by passive heat-dissipating elements, e.g. heat-sinks
- F21V29/74—Cooling arrangements characterised by passive heat-dissipating elements, e.g. heat-sinks with fins or blades
-
- F—MECHANICAL ENGINEERING; LIGHTING; HEATING; WEAPONS; BLASTING
- F21—LIGHTING
- F21V—FUNCTIONAL FEATURES OR DETAILS OF LIGHTING DEVICES OR SYSTEMS THEREOF; STRUCTURAL COMBINATIONS OF LIGHTING DEVICES WITH OTHER ARTICLES, NOT OTHERWISE PROVIDED FOR
- F21V29/00—Protecting lighting devices from thermal damage; Cooling or heating arrangements specially adapted for lighting devices or systems
- F21V29/50—Cooling arrangements
- F21V29/70—Cooling arrangements characterised by passive heat-dissipating elements, e.g. heat-sinks
- F21V29/83—Cooling arrangements characterised by passive heat-dissipating elements, e.g. heat-sinks the elements having apertures, ducts or channels, e.g. heat radiation holes
-
- F—MECHANICAL ENGINEERING; LIGHTING; HEATING; WEAPONS; BLASTING
- F21—LIGHTING
- F21W—INDEXING SCHEME ASSOCIATED WITH SUBCLASSES F21K, F21L, F21S and F21V, RELATING TO USES OR APPLICATIONS OF LIGHTING DEVICES OR SYSTEMS
- F21W2131/00—Use or application of lighting devices or systems not provided for in codes F21W2102/00-F21W2121/00
- F21W2131/10—Outdoor lighting
- F21W2131/103—Outdoor lighting of streets or roads
-
- Y—GENERAL TAGGING OF NEW TECHNOLOGICAL DEVELOPMENTS; GENERAL TAGGING OF CROSS-SECTIONAL TECHNOLOGIES SPANNING OVER SEVERAL SECTIONS OF THE IPC; TECHNICAL SUBJECTS COVERED BY FORMER USPC CROSS-REFERENCE ART COLLECTIONS [XRACs] AND DIGESTS
- Y02—TECHNOLOGIES OR APPLICATIONS FOR MITIGATION OR ADAPTATION AGAINST CLIMATE CHANGE
- Y02B—CLIMATE CHANGE MITIGATION TECHNOLOGIES RELATED TO BUILDINGS, e.g. HOUSING, HOUSE APPLIANCES OR RELATED END-USER APPLICATIONS
- Y02B20/00—Energy efficient lighting technologies, e.g. halogen lamps or gas discharge lamps
- Y02B20/72—Energy efficient lighting technologies, e.g. halogen lamps or gas discharge lamps in street lighting
Landscapes
- Engineering & Computer Science (AREA)
- General Engineering & Computer Science (AREA)
- Microelectronics & Electronic Packaging (AREA)
- Life Sciences & Earth Sciences (AREA)
- Sustainable Development (AREA)
- Arrangement Of Elements, Cooling, Sealing, Or The Like Of Lighting Devices (AREA)
Abstract
本发明公开了一种高效散热太阳能LED路灯,包括灯杆、控制器、蓄电池、太阳能电池板、充放电电路和LED灯头,灯杆内固定有蓄电池承载板、水平板和灯头承载板,灯杆的侧壁还具有第一通孔和第二通孔,第一通孔位于蓄电池承载板下方,第二通孔位于蓄电池承载板和所述水平板之间,蓄电池承载板具有第一圆孔,水平板具有第二圆孔,灯头承载板具有第三圆孔,蓄电池承载板和所述第一通孔之间设置有位于灯杆内的第一风扇,蓄电池承载板用于承载蓄电池,灯头承载板用于承载所述LED灯头;灯杆顶部通过反光板支架固定有反光板;反光板通过太阳能电池板支架固定有太阳能电池板。本发明的路灯散热效率高。
The invention discloses a high-efficiency heat dissipation solar LED street lamp, which comprises a lamp pole, a controller, a storage battery, a solar panel, a charging and discharging circuit and an LED lamp holder. The side wall of the side wall also has a first through hole and a second through hole, the first through hole is located under the battery carrying plate, the second through hole is located between the battery carrying plate and the horizontal plate, the battery carrying plate has a first circular hole, The horizontal plate has a second round hole, the lamp base carrying plate has a third round hole, a first fan located in the light pole is arranged between the battery carrying plate and the first through hole, the battery carrying plate is used to carry the battery, and the lamp cap carries The board is used to carry the LED lamp head; the reflector is fixed on the top of the light pole through the reflector bracket; the solar panel is fixed on the reflector through the solar panel bracket. The street lamp of the invention has high cooling efficiency.
Description
技术领域technical field
本发明涉及路灯领域,具体涉及一种高效散热太阳能LED路灯。The invention relates to the field of street lamps, in particular to a high-efficiency heat dissipation solar LED street lamp.
背景技术Background technique
随着地球资源的日益贫乏,基础能源的投资成本日益攀高,各种安全和污染隐患可谓无处不在,太阳能作为一种“取之不尽、用之不竭”的安全、环保新能源越来越受重视。同时,也随着太阳能光伏技术的发展和进步,太阳能灯具产品在环保节能的双重优势,太阳能路灯、庭院灯、草坪灯等方面的应用已经逐渐形成规模,太阳能发电在路灯照明领域发展已经日趋完善。但是太阳能LED路灯也有着其固有的缺陷,例如LED灯头发热和蓄电池发热,影响着路灯的使用寿命和效率。As the earth's resources become increasingly scarce, the investment cost of basic energy is rising day by day, and various hidden dangers of safety and pollution are ubiquitous. Solar energy, as an "inexhaustible and inexhaustible" safe and environmentally friendly new energy more attention. At the same time, with the development and progress of solar photovoltaic technology, the dual advantages of solar lighting products in environmental protection and energy saving, the application of solar street lights, garden lights, lawn lights, etc. have gradually formed a scale, and the development of solar power generation in the field of street lighting has been increasingly perfect. . However, solar LED street lights also have their inherent defects, such as LED lamp head heat and battery heat, which affect the service life and efficiency of street lights.
发明内容Contents of the invention
发明目的:本发明旨在克服现有技术的缺陷,提供一种高效散热太阳能LED路灯。Purpose of the invention: The present invention aims to overcome the defects of the prior art and provide a high-efficiency heat dissipation solar LED street lamp.
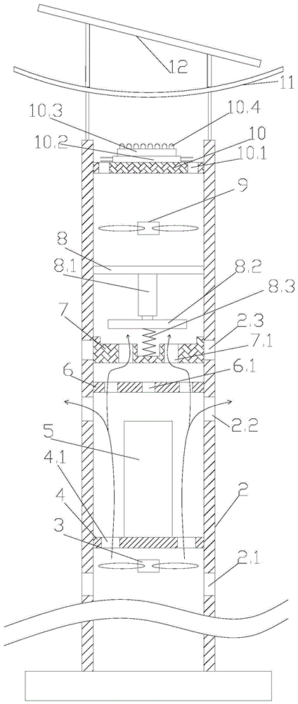
技术方案:一种高效散热太阳能LED路灯,包括灯杆、控制器、蓄电池、太阳能电池板、充放电电路和LED灯头,所述灯杆为中空的灯杆,所述灯杆内从下到上依次固定有蓄电池承载板、水平板和灯头承载板,所述灯杆的侧壁还具有第一通孔和第二通孔,所述第一通孔位于所述蓄电池承载板下方,所述第二通孔位于所述蓄电池承载板和所述水平板之间,所述蓄电池承载板具有第一圆孔,所述水平板具有第二圆孔,所述灯头承载板具有第三圆孔,所述蓄电池承载板和所述第一通孔之间设置有位于灯杆内的第一风扇,所述蓄电池承载板用于承载蓄电池,所述灯头承载板用于承载所述LED灯头;所述灯杆顶部通过反光板支架固定有反光板,所述反光板的下表面为反光面;所述反光板通过太阳能电池板支架固定有太阳能电池板。Technical solution: A high-efficiency heat dissipation solar LED street lamp, including a lamp post, a controller, a battery, a solar panel, a charging and discharging circuit and an LED lamp holder. The lamp post is a hollow lamp post, and the inside of the lamp post is from bottom to top The battery carrying plate, the horizontal plate and the lamp holder carrying plate are fixed in sequence, and the side wall of the light pole also has a first through hole and a second through hole, the first through hole is located under the battery carrying plate, and the first through hole is located below the battery carrying plate. The two through holes are located between the battery carrying plate and the horizontal plate, the battery carrying plate has a first round hole, the horizontal plate has a second round hole, and the lamp holder carrying plate has a third round hole, so A first fan located in the light pole is arranged between the battery carrying plate and the first through hole, the battery carrying plate is used to carry the battery, the lamp holder carrying plate is used to carry the LED lamp holder; the lamp The top of the rod is fixed with a reflector through a reflector bracket, and the lower surface of the reflector is a reflective surface; the reflector is fixed with a solar panel through a solar panel bracket.
进一步地,所述第一风扇通过第一风扇支架安装在所述灯杆内,所述第一风扇支架与所述灯杆内侧壁焊接固定。Further, the first fan is installed in the light pole through a first fan bracket, and the first fan bracket is welded and fixed to the inner wall of the light pole.
进一步地,所述反光板的反射面为曲面。Further, the reflective surface of the reflective plate is a curved surface.
进一步地,所述第一、二通孔的数量均大于等于两个;所述第一、二、三圆孔的数量均大于等于两个。Further, the number of the first and second through holes is greater than or equal to two; the number of the first, second and third circular holes is greater than or equal to two.
进一步地,所述蓄电池为锂电池。Further, the storage battery is a lithium battery.
进一步地,所述LED灯头包括固定在所述灯头承载板上的散热块、与所述散热块连接的安装基板和安装在安装基板上的多个LED灯珠;所述散热块具有散热翅片,多个LED灯珠安装在安装基板上的上表面。Further, the LED lamp cap includes a heat dissipation block fixed on the lamp cap carrying plate, a mounting substrate connected to the heat dissipation block, and a plurality of LED lamp beads installed on the mounting substrate; the heat dissipation block has heat dissipation fins , a plurality of LED lamp beads are installed on the upper surface of the installation substrate.
进一步地,还包括位于所述灯头承载板上的温度传感器、位于灯头承载板下方的第二风扇、将所述第二风扇与所述灯杆内侧壁固定的第二风扇支架、位于灯杆内的横杆、一端与横杆固定的电动推杆、与电动推杆另一端连接的压板和通过弹簧与所述压板下表面连接的活动块,所述第二风扇位于所述横杆上方,所述活动块具有第一凹槽,所述第一凹槽底面具有第二凹槽,所述弹簧的一端与压板连接,另一端与第二凹槽的底面连接,所述活动块还包括连通活动块下表面和第一凹槽底面的连通孔;所述灯杆侧壁具有位于水平板上方的第三通孔,所述控制器能够控制电动伸缩杆处于第一长度和第二长度,当所述电动伸缩杆处于第一长度时,所述压板和所述第一凹槽底面具有间隙,所述活动块和所述水平板之间有间隙,所述活动块的侧壁堵住所有的第三通孔;当所述电动伸缩杆处于第二长度时,所述压板抵接所述第一凹槽的底面且封闭所有连通孔的顶端,所述活动块抵接所述水平板,所述水平板封闭所有的连通孔的底端,所述活动块的底面封闭所有的第二圆孔,所述活动块的侧壁不封闭所述第三通孔;在LED灯头开启时,控制器进行控制,当温度传感器的测量值小于设定阈值时,控制第一风扇开启、第二风扇关闭、电动伸缩杆处于第一长度;当温度传感器的测量值大于等于设定阈值值时,控制第一风扇开启、第二风扇开启、电动伸缩杆处于第二长度。Further, it also includes a temperature sensor located on the lamp base bearing plate, a second fan located under the lamp base bearing plate, a second fan bracket for fixing the second fan to the inner wall of the lamp pole, and a second fan bracket located inside the lamp pole a cross bar, an electric push rod fixed at one end to the cross bar, a pressure plate connected to the other end of the electric push rod, and a movable block connected to the lower surface of the pressure plate through a spring, the second fan is located above the cross bar, and the The movable block has a first groove, the bottom surface of the first groove has a second groove, one end of the spring is connected with the pressure plate, and the other end is connected with the bottom surface of the second groove, and the movable block also includes a communication movable The communication hole on the lower surface of the block and the bottom surface of the first groove; the side wall of the light pole has a third through hole located above the horizontal plate, and the controller can control the electric telescopic pole to be at the first length and the second length, when the When the electric telescopic rod is at the first length, there is a gap between the pressing plate and the bottom surface of the first groove, there is a gap between the movable block and the horizontal plate, and the side wall of the movable block blocks all the first grooves. Three through holes; when the electric telescopic rod is at the second length, the pressing plate abuts against the bottom surface of the first groove and closes the tops of all communication holes, the movable block abuts against the horizontal plate, and The horizontal plate closes the bottom ends of all the communication holes, the bottom surface of the movable block closes all the second round holes, and the side wall of the movable block does not close the third through hole; when the LED lamp head is turned on, the controller performs Control, when the measured value of the temperature sensor is less than the set threshold value, control the first fan to turn on, the second fan to turn off, and the electric telescopic rod to be at the first length; when the measured value of the temperature sensor is greater than or equal to the set threshold value, control the first The fan is turned on, the second fan is turned on, and the electric telescopic rod is at the second length.
进一步地,所述第三通孔有两个,且位于同一水平高度。Further, there are two third through holes, and they are located at the same level.
进一步地,所述连通孔有两个。Further, there are two communication holes.
有益效果:本发明的路灯,能够通过散热风扇形成散热气流,对蓄电池和灯头进行散热。并且当温度过高时,可以利用两个风扇散热,散热效率高。Beneficial effects: the street lamp of the present invention can form a heat dissipation airflow through the heat dissipation fan to dissipate heat from the storage battery and the lamp holder. And when the temperature is too high, two fans can be used to dissipate heat, and the heat dissipation efficiency is high.
附图说明Description of drawings
图1为电动伸缩杆处于第一长度示意图;Fig. 1 is a schematic diagram of the first length of the electric telescopic rod;
图2为电动伸缩杆处于第二长度示意图。Fig. 2 is a schematic diagram of the electric telescopic rod at the second length.
具体实施方式Detailed ways
附图标记:2灯杆;2.1第一通孔;2.2第二通孔;2.3第三通孔;3第一风扇;4蓄电池承载板;4.1第一圆孔;5蓄电池;6水平板;6.1第二圆孔;7活动块;7.1连通孔;8横杆;8.1电动推杆;8.2压板;8.3弹簧;9第二风扇;10灯头承载板;10.1第三圆孔;10.2散热块;10.3安装基板;10.4LED灯珠;11反光板;12太阳能电池板。Reference signs: 2 light pole; 2.1 first through hole; 2.2 second through hole; 2.3 third through hole; 3 first fan; 4 battery bearing plate; 4.1 first round hole; 5 battery; 6 horizontal plate; 6.1 2nd round hole; 7. Movable block; 7.1 Connecting hole; 8. Crossbar; 8.1 Electric push rod; 8.2 Press plate; 8.3 Spring; 9. Second fan; Substrate; 10.4 LED lamp beads; 11 reflector; 12 solar panels.
一种高效散热太阳能LED路灯,包括灯杆2、控制器、蓄电池5、太阳能电池板12、充放电电路和LED灯头,所述灯杆为中空的灯杆,所述灯杆内从下到上依次固定有蓄电池承载板4、水平板和灯头承载板10,所述灯杆的侧壁还具有第一通孔2.1和第二通孔2.2,所述第一通孔位于所述蓄电池承载板下方,所述第二通孔位于所述蓄电池承载板和所述水平板之间,所述蓄电池承载板具有第一圆孔,所述水平板具有第二圆孔2.2,所述灯头承载板具有第三圆孔10.1,所述蓄电池承载板和所述第一通孔之间设置有位于灯杆内的第一风扇3,所述蓄电池承载板用于承载蓄电池,所述灯头承载板用于承载所述LED灯头;所述灯杆顶部通过反光板支架固定有反光板,所述反光板的下表面为反光面;所述反光板通过太阳能电池板支架固定有太阳能电池板。所述第一风扇3通过第一风扇支架安装在所述灯杆内,所述第一风扇支架与所述灯杆内侧壁焊接固定。所述反光板的反射面为曲面。所述第一、二通孔的数量均大于等于两个;所述第一、二、三圆孔的数量均大于等于两个。所述蓄电池为锂电池。所述LED灯头包括固定在所述灯头承载板上的散热块、与所述散热块连接的安装基板和安装在安装基板上的多个LED灯珠;所述散热块10.2具有散热翅片,多个LED灯珠104安装在安装基板10.3上的上表面。A high-efficiency heat dissipation solar LED street lamp, including a lamp post 2, a controller, a
还包括位于所述灯头承载板上的温度传感器、位于灯头承载板下方的第二风扇9、将所述第二风扇与所述灯杆内侧壁固定的第二风扇支架、位于灯杆内的横杆8、一端与横杆固定的电动推杆8.1、与电动推杆另一端连接的压板和通过弹簧8.3与所述压板下表面连接的活动块,所述第二风扇位于所述横杆上方,所述活动块具有第一凹槽,所述第一凹槽底面具有第二凹槽,所述弹簧的一端与压板连接,另一端与第二凹槽的底面连接,所述活动块还包括连通活动块下表面和第一凹槽底面的连通孔7.1;所述灯杆侧壁具有位于水平板上方的第三通孔2.3,所述控制器能够控制电动伸缩杆处于第一长度和第二长度,当所述电动伸缩杆处于第一长度时,所述压板和所述第一凹槽底面具有间隙,所述活动块和所述水平板之间有间隙,所述活动块的侧壁堵住所述第三通孔;当所述电动伸缩杆处于第二长度时,所述压板抵接所述第一凹槽的底面且封闭所述连通孔的顶端,所述活动块抵接所述水平板,所述水平板封闭所述连通孔的底端,所述活动块的底面封闭所有的第二圆孔6.1,所述活动块的侧壁不封闭所述第三通孔2.3;在LED灯头开启时,控制器进行控制,当温度传感器的测量值小于设定阈值时,控制第一风扇开启、第二风扇关闭、电动伸缩杆处于第一长度;当温度传感器的测量值大于等于设定阈值值时,控制第一风扇开启、第二风扇开启、电动伸缩杆处于第二长度。It also includes a temperature sensor located on the lamp base bearing plate, a
本发明的路灯,在LED灯头开启时,正常情况下,当温度传感器的测量值小于设定阈值时,LED灯头温度不算高,此时为了避免开启两个散热风扇能耗高,如图1所示,第二风扇关闭,第一风扇开启,第一风扇产生的气流先经过蓄电池,一部分从第二通孔出去,另一部分继续向上经过第三圆孔经过LED灯头将热量带走(当气流经过蓄电池时被加热了,因此对LED灯头散热效果稍差);当温度传感器的测量值不小于设定阈值时,此时LED灯头需要加强散热,因此如图2所示,第一风扇对蓄电池散热,第二风扇对LED灯头散热,形成两个独立的散热系统,此时从第三通孔进来的是冷风,并且经过LED灯头的气流风量更大,对LED灯头的散热效果更好。In the street lamp of the present invention, when the LED lamp holder is turned on, under normal circumstances, when the measured value of the temperature sensor is less than the set threshold, the temperature of the LED lamp holder is not too high. At this time, in order to avoid the high energy consumption of two cooling fans, as shown in Figure 1 As shown, the second fan is turned off, the first fan is turned on, the airflow generated by the first fan first passes through the battery, part of it goes out from the second through hole, and the other part continues upward through the third round hole and passes through the LED lamp head to take away the heat (when the airflow It is heated when passing through the battery, so the heat dissipation effect on the LED lamp head is slightly worse); when the measured value of the temperature sensor is not less than the set threshold, the LED lamp head needs to strengthen heat dissipation at this time, so as shown in Figure 2, the first fan has a cooling effect on the battery For heat dissipation, the second fan dissipates heat to the LED lamp head to form two independent heat dissipation systems. At this time, the cold air comes in from the third through hole, and the airflow passing through the LED lamp head has a larger air volume, which has a better heat dissipation effect on the LED lamp head.
尽管本发明就优选实施方式进行了示意和描述,但本领域的技术人员应当理解,只要不超出本发明的权利要求所限定的范围,可以对本发明进行各种变化和修改。Although the present invention has been illustrated and described in terms of preferred embodiments, those skilled in the art should understand that various changes and modifications can be made to the present invention without departing from the scope defined by the claims of the present invention.
Claims (5)
Priority Applications (1)
| Application Number | Priority Date | Filing Date | Title |
|---|---|---|---|
| CN201710445197.3A CN107062149B (en) | 2017-06-12 | 2017-06-12 | High-efficient heat dissipation solar energy LED street lamp |
Applications Claiming Priority (1)
| Application Number | Priority Date | Filing Date | Title |
|---|---|---|---|
| CN201710445197.3A CN107062149B (en) | 2017-06-12 | 2017-06-12 | High-efficient heat dissipation solar energy LED street lamp |
Publications (2)
| Publication Number | Publication Date |
|---|---|
| CN107062149A CN107062149A (en) | 2017-08-18 |
| CN107062149B true CN107062149B (en) | 2023-05-09 |
Family
ID=59594684
Family Applications (1)
| Application Number | Title | Priority Date | Filing Date |
|---|---|---|---|
| CN201710445197.3A Active CN107062149B (en) | 2017-06-12 | 2017-06-12 | High-efficient heat dissipation solar energy LED street lamp |
Country Status (1)
| Country | Link |
|---|---|
| CN (1) | CN107062149B (en) |
Families Citing this family (10)
| Publication number | Priority date | Publication date | Assignee | Title |
|---|---|---|---|---|
| CN107448894A (en) * | 2017-09-22 | 2017-12-08 | 江苏承煦电气集团有限公司 | A kind of Solar Street Lighting System |
| CN107763544B (en) * | 2017-10-16 | 2020-10-16 | 扬州金钧照明有限公司 | Water-cooled solar LED street lamp |
| CN107676717A (en) * | 2017-10-31 | 2018-02-09 | 成都格莱飞科技股份有限公司 | A kind of graphene radiating intelligent energy-saving street lamp |
| CN108679552B (en) * | 2018-04-03 | 2020-10-27 | 扬州略扬科技有限公司 | A high-efficiency heat dissipation solar LED street light |
| CN109630985B (en) * | 2018-10-31 | 2020-10-30 | 山东华方智联科技股份有限公司 | Multi-functional wisdom lamp pole |
| CN111795337A (en) * | 2020-06-09 | 2020-10-20 | 江苏跃马建工集团有限公司 | Arc-shaped high-heat-dissipation energy-saving outdoor LED lamp |
| CN112128684B (en) * | 2020-08-24 | 2022-06-07 | 飞航建设集团有限公司 | Solar LED street lamp |
| CN112050154B (en) * | 2020-09-22 | 2022-11-29 | 合肥安能智控技术有限公司 | Solar street lamp independent built-in lithium battery |
| CN113432085B (en) * | 2021-05-24 | 2022-07-12 | 江苏信泰照明科技有限公司 | A high-efficiency power generation integrated solar LED street light |
| CN118408184B (en) * | 2024-06-29 | 2024-11-19 | 扬州市鑫之路交通照明科技有限公司 | Intelligent street lamp with fault self-checking function |
Citations (5)
| Publication number | Priority date | Publication date | Assignee | Title |
|---|---|---|---|---|
| CN101188261A (en) * | 2007-12-17 | 2008-05-28 | 天津理工大学 | Light-emitting diodes and surface light sources with large divergence angles |
| CN204176495U (en) * | 2014-09-09 | 2015-02-25 | 湖南凡一节能科技有限公司 | Light emitting diode road lamp |
| CN205919229U (en) * | 2016-06-28 | 2017-02-01 | 扬州兴龙电器有限公司 | Solar LED street lamp |
| CN205919228U (en) * | 2016-06-28 | 2017-02-01 | 扬州兴龙电器有限公司 | Solar street lamp with integration lamp holder |
| CN206786596U (en) * | 2017-06-12 | 2017-12-22 | 杨晓艳 | A kind of high efficiency and heat radiation solar LED street lamp |
-
2017
- 2017-06-12 CN CN201710445197.3A patent/CN107062149B/en active Active
Patent Citations (5)
| Publication number | Priority date | Publication date | Assignee | Title |
|---|---|---|---|---|
| CN101188261A (en) * | 2007-12-17 | 2008-05-28 | 天津理工大学 | Light-emitting diodes and surface light sources with large divergence angles |
| CN204176495U (en) * | 2014-09-09 | 2015-02-25 | 湖南凡一节能科技有限公司 | Light emitting diode road lamp |
| CN205919229U (en) * | 2016-06-28 | 2017-02-01 | 扬州兴龙电器有限公司 | Solar LED street lamp |
| CN205919228U (en) * | 2016-06-28 | 2017-02-01 | 扬州兴龙电器有限公司 | Solar street lamp with integration lamp holder |
| CN206786596U (en) * | 2017-06-12 | 2017-12-22 | 杨晓艳 | A kind of high efficiency and heat radiation solar LED street lamp |
Also Published As
| Publication number | Publication date |
|---|---|
| CN107062149A (en) | 2017-08-18 |
Similar Documents
| Publication | Publication Date | Title |
|---|---|---|
| CN107062149B (en) | High-efficient heat dissipation solar energy LED street lamp | |
| CN201425247Y (en) | LED street lights with solar panels | |
| CN204084161U (en) | Integral solar energy LED street lamp | |
| CN206786596U (en) | A kind of high efficiency and heat radiation solar LED street lamp | |
| CN201636696U (en) | Wide-range and high-power LED street lamp | |
| CN220958020U (en) | Long-life LED street lamp with energy-conserving effect | |
| CN203560798U (en) | A New Heat Dissipation LED Street Light | |
| CN201487896U (en) | High-power light-emitting diode lighting heat dissipation structure | |
| CN206430036U (en) | A kind of integrated solar power generation lamp holder | |
| CN202581022U (en) | High-power LED (Light-emitting Diode) ceiling light | |
| CN202580763U (en) | Novel light-emitting diode (LED) fluorescent tube | |
| CN202177075U (en) | Radiating device of large-power light-emitting diode (LED) array | |
| CN210717285U (en) | Sealed outdoor LED lamp convenient to heat dissipation | |
| CN203273828U (en) | Stroboscope lamp | |
| CN201844296U (en) | Optical energy heat dissipation type LED lamp | |
| CN202419456U (en) | LED (Light-Emitting Diode) solar road lamp | |
| CN201885084U (en) | A kind of LED street light | |
| CN202791891U (en) | Groove type radiator for LED lamp | |
| CN202419234U (en) | led lights | |
| CN201672378U (en) | High-power LED street lamp | |
| CN108980746A (en) | A kind of intelligent solar LED street lamp | |
| CN207990239U (en) | A kind of low-power consumption heat dissipation side-emitting LED illuminating module | |
| CN207762790U (en) | A kind of New LED solar street light | |
| CN203848249U (en) | Heat dissipation device for LED track lamps | |
| CN204460053U (en) | Solar integration LED lamp |
Legal Events
| Date | Code | Title | Description |
|---|---|---|---|
| PB01 | Publication | ||
| PB01 | Publication | ||
| SE01 | Entry into force of request for substantive examination | ||
| SE01 | Entry into force of request for substantive examination | ||
| TA01 | Transfer of patent application right |
Effective date of registration: 20230421 Address after: 2700 Qingfeng Road, Zhaojiazhuang Village, Qishan Town, Juxian County, Rizhao City, Shandong Province Applicant after: Shandong Mingbei Lighting Co.,Ltd. Address before: 225600 Yang Jia Xia, Situ Town, Gaoyou City, Yangzhou City, Jiangsu Province Applicant before: Yang Xiaoyan |
|
| TA01 | Transfer of patent application right | ||
| GR01 | Patent grant | ||
| GR01 | Patent grant |
