CN1069080C - Method of welding plastics sheets together and joint used therein - Google Patents
Method of welding plastics sheets together and joint used therein Download PDFInfo
- Publication number
- CN1069080C CN1069080C CN96101235A CN96101235A CN1069080C CN 1069080 C CN1069080 C CN 1069080C CN 96101235 A CN96101235 A CN 96101235A CN 96101235 A CN96101235 A CN 96101235A CN 1069080 C CN1069080 C CN 1069080C
- Authority
- CN
- China
- Prior art keywords
- joint
- fusible
- plastic
- sheet
- welding
- Prior art date
- Legal status (The legal status is an assumption and is not a legal conclusion. Google has not performed a legal analysis and makes no representation as to the accuracy of the status listed.)
- Expired - Fee Related
Links
- 238000000034 method Methods 0.000 title claims abstract description 24
- 239000004033 plastic Substances 0.000 title claims abstract description 15
- 229920003023 plastic Polymers 0.000 title claims abstract description 15
- 238000003466 welding Methods 0.000 title claims description 23
- 239000002985 plastic film Substances 0.000 claims abstract description 72
- 230000004927 fusion Effects 0.000 claims abstract description 11
- 238000005452 bending Methods 0.000 claims description 6
- 239000000463 material Substances 0.000 description 8
- 230000004048 modification Effects 0.000 description 8
- 238000012986 modification Methods 0.000 description 8
- 239000002344 surface layer Substances 0.000 description 7
- XLYOFNOQVPJJNP-UHFFFAOYSA-N water Substances O XLYOFNOQVPJJNP-UHFFFAOYSA-N 0.000 description 4
- 239000004698 Polyethylene Substances 0.000 description 3
- 239000000853 adhesive Substances 0.000 description 3
- 230000001070 adhesive effect Effects 0.000 description 3
- 239000002184 metal Substances 0.000 description 3
- -1 polyethylene Polymers 0.000 description 3
- 229920000573 polyethylene Polymers 0.000 description 3
- 230000015556 catabolic process Effects 0.000 description 2
- 238000006731 degradation reaction Methods 0.000 description 2
- 210000005069 ears Anatomy 0.000 description 2
- 230000000694 effects Effects 0.000 description 2
- 230000005611 electricity Effects 0.000 description 2
- 238000002844 melting Methods 0.000 description 2
- 230000008018 melting Effects 0.000 description 2
- 229910001120 nichrome Inorganic materials 0.000 description 2
- 230000009182 swimming Effects 0.000 description 2
- 239000002131 composite material Substances 0.000 description 1
- 230000008878 coupling Effects 0.000 description 1
- 238000010168 coupling process Methods 0.000 description 1
- 238000005859 coupling reaction Methods 0.000 description 1
- 238000010438 heat treatment Methods 0.000 description 1
- 238000009413 insulation Methods 0.000 description 1
- 239000010410 layer Substances 0.000 description 1
- 229920005989 resin Polymers 0.000 description 1
- 239000011347 resin Substances 0.000 description 1
- 230000000284 resting effect Effects 0.000 description 1
- 229920005992 thermoplastic resin Polymers 0.000 description 1
- 238000004078 waterproofing Methods 0.000 description 1
Images
Landscapes
- Lining Or Joining Of Plastics Or The Like (AREA)
Abstract
The method of the present invention comprises the following steps that a plastic sheet and a plastic joint are made, wherein the plastic sheet is provided with mutual fusion edges and the plastic joint is provided with at least two weldable regions; then the plastic sheet edges are arranged on the top or in the middle of the weldable regions; finally the power is switched on through wires and produces the heat which ensures that each edge is fused into the corresponding weldable region. In addition, the plastic sheet is at least provided with the embeded wires at one side to be fused with each other without joints provided with U-shaped grooves or auriform protrusions to be suitable for combining with the plastic sheet edges, and the wires are embedded in the grooves or protrusions.
Description
The present invention relates to a method for welding or fusing sheets, films or plates made of thermoplastic resin, and to a joint used in the method.
There is currently a method of fusing two plastic sheets, such as polyethylene sheets, in which a hot plate is placed between the sides of the two sheets and pushed along them. The elongated sheet thus produced is used for waterproofing various equipment or structures, such as refuse dumps, water tanks, swimming pools, office buildings, and housing.
With this prior art method, all surface areas of the edges of the polyethylene sheets to be welded are not melted simultaneously in a short time. Thus, the fusing work is not only laborious and time-consuming, but these areas cannot be uniformly heated to ensure good and reliable adhesive strength in all the fused areas.
In view of these disadvantages, the present invention aims to provide a novel method for welding a plastic sheet or the like to another plastic sheet in a short time with less effort, which uniformly heats the surface area of the sheet or the like to obtain a reliable high bonding strength.
In a preferred form of the invention, it includes the steps of: the edges to be welded on both sides of the first plastic sheet are pre-integrated and a plastic joint with at least two fusible areas is made, wherein the plastic joint is also provided with an embedded wire guide part and extends from the head to the head along each fusible area; the edge of the plastic sheet is then placed on the fusible area of the joint; finally, the wire guides are energized to heat them, thereby fusing each plastic sheet edge to a respective fusible area of the joint.
Also provided in this specification is a joint made of plastic and having the above-described structure, wherein the joint is a strip-like member and has at least two fusible areas extending along the joint and each having a wire guide, for example, an electric wire buried and energized in the fusible areas from end to end and capable of generating heat.
In another preferred form of the invention, it includes the steps of: the first plastic sheet material edge connected with another plastic sheet material is preformed to make one edge have at least one edge contacted with one edge of another sheet material and welded together, and at least one edge is equipped with wire-guiding component which is embedded and extended from the one edge to the other edge; then placing the edges of the plastic sheets on each other; finally, the wire guide is electrified to generate heat, so that the edges of the plastic sheets are mutually welded together.
Fig. 1 is a partial perspective view of a joint provided in a first embodiment and used in a first mode example of the method of welding plastic sheets of the present invention;
FIG. 2 is a perspective view of a first manner of welding plastic sheets together using the joint shown in FIG. 1;
FIG. 3 is a plan view of the joint;
FIG. 4 is a partial perspective view of a modification of the fitting shown in FIG. 1;
FIG. 5 is an enlarged partial perspective view of the plastic sheets being welded together using the joint of the first embodiment;
FIG. 6 is a partial cross-sectional view of another modification (slotted) of the joint;
FIG. 7 is a side view of yet another modification of the joint;
FIG. 8 is a side view of yet another modification of the joint;
FIG. 9 is a side view of yet another modification of the joint;
FIG. 10 is a perspective view of another example of the first method of welding plastic sheets together using the joint shown in FIG. 1;
FIG. 11 is a partial perspective view of a fitting provided in the second embodiment and used in a first mode of the method described below;
FIG. 12 is a partial perspective view of a modification of the fitting shown in FIG. 11;
FIG. 13 is a partial perspective view of an example of a second mode of the method of the present invention in which the plastic sheets are welded together without the aid of any joints;
FIG. 14 is a side view of a second way of welding plastic sheets;
FIG. 15 is a plan view of a plastic sheet being welded to another sheet in a second manner;
FIG. 16 is a partial perspective view of a second manner of welding plastic sheets together;
FIG. 17 is a partial perspective view of another example of the second approach, without the aid of any joints to weld the plastic sheets together;
FIG. 18 is a partial perspective view of yet another example of the second mode, without the aid of any joints to weld plastic sheets together; and
fig. 19 is a side view of a tab being welded and welded to a plastic sheet material, wherein the tab is a modification used in the first embodiment described above.
Hereinafter, a first mode of the plastic sheet welding method will be described in detail with reference to the joints shown in fig. 1 to 12 and 19.
A connector 1 of the type provided in the first embodiment and shown in figures 1 to 5 is of the bayonet type. This joint is made of a long strip of plastic and has a pair of U-shaped slots 3. Said grooves 3 are open in opposite directions and are contained in a common plane. The side edges of each plastic sheet 2 can be inserted over their entire length into said slots.
The width of each groove 3 is equal to the thickness of the plastic sheet 2. Each side wall of the channel defined therebetween is also of substantially the same thickness as said plastic sheet.
The inner surfaces 3a and 3b of the groove side walls are in close contact with the front and rear surfaces of the plastic sheet inserted into each groove 3, respectively. The wires 4 extend as wire guides from one end of the connector 1 to the other. The electric wires 4 embedded in the side walls 3a and 3b generate heat when energized.
A post 5 welded to the end of each wire 4 projects from the end or one of the shorter side faces of the band joint 1. The other ends of the 4 wires 4 extend from the other shorter side and are connected to each other to form a cross point "P". Fig. 4 shows a modified connector 1 in which a pair of wires 4 parallel to each other in the upper and lower direction in each slot are connected in series. This connection is made by its U-shaped bent portion 4a being placed within and adjacent to one short side. Thus, two-unit joints can be butt welded at their facing ends as required to provide an extended joint twice as long as a single joint.
The electric wire 4 is embedded in the joint as a wire guide, which may be a Nichrome wire (registered trademark) or the like for emitting joule heat.
The coupling shown in figures 1 to 4 has a stop 6 which is integrally formed and projects from the inner surfaces 3a and 3 b. These stops 6 are positioned more inwardly than the wires 4 so as to prevent the inner end 2a of each plastic sheet 2 from resting on the bottom 3c of each groove 3. Thus, a small gap 8 will exist between the inner end 2a and the groove bottom 3 c.
For making the above-mentioned joint 1, an extruder having a die having the same shape as the cross-section of the joint may be used. The plastic used to extrude the joint may be the same plastic from which the plastic sheet 2 is formed. The electric wire 4 is inserted into the joint 1 while it is pressed.
The operation of the first mode of the method for welding plastic sheets 2 to each other by means of a joint 1 is carried out in the following manner. First, one side of each of the two plastic sheets is pushed into the groove 3 of the joint 1 until it rests against the stop 6. Each wire 4 is energized with the required current density by an electrofusion controller 7, after the entire length of the side of each sheet 2 is inserted into the slot and the two sheets are fixed in this position. After a predetermined time of energization through the post 5, joule heat is generated enough to melt the surface layer of the tab and the sheet. One pair of these surface layers is a side wall 3a of the tab slot 3 and the front side of each sheet 2, and the other pair is the other side wall 3b and the back side of said sheet. These mutually contacting surface layers are instantaneously fused over their entire length. According to the method, heat is uniformly applied to all the surface layers in contact with each other, thereby ensuring high and reliable adhesive strength without any unfused region or place.
The gap 8 formed between the inside end 2a of each sheet and the groove bottom 3c of the tab 1 extends from one end side to the other end side of the groove 3. Thus, compressed air can be introduced into the interspace 8 in order to check the integrity of the fusion in the longitudinal direction of the joint. Further, a high voltage may be applied to the surface of the fusion sheet where the electric wire 4 is embedded using a tester. Poor fusion can result in irregularities in the insulating properties.
The fusion splice described above requires only two operating steps after the sheet and the connector are made, namely placing the plastic sheet 2 in the groove 3 of the connector 1 and applying electricity through the wires for tens of seconds or minutes.
The melting temperature of the tab 1 and the sheet 2 varies with the material thereof. The time required to melt the tab and surface area of the sheet also varies with its thickness and room temperature. Therefore, the controller 7 must adjust the current density and the energization time. Such control also has the effect of protecting the fused zone from thermal degradation.
The electric wire 4 is preferably arranged at the center line of the fusion area between the terminal 1 and the sheet 2. Each joint area to be fused can be embedded with most of the parallel wires 4 or a single meander line so that the entire surface of said area can be melted. Each wire, such as the bare wires exemplified above, may be coated with the same plastic material from which the sheet is made. The electric wire 4 may not be completely embedded in the side wall of the terminal 1 but may be partially exposed inside the terminal groove 3.
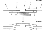
Fig. 19 shows a modified joint 1 employed in the first mode referred to above. In this connector, the electric wires 4 on the front side of the sheet and the electric wires 4 on the rear side of the sheet are exposed in a step shape. This arrangement of wires produces bending stresses on the fused area when it is fused. The bending deformation shown in the lower part of fig. 19 will occur in said area, thereby improving the weld strength.
Fig. 6 shows a further variant of the connector 1, in which a further straight wire 4 is embedded in the groove base 3C. In addition to the front and rear weldable sides of the joint, the side 2a of each plastic sheet 2 may also be fused to the groove bottom. In this case, no stop 6 is provided on the side wall of the tank 3.
The connector 1 does not necessarily have to be in the above-described bayonet shape. Fig. 7 shows a joint elbow, which is another modified joint that connects two plastic sheets 2 perpendicularly to each other. Fig. 8 shows a further modified joint, i.e. T-shaped or Y-shaped, which can connect three plastic sheets 2, while fig. 9 shows a further modified joint, i.e. cross-shaped, which is suitable for connecting four plastic sheets 2. The joint 1 may be designed in any other shape suitable for the connection of multi-piece and multi-directional plastic sheets, as is typical of water supply systems or gas appliances.
Fig. 10 shows another example of the first mode of the present invention, in which two plastic sheets 2 are welded together, wherein a cylinder or a circular tube is formed using the two joints 1 shown in fig. 1. Such a cylinder can be used to form a coaxial recoil pipe surrounding the original metal pipe 50, in which case the metal pipe cannot be repaired, nor removed, nor broken due to the resin lining of the cylindrical inner surface of the recoil pipe.
Fig. 11 shows a joint 1 according to a first embodiment, which is also suitable for use in the above-described method, in a second embodiment. This joint has two projections 3' projecting in opposite directions in order to be welded to the grooves formed in the ends of the thicker plastic sheet 2. Figure 12 shows a modification of the joint shown in figure 11 in which the protrusion 3' is replaced by two ears 3 ". The side edges of each plastic sheet 2 are placed on the ears 3 "and welded thereto. In this way, the joint 1 has any suitably shaped fusible portion and the weld strength of the plastic sheet material that can be matched to any desired composite structure.
Fig. 13-18 illustrate a second mode of the method for directly welding plastic sheets to each other. In which fig. 13-16 show an example of the second mode, a plastic sheet in strip form is indicated at 12. Two wires 14 extend along one of the opposite sides and are embedded. The straight electric wires 14 each extending over the entire length of the strip-like sheet are partially exposed.
A post 15 welded to the end of each wire 14 projects from the end or one of the shorter sides of each band-shaped sheet 12. The other ends of the two electric wires 14 project from the other shorter side and are connected to each other to form an intersection point P'.
The wire 14 embedded in the sheet with the straight conductive element may be a Nichrome wire (registered trademark) or the like that emits joule heat.
To make such a plastic sheet 12, an extruder having a die with the same cross-sectional shape as the sheet may be used. The wire 14 may be inserted into the sheet 12 at the same time as it is compressed.
In a second mode of the method of directly welding the plastic sheets 12 to each other, the following operation is performed. First, one side of one of the two plastic sheets 12 is superimposed on the side of the other, the former having the electrical wires 14 and the latter not. After the two sheets 12 are positioned in this position, the fusion controller 17 energizes each wire 14 with a current at a desired current density. The post 15 is energized for a time sufficient to generate joule heat to melt the surface layer of the sheet. The indicated layers are a pair, namely a side wall 3a in the tab slot 3 and the front edge of each sheet 2. In this way, the surface layers which are in contact with one another are fused instantaneously over their entire length. The method of the invention provides for uniform heating of all the surface layers in contact with each other, thus ensuring a high and reliable adhesive strength without any unfused zones.
The upper sheet 12 is separated from the lower sheet by force, and a gap 18 is formed between the two wires 14. To check the integrity of the longitudinal fusion of the fused zone, compressed air may be introduced into the voids 18. Alternatively, a tester may be used to apply high voltage to the fused sheet representation where the wires 4 are embedded. If the fusion is not good, irregularities in the insulation characteristics may occur.
The welding described above is carried out after the plastic sheet is made, requiring only two operations, namely the overlapping of the side of one sheet 12 on the side of the other sheet 12, and the passage of current through the electric wires 14 for tens of seconds or minutes.
The melting temperature of the plastic sheet 12 varies depending on the material thereof. The time required to melt the surface region of the sheet also varies depending on its thickness and room temperature. For this purpose, the controller 17 should be able to adjust the current density and the energization time. Such control also has the effect of protecting the fused zone from thermal degradation.
The wires 14 are preferably disposed at a suitable distance from the side ends of each sheet 12. A single wire may be substituted for the twin wires 14 and may be embedded in a curved manner on one lateral side of each sheet so that the entire surface of the region is meltable. Each wire 14, for example a bare wire, may be coated with the same plastic as the sheet 12. The electric wire 14 does not have to be completely embedded in the sheet, but may be partially exposed to the outside.
Although the plastic sheets 12 are superimposed on the side edges in the examples shown in fig. 13-16, the electric wire 14 may be embedded in one end and butt-welded to one end of another sheet as shown in fig. 17, or one end of one sheet 12 may be butt-welded to the side edge of another sheet as shown in fig. 18.
The method of the invention can be used to make an elongated waterproof sheet from a single plastic sheet in any of the ways described above, such as it can be used in refuse dumps, water tanks, swimming pools, office buildings, and dwellings. The method of the present invention enables thin polyethylene or other plastic sheets to be formed into existing liners for metallic or non-metallic water, oil, gas or gas pipes, or into wire insulated pipes, wherein the sheets are fused to each other. The method of the present invention can also weld plastic plates instead of general metal plates for constructing large containers and the like. The term "plastic sheet" used in the present specification means not only "sheet" but also "film", "plate", and the like.
In summary, a preferred form of the invention comprises the steps of forming plastic sheets having edges that are fused to each other and forming a joint having at least two fusible areas, the joint further having conductive elements extending and embedded within each fusible area, placing the edges of the plastic sheets in the fusible areas of the joint, and finally energizing the conductive elements to generate heat to fuse the edges of each plastic sheet to the respective fusible areas of the joint. The method of the invention has the advantages that the mutual welding time of the plastic sheets is short and labor-saving, and the surface area of the plastic sheets is uniformly heated, thereby obtaining reliable high bonding strength.
Another preferred form of the invention includes the steps of forming plastic sheets mated to each other such that one of the plastic sheets having at least one edge is brought into contact with and fused to another of the plastic sheets having at least one edge with a conductive member extending along and embedded in the edge, placing the edges of the plastic sheets together, and finally applying electricity through the conductive member to generate heat, thereby fusing the edges of the plastic sheets to each other.
Claims (6)
1. A method of welding together the edges of plastic sheets comprising the steps of:
making one or more plastic sheets having edges fused by a plastic joint having at least two fusible areas, the plastic joint further having an embedded conductive member extending from end to end along each fusible area;
then placing the edge of the or each plastic sheet over the fusible area of the joint; and
finally, electrifying through the conductive piece to generate heat so as to fuse the edge of each plastic sheet with the corresponding fusible area of the joint; wherein,
a first length of wire providing a first conductive member on a first side of the fusible zone and contacting the first surface of the sheet edge;
a second length of wire providing a second conductive element on a second side of the fusible zone and contacting a second surface of the sheet edge;
the first and second length wires are alternately arranged to generate bending stress at the welding zone upon fusion, thereby forming bending deformation in the welding zone and improving welding strength.
2. A plastic joint is in a strip shape, is provided with at least two fusible areas and extends to a plastic sheet to be welded along the joint, conductive elements are respectively embedded in the welding areas from head to tail, and heat can be generated by electrifying; wherein,
a first length of wire providing a first conductive member on a first side of the fusible zone and contacting the first surface of the sheet edge;
a second length of wire providing a second conductive element on a second side of the fusible zone and contacting a second surface of the sheet edge;
the first and second length wires are alternately arranged to generate bending stress at the welding zone upon fusion, thereby forming bending deformation in the welding zone and improving welding strength.
3. The joint of claim 2 wherein said fusible areas are a pair of U-shaped slots opening outwardly in opposite directions.
4. The joint of claim 2 wherein said fusible areas are a pair of U-shaped slots extending perpendicular to each other in cross section.
5. The joint of claim 2 wherein said fusible areas are U-shaped slots in groups of three so as to be T-shaped in cross-section.
6. The joint of claim 2 wherein said fusible areas are U-shaped grooves in groups of four to form a cross-shaped cross-section.
Priority Applications (1)
| Application Number | Priority Date | Filing Date | Title |
|---|---|---|---|
| CN96101235A CN1069080C (en) | 1996-01-30 | 1996-01-30 | Method of welding plastics sheets together and joint used therein |
Applications Claiming Priority (1)
| Application Number | Priority Date | Filing Date | Title |
|---|---|---|---|
| CN96101235A CN1069080C (en) | 1996-01-30 | 1996-01-30 | Method of welding plastics sheets together and joint used therein |
Publications (2)
| Publication Number | Publication Date |
|---|---|
| CN1156082A CN1156082A (en) | 1997-08-06 |
| CN1069080C true CN1069080C (en) | 2001-08-01 |
Family
ID=5117024
Family Applications (1)
| Application Number | Title | Priority Date | Filing Date |
|---|---|---|---|
| CN96101235A Expired - Fee Related CN1069080C (en) | 1996-01-30 | 1996-01-30 | Method of welding plastics sheets together and joint used therein |
Country Status (1)
| Country | Link |
|---|---|
| CN (1) | CN1069080C (en) |
Citations (3)
| Publication number | Priority date | Publication date | Assignee | Title |
|---|---|---|---|---|
| CN1047825A (en) * | 1989-06-09 | 1990-12-19 | 布莱多里亚·泰利齐公司 | Constitute the formed protective sleeve line of resistance welding inserting member |
| WO1994014599A1 (en) * | 1992-12-23 | 1994-07-07 | J & W Tipper Hire Limited | Welding together plastics materials |
| EP0676273A2 (en) * | 1994-04-08 | 1995-10-11 | Friatec Aktiengesellschaft Keramik- und Kunststoffwerke | Connection arrangement for plastic plates |
-
1996
- 1996-01-30 CN CN96101235A patent/CN1069080C/en not_active Expired - Fee Related
Patent Citations (3)
| Publication number | Priority date | Publication date | Assignee | Title |
|---|---|---|---|---|
| CN1047825A (en) * | 1989-06-09 | 1990-12-19 | 布莱多里亚·泰利齐公司 | Constitute the formed protective sleeve line of resistance welding inserting member |
| WO1994014599A1 (en) * | 1992-12-23 | 1994-07-07 | J & W Tipper Hire Limited | Welding together plastics materials |
| EP0676273A2 (en) * | 1994-04-08 | 1995-10-11 | Friatec Aktiengesellschaft Keramik- und Kunststoffwerke | Connection arrangement for plastic plates |
Also Published As
| Publication number | Publication date |
|---|---|
| CN1156082A (en) | 1997-08-06 |
Similar Documents
| Publication | Publication Date | Title |
|---|---|---|
| US5286952A (en) | Methods and devices which make use of conductive polymers to join articles | |
| US5475203A (en) | Method and woven mesh heater comprising insulated and noninsulated wire for fusion welding of plastic pieces | |
| CA1278595C (en) | Pipe joint connecting plastic pipes and process of making such joint | |
| JP2961443B2 (en) | Method for fusion welding a plastic piping member that melts when heated and connecting sleeve used therefor | |
| US4252849A (en) | Heat shrinkable covers | |
| EP0918619B1 (en) | Electrofusion fitting | |
| US5743989A (en) | Method of welding plastics sheets together and a joint used therein | |
| EP0366299A2 (en) | Joining lined pipe | |
| CN104995445A (en) | Electrically heatable dielectric wire and method for manufacturing such dielectric wire | |
| CS119092A3 (en) | Polyolefin coupling and the use thereof for joining polyolefin tubes | |
| EP0304476B1 (en) | Method of joining articles | |
| GB2273679A (en) | Joining sheet plastics | |
| CN1047825A (en) | Constitute the formed protective sleeve line of resistance welding inserting member | |
| US5928453A (en) | Joining process of resin members | |
| CN1069080C (en) | Method of welding plastics sheets together and joint used therein | |
| WO1989005230A1 (en) | Bonding method and devices employing conductive polymers | |
| EP0420933B1 (en) | Methods and devices which make use of conductive polymers to join articles | |
| KR200319044Y1 (en) | Electro-fusion connecting sheet made of synthetic resin | |
| GB2308092A (en) | Welding plastics sheets | |
| KR100416472B1 (en) | Method of welding plastics sheets together and a joint used therein | |
| JP2973113B1 (en) | Plastic joining equipment | |
| WO1998021802A1 (en) | Helical spiral closure with bondline sealing | |
| WO1999041059A1 (en) | Joining method using a ptc polymer | |
| CN116325367B (en) | Wiring member | |
| WO1997011577A1 (en) | Electric fusion welding of thermoplastic materials |
Legal Events
| Date | Code | Title | Description |
|---|---|---|---|
| C06 | Publication | ||
| PB01 | Publication | ||
| C10 | Entry into substantive examination | ||
| SE01 | Entry into force of request for substantive examination | ||
| C14 | Grant of patent or utility model | ||
| GR01 | Patent grant | ||
| C19 | Lapse of patent right due to non-payment of the annual fee | ||
| CF01 | Termination of patent right due to non-payment of annual fee |