CN106404264B - Device and method for measuring internal resistance of bench based on reaction-force drum brake inspection bench - Google Patents
Device and method for measuring internal resistance of bench based on reaction-force drum brake inspection bench Download PDFInfo
- Publication number
- CN106404264B CN106404264B CN201610860543.XA CN201610860543A CN106404264B CN 106404264 B CN106404264 B CN 106404264B CN 201610860543 A CN201610860543 A CN 201610860543A CN 106404264 B CN106404264 B CN 106404264B
- Authority
- CN
- China
- Prior art keywords
- force
- bench
- internal resistance
- reaction
- lead screw
- Prior art date
- Legal status (The legal status is an assumption and is not a legal conclusion. Google has not performed a legal analysis and makes no representation as to the accuracy of the status listed.)
- Expired - Fee Related
Links
- 238000000034 method Methods 0.000 title claims abstract description 27
- 238000007689 inspection Methods 0.000 title claims abstract description 21
- 238000012360 testing method Methods 0.000 claims abstract description 44
- 238000005259 measurement Methods 0.000 claims abstract description 26
- 239000000725 suspension Substances 0.000 claims abstract description 19
- 238000013016 damping Methods 0.000 claims description 3
- 238000000691 measurement method Methods 0.000 claims description 3
- 238000001514 detection method Methods 0.000 abstract description 14
- 238000006243 chemical reaction Methods 0.000 description 13
- 230000035939 shock Effects 0.000 description 5
- 239000006096 absorbing agent Substances 0.000 description 3
- 238000010586 diagram Methods 0.000 description 3
- 230000003321 amplification Effects 0.000 description 2
- 239000003638 chemical reducing agent Substances 0.000 description 2
- 238000003199 nucleic acid amplification method Methods 0.000 description 2
- 230000009286 beneficial effect Effects 0.000 description 1
- 230000000903 blocking effect Effects 0.000 description 1
- 238000006757 chemical reactions by type Methods 0.000 description 1
- 238000006073 displacement reaction Methods 0.000 description 1
- 230000000694 effects Effects 0.000 description 1
- 238000004134 energy conservation Methods 0.000 description 1
Images
Classifications
-
- G—PHYSICS
- G01—MEASURING; TESTING
- G01L—MEASURING FORCE, STRESS, TORQUE, WORK, MECHANICAL POWER, MECHANICAL EFFICIENCY, OR FLUID PRESSURE
- G01L5/00—Apparatus for, or methods of, measuring force, work, mechanical power, or torque, specially adapted for specific purposes
- G01L5/28—Apparatus for, or methods of, measuring force, work, mechanical power, or torque, specially adapted for specific purposes for testing brakes
Landscapes
- Physics & Mathematics (AREA)
- General Physics & Mathematics (AREA)
- Force Measurement Appropriate To Specific Purposes (AREA)
Abstract
本发明涉及一种基于反力式滚筒制动检验台的台架内阻测量装置及方法。该装置主要由施力和力测量装置(A)、固定装置(B)、反力式滚筒制动检验台(C)、轮胎悬架装置(D)组成。该测量装置及方法可应用于台架标定中,通过调节施力和测力装置(A),对轮胎悬架装置(D)施加载荷,从而模拟汽车实际检测过程中的轮载荷,并得到不同轮载荷下的台架内阻值,建立台架内阻与轴载荷的关联关系。对于不同车型,根据不同轴载荷确定相应的台架内阻Fx,对制动力进行误差补偿,提高检测准确度。该装置可广泛应用于汽车检测、试验及科研机构。
The invention relates to a device and method for measuring the internal resistance of a bench based on a reaction-force drum brake inspection bench. The device is mainly composed of a force application and force measurement device (A), a fixing device (B), a reaction-force drum brake inspection table (C), and a tire suspension device (D). The measuring device and method can be applied to bench calibration. By adjusting the force applying and force measuring device (A), a load is applied to the tire suspension device (D), so as to simulate the wheel load in the actual vehicle inspection process, and obtain different The internal resistance value of the gantry under the wheel load is used to establish the relationship between the internal resistance of the gantry and the axle load. For different models, the corresponding bench internal resistance F x is determined according to different axle loads, and the error compensation is performed on the braking force to improve the detection accuracy. The device can be widely used in automobile inspection, testing and scientific research institutions.
Description
技术领域technical field
本发明涉及一种汽车检测装置及方法,特别是涉及一种基于反力式滚筒制动检验台的台架内阻测量装置及方法。The invention relates to a vehicle detection device and method, in particular to a bench internal resistance measurement device and method based on a reaction-force drum brake inspection bench.
背景技术Background technique
汽车制动性能直接关系着汽车的行驶安全,是汽车安全性能必检项目之一,常用制动试验台进行制动性能的检测,目前,国内车辆性能检测站所用制动检验设备多为反力式滚筒制动试验台。其测试原理是:被测车轮置于主、从动滚筒之间,压下第三滚筒,使接近开关导通。通过延时电路启动电动机,经减速器、链传动和主、从动滚筒带动车轮低速旋转,待车轮转速稳定后驾驶员踩下制动踏板。车轮制动器的摩擦力矩经轮胎传递给滚筒变为轮胎对滚筒的作用力。与此同时滚筒对轮胎的周缘的切线方向有反作用力,以克服制动器摩擦力矩,维持车轮继续旋转。由于作用力的存在,减速器壳体与测力杠杆一起朝滚筒转动相反方向摆动,测力杠杆的力或位移经传感器转换成与制动力大小成比例的电信号,由计算机采集、处理后,由指示装置或打印机输出检测到的制动力。The braking performance of a vehicle is directly related to the driving safety of the vehicle, and it is one of the items that must be checked for the safety performance of the vehicle. The brake test bench is often used to test the braking performance. At present, the braking test equipment used in the domestic vehicle performance testing station is mostly reaction force Type roller brake test bench. The test principle is: the wheel to be tested is placed between the main and driven rollers, and the third roller is pressed down to make the proximity switch turn on. The motor is started through the delay circuit, and the wheel is driven to rotate at a low speed through the reducer, chain drive and the main and driven rollers. After the wheel speed is stable, the driver steps on the brake pedal. The friction torque of the wheel brake is transmitted to the drum through the tire and becomes the force of the tire on the drum. At the same time, the roller has a reaction force on the tangential direction of the tire periphery to overcome the friction torque of the brake and maintain the wheel to continue to rotate. Due to the existence of the acting force, the reducer housing and the force measuring lever swing together in the opposite direction of the rotation of the drum. The force or displacement of the force measuring lever is converted into an electrical signal proportional to the braking force by the sensor, which is collected and processed by the computer. The detected braking force is output by a pointing device or a printer.
目前,汽车在反力是滚筒试验台上进行检测的过程中,驱动电机会带动滚筒组以及试验台的其他旋转部件一起运动,在运动过程中,各个旋转部件之间的摩擦会存在着能量的损失,包括轮胎与滚筒之间产生的摩擦损失以及试验台内部传动系统之间产生的摩擦损失。其中,试验台内部产生的摩擦损失为台架的内阻。在检测过程中检测出来的汽车制动力也包括了这一部分的阻力,导致检测结果存在误差。因此,在反力式滚筒制动试验台投入使用之前应该确定其内部阻力并进行标定,使检测结果更加准确。现在通常采用滑行法来确定台架的内阻,而滑行法中利用动能守恒定律求出的台架内阻的值通常是一个定值,由于台架的内阻与汽车的轴载荷和汽车检测时的运行速度有关,因此,滑行法存在较大的误差。At present, in the process of detecting the reaction force on the drum test bench, the drive motor will drive the drum set and other rotating parts of the test bench to move together. During the movement, the friction between the rotating parts will have energy. Losses, including friction losses between the tire and the drum and friction losses between the drive system inside the test bench. Among them, the friction loss generated inside the test bench is the internal resistance of the bench. The braking force of the vehicle detected in the detection process also includes the resistance of this part, resulting in errors in the detection results. Therefore, the internal resistance of the reaction drum brake test bench should be determined and calibrated before it is put into use to make the test results more accurate. Now the sliding method is usually used to determine the internal resistance of the bench, and the value of the internal resistance of the bench calculated by the law of kinetic energy conservation in the sliding method is usually a fixed value. Therefore, there is a large error in the sliding method.
发明内容SUMMARY OF THE INVENTION
本发明的目的是为了解决目前不同轴载荷的汽车在反力式滚筒制动试验台检测过程中台架内阻不准确造成的制动力结果不准确的问题。提供一种基于反力式滚筒制动试验台的台架内阻测量的装置和方法。通过测量不同轴载荷下的台架内阻的值,确定反力式滚筒制动试验台的台架内阻与汽车轴载荷之间的关联关系,对制动力结果进行误差补偿,使检测结果更加精确。The purpose of the present invention is to solve the problem of inaccurate braking force results caused by inaccurate internal resistance of the bench during the detection process of the reaction-force drum brake test bench for vehicles with different axle loads. Provided are a device and method for measuring the internal resistance of a bench based on a reaction-force drum brake test bench. By measuring the value of the bench internal resistance under different axle loads, the relationship between the bench internal resistance of the reaction-force drum brake test bench and the vehicle axle load is determined, and the error compensation is performed on the braking force results, so that the detection results can be improved. more precise.
为解决上述技术问题,本发明是采用如下技术方案实现的:In order to solve the above-mentioned technical problems, the present invention adopts the following technical solutions to realize:
一种基于反力式滚筒制动检验台的台架内阻测量装置,主要由施力和力测量装置A、固定装置B、反力式滚筒制动检验台C和轮胎悬架装置D组成,所述的轮胎悬架装置D通过铰链与施力和力测量装置A链接,施力和力测量装置A通过螺栓连接固定在固定装置B上,所述的固定装置B通过螺栓连接固定在反力式滚筒制动检验台C的台架上;所述施力和力测量装置A中,施力手柄1与丝杠2通过键连接,丝杠2与基体3采用螺纹配合,丝杠2和连接件Ⅰ5通过滑块4进行力的传递,滑块4通过导向块7与基体3连接,并沿着导向块7在基体3上进行纵向移动,力传感器6通过连接件Ⅰ5与滑块4连接。A bench internal resistance measurement device based on a reaction-force drum brake test bench is mainly composed of a force application and force measurement device A, a fixing device B, a reaction-force drum brake test bench C and a tire suspension device D. The tire suspension device D is linked with the force application and force measurement device A through a hinge, and the force application and force measurement device A is fixed on the fixing device B through a bolt connection, and the fixing device B is fixed on the reaction force through a bolt connection. On the bench C of the type drum brake inspection bench C; in the force application and force measurement device A, the
所述的固定装置B中,连接板14和施力和力测量装置A中的基体3通过螺栓连接,丝杠15和丝杠17结构相同并通过连接套16进行连接,丝杠17与底板20通过铰链连接,底板20与通过螺栓固定在反力式滚筒制动检验台C的机架上。In the fixing device B, the connecting
一种基于反力式滚筒制动检验台的台架内阻的测量方法,通过转动施力手柄1调节施力和测力装置A,施加载荷于轮胎悬架装置D,从而模拟汽车轴载荷;A method for measuring the internal resistance of a bench based on a reaction-force drum brake test bench, adjusting the force applying and force measuring device A by rotating the
反力滚筒制动试验台滚筒组带动轮胎转动过程中,读取力传感器6仪表的值,获得模拟轴载荷,并根据反力滚筒制动试验台数据采集系统实时测得台架的内阻值Fx,建立轴载荷与台架内阻关联关系。During the rotation of the tires by the roller group of the reaction roller brake test bench, the value of the
与现有技术相比本发明的有益效果是:Compared with the prior art, the beneficial effects of the present invention are:
1、目前采用反力式滚筒制动试验台检测制动力之前对台架的内阻进行标定,所得到的标定值是一个定值,而实际的检测过程中,台架内阻会因轴载荷的不同产生变化,本发明建立的台架内阻的测量装置可以测量不同轴载荷下的台架内阻,可以对制动力结果进行误差补偿。1. At present, the internal resistance of the bench is calibrated before the braking force is detected by the reaction-type drum brake test bench. The obtained calibration value is a fixed value. In the actual detection process, the internal resistance of the bench will be affected by the shaft load. The measurement device for the internal resistance of the bench established by the present invention can measure the internal resistance of the bench under different axial loads, and can perform error compensation on the result of the braking force.
2、本发明所述的基于反力式滚筒制动试验台的台架内阻测量装置结构简单,操作方便,所占空间小,成本低,检测精度高,通过调节施力装置可以精确的模拟不同的轴载荷的大小,不需要采用实车进行标定,在标定过程中只需要采用该装置即可确定不同轴载荷的汽车在检测过程中的台架内阻的值。2. The bench internal resistance measuring device based on the reaction-force drum brake test bench according to the present invention has the advantages of simple structure, convenient operation, small occupied space, low cost and high detection accuracy, and can be accurately simulated by adjusting the force applying device The magnitude of different axle loads does not need to be calibrated with a real vehicle. In the calibration process, only the device needs to be used to determine the value of the bench internal resistance of vehicles with different axle loads during the detection process.
附图说明Description of drawings
下面结合附图对本发明作进一步的说明:Below in conjunction with accompanying drawing, the present invention is further described:
图1是本发明所述的基于反力式滚筒制动试验台的台架内阻测量装置的轴Fig. 1 is the shaft of the bench internal resistance measuring device based on the reaction-force drum brake test bench according to the present invention
测投影图;projection map;
图2a是本发明所述的基于反力式滚筒制动试验台的台架内阻测量装置中的Fig. 2a is the bench internal resistance measurement device based on the reaction-force drum brake test bench according to the present invention
施力和力测量装置的轴测投影图;Axonometric projections of force application and force measurement devices;
图2b是图2a的局部放大图;Fig. 2b is a partial enlarged view of Fig. 2a;
图3是本发明所述的基于反力式滚筒制动试验台的台架内阻测量装置中的Fig. 3 is the bench internal resistance measuring device based on the reaction-force drum brake test bench according to the present invention
固定装置轴测投影图;Axonometric projection of the fixture;
图4是本发明所述的基于反力式滚筒制动试验台的台架内阻测量装置中的Fig. 4 is in the bench internal resistance measuring device based on the reaction-force drum brake test bench according to the present invention
反力式滚筒制动检验台简化模型示意图;Schematic diagram of the simplified model of the reaction drum brake inspection bench;
图5a是本发明所述的基于反力式滚筒制动试验台的台架内阻测量装置中的Fig. 5a is the bench internal resistance measurement device based on the reaction-force drum brake test bench according to the present invention
轮胎悬架装置轴测投影图;Axonometric projection of tire suspension device;
图5b是图5a的局部放大图;Fig. 5b is a partial enlarged view of Fig. 5a;
图6是本发明所述的基于反力式滚筒制动试验台的台架内阻测量装置中的Fig. 6 is in the bench internal resistance measuring device based on the reaction-force drum brake test bench according to the present invention
数据采集系统原理图。Schematic diagram of the data acquisition system.
图中:A.施力和力测量装置,B.固定装置,C.反力式滚筒制动检验台简化模型,D.轮胎悬架装置,1.施力手柄,2.丝杠Ⅰ,3.基体,4.滑块,5.连接件Ⅰ,6.力传感器,7.导向块,8.连接件Ⅱ,9.支撑架,10.铰链,11.下连接件,12.上连接件,13.连接销,14.连接板,15.丝杠Ⅱ,16.连接套,17.丝杠Ⅲ,18.紧固螺栓,19.螺栓孔,20.底板,21.机架,22.链条,23.从动滚筒,24.第三滚筒,25.驱动滚筒,26.活塞杆,27.减震弹簧,28.支撑座圈,29.减震器,30.下摆臂,31.紧固螺栓,32.球头座,33.万向转向节,34.制动盘,35.轮胎,36.制动钳,37.球头座,38.球头座,39.上摆臂,40.紧固螺母,41.紧固螺栓Ⅰ,42.紧固螺栓Ⅱ,43.紧固螺帽,44.球头销,45.模拟量信号放大接线板,46.模拟量采集卡,47.工控机。In the picture: A. Force application and force measurement device, B. Fixing device, C. Simplified model of reaction drum brake test bench, D. Tire suspension device, 1. Force application handle, 2. Lead screw I, 3 .Base body, 4. Slider, 5. Connector I, 6. Force sensor, 7. Guide block, 8. Connector II, 9. Support frame, 10. Hinge, 11. Lower connector, 12. Upper connector , 13. Connecting pin, 14. Connecting plate, 15. Lead screw II, 16. Connecting sleeve, 17. Lead screw III, 18. Fastening bolt, 19. Bolt hole, 20. Bottom plate, 21. Frame, 22. Chain, 23. Driven Roller, 24. Third Roller, 25. Drive Roller, 26. Piston Rod, 27. Shock Spring, 28. Support Race, 29. Shock Absorber, 30. Lower Swing Arm, 31. Tight Bolt, 32. Ball Seat, 33. Universal Steering Knuckle, 34. Brake Disc, 35. Tire, 36. Brake Caliper, 37. Ball Seat, 38. Ball Seat, 39. Upper Swing Arm, 40. Fastening nut, 41. Fastening bolt I, 42. Fastening bolt II, 43. Fastening nut, 44. Ball stud, 45. Analog signal amplification terminal board, 46. Analog acquisition card, 47 . Industrial computer.
具体实施方式Detailed ways
下面结合附图对本发明作详细的描述:Below in conjunction with accompanying drawing, the present invention is described in detail:
本发明提供了一种基于反力式滚筒制动检验台的台架内阻测量的装置及方法,能够提高车辆制动性能检测的精确度。研究车辆制动性能具有很高的社会价值和广泛的社会意义,对车辆的安全运行、乘坐舒适性以及稳定性有很好的促进作用,同时还有很好的社会效益和经济效益。The invention provides a device and method for measuring the internal resistance of a bench based on a reaction-force drum brake test stand, which can improve the accuracy of vehicle braking performance detection. The study of vehicle braking performance has high social value and extensive social significance. It has a good promotion effect on the safe operation, riding comfort and stability of the vehicle, as well as good social and economic benefits.
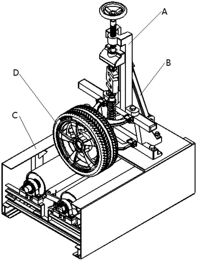
参阅图1,本发明所述的基于反力式滚筒制动检验台的台架内阻测量的装置包括:施力和力测量装置A、固定装置B、反力式滚筒制动检验台C、轮胎悬架装置D。其中轮胎悬架装置D通过铰链与施力和力测量装置A链接,施力和力测量装置A通过螺栓连接固定在固定装置B上,固定装置B通过螺栓连接固定在反力式滚筒制动检验台C上。Referring to Fig. 1, the device for measuring the internal resistance of the bench based on the reaction-force drum brake test bench according to the present invention includes: a force application and force measurement device A, a fixing device B, a reaction-force drum brake test bench C, Tire suspension device D. The tire suspension device D is linked with the force application and force measurement device A through a hinge, the force application and force measurement device A is fixed on the fixing device B through bolts, and the fixing device B is fixed on the reaction-force drum brake test by bolting. on stage C.
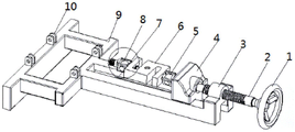
参阅图2,本发明所述的基于反力式滚筒制动检验台的台架内阻测量的装置中的施力和力测量装置A包括:施力手柄1,丝杠2,基体3,滑块4,连接件5,力传感器6,导向块7,连接件8,支撑架9,铰链10,下连接件11,上连接件12,连接销13。施力手柄1与丝杠2通过键连接,丝杠2与基体3采用螺纹配合。连接件5和连接件8的结构相同,力传感器6通过连接件5与滑块4连接,其中力传感器6的规格为S型拉压力传感器,每次施加力的大小可以通过S型标准拉压力传感器的测量仪表直接测得。丝杠2和连接件5通过滑块4进行力的传递,滑块通过导向块7与基体连接,滑块沿着导向块纵向在基体上进行移动。转动施力手柄1,带动丝杠2移动,使滑块4产生位移,通过连接件5将力传递到力传感器6,可以测得施力大小。Referring to FIG. 2, the force application and force measurement device A in the device for measuring the internal resistance of the bench based on the reaction-force drum brake inspection bench according to the present invention includes: a
参阅图3,本发明所述的基于反力式滚筒制动检验台的台架内阻测量的装置中的固定装置B包括:连接板14,丝杠15,连接套16,丝杠17,紧固螺栓18,螺栓孔19,底板20。连接板14和施力和力测量装置A中的基体3通过螺栓连接,丝杠15和丝杠17结构相同通过连接套16进行连接。通过旋转连接套16可以缩短或增加丝杆15和丝杠17的距离,从而可以改变施力和力测量的角度。丝杠15与连接板14通过铰链连接,底板20与通过螺栓固定在反力式滚筒制动检验台C的机架上。固定装置B的主要作用是起到加固悬架轮胎模型D和反力式滚筒制动检验台C的目的,防止标定过程中出现机械配合方面的偏差。Referring to FIG. 3, the fixing device B in the device for measuring the internal resistance of the bench based on the reaction-force drum brake inspection bench according to the present invention includes: a connecting
参阅图4,本发明所述的基于反力式滚筒制动检验台的台架内阻测量的装置中的反力式滚筒制动检验台C为成都成保发展股份有限公司生产的反力式滚筒制动检验台,型号为FZ-10C。本发明采用了反力式滚筒制动检验台简化模型主要包括:机架21,链轮22,从动滚筒23,第三滚筒24,驱动滚筒25。从动滚筒23和驱动滚筒25通过轴承固定在机架上,并通过链轮22进行连接。Referring to Fig. 4, the reaction-force drum brake inspection bench C in the device for measuring the internal resistance of the bench based on the reaction-force drum brake inspection bench of the present invention is the reaction-force type drum produced by Chengdu Chengbao Development Co., Ltd. Drum brake inspection bench, model FZ-10C. The present invention adopts the simplified model of the reaction-force drum brake inspection table, which mainly includes: a
参阅图5,本发明所述的基于反力式滚筒制动检验台的台架内阻测量的装置中的轮胎悬架装置D包括:活塞杆26,减震弹簧27,支撑座圈28,减震器29,下摆臂30,紧固螺栓31,球头座32,万向转向节33,制动盘34,轮胎35,制动钳36,球头座37,球头座38,上摆臂39,紧固螺母40,紧固螺母41,紧固螺栓42,紧固螺栓43,球头销44。Referring to FIG. 5, the tire suspension device D in the device for measuring the internal resistance of the bench based on the reaction-force drum brake test bench according to the present invention includes: a
其中活塞杆26、减震弹簧27、支撑座圈28和减震器29构成了减震系统,活塞杆26的顶部是高度40mm、壁厚5mm、内部直径30mm的柱体,该柱体与施力和力测量装置A中的连接件8同轴配合,当施加压力时,压力通过活塞杆26作用在下摆臂30上,真实模拟汽车的真实轮重。减震器29与下摆臂30铰链连接,下摆臂30和上摆臂39的内端与施力和力测量装置A中的基体3铰链连接,二者的外端则分别通过球头销44与万向转向节33相连。下摆臂30与球头座32通过紧固螺栓Ⅰ41和紧固螺栓Ⅱ42进行固定连接,球头座32与万向转向节33通过球头销44进行连接,上摆臂39的连接方式与下摆臂30的连接方式相同。The
参阅图6,本发明所述的基于反力式滚筒制动试验台的台架内阻测量装置中的数据采集系统原理图包括:模拟量信号放大接线板45,模拟量采集卡46,工控机47。其中台架左右内阻的模拟量信号先通过放大接线板45进行放大处理,然后通过模拟量采集卡46采集到处理后的信号,最后在工控机46中得到相应的台架的内阻值。Referring to FIG. 6, the principle diagram of the data acquisition system in the bench internal resistance measurement device based on the reaction-force drum brake test bench according to the present invention includes: an analog signal
本发明实验装置的工作原理:The working principle of the experimental device of the present invention:
针对不同轴重的汽车,通过调节施力和测力装置A来施加相应的轴载荷,再通过连接装置将力传递给轮胎悬架装置D来模拟汽车实际检测过程中的轴重。其中固定装置B中可以通过调节两丝杠之间的连接套来调节丝杠的长度,通过调节丝杠的角度来使轮胎悬架装置D中的轮胎与反力式滚筒制动检验台C的滚筒组垂直接触。For cars with different axle loads, the corresponding axle loads are applied by adjusting the force application and force measuring device A, and then the force is transmitted to the tire suspension device D through the connecting device to simulate the axle load during the actual inspection process of the car. In the fixing device B, the length of the lead screw can be adjusted by adjusting the connecting sleeve between the two lead screws, and by adjusting the angle of the lead screw, the tire in the tire suspension device D and the reaction drum brake test bench C can be adjusted. The roller groups are in vertical contact.
基于基于反力式滚筒制动试验台的台架内阻测量方法:Based on the bench internal resistance measurement method based on the reaction-force drum brake test bench:
在反力式滚筒制动试验台投入使用之前需要对试验台的内部阻力进行标定,所得到的标定值是一个定值,而实际的检测过程中,台架内阻会因轴载荷的不同产生变化,本发明建立的台架内阻的测量装置可以标定不同轴载荷下的台架内阻,对制动力结果进行误差补偿,使检测出的制动力的值更加精确。Before the reaction drum brake test bench is put into use, it is necessary to calibrate the internal resistance of the test bench, and the obtained calibration value is a fixed value. In the actual detection process, the internal resistance of the bench will be generated due to the difference of the axle load. Changes, the measuring device for the internal resistance of the bench established by the present invention can calibrate the internal resistance of the bench under different axial loads, and perform error compensation on the result of the braking force, so that the value of the detected braking force is more accurate.
本发明的台架内阻测量方法包括以下几个具体步骤:The bench internal resistance measurement method of the present invention includes the following specific steps:
(1)将本发明所述的调节施力和测力装置A、固定装置B、反力式滚筒制动检验台C和轮胎悬架装置D按照图1所述的连接关系进行固定和装配,确保轮胎表面和制动检验台的滚筒组表面垂直接触,将力传感器6进行调零,调节施力和测力装置A中的施力手柄1,使力传感器6的受力为零;(1) Fix and assemble the adjusting force application and force measuring device A, the fixing device B, the reaction-force drum brake test stand C and the tire suspension device D according to the connection relationship described in FIG. 1 according to the present invention, Make sure that the tire surface is in vertical contact with the surface of the roller group of the brake inspection table, zero-adjust the
(2)转动施力手柄1,读取力传感器6的示数,以单位量的轴载荷逐步增加,驱动电机启动,带动滚筒组和轮胎转动,通过数据采集系统得到阻滞力的值,即为该轴载荷下的台架内阻的值(记为Fx)。(2) Rotate the
采集台架内阻与轴载荷的数据,采用最小二乘法对所得到的数据进行拟合,确定台架内阻与车辆轴载荷之间的关联关系。通过该关联关系可以得到不同轴载荷的车辆在检测过程中台架的内阻值Fx,记检测过程中的测得的制动力值为F,则(F-Fx)为去掉台架内阻的实际的制动力,可以对制动力结果进行误差补偿,使检测结果更加精确。Collect the data of the internal resistance of the bench and the axle load, and use the least squares method to fit the obtained data to determine the correlation between the internal resistance of the bench and the axle load of the vehicle. Through this relationship, the internal resistance value F x of the bench during the detection process of vehicles with different axle loads can be obtained, and the measured braking force value during the detection process is recorded as F, then (FF x ) is the removal of the internal resistance of the bench. The actual braking force can be compensated for the error of the braking force result, so that the detection result is more accurate.
Claims (2)
Priority Applications (1)
| Application Number | Priority Date | Filing Date | Title |
|---|---|---|---|
| CN201610860543.XA CN106404264B (en) | 2016-09-29 | 2016-09-29 | Device and method for measuring internal resistance of bench based on reaction-force drum brake inspection bench |
Applications Claiming Priority (1)
| Application Number | Priority Date | Filing Date | Title |
|---|---|---|---|
| CN201610860543.XA CN106404264B (en) | 2016-09-29 | 2016-09-29 | Device and method for measuring internal resistance of bench based on reaction-force drum brake inspection bench |
Publications (2)
| Publication Number | Publication Date |
|---|---|
| CN106404264A CN106404264A (en) | 2017-02-15 |
| CN106404264B true CN106404264B (en) | 2022-07-05 |
Family
ID=58015735
Family Applications (1)
| Application Number | Title | Priority Date | Filing Date |
|---|---|---|---|
| CN201610860543.XA Expired - Fee Related CN106404264B (en) | 2016-09-29 | 2016-09-29 | Device and method for measuring internal resistance of bench based on reaction-force drum brake inspection bench |
Country Status (1)
| Country | Link |
|---|---|
| CN (1) | CN106404264B (en) |
Families Citing this family (3)
| Publication number | Priority date | Publication date | Assignee | Title |
|---|---|---|---|---|
| CN109738117B (en) * | 2019-02-01 | 2023-08-15 | 广东省计量科学研究院(华南国家计量测试中心) | Dynamic detection device for roller counter-force type braking inspection bench |
| CN110595800A (en) * | 2019-09-20 | 2019-12-20 | 葛在 | Device and method for testing vehicle braking performance |
| CN112945584B (en) * | 2021-03-22 | 2023-03-28 | 东风汽车集团股份有限公司 | Tire impact resistance testing device |
Family Cites Families (6)
| Publication number | Priority date | Publication date | Assignee | Title |
|---|---|---|---|---|
| WO2009135498A1 (en) * | 2008-05-06 | 2009-11-12 | Gm Global Technology Operations, Inc. | Digital controller for an automotive steering test rig |
| CN201673013U (en) * | 2010-04-28 | 2010-12-15 | 吉林大学 | Dynamic Calibration Device for Roller Reaction Brake Test Bench |
| CN102768117B (en) * | 2012-07-03 | 2015-04-15 | 浙江江兴汽车检测设备有限公司 | Portable dynamic wheel type calibrator for roller opposite force type automobile brake inspection bench |
| CN202836987U (en) * | 2012-09-24 | 2013-03-27 | 中国人民解放军总后勤部军事交通运输研究所 | Single-axis counter-force type dual-roller detection test platform of trailer inertial braking system |
| CN104502014B (en) * | 2014-12-16 | 2016-08-17 | 吉林大学 | Braking-force detecting device that automobile axle load based on stand adjusts automatically and method |
| CN206161222U (en) * | 2016-09-29 | 2017-05-10 | 吉林大学 | Rack internal resistance measuring device based on counter -force type cylinder brake test bench |
-
2016
- 2016-09-29 CN CN201610860543.XA patent/CN106404264B/en not_active Expired - Fee Related
Also Published As
| Publication number | Publication date |
|---|---|
| CN106404264A (en) | 2017-02-15 |
Similar Documents
| Publication | Publication Date | Title |
|---|---|---|
| CN103389205B (en) | A kind of device detecting combination property under ball screw assembly, stress state | |
| CN204575352U (en) | A kind of hand-rail type Simple tyre static rigidity measurement mechanism | |
| CN101581613B (en) | Dynamometer for automobile chassis and measurement and control method thereof | |
| CN103353403A (en) | Six-dimensional parallel-connection test bench for automobile suspension test | |
| CN108871776B (en) | High-speed train axle damage identification test bed based on vibration response | |
| CN106198046B (en) | A kind of vehicle ABS brake tester carrying out a variety of tests | |
| CN203350048U (en) | Six-dimensional parallel test stand for automobile suspension frame test | |
| CN202453133U (en) | Swing torsion testing device of steering universal joint | |
| CN109141933B (en) | A wheel hub sensor force measuring system | |
| CN107907331B (en) | Wheel hub bearing rigidity testing machine | |
| CN201527343U (en) | Automobile steering system performance test device | |
| CN106404264B (en) | Device and method for measuring internal resistance of bench based on reaction-force drum brake inspection bench | |
| CN205691348U (en) | A kind of vehicle ABS brake tester carrying out multiple test | |
| CN102768117A (en) | Portable dynamic wheel type calibrator for roller opposite force type automobile brake inspection bench | |
| CN101368882B (en) | Car body dynamic intensity analysis method | |
| CN101900544B (en) | Axial and tangential deformation detection device for steering wheel | |
| CN206161222U (en) | Rack internal resistance measuring device based on counter -force type cylinder brake test bench | |
| CN203275024U (en) | Automotive EPS torque sensor test device | |
| CN104749096B (en) | A kind of mechanical friction and adhesion coefficient determine device | |
| CN207007392U (en) | Rotary part strain and moment of torsion rating test device based on reductor | |
| CN202024895U (en) | Roller assembly with two-way adjustable wheelbase | |
| CN114993529A (en) | Four-upright actuator load testing system and testing method | |
| CN201740522U (en) | Axial and tangential deformation detection device of steering wheel | |
| CN205580746U (en) | Stopper test bench device | |
| CN103712794A (en) | Gear transmission system impact vibration energy transfer loss rate detection system and method |
Legal Events
| Date | Code | Title | Description |
|---|---|---|---|
| C06 | Publication | ||
| PB01 | Publication | ||
| C10 | Entry into substantive examination | ||
| SE01 | Entry into force of request for substantive examination | ||
| GR01 | Patent grant | ||
| GR01 | Patent grant | ||
| CF01 | Termination of patent right due to non-payment of annual fee | ||
| CF01 | Termination of patent right due to non-payment of annual fee |
Granted publication date: 20220705 |
