CN106192325B - Electric clothes dryer - Google Patents
Electric clothes dryer Download PDFInfo
- Publication number
- CN106192325B CN106192325B CN201510213145.4A CN201510213145A CN106192325B CN 106192325 B CN106192325 B CN 106192325B CN 201510213145 A CN201510213145 A CN 201510213145A CN 106192325 B CN106192325 B CN 106192325B
- Authority
- CN
- China
- Prior art keywords
- channel
- condenser
- airflow channel
- annular
- tub
- Prior art date
- Legal status (The legal status is an assumption and is not a legal conclusion. Google has not performed a legal analysis and makes no representation as to the accuracy of the status listed.)
- Active
Links
Images
Classifications
-
- D—TEXTILES; PAPER
- D06—TREATMENT OF TEXTILES OR THE LIKE; LAUNDERING; FLEXIBLE MATERIALS NOT OTHERWISE PROVIDED FOR
- D06F—LAUNDERING, DRYING, IRONING, PRESSING OR FOLDING TEXTILE ARTICLES
- D06F58/00—Domestic laundry dryers
- D06F58/20—General details of domestic laundry dryers
- D06F58/24—Condensing arrangements
-
- D—TEXTILES; PAPER
- D06—TREATMENT OF TEXTILES OR THE LIKE; LAUNDERING; FLEXIBLE MATERIALS NOT OTHERWISE PROVIDED FOR
- D06F—LAUNDERING, DRYING, IRONING, PRESSING OR FOLDING TEXTILE ARTICLES
- D06F25/00—Washing machines with receptacles, e.g. perforated, having a rotary movement, e.g. oscillatory movement, the receptacle serving both for washing and for centrifugally separating water from the laundry and having further drying means, e.g. using hot air
Landscapes
- Engineering & Computer Science (AREA)
- Textile Engineering (AREA)
- Detail Structures Of Washing Machines And Dryers (AREA)
Abstract
本发明公开了一种电动干衣机,包含容纳衣物的桶、与桶空间相通的冷凝器、以及促进空气从桶流向冷凝器的风扇,冷凝器与桶具有共同的壁,且冷凝器具有环形气流通道。由于冷凝器与桶结合为一体,空间上更为紧凑,同时环形气流通道提供更长的热交换行程,提高冷凝效率。旋转的气流使冷凝水在离心力的作用下被甩到环形气流通道的壁上,从而不容易被气流带入风扇和空气加热装置中。
The invention discloses an electric clothes dryer, comprising a tub for accommodating clothes, a condenser communicated with the tub space, and a fan for promoting air to flow from the tub to the condenser. The condenser and the tub have a common wall, and the condenser has an annular shape. airflow channel. Since the condenser is integrated with the barrel, the space is more compact, and the annular airflow channel provides a longer heat exchange stroke and improves the condensation efficiency. The rotating airflow causes the condensed water to be thrown against the wall of the annular airflow channel under the action of centrifugal force, so that it is not easily carried into the fan and air heating device by the airflow.
Description
【技术领域】【Technical field】
本发明涉及电动干衣机,尤其涉及干衣机的冷凝装置。The present invention relates to an electric clothes dryer, in particular to a condensation device of the clothes dryer.
【背景技术】【Background technique】
电动干衣机通常包含具有纯干衣机功能的机器以及集洗衣与干衣功能为一体的机器。干衣机的烘干原理大致可以如此概括:在加热装置的作用下,干燥的空气经加热装置加热后形成干燥的热空气,然后进入衣物处理桶内与湿的衣物发生热交换,将衣物中的水分带走,形成比较潮湿的热空气,潮湿的热空气随后经过冷凝装置的冷凝作用,其中的水分被冷凝成水,然后经过排水管排出,而被冷凝后的空气成为相对干燥的冷空气,在风扇的作用下重新被导向加热装置中,经过加热形成干燥的热空气进入下一个循环,如此周而复始,直至烘干程序结束。Electric clothes dryers usually include machines with pure clothes dryer functions and machines that combine washing and drying functions. The drying principle of the clothes dryer can be roughly summarized as follows: under the action of the heating device, the dry air is heated by the heating device to form dry hot air, and then enters the clothes processing barrel to exchange heat with the wet clothes, and the clothes are heated. The moisture is taken away to form relatively humid hot air, and the humid hot air is then condensed by the condensing device, the moisture in it is condensed into water, and then discharged through the drain pipe, and the condensed air becomes relatively dry cold air , under the action of the fan, it is redirected to the heating device, and the hot air formed by heating enters the next cycle, and so on, until the drying process ends.
冷凝装置所采用的冷凝方式有很多种,其中一种比较常见的是利用水作为冷却介质,与烘干空气进行热交换,从而使热空气中的水分冷凝而从空气中分离。这种冷凝装置通常具有一个通道状本体,本体上连接冷却水管。湿热的烘干空气从冷凝装置本体内由下向上通过,期间冷却水由上而下流出,与湿热空气发生热交换。通常由于空间的限制,冷凝装置本体空间高度有限,湿热空气与冷却水热交换的行程很短。另外,高速上行的湿热空气与冷却水相遇后吹散水流,甚至往往将水珠吹入风扇和空气加热装置中。此外,由于冷凝器需要占用一定的空间,在有限的空间内,势必要压缩衣物处理桶的空间。There are many condensing methods used by the condensing device, one of which is more common is to use water as a cooling medium to exchange heat with drying air, so that the moisture in the hot air is condensed and separated from the air. Such condensing devices usually have a channel-shaped body to which cooling water pipes are connected. The moist and hot drying air passes from the bottom to the top of the condensing device body, and the cooling water flows out from the top to the bottom during the heat exchange with the moist and hot air. Usually due to space constraints, the height of the condensing device body is limited, and the heat exchange travel between the humid air and the cooling water is very short. In addition, the hot and humid air moving up at a high speed will blow up the water flow after encountering the cooling water, and even often blow water droplets into the fan and air heating device. In addition, since the condenser needs to occupy a certain space, in the limited space, the space of the laundry treatment tub must be compressed.
【发明内容】[Content of the invention]
本发明的一个目的是提供一种结构紧凑的电动干衣机,同时冷凝器的热交换效果更好,且冷却水不易被吹入风扇和空气加热装置中。An object of the present invention is to provide an electric clothes dryer with a compact structure, while the heat exchange effect of the condenser is better, and the cooling water is not easily blown into the fan and the air heating device.
针对以上目的,本发明采用的技术方案是:一种电动干衣机,包含容纳衣物的桶、与桶空间相通的冷凝器、以及促进空气从桶流向冷凝器的风扇,所述冷凝器与桶具有共同的壁,且冷凝器具有环形气流通道。In view of the above purpose, the technical solution adopted in the present invention is: an electric clothes dryer, comprising a tub for accommodating clothes, a condenser communicated with the tub space, and a fan for promoting air to flow from the tub to the condenser, the condenser and the tub There are common walls and the condenser has an annular gas flow channel.
其中,电动干衣机可以指各种具有干衣功能的机器,例如,可以是纯粹烘干衣物的机器,也可以是洗衣干衣机。The electric clothes dryer may refer to various machines with a clothes drying function, for example, it may be a machine purely drying clothes, or it may be a washing and drying machine.
与现有技术相比,由于冷凝器与桶结合为一体,空间上更为紧凑,同时环形气流通道提供更长的热交换行程,提高冷凝效率。旋转的气流使冷凝水在离心力的作用下被甩到环形气流通道的壁上,从而不容易被气流带入风扇和空气加热装置中。Compared with the prior art, since the condenser is integrated with the barrel, the space is more compact, and the annular air flow channel provides a longer heat exchange stroke and improves the condensation efficiency. The rotating airflow causes the condensed water to be thrown against the wall of the annular airflow channel under the action of centrifugal force, so that it is not easily carried into the fan and air heating device by the airflow.
作为较佳的改进方案之一,桶包含大致为筒状的周壁,且桶沿其轴大致水平或倾斜设置,冷凝器与桶的共同的壁位于桶的周壁上,且位于桶轴的上方。由于桶的周壁为筒状,在周壁与箱体之间存在可被利用的空间。该改进方案正是利用了该空间,从而在有限的箱体空间内最大化桶与冷凝器的空间。As one of the preferred improvement solutions, the tub includes a substantially cylindrical peripheral wall, and the tub is arranged approximately horizontally or inclined along its axis, and the common wall of the condenser and the tub is located on the peripheral wall of the tub and above the tub axis. Since the peripheral wall of the tub is cylindrical, there is a usable space between the peripheral wall and the box. The improved solution utilizes this space, thereby maximizing the space between the barrel and the condenser within the limited box space.
作为本发明的一种可能的改进方案,环形气流通道位于桶轴斜上方的由冷凝器外壁与弧形桶周壁所构成的由于桶周壁的向下弯曲而在垂直方向逐渐增大的空间里。该空间在干衣机里通常被空置,或者很少被其他构件完全占用,如此设置也是更为巧妙地利用了空间。同时该下沉的空间为环形气流通道提供了较为充分的垂直空间,使气流在环形气流通道内充分下沉,并有更长的热交换行程。As a possible improvement solution of the present invention, the annular airflow channel is located in the space that is formed by the outer wall of the condenser and the arc-shaped peripheral wall of the barrel and is gradually increased in the vertical direction due to the downward bending of the peripheral wall of the barrel. This space is usually vacant in the dryer, or is rarely fully occupied by other components, so this arrangement is also a more clever use of space. At the same time, the sinking space provides a relatively sufficient vertical space for the annular airflow channel, so that the airflow can sink fully in the annular airflow channel and have a longer heat exchange stroke.
作为本发明的进一步改进,冷凝器包含进气通道,进气通道与环形气流通道相通,且位于环形气流通道上游,冷凝器包含冷却水进水口,冷却水进水口位于进气通道内。因此冷却水在进气通道内便被气流吹散,与气流混合,从而能更充分地利用环形气流通道内的热交换行程。As a further improvement of the present invention, the condenser includes an air inlet channel, the air inlet channel communicates with the annular air flow channel and is located upstream of the annular air flow channel, and the condenser includes a cooling water inlet, which is located in the air inlet channel. Therefore, the cooling water is blown away by the airflow in the intake passage and mixed with the airflow, so that the heat exchange process in the annular airflow passage can be more fully utilized.
作为本发明的进一步改进,进气通道的进气口设于桶的周壁上,且进气通道的进气口与冷却水进水口分别位于桶的轴的垂直上方所对应的桶脊部的两侧。这样冷却水不容易从进气口进入桶内从而打湿其中的衣物。As a further improvement of the present invention, the air inlet of the air inlet channel is arranged on the peripheral wall of the barrel, and the air inlet of the air inlet channel and the cooling water inlet are respectively located on two sides of the barrel ridge corresponding to the vertical above the axis of the barrel. side. In this way, it is not easy for the cooling water to enter the tub from the air inlet to wet the clothes in it.
作为本发明的进一步改进,冷凝器包含进气通道,进气通道与环形气流通道相通,且位于环形气流通道上游,进气通道的流通截面沿气体流通方向逐渐变小。这样的进气通道可增加气流进入环形气流通道的速度,增强热交换效果。As a further improvement of the present invention, the condenser includes an air inlet channel, the air inlet channel communicates with the annular air flow channel and is located upstream of the annular air flow channel, and the flow cross section of the air inlet channel gradually decreases along the gas flow direction. Such an air inlet channel can increase the speed of air flow into the annular air flow channel and enhance the heat exchange effect.
作为本发明的进一步改进,冷凝器包含冷却水进水口,冷却水进水口靠近进气通道的流通截面最窄处。冷却水进水口位于气流速度最大的区域附近,有利于使冷却水被吹散成小水滴,并跟气流更好地混合。同时较大的气流速度在环形气流通道内产生的离心力也较大,使冷凝水从气体中分离而附着于通道壁上,避免进入风扇。As a further improvement of the present invention, the condenser includes a cooling water inlet, and the cooling water inlet is close to the narrowest part of the flow cross section of the air inlet passage. The cooling water inlet is located near the area where the airflow velocity is the largest, which is beneficial for the cooling water to be blown into small droplets and better mixed with the airflow. At the same time, the centrifugal force generated by the larger airflow speed in the annular airflow channel is also larger, so that the condensed water is separated from the gas and attached to the channel wall to avoid entering the fan.
作为本发明的进一步改进,进气通道大致水平延伸。As a further improvement of the present invention, the intake passage extends substantially horizontally.
作为本发明的进一步改进,环形气流通道的中间设有直气流通道,直气流通道的壁构成环形气流通道的内壁,且直气流通道的入口位于其底部,与环形气流通道相通,直气流通道的出口位于其顶部,与风扇相通。气流沿环形气流通道旋转后下降到底部进入直气流通道,如此迂回的气流路径进一步减少甚至避免冷凝水进入风扇,同时也使冷凝更加充分。As a further improvement of the present invention, a straight airflow channel is arranged in the middle of the annular airflow channel, the wall of the straight airflow channel constitutes the inner wall of the annular airflow channel, and the inlet of the straight airflow channel is located at the bottom of the annular airflow channel. The outlet is at its top and communicates with the fan. The airflow rotates along the annular airflow channel and then descends to the bottom to enter the straight airflow channel. Such a circuitous airflow path further reduces or even prevents condensed water from entering the fan, and also makes condensation more sufficient.
作为本发明的进一步改进,直气流通道的壁呈筒形结构,从而使气流在环形气流通道中更顺畅地旋转。As a further improvement of the present invention, the wall of the straight air flow channel has a cylindrical structure, so that the air flow can rotate more smoothly in the annular air flow channel.
作为本发明的进一步改进,环形气流通道的入口靠近环形气流通道顶部。气流从位置较高处进入环形气流通道后最后从底部进入直气流通道,气流旋转下降,增加热交换形成,提高冷凝效果。As a further improvement of the present invention, the inlet of the annular airflow channel is close to the top of the annular airflow channel. The airflow enters the annular airflow channel from a higher position and finally enters the straight airflow channel from the bottom. The airflow rotates and descends, increasing the formation of heat exchange and improving the condensation effect.
作为本发明的进一步改进,环形气流通道的入口设于环形气流通道的切线方向上。从切线方向进入的高速气流利于在环形气流通道内形成旋转气流,减少阻力。As a further improvement of the present invention, the inlet of the annular airflow channel is arranged in the tangential direction of the annular airflow channel. The high-speed airflow entering from the tangential direction is conducive to forming a rotating airflow in the annular airflow channel and reducing resistance.
作为本发明的进一步改进,环形气流通道底部的桶壁上设有冷凝水排水口。如此设置防止积水。冷凝水从桶内通过排水装置排出。As a further improvement of the present invention, a condensed water drainage port is provided on the barrel wall at the bottom of the annular airflow channel. This setting prevents water accumulation. Condensed water is drained from the bucket through the drain.
作为本发明的进一步改进,环形气流通道包含筒形的外壁和筒形的内壁。位于筒形外壁和筒形内壁之间的环形通道对通过其中的气流阻力小。As a further improvement of the present invention, the annular airflow channel includes a cylindrical outer wall and a cylindrical inner wall. The annular channel between the outer cylindrical wall and the inner cylindrical wall provides little resistance to airflow therethrough.
下文将结合附图对本发明进行进一步的描述。The present invention will be further described below with reference to the accompanying drawings.
【附图说明】【Description of drawings】
图1为干衣机桶及冷凝器示意图;Fig. 1 is a schematic diagram of a clothes dryer barrel and a condenser;
图2为干衣机桶、冷凝器及风扇截面示意图;Figure 2 is a schematic cross-sectional view of the dryer barrel, the condenser and the fan;
图3为图2中沿A-A方向的剖视图。FIG. 3 is a cross-sectional view taken along the direction A-A in FIG. 2 .
【具体实施方式】【Detailed ways】
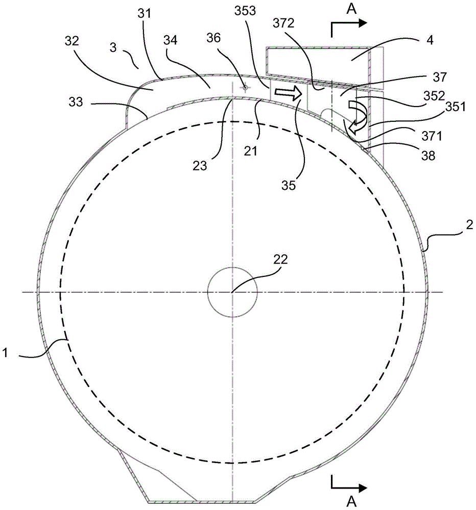
如图1至图3所示,干衣机具有同轴且空间上相通的内桶1和外桶2。内桶1可旋转地装于外桶2内。待烘干衣物装于内桶1内,并在进入外桶2的热空气的作用下逐渐被烘干。As shown in FIGS. 1 to 3 , the clothes dryer has an
内桶1与外桶2沿其轴向大致水平地安装。外桶2顶部的周壁21上设有冷凝器3。冷凝器3的下游依次连接风扇4和空气加热通道5。空气加热通道5的出口与外桶2的前端开口22连通。于是在外桶2、冷凝器3、风扇4及空气加热通道5中形成空气循环通路。The
冷凝器3包含外壁31。外壁31与外桶2的大致为筒状的周壁21共同围成一个冷凝通道32。冷凝通道32包含进气通道34以及进气通道34下游的环形气流通道35。进气通道34与环形气流通道35相通。The
环形气流通道35位于外桶2的轴22的斜上方的由冷凝器外壁31与弧形的外桶周壁21所构成的由于外桶周壁21的向下弯曲而在垂直方向逐渐增大的空间里。The annular
如图1及图2所示,进气通道34大致水平延伸,且其流通截面沿气体流通方向逐渐变小。冷却水进水口36位于进气通道34内,靠近进气通道34的流通截面最窄处。进气通道34的进气口33设于外桶的周壁21上,且进气通道的进气口33与冷却水进水口36分别位于外桶2的轴22的垂直上方所对应的外桶脊部23的两侧。As shown in FIGS. 1 and 2 , the
环形通道35包含筒形的外壁351和筒形的内壁352。其中外壁351是冷凝器外壳31的一部分。内壁352的内部形成直气流通道37。直气流通道37的入口371位于其底部,与环形气流通道35相通;直气流通道37的出口372位于其顶部,与风扇4相通。The
环形气流通道35的入口353靠近其顶部,且朝着环形气流通道35的切线方向设置。环形气流通道35的入口353与进气通道34连接。The
位于环形气流通道35的底部外桶周壁21上设有冷凝水排水口38,于是冷凝水从冷凝水排水口38排入外桶2中。A condensate
上文所描述以及附图所示的各种具体实施方式仅用于说明本发明,并非本发明的全部。在本发明的基本技术思想的范畴内,相关技术领域的普通技术人员针对本发明所进行的任何形式的变更均在本发明的保护范围之内。The various specific embodiments described above and shown in the accompanying drawings are only used to illustrate the present invention, but not all of the present invention. Within the scope of the basic technical idea of the present invention, any form of modification made by those of ordinary skill in the relevant technical field to the present invention is within the protection scope of the present invention.
Claims (12)
Priority Applications (2)
| Application Number | Priority Date | Filing Date | Title |
|---|---|---|---|
| CN201510213145.4A CN106192325B (en) | 2015-04-29 | 2015-04-29 | Electric clothes dryer |
| EP16163120.5A EP3088597A1 (en) | 2015-04-29 | 2016-03-31 | Clothes dryer |
Applications Claiming Priority (1)
| Application Number | Priority Date | Filing Date | Title |
|---|---|---|---|
| CN201510213145.4A CN106192325B (en) | 2015-04-29 | 2015-04-29 | Electric clothes dryer |
Publications (2)
| Publication Number | Publication Date |
|---|---|
| CN106192325A CN106192325A (en) | 2016-12-07 |
| CN106192325B true CN106192325B (en) | 2020-06-12 |
Family
ID=55642349
Family Applications (1)
| Application Number | Title | Priority Date | Filing Date |
|---|---|---|---|
| CN201510213145.4A Active CN106192325B (en) | 2015-04-29 | 2015-04-29 | Electric clothes dryer |
Country Status (2)
| Country | Link |
|---|---|
| EP (1) | EP3088597A1 (en) |
| CN (1) | CN106192325B (en) |
Families Citing this family (9)
| Publication number | Priority date | Publication date | Assignee | Title |
|---|---|---|---|---|
| CN109023831B (en) * | 2017-06-08 | 2021-02-26 | 无锡小天鹅电器有限公司 | Washing and drying integrated machine |
| CN110528236A (en) * | 2018-05-24 | 2019-12-03 | 博西华电器(江苏)有限公司 | clothes dryer |
| CN111809339B (en) * | 2019-04-11 | 2023-06-13 | 青岛海尔洗衣机有限公司 | A wall-mounted washing machine |
| CN110806095A (en) * | 2019-10-15 | 2020-02-18 | 无锡小天鹅电器有限公司 | Condensers and Clothes Treatment Devices |
| CN110835832A (en) * | 2019-11-13 | 2020-02-25 | 苏州尼昂科技有限公司 | Condenser structure of a washing machine and drying water cooling system |
| CN114438757B (en) * | 2020-10-30 | 2023-11-07 | 无锡小天鹅电器有限公司 | Clothes treatment equipment and exhaust condenser |
| CN114481575A (en) * | 2021-12-24 | 2022-05-13 | 海尔智家股份有限公司 | Drying cylinder and dryer |
| CN114657740B (en) * | 2022-03-22 | 2023-12-01 | 无锡小天鹅电器有限公司 | A condenser and clothing treatment equipment |
| CN116005428B (en) * | 2023-01-04 | 2025-11-21 | 珠海格力电器股份有限公司 | Clothes treatment device and washing and drying integrated machine with same |
Citations (4)
| Publication number | Priority date | Publication date | Assignee | Title |
|---|---|---|---|---|
| CN2414375Y (en) * | 1999-12-21 | 2001-01-10 | 张元跃 | Double-cavity directional radiator |
| CN1657682A (en) * | 2003-12-18 | 2005-08-24 | Lg电子株式会社 | Washing machine with drying function and method of controlling the same |
| EP1688524A1 (en) * | 2005-02-03 | 2006-08-09 | Lg Electronics Inc. | Washing-drying/drying machine with a condensing device |
| CN202116896U (en) * | 2011-03-31 | 2012-01-18 | 无锡小天鹅股份有限公司 | Drying and condensing device of washing and drying integrating machine |
Family Cites Families (4)
| Publication number | Priority date | Publication date | Assignee | Title |
|---|---|---|---|---|
| KR101041070B1 (en) * | 2003-06-13 | 2011-06-13 | 삼성전자주식회사 | Drum washing machine |
| KR20120088034A (en) * | 2010-10-19 | 2012-08-08 | 엘지전자 주식회사 | laundry machine having a drying function |
| CN104060432B (en) * | 2012-04-06 | 2016-09-07 | Lg电子株式会社 | Washing machine |
| CN104711833B (en) * | 2013-12-13 | 2018-04-06 | 博西华电器(江苏)有限公司 | Dryer |
-
2015
- 2015-04-29 CN CN201510213145.4A patent/CN106192325B/en active Active
-
2016
- 2016-03-31 EP EP16163120.5A patent/EP3088597A1/en not_active Withdrawn
Patent Citations (4)
| Publication number | Priority date | Publication date | Assignee | Title |
|---|---|---|---|---|
| CN2414375Y (en) * | 1999-12-21 | 2001-01-10 | 张元跃 | Double-cavity directional radiator |
| CN1657682A (en) * | 2003-12-18 | 2005-08-24 | Lg电子株式会社 | Washing machine with drying function and method of controlling the same |
| EP1688524A1 (en) * | 2005-02-03 | 2006-08-09 | Lg Electronics Inc. | Washing-drying/drying machine with a condensing device |
| CN202116896U (en) * | 2011-03-31 | 2012-01-18 | 无锡小天鹅股份有限公司 | Drying and condensing device of washing and drying integrating machine |
Also Published As
| Publication number | Publication date |
|---|---|
| EP3088597A1 (en) | 2016-11-02 |
| CN106192325A (en) | 2016-12-07 |
Similar Documents
| Publication | Publication Date | Title |
|---|---|---|
| CN106192325B (en) | Electric clothes dryer | |
| CN104711833B (en) | Dryer | |
| EP2702199B1 (en) | Heat pump laundry dryer | |
| CN106192333B (en) | clothes dryer | |
| CN114775215B (en) | Clothes treatment device | |
| CN102535089B (en) | Washing and drying integrated machine | |
| CN105463804B (en) | clothes dryer | |
| CN101343826A (en) | A washing machine with a dryer | |
| CN101356311A (en) | Household clothes dryers with additional condensers | |
| CN112127112A (en) | Washing machine barrel structure and washing machine with same | |
| TWM659056U (en) | Laundry treating apparatus | |
| CN102071564B (en) | Heating device and clothes drying apparatus employing same | |
| CN206346058U (en) | For the condenser of clothes treatment device and the clothes treatment device with it | |
| CN202865651U (en) | Condensing type drying device | |
| CN205711419U (en) | A kind of condenser and cylinder washing-drying integral machine | |
| KR100379437B1 (en) | Washing machine with dry cleaning | |
| JP6016087B2 (en) | Drying equipment | |
| JP4243336B2 (en) | Drum type washer / dryer | |
| CN204803583U (en) | Clothe nursing machine | |
| CN214142944U (en) | Washing machine barrel structure and washing machine with same | |
| CN201158758Y (en) | A washing machine with a dryer | |
| CN108797052A (en) | Include the dryer of condensing unit | |
| CN114753089B (en) | Clothes treatment device | |
| CN206887489U (en) | Wall-mounted device for clothing processing | |
| JP2012223407A (en) | Cloth dryer |
Legal Events
| Date | Code | Title | Description |
|---|---|---|---|
| C06 | Publication | ||
| PB01 | Publication | ||
| SE01 | Entry into force of request for substantive examination | ||
| SE01 | Entry into force of request for substantive examination | ||
| GR01 | Patent grant | ||
| GR01 | Patent grant |
