CN103821677A - 装配式预应力活性粉末混凝土风电塔架 - Google Patents

装配式预应力活性粉末混凝土风电塔架 Download PDF

Info

Publication number
CN103821677A
CN103821677A CN201410104711.3A CN201410104711A CN103821677A CN 103821677 A CN103821677 A CN 103821677A CN 201410104711 A CN201410104711 A CN 201410104711A CN 103821677 A CN103821677 A CN 103821677A
Authority
CN
China
Prior art keywords
tower
tower cylinder
prefabricated
wind power
rpc
Prior art date
Legal status (The legal status is an assumption and is not a legal conclusion. Google has not performed a legal analysis and makes no representation as to the accuracy of the status listed.)
Granted
Application number
CN201410104711.3A
Other languages
English (en)
Other versions
CN103821677B (zh
Inventor
马新伟
曾森
余智
崔晓旺
丛玉莎
Current Assignee (The listed assignees may be inaccurate. Google has not performed a legal analysis and makes no representation or warranty as to the accuracy of the list.)
Qingdao Hawei Industrial Technology Co ltd
Original Assignee
Harbin Institute of Technology Weihai
Priority date (The priority date is an assumption and is not a legal conclusion. Google has not performed a legal analysis and makes no representation as to the accuracy of the date listed.)
Filing date
Publication date
Application filed by Harbin Institute of Technology Weihai filed Critical Harbin Institute of Technology Weihai
Priority to CN201410104711.3A priority Critical patent/CN103821677B/zh
Publication of CN103821677A publication Critical patent/CN103821677A/zh
Application granted granted Critical
Publication of CN103821677B publication Critical patent/CN103821677B/zh
Active legal-status Critical Current
Anticipated expiration legal-status Critical

Links

Images

Classifications

    • YGENERAL TAGGING OF NEW TECHNOLOGICAL DEVELOPMENTS; GENERAL TAGGING OF CROSS-SECTIONAL TECHNOLOGIES SPANNING OVER SEVERAL SECTIONS OF THE IPC; TECHNICAL SUBJECTS COVERED BY FORMER USPC CROSS-REFERENCE ART COLLECTIONS [XRACs] AND DIGESTS
    • Y02TECHNOLOGIES OR APPLICATIONS FOR MITIGATION OR ADAPTATION AGAINST CLIMATE CHANGE
    • Y02EREDUCTION OF GREENHOUSE GAS [GHG] EMISSIONS, RELATED TO ENERGY GENERATION, TRANSMISSION OR DISTRIBUTION
    • Y02E10/00Energy generation through renewable energy sources
    • Y02E10/70Wind energy
    • Y02E10/72Wind turbines with rotation axis in wind direction
    • YGENERAL TAGGING OF NEW TECHNOLOGICAL DEVELOPMENTS; GENERAL TAGGING OF CROSS-SECTIONAL TECHNOLOGIES SPANNING OVER SEVERAL SECTIONS OF THE IPC; TECHNICAL SUBJECTS COVERED BY FORMER USPC CROSS-REFERENCE ART COLLECTIONS [XRACs] AND DIGESTS
    • Y02TECHNOLOGIES OR APPLICATIONS FOR MITIGATION OR ADAPTATION AGAINST CLIMATE CHANGE
    • Y02EREDUCTION OF GREENHOUSE GAS [GHG] EMISSIONS, RELATED TO ENERGY GENERATION, TRANSMISSION OR DISTRIBUTION
    • Y02E10/00Energy generation through renewable energy sources
    • Y02E10/70Wind energy
    • Y02E10/728Onshore wind turbines
    • YGENERAL TAGGING OF NEW TECHNOLOGICAL DEVELOPMENTS; GENERAL TAGGING OF CROSS-SECTIONAL TECHNOLOGIES SPANNING OVER SEVERAL SECTIONS OF THE IPC; TECHNICAL SUBJECTS COVERED BY FORMER USPC CROSS-REFERENCE ART COLLECTIONS [XRACs] AND DIGESTS
    • Y02TECHNOLOGIES OR APPLICATIONS FOR MITIGATION OR ADAPTATION AGAINST CLIMATE CHANGE
    • Y02PCLIMATE CHANGE MITIGATION TECHNOLOGIES IN THE PRODUCTION OR PROCESSING OF GOODS
    • Y02P70/00Climate change mitigation technologies in the production process for final industrial or consumer products
    • Y02P70/50Manufacturing or production processes characterised by the final manufactured product

Landscapes

  • Wind Motors (AREA)

Abstract

本发明涉及一种装配式预应力活性粉末混凝土风电塔架,其包括基础和若干段塔筒,所述基础为混凝土基础,其中预埋基础环;所述塔筒由活性粉末混凝土加工,每一段塔筒预制时内部均设有若干预留孔,预留孔中穿有预应力钢筋;所述预应力钢筋张拉后上端锚固在塔筒的上端面,下端与基础环锚固连接。本发明现场分段张拉预应力,施工容易。其结构合理,便于运输和装配,制造成本和使用维护成本低,内部设置的预应力钢筋可有效加强塔架受力后的稳固性,防止塔筒表面混凝土开裂,提高塔架使用寿命。

Description

装配式预应力活性粉末混凝土风电塔架
技术领域
本发明属于风力发电设备,特别涉及一种装配式预应力活性粉末混凝土风电塔架。
背景技术
风力发电塔架是风力发电系统中的重要组成部分,近年来,国家大力发展风电行业,目前主流风电塔架均采用钢结构塔架,不仅制造成本高,后期维护费用昂贵,加上使用过程中的维护费用,风电塔架约占总体费用的40%,而且风资源丰富的地方气候都很恶劣,传统钢结构塔架的使用寿命也较短,上述种种不利之处均阻碍了风电的发展和普及。
发明内容
本发明所要解决的技术问题是克服现有技术的不足,提供一种结构合理,便于运输和装配,制造成本和使用维护成本均较低的装配式预应力活性粉末混凝土风电塔架。
本发明解决上述技术问题采用的技术方案是:一种装配式预应力活性粉末混凝土风电塔架,其包括基础和若干段塔筒,其特征在于:所述基础为混凝土基础,其中预埋基础环;所述塔筒由活性粉末混凝土浇筑而成,每一段塔筒预制时内部均设有若干预留孔,预留孔中穿有预应力钢筋;所述预应力钢筋张拉后上端锚固在塔筒的上端面,下端与基础环锚固连接。
所述每下一段塔筒中预制时设有与上一段塔筒上下贯通的预留孔,每上一段塔筒的预应力钢筋自本段塔筒的上端面向下,贯穿下部塔筒上下贯通的预留孔,下端锚固于基础环上。
所述顶段塔筒上端设有固定风力发电机组的钢制法兰,顶段塔筒中的预应力钢筋贯穿下部所有塔筒,上端直接锚固在该钢制法兰上,下端穿过所有下部塔筒的预留孔锚固在基础环上。
所述塔筒分瓣预制,拼装时相邻瓣之间通过活性粉末混凝土和波纹钢筋连接。
所述塔筒中还设有若干纵向非预应力钢筋和环向非预应力钢筋,所述纵向非预应力钢筋和预应力钢筋相间布置,环向非预应力筋布置在预应力钢筋和纵向非预应力钢筋内外两侧。
所述塔筒上下段之间通过树脂胶泥粘结。
本发明装配式预应力活性粉末混凝土风电塔架可以在工厂分段预制活性粉末混凝土塔筒,每段塔筒分为整体预制或分瓣预制,运输到安装现场进行预应力张拉和装配。塔架主体采用活性粉末混凝土材料,价格低廉,耐久性,抗裂性能显著提高,使用寿命长。现场分段张拉预应力,施工容易。对照现有技术,本发明结构合理,便于运输和装配,制造成本和使用维护成本均较低,内部设置的预应力钢筋可有效加强塔架受力后的稳固性,防止塔筒表面混凝土开裂,提高塔架使用寿命。是一种理想的装配式预应力活性粉末混凝土风电塔架。  
附图说明
图1是本发明组成结构示意图。
图2是本发明中预应力钢筋与非预应力钢筋布置示意图。
图3是本发明中基础与底部塔筒连接示意图。
图4是本发明中两段塔筒连接处预应力钢筋设置示意图。
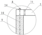
图5是本发明中顶段塔筒局部示意图。
图6是本发明中分瓣塔筒相邻瓣之间的连接水平剖面示意图。
图7是本发明中分瓣塔筒相邻瓣之间的连接连接纵向剖面示意图。
图中的标号是:1.基础,2.底段塔筒,3.中间段塔筒,4.顶段塔筒,5.钢制法兰,6.预应力钢筋,7.预应力钢筋,8.预应力钢筋,9.活性粉末混凝土,10.预留孔,11.环向非预应力钢筋,12.纵向非预应力钢筋,13.加密钢筋网,14.锚具,15.基础环,16.连接孔,17.定位销,18.波纹钢筋。
具体实施方式
下面结合附图和实施例对本发明作进一步说明。
从图1、图3、图4中可以看出,一种装配式预应力活性粉末混凝土风电塔架,其包括基础1和若干段塔筒。所述基础1为混凝土基础,在其中预埋基础环15。基础环15可以为钢制法兰,所有预应力钢筋均锚固在其上面,基础环埋入底部混凝土基础中。基础环15圆周上均匀预设孔洞供预应力钢筋穿过并锚固。
所述塔筒由活性粉末混凝土9加工。塔筒在高度方向上分为若干段塔筒,包括底段塔筒2、中间段塔筒3和顶段塔筒4。中间段塔筒3可以为一段,也可以为多段。若干段塔筒从下向上依次组装,塔筒直径及壁厚从下往上逐渐减小,组成的整个塔架为锥筒型结构。每一段塔筒预制时内部均设有若干预留孔10,装配时预留孔中穿有预应力钢筋。预应力钢筋数量及预留孔数量可根据分段塔筒实际所需预应力情况灵活布置。所述预应力钢筋张拉后上端锚固在分段塔筒的上端面,下端与基础环15锚固连接。所述每下一段塔筒中预制时还设有与上一段塔筒上下贯通的预留孔,每上一段塔筒的预应力钢筋自本段塔筒的上端面向下,贯穿下部塔筒上下贯通的预留孔,下端锚固于基础环15上。具体是:底段塔筒2设有若干预留孔,预留孔中穿入预应力钢筋6,预应力钢筋6张拉后上端锚固在底段塔筒2的上端面,下端通过锚具14和基础环15锚固连接,如图3所示。中间段塔筒3设有若干预留孔,预留孔中穿有预应力钢筋7,预应力钢筋7张拉后上端锚固在中间段塔筒3的上端面,贯穿下部底段塔筒2设有的上下贯通的预留孔,下端通过锚具14和基础环15锚固连接。顶段塔筒4也设有若干预留孔,预留孔中穿有预应力钢筋8,预应力钢筋8张拉后上端锚固在顶段塔筒4的上端面,贯穿下部底段塔筒2、中间段塔筒3设有的上下贯通的预留孔,下端通过锚具14和基础环15锚固连接,如图4所示。顶段塔筒4的预应力钢筋8为沿塔架长度方向全长配置,预应力钢筋7布置在中间段塔筒3和底段塔筒2,底段塔筒预应力钢筋6仅布置在底段塔筒2。
图4中还可以看出在每段塔筒中,预应力钢筋锚固处附近均设有定位销17,和加密钢筋网13。所述塔筒上下之间通过树脂胶泥粘结。
如图5所示,所述顶段塔筒4上端设有固定风力发电机组的钢制法兰5,顶段塔筒中的预应力钢筋8上端直接锚固在该钢制法兰5上,预应力钢筋8贯穿下部所有塔筒,下端锚固在基础环15上。钢制法兰5圆周均匀布置有连接孔16用于连接上部风力发电机及其他部件。
本发明大口径的塔筒可以分瓣预制,预制方法与整体塔筒相近。如图6、图7所示,所述塔筒分瓣预制,拼装时相邻瓣之间通过活性粉末混凝土和波纹钢筋18连接。在现场进行拼装时相邻瓣之间用活性粉末混凝土连接并以波纹钢筋增强。
所有塔筒中还设有若干纵向非预应力钢筋12和环向非预应力钢筋11,所述纵向非预应力钢筋12和预应力钢筋相间布置,环向非预应力筋11布置在预应力钢筋和纵向非预应力钢筋12内外两侧。如图2所示。
本发明塔架主体混凝土部分采用活性粉末混凝土,活性粉末混凝土以硅酸盐系水泥为胶结料,以石英砂为骨料,同时加入玄武岩纤维,使得混凝土更加密实,增加了混凝土的抗裂性能,具有高强度、高耐久性、使用寿命长、轻质稳定等特点,采用新型活性粉末混凝土与一般混凝土风电塔架相比自重减轻,大大减少运输成本,同时增加了风电塔架的抗腐蚀性能。整个装配式预应力活性粉末混凝土风电塔架以新型活性粉末混凝土塔筒为主体,通过后张法有粘结预应力张拉技术对塔筒现场施加预应力。其中塔筒段在工厂整体预制或分瓣预制,塔筒段整体预制采用立式成型工艺浇筑,分瓣预制采用卧式预制成型工艺。现场拼装。装配时,将底段塔筒2吊装并放置在基础环15上,通过底段塔筒预应力钢筋6锚固在基础环15上,并在预应力张拉完成之后进行灌浆,排气并密封。锚固在塔体上的锚具需用同等强度的活性粉末混凝土9密封。然后将中间段塔筒3吊装并放置在底段塔筒2上,通过定位销17进行预定位,固定在底段塔筒2上,然后张拉中间段塔筒预应力钢筋7,之后灌浆排气并密封,以保证连接处的密闭性。顶段塔筒4依照上述方法连接在中间段塔筒3上。塔筒之间以高强度树脂胶泥粘结。其中,顶段塔筒预应力钢筋8一端锚固在基础环15上,一端锚固在钢制法兰5上。钢制法兰5一边通过顶段塔筒预应力钢筋8与塔架相连,另一边通过连接孔16以高强螺栓与风力发电机及其他部件相连。其余塔筒按上述方法依次进行连接,组合成本发明的塔架。

Claims (7)

1.一种装配式预应力活性粉末混凝土风电塔架,其包括基础和若干段塔筒,其特征在于:所述基础为混凝土基础,其中预埋基础环;所述塔筒由活性粉末混凝土浇筑而成,每一段塔筒预制时内部均设有若干预留孔,预留孔中穿有预应力钢筋;所述预应力钢筋张拉后上端锚固在塔筒的上端面,下端与基础环锚固连接。
2.根据权利要求1所述的装配式预应力活性粉末混凝土风电塔架,其特征在于:所述每下一段塔筒中预制时设有与上一段塔筒上下贯通的预留孔,每上一段塔筒的预应力钢筋自本段塔筒的上端面向下,贯穿下部塔筒上下贯通的预留孔,下端锚固于基础环上。
3.根据权利要求1所述的装配式预应力活性粉末混凝土风电塔架,其特征在于:所述顶段塔筒上端设有固定风力发电机组的钢制法兰,顶段塔筒中的预应力钢筋贯穿下部所有塔筒,上端直接锚固在该钢制法兰上,下端穿过所有下部塔筒的预留孔锚固在基础环上。
4.根据权利要求1所述的装配式预应力活性粉末混凝土风电塔架,其特征在于:所述塔筒分瓣预制,相邻瓣之间通过活性粉末混凝土和波纹钢筋连接。
5.根据权利要求1所述的装配式预应力活性粉末混凝土风电塔架,其特征在于:所有塔筒中还设有若干纵向非预应力钢筋和环向非预应力钢筋,所述纵向非预应力钢筋和预应力钢筋相间布置,环向非预应力筋布置在预应力钢筋和纵向非预应力钢筋内外两侧。
6.根据权利要求1所述的装配式预应力活性粉末混凝土风电塔架,其特征在于:所述塔筒上下段之间通过树脂胶泥粘结。
7.根据权利要求1所述的装配式预应力活性粉末混凝土风电塔架,其特征在于:所有塔筒中预应力钢筋锚固处附近均设有定位销和加密钢筋网。
CN201410104711.3A 2014-03-20 2014-03-20 装配式预应力活性粉末混凝土风电塔架 Active CN103821677B (zh)

Priority Applications (1)

Application Number Priority Date Filing Date Title
CN201410104711.3A CN103821677B (zh) 2014-03-20 2014-03-20 装配式预应力活性粉末混凝土风电塔架

Applications Claiming Priority (1)

Application Number Priority Date Filing Date Title
CN201410104711.3A CN103821677B (zh) 2014-03-20 2014-03-20 装配式预应力活性粉末混凝土风电塔架

Publications (2)

Publication Number Publication Date
CN103821677A true CN103821677A (zh) 2014-05-28
CN103821677B CN103821677B (zh) 2016-07-20

Family

ID=50756917

Family Applications (1)

Application Number Title Priority Date Filing Date
CN201410104711.3A Active CN103821677B (zh) 2014-03-20 2014-03-20 装配式预应力活性粉末混凝土风电塔架

Country Status (1)

Country Link
CN (1) CN103821677B (zh)

Cited By (27)

* Cited by examiner, † Cited by third party
Publication number Priority date Publication date Assignee Title
CN103994035A (zh) * 2014-06-13 2014-08-20 湖南大学 一种组合风电塔架预应力混凝土和钢塔段连接过渡装置
CN103994034A (zh) * 2014-06-13 2014-08-20 湖南大学 一种预应力混凝土-钢组合风力发电塔架连接装置
CN104005919A (zh) * 2014-06-13 2014-08-27 湖南大学 风电组合塔架锚栓加肋式预应力混凝土与钢塔段连接装置
CN106438215A (zh) * 2016-10-08 2017-02-22 霍尔果斯新国金新能源科技有限公司 用于风力发电机的塔筒
CN106438214A (zh) * 2016-10-08 2017-02-22 霍尔果斯新国金新能源科技有限公司 用于风力发电机的塔筒
CN106481515A (zh) * 2016-10-08 2017-03-08 霍尔果斯新国金新能源科技有限公司 混凝土塔筒组件及其张拉方法
CN104121155B (zh) * 2014-07-10 2017-03-15 中国电建集团西北勘测设计研究院有限公司 一种可装配自立式风力发电机组预应力混凝土钢组合塔架及其锚固方法
CN106545471A (zh) * 2016-10-08 2017-03-29 霍尔果斯新国金新能源科技有限公司 塔筒的建造施工方法
CN106545470A (zh) * 2016-10-08 2017-03-29 霍尔果斯新国金新能源科技有限公司 混凝土塔筒组件及其组装方法
CN106567809A (zh) * 2016-10-08 2017-04-19 霍尔果斯新国金新能源科技有限公司 混凝土塔筒组件及其组装方法
CN106640542A (zh) * 2016-10-08 2017-05-10 霍尔果斯新国金新能源科技有限公司 混凝土塔筒组件及其粘接方法
CN106704108A (zh) * 2017-03-01 2017-05-24 北京建筑大学 一种混凝土塔筒与钢塔筒的连接方式
CN106703068A (zh) * 2017-03-01 2017-05-24 北京建筑大学 一种混凝土塔筒与基础的连接方式
CN106762441A (zh) * 2016-12-13 2017-05-31 北京金风科创风电设备有限公司 过渡连接件及风电塔架
CN108350863A (zh) * 2015-08-31 2018-07-31 西门子歌美飒可再生能源有限公司 具有混凝土底座的设备塔架
CN108412700A (zh) * 2018-05-10 2018-08-17 长安大学 一种超韧性纤维混凝土发电机塔架及其制作安装方法
CN109281289A (zh) * 2018-10-29 2019-01-29 上海市政工程设计研究总院(集团)有限公司 一种组合式的护岸
CN109296502A (zh) * 2018-11-06 2019-02-01 重庆大学 一种预应力中空夹层钢管混凝土风电塔筒及其组合式基础
CN110494649A (zh) * 2017-03-22 2019-11-22 乌本产权有限公司 用于风能设备钢塔环段的法兰段以及方法
CN111287905A (zh) * 2018-12-06 2020-06-16 深圳京创重工特种工程有限公司 塔筒
CN111456068A (zh) * 2019-01-18 2020-07-28 深圳国金电力新能设计院有限公司 塔筒基础的中心筒构件、具有其的中心筒和塔筒基础
CN111764732A (zh) * 2020-08-13 2020-10-13 建华建材(营口)有限公司 一种预应力装配式混凝土发电塔
EP3092358B1 (de) 2013-12-06 2021-02-24 Wobben Properties GmbH Windenergieanlage mit turm und fundament aus mehreren segmenten
CN112412707A (zh) * 2020-12-01 2021-02-26 重庆大学 一种装配式风电机组圆截面混凝土支撑结构
CN115726618A (zh) * 2022-12-13 2023-03-03 中国铁塔股份有限公司湖北省分公司 一种装配式通信杆塔及通信杆塔结构
CN115807475A (zh) * 2021-09-14 2023-03-17 纳米及先进材料研发院有限公司 一种轻质组装合成建筑结构模组
WO2024140786A1 (zh) * 2022-12-28 2024-07-04 深圳国金电力新能设计院有限公司 装配式风电塔筒的预制管节和装配式风电塔筒

Citations (6)

* Cited by examiner, † Cited by third party
Publication number Priority date Publication date Assignee Title
US20030000165A1 (en) * 2001-06-27 2003-01-02 Tadros Maher K. Precast post-tensioned segmental pole system
CN101305143A (zh) * 2005-09-23 2008-11-12 Sika技术股份公司 塔形结构
CN201771246U (zh) * 2010-08-05 2011-03-23 北京惠诚基业工程技术有限责任公司 活性粉末混凝土接触网支柱
CN102080464A (zh) * 2009-12-01 2011-06-01 西门子公司 混凝土塔
CN103375043A (zh) * 2013-07-17 2013-10-30 上海交通大学 一种预应力超高性能混凝土海上风电塔架
CN103573007A (zh) * 2012-08-08 2014-02-12 韩国海洋科学技术院 凭借多阶段式预应力的模块式风力塔

Patent Citations (6)

* Cited by examiner, † Cited by third party
Publication number Priority date Publication date Assignee Title
US20030000165A1 (en) * 2001-06-27 2003-01-02 Tadros Maher K. Precast post-tensioned segmental pole system
CN101305143A (zh) * 2005-09-23 2008-11-12 Sika技术股份公司 塔形结构
CN102080464A (zh) * 2009-12-01 2011-06-01 西门子公司 混凝土塔
CN201771246U (zh) * 2010-08-05 2011-03-23 北京惠诚基业工程技术有限责任公司 活性粉末混凝土接触网支柱
CN103573007A (zh) * 2012-08-08 2014-02-12 韩国海洋科学技术院 凭借多阶段式预应力的模块式风力塔
CN103375043A (zh) * 2013-07-17 2013-10-30 上海交通大学 一种预应力超高性能混凝土海上风电塔架

Cited By (33)

* Cited by examiner, † Cited by third party
Publication number Priority date Publication date Assignee Title
EP3092358B2 (de) 2013-12-06 2024-02-28 Wobben Properties GmbH Windenergieanlage mit turm und fundament aus mehreren segmenten
EP3092358B1 (de) 2013-12-06 2021-02-24 Wobben Properties GmbH Windenergieanlage mit turm und fundament aus mehreren segmenten
CN103994034A (zh) * 2014-06-13 2014-08-20 湖南大学 一种预应力混凝土-钢组合风力发电塔架连接装置
CN104005919A (zh) * 2014-06-13 2014-08-27 湖南大学 风电组合塔架锚栓加肋式预应力混凝土与钢塔段连接装置
CN103994035B (zh) * 2014-06-13 2015-03-11 湖南大学 一种组合风电塔架预应力混凝土和钢塔段连接过渡装置
CN103994035A (zh) * 2014-06-13 2014-08-20 湖南大学 一种组合风电塔架预应力混凝土和钢塔段连接过渡装置
CN104121155B (zh) * 2014-07-10 2017-03-15 中国电建集团西北勘测设计研究院有限公司 一种可装配自立式风力发电机组预应力混凝土钢组合塔架及其锚固方法
CN108350863A (zh) * 2015-08-31 2018-07-31 西门子歌美飒可再生能源有限公司 具有混凝土底座的设备塔架
US11072903B2 (en) 2015-08-31 2021-07-27 Siemens Gamesa Renewable Energy, Inc. Equipment tower having a concrete plinth
CN106545471A (zh) * 2016-10-08 2017-03-29 霍尔果斯新国金新能源科技有限公司 塔筒的建造施工方法
CN106567809A (zh) * 2016-10-08 2017-04-19 霍尔果斯新国金新能源科技有限公司 混凝土塔筒组件及其组装方法
CN106640542A (zh) * 2016-10-08 2017-05-10 霍尔果斯新国金新能源科技有限公司 混凝土塔筒组件及其粘接方法
CN106545470A (zh) * 2016-10-08 2017-03-29 霍尔果斯新国金新能源科技有限公司 混凝土塔筒组件及其组装方法
CN106438215A (zh) * 2016-10-08 2017-02-22 霍尔果斯新国金新能源科技有限公司 用于风力发电机的塔筒
CN106438214A (zh) * 2016-10-08 2017-02-22 霍尔果斯新国金新能源科技有限公司 用于风力发电机的塔筒
CN106481515A (zh) * 2016-10-08 2017-03-08 霍尔果斯新国金新能源科技有限公司 混凝土塔筒组件及其张拉方法
CN106545471B (zh) * 2016-10-08 2019-04-26 霍尔果斯新国金新能源科技有限公司 塔筒的建造施工方法
CN106762441A (zh) * 2016-12-13 2017-05-31 北京金风科创风电设备有限公司 过渡连接件及风电塔架
CN106704108A (zh) * 2017-03-01 2017-05-24 北京建筑大学 一种混凝土塔筒与钢塔筒的连接方式
CN106703068A (zh) * 2017-03-01 2017-05-24 北京建筑大学 一种混凝土塔筒与基础的连接方式
CN110494649A (zh) * 2017-03-22 2019-11-22 乌本产权有限公司 用于风能设备钢塔环段的法兰段以及方法
CN108412700A (zh) * 2018-05-10 2018-08-17 长安大学 一种超韧性纤维混凝土发电机塔架及其制作安装方法
CN109281289A (zh) * 2018-10-29 2019-01-29 上海市政工程设计研究总院(集团)有限公司 一种组合式的护岸
CN109296502A (zh) * 2018-11-06 2019-02-01 重庆大学 一种预应力中空夹层钢管混凝土风电塔筒及其组合式基础
CN111287905A (zh) * 2018-12-06 2020-06-16 深圳京创重工特种工程有限公司 塔筒
CN111287905B (zh) * 2018-12-06 2024-04-19 上海风领新能源有限公司 塔筒
CN111456068A (zh) * 2019-01-18 2020-07-28 深圳国金电力新能设计院有限公司 塔筒基础的中心筒构件、具有其的中心筒和塔筒基础
CN111764732A (zh) * 2020-08-13 2020-10-13 建华建材(营口)有限公司 一种预应力装配式混凝土发电塔
CN112412707A (zh) * 2020-12-01 2021-02-26 重庆大学 一种装配式风电机组圆截面混凝土支撑结构
CN115807475A (zh) * 2021-09-14 2023-03-17 纳米及先进材料研发院有限公司 一种轻质组装合成建筑结构模组
CN115726618A (zh) * 2022-12-13 2023-03-03 中国铁塔股份有限公司湖北省分公司 一种装配式通信杆塔及通信杆塔结构
CN115726618B (zh) * 2022-12-13 2025-07-29 中国铁塔股份有限公司湖北省分公司 一种装配式通信杆塔及通信杆塔结构
WO2024140786A1 (zh) * 2022-12-28 2024-07-04 深圳国金电力新能设计院有限公司 装配式风电塔筒的预制管节和装配式风电塔筒

Also Published As

Publication number Publication date
CN103821677B (zh) 2016-07-20

Similar Documents

Publication Publication Date Title
CN103821677A (zh) 装配式预应力活性粉末混凝土风电塔架
CN105113389B (zh) 装配式钢‑混凝土组合结构桥墩柱构件
CN103867019B (zh) 装配式体外预应力活性粉末混凝土风电塔架
CN103899499A (zh) 一种风力发电机塔架
CN104791202A (zh) 钢-混凝土组合结构风电塔架
CN206917805U (zh) 全向预应力抗疲劳组合钢结构风塔
CN203809220U (zh) 一种风力发电机塔架
CN103994035B (zh) 一种组合风电塔架预应力混凝土和钢塔段连接过渡装置
CN203755778U (zh) 装配式体外预应力活性粉末混凝土风电塔架
CN112177857A (zh) 一种预应力中空夹层钢管混凝土格构式混合塔架及其生产安装方法
CN213981055U (zh) 一种预应力中空夹层钢管混凝土格构式混合塔架
CN103161349A (zh) 预应力钢混组合式塔柱结构
CN103375043A (zh) 一种预应力超高性能混凝土海上风电塔架
CN109989478A (zh) 一种预制预应力混凝土框架结构
CN102439250A (zh) 用于风轮机塔结构的组件连接装置
CN104314776A (zh) 一种用于海上和陆上风电机组的装配式预应力塔筒
CN103114520A (zh) 空腹式大跨填土复合波纹钢板拱桥结构
CN112112767B (zh) 一种用于风电机组钢混塔筒的组合结构转接构造
CN212128825U (zh) 装配式一体化墩柱盖梁组合结构
CN112412707A (zh) 一种装配式风电机组圆截面混凝土支撑结构
CN103573007B (zh) 凭借多阶段式预应力的模块式风力塔
CN109267489B (zh) 一种斜拉桥索塔锚固区施工方法
CN209385287U (zh) 一种基于波纹钢腹板箱梁的钢管混凝土格构式风电塔架
CN112627221B (zh) 一种预应力中空夹层钢管混凝土格构式混合导管架
CN209671141U (zh) 一种基于组合结构技术的混合塔筒转接环

Legal Events

Date Code Title Description
C06 Publication
PB01 Publication
C10 Entry into substantive examination
SE01 Entry into force of request for substantive examination
C14 Grant of patent or utility model
GR01 Patent grant
TR01 Transfer of patent right

Effective date of registration: 20240919

Address after: 264200 No. 2, Wenhua West Road, Shandong, Weihai

Patentee after: Weihai Harvey Asset Management Co.,Ltd.

Country or region after: China

Address before: 264209 No. 2, Wenhua West Road, Shandong, Weihai

Patentee before: HARBIN INSTITUTE OF TECHNOLOGY (WEIHAI)

Country or region before: China

TR01 Transfer of patent right
TR01 Transfer of patent right

Effective date of registration: 20241026

Address after: Room 906, 9th Floor, Building 5, No. 106 Xiangyang Road, Chengyang Street, Chengyang District, Qingdao City, Shandong Province, China 266000

Patentee after: Qingdao Hawei Industrial Technology Co.,Ltd.

Country or region after: China

Address before: 264200 No. 2, Wenhua West Road, Shandong, Weihai

Patentee before: Weihai Harvey Asset Management Co.,Ltd.

Country or region before: China

TR01 Transfer of patent right