CN103623631A - Hand-operated back-washing filter with filter screen - Google Patents

Hand-operated back-washing filter with filter screen Download PDF

Info

Publication number
CN103623631A
CN103623631A CN201310592860.4A CN201310592860A CN103623631A CN 103623631 A CN103623631 A CN 103623631A CN 201310592860 A CN201310592860 A CN 201310592860A CN 103623631 A CN103623631 A CN 103623631A
Authority
CN
China
Prior art keywords
filter
intake antrum
pipe
filter core
chamber
Prior art date
Legal status (The legal status is an assumption and is not a legal conclusion. Google has not performed a legal analysis and makes no representation as to the accuracy of the status listed.)
Granted
Application number
CN201310592860.4A
Other languages
Chinese (zh)
Other versions
CN103623631B (en
Inventor
王新坤
Current Assignee (The listed assignees may be inaccurate. Google has not performed a legal analysis and makes no representation or warranty as to the accuracy of the list.)
Jiangsu University
Original Assignee
Jiangsu University
Priority date (The priority date is an assumption and is not a legal conclusion. Google has not performed a legal analysis and makes no representation as to the accuracy of the date listed.)
Filing date
Publication date
Application filed by Jiangsu University filed Critical Jiangsu University
Priority to CN201310592860.4A priority Critical patent/CN103623631B/en
Publication of CN103623631A publication Critical patent/CN103623631A/en
Application granted granted Critical
Publication of CN103623631B publication Critical patent/CN103623631B/en
Expired - Fee Related legal-status Critical Current
Anticipated expiration legal-status Critical

Links

Images

Landscapes

  • Filtration Of Liquid (AREA)

Abstract

一种手动反冲洗滤网过滤器,由排污组件、进水腔、中间腔、过滤腔构成。排污组件包括排污管、手柄、封盖和污水进口,排污管由进水腔中心穿过到达过滤腔顶端;中间腔是以排污管为中心对称排列的中空梅花柱形结构,中间腔内设有排污通道;过滤腔由外壳与多个滤芯组成。过滤器工作时,封盖处于进水腔底面两个开孔的中间位置,污水进口被被中间腔侧壁封闭封闭,此时源水进入滤芯进行过滤;当滤芯内杂质积累至进、出水压力差达到设计上限值时,旋转手柄,使封盖封闭进水腔底面的一个开孔,污水进口刚好与排污通道连通,滤芯处于反冲洗状态。本发明结构紧凑,造价低,每个滤芯可独立反冲洗,不停机排污,对系统正常工作影响较小,工作效率高。

Figure 201310592860

A manual backwashing screen filter is composed of a sewage discharge assembly, a water inlet chamber, an intermediate chamber and a filter chamber. The sewage discharge assembly includes a sewage discharge pipe, a handle, a cover and a sewage inlet. The sewage discharge pipe passes through the center of the water inlet chamber to reach the top of the filter chamber; the middle chamber is a hollow plum blossom cylindrical structure arranged symmetrically with the sewage discharge pipe as the center. The middle chamber is equipped with Sewage channel; the filter cavity is composed of a shell and a plurality of filter elements. When the filter is working, the cover is in the middle of the two openings on the bottom of the water inlet chamber, and the sewage inlet is closed by the side wall of the middle chamber. At this time, the source water enters the filter element for filtration; When the difference reaches the design upper limit, turn the handle to make the cover close an opening on the bottom of the water inlet chamber, the sewage inlet is just connected to the sewage channel, and the filter element is in the backwashing state. The invention has the advantages of compact structure, low cost, independent backwashing of each filter element, non-stop sewage discharge, less influence on the normal operation of the system, and high working efficiency.

Figure 201310592860

Description

A kind of manual backwashing filter
Technical field
The invention belongs to water-treatment technology field, relate to water filtration device, be specifically related to a kind of manual backwashing filter.
Background technology
Filter is the most widely used a kind of filter plant of agriculture irrigation system and Treatment of Industrial Water.During engineering application at present, the mode mostly combining by multiple filter realizes the backwash of filter screen, and connecting line and valve are more, integrated model is comparatively loose, huge, and overall cost Gao, local head loss is larger, larger on system normal operation impact during backwash, operating efficiency is relatively low.
Summary of the invention
The object of the present invention is to provide a kind of compact conformation, be convenient to the filter of backwash.
The technical solution that the present invention takes is: a kind of manual backwashing filter, consists of blowdown assembly, intake antrum, intermediate cavity, filter chamber.Described intake antrum is hollow cylinder, is provided with water inlet pipe on intake antrum, and inlet gage is set on water inlet pipe, and intake antrum bottom surface is offered a plurality of apertures and is communicated with the import of filter core by intermediate cavity, described intermediate cavity is between intake antrum and filter chamber, cylinder centered by the center of intermediate cavity, it along the center of central cylinder, is the distribute interface channel of a plurality of circular tube shapeds of even circumferential, the inwall of central cylinder and blow-off pipe outer wall close contact, a plurality of cylinders of the peripheral quincunx symmetric arrays of intermediate cavity are the interface channels of intake antrum and filter core, the end face of interface channel is communicated with intake antrum respectively, the bottom surface of interface channel is communicated with the import of filter core respectively, perforate being communicated with respectively on the wall at interface channel and central cylinder line of centres place, as drain outlet, described filter chamber is comprised of cylinder blanket and a plurality of cylindrical filter core, and outer casing top surface is opened some circular holes as the import of filter core, is provided with outlet pipe on shell, sets out water pressure table on outlet pipe, and filter core tail end is sealed in shell bottom surface, described blowdown assembly comprises blow-off pipe, handle, capping and sewage import, described blow-off pipe is outside from intake antrum, by intake antrum center, through its end face and bottom surface, arrive filter chamber end face, one end that blow-off pipe contacts with filter chamber end face is blind end, blow-off pipe is positioned at the pipeline section lateral opening hole of intermediate cavity as sewage import, blowdown hydraulic gauge is set on blow-off pipe, described handle is positioned on the blow-off pipe of intake antrum outside, capping is positioned on the blow-off pipe of intake antrum inside, and with intake antrum bottom surface close contact, capping is circular slab, its diameter is greater than the internal diameter of interface channel.
Described reverse flushing filter screen filter, the peripheral cylindrical quantity of the quantity of intake antrum bottom surface perforate, intermediate cavity is identical with the quantity of filter core, comparatively reasonable when quantity is made as 2-12.
Described reverse flushing filter screen filter, turning handle can make blowdown assembly integral body rotate along central shaft.Capping is consistent with the direction of sewage import, axial centre section overlaps, when the position of two perforates centres to intake antrum bottom surface is rotated in capping, filter core import is full-gear, and sewage import is just sealed by the inwall of the central cylinder of intermediate cavity, drain outlet is closed, and filter core is all in filtration condition.When the central rotation of capping is during to center superposition with the perforate in intake antrum bottom surface, the capped sealing of this place's filter core import, sewage import just overlaps with the drain outlet at this place, and drain outlet is opened, and filter core is in backwash state herein.During filter work, all filter cores are all in filtration condition.During Filter Back Washing, only have a filter core in backwash state, other filter core is in filtration condition.
Described reverse flushing filter screen filter, water inlet pipe and outlet pipe have four kinds of assembling schemes: the first scheme, water inlet pipe is positioned on the side circumference of intake antrum, and outlet pipe is positioned on the side circumference of shell.First scheme, water inlet pipe is positioned on the side circumference of intake antrum, and outlet pipe is positioned at the bottom surface of shell.The third scheme water inlet pipe is positioned at the end face of intake antrum, and outlet pipe is positioned at the bottom surface of shell.The 4th kind of scheme, water inlet pipe is positioned at the end face of intake antrum, and outlet pipe is positioned on the side circumference of shell.When building backwash filter, four kinds of schemes are one optionally.
Described reverse flushing filter screen filter, during work, position in the middle of two in intake antrum bottom surface perforates of the capping of blowdown assembly, the mediate inwall place of central cylinder in chamber of sewage import, just in time making filter core import is full-gear, and drain outlet is closed state, and now source water enters filter core inside and filters, clear water after filtration comes together between filter core and shell, by outlet pipe, exports.Increase along with filtration time, the accumulation gradually of screen wall and filter core inside, make to increase gradually into the pressure differential of water and water outlet, when pressure reduction reaches design higher limit, turning handle, make the center superposition of the capping center of filter assemblies and a perforate of intake antrum bottom surface, the capped sealing of this place's filter core import, sewage import just overlaps with the drain outlet at this place, drain outlet is opened, clear water ecto-entad between filter core and shell enters filter core, the impurity flushing accumulating in screen wall and filter screen is entered to blow-off pipe discharge, filter core is in backwash state herein.Along with filter screen cleans up gradually, flow increase, increased pressure in blow-off pipe, when blow-off pipe internal pressure reaches the design upper limit or observes blowdown in-pipe flow impurity when less, turning handle, carry out the backwash of next filter screen, until all filter screens are rinsed well, blowdown assembly rotates to original position, and filter core full recovery is to duty.
The beneficial effect of the present invention's structure: the present invention is by the ingehious design of blowdown assembly and intermediate cavity; make the compact combination of a plurality of worry cores, blowdown apparatus and intake antrum of filter; filter general structure is simple; filtration is light and handy, convenient with the conversion of backwash, can not shut down filter core is carried out to backwash and independent blowdown.With respect to the integrated mode of multiple filter, connecting pipe, pipe fitting and valve are few, and the loss of flood peak is little, and overall cost is low, and less on system normal operation impact, operating efficiency is high.
Accompanying drawing explanation
Below in conjunction with drawings and Examples, the present invention is further described.
Fig. 1 is the orthogonal view of the embodiment of the present invention 1 filter core in filtration condition.
Fig. 2 is the A-A profile of Fig. 1.
Fig. 3 is the B-B profile of Fig. 1.
Fig. 4 is the C-C profile of Fig. 1.
Fig. 5 is the D-D profile of Fig. 1.
Fig. 6 is the orthogonal view of filter assemblies in Fig. 1.
Fig. 7 is the E-E profile of Fig. 5.
Fig. 8 is the F-F profile of Fig. 5.
Fig. 9 is the G-G profile of Fig. 5.
Figure 10 is the orthogonal view of the embodiment of the present invention 1 filter core in backwash state.
Figure 11 is the H-H profile of Fig. 9.
Figure 12 is the I-I profile of Fig. 9.
Figure 13 is the orthogonal view of the embodiment of the present invention 2 filter cores in filtration condition.
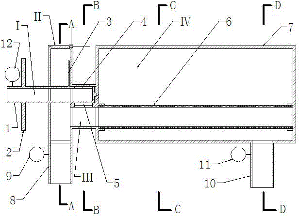
In figure, I. blowdown assembly II. intake antrum III. intermediate cavity IV. filter chamber 1. blow-off pipe 2. handle 3. capping 4. sewage import 5. drain outlet 6. filter core 7. shell 8. water inlet pipe 9. inlet gage 10. outlet pipe 11. discharge pressure table 12. sewer Pressure gauge 13. central cylinder 14. interface channels.
The specific embodiment
Embodiment 1:
With reference to Fig. 1~Fig. 9.A manual backwashing filter, consists of blowdown assembly I, intake antrum II, intermediate cavity III, filter chamber IV, described intake antrum II is hollow cylinder, is provided with water inlet pipe 8 in intake antrum II, and inlet gage 9 is set on water inlet pipe 8, and intake antrum II bottom surface is offered 3 apertures and is communicated with the import of 3 filter cores 6 by intermediate cavity III, described intermediate cavity III is located between intake antrum II and filter chamber IV, centered by intermediate cavity Ⅲ center, cylinder 13, it along central cylinder 13 center, is the interface channel 14 of 3 circular tube shapeds of even circumferential distribution, the end face that described 3 interface channels 14 connect intake antrum II and 6,3 interface channels 14 of 3 filter cores is communicated with intake antrum II respectively, described filter chamber IV is comprised of cylinder blanket 7 and 3 cylindrical filter cores 6, shell 7 end faces are opened 3 circular holes as the import of 3 filter cores 6, the bottom surface of 3 interface channels 14 is communicated with the import of 3 filter cores 6 respectively, perforate being communicated with respectively on the wall at the axle center of 3 interface channels 14 and the axial connecting line place of central cylinder 13, as drain outlet 5, on described shell 7, be provided with outlet pipe 10, set out water pressure table 11 on outlet pipe 10, shell 7 bottom surfaces are by filter core 6 tail end sealings, described blowdown assembly comprises blow-off pipe 1, handle 2, capping 3 and sewage import 4, described blow-off pipe 1 is from intake antrum 2 outsides, by intake antrum 2 centers, through its end face and bottom surface, arrive filter chamber IV end face, the inwall close contact of the outer wall of blow-off pipe 1 and central cylinder 13, one end that blow-off pipe 1 contacts with filter chamber IV end face is blind end, blow-off pipe is positioned at the pipeline section lateral opening hole of intermediate cavity III as sewage import 4, sewer Pressure gauge 12 is set on blow-off pipe 1, described handle 2 is positioned on the blow-off pipe 1 of intake antrum II outside, capping 3 is located on the blow-off pipe 1 of intake antrum II inside, and with intake antrum bottom surface close contact, capping 3 is circular slab, its diameter is greater than the internal diameter of interface channel 14, capping 3 is consistent with the direction of sewage import 4, axial centre section overlaps.
With reference to Fig. 1, Fig. 2 and Fig. 5, water inlet pipe 8 is positioned on the side circumference of intake antrum II, and outlet pipe 10 is positioned on the side circumference of shell 7.
With reference to Fig. 1, Fig. 2 and Fig. 3, during filter work, all filter cores are all in filtration condition.With reference to Fig. 9, Figure 10 and Figure 11, during Filter Back Washing, only have a filter core in backwash state, other filter core is in filtration condition.
Specific works process: during the work of reverse flushing filter screen filter (with reference to Fig. 1, Fig. 2 and Fig. 3), position in the middle of two in intake antrum II bottom surface perforates of the capping 3 of blowdown assembly I, the mediate inwall place of central cylinder of chamber III of 4 of sewage imports, just in time making filter core 6 imports is full-gear, drain outlet 5 is closed state, now source water enters filter core 6 inside and filters, and the clear water after filtration comes together between filter core 6 and shell 7, by outlet pipe 10, exports.Increase along with filtration time, the accumulation gradually of screen wall and filter core 6 inside, make to increase gradually into the pressure differential of water and water outlet, when pressure reduction reaches design higher limit, turning handle 2(is with reference to Figure 10, Figure 11 and Figure 12), make the center superposition of capping 3 centers of filter assemblies and a perforate of intake antrum II bottom surface, capped 3 sealings of these place's filter core 6 imports, sewage import 4 just overlaps with the drain outlet 5 at this place, drain outlet 5 is opened, clear water ecto-entad between filter core 6 and shell 7 enters filter core 6, the impurity flushing accumulating in screen wall and filter screen is entered to blow-off pipe 1 discharge, filter core 6 is in backwash state herein.Along with filter screen cleans up gradually, the interior flow of blow-off pipe 1 increases, increased pressure, when blow-off pipe 1 internal pressure reaches the design upper limit or observes the interior current impurity of blow-off pipe 1 when less, turning handle 2, carry out the backwash of next filter screen, until all filter screens are rinsed well, blowdown assembly I is rotated to original position, and filter core 6 full recoveries are to duty.
embodiment 2:
With reference to Figure 13,2 one kinds of manual backwashing filters of embodiment, basic structural feature is similar to embodiment 1, and difference is that water inlet pipe 8 is positioned on the side circumference of intake antrum II, and outlet pipe 10 is positioned on the bottom surface of shell 7.Embodiment 2 is represented by identical Reference numeral with the part that embodiment 1 has same structure, is no longer described.The principle of this embodiment is also identical with the 1st embodiment with implementation procedure, therefore omits its description.
Structure and the principle of reverse flushing filter screen filter of the present invention fully disclose by embodiment, but described embodiment is not in order to limit the present invention, under the prerequisite that does not depart from spirit of the present invention or essential characteristic, also can there is other embodiment, when showing scope of the present invention, should be with reference to appending claims, rather than aforesaid explanation.

Claims (5)

1. a manual backwashing filter, is characterized in that, blowdown assembly (I), intake antrum (II), intermediate cavity (III), filter chamber (IV), consists of, described intake antrum (II) is hollow cylinder, is provided with water inlet pipe (8) on intake antrum (II), and inlet gage (9) is set on water inlet pipe (8), and intake antrum (II) bottom surface is offered aperture and is communicated with the import of filter core (6) by intermediate cavity (III), described intermediate cavity (III) is located between intake antrum (II) and filter chamber (IV), cylinder (13) centered by the center of intermediate cavity (III), center along central cylinder (13) is the interface channel (14) of more than 2 circular tube shaped of even circumferential distribution, described interface channel (14) connects intake antrum (II) and filter core (6), and the end face of 2 above interface channels (14) is communicated with intake antrum (II) respectively, described filter chamber (IV) is comprised of cylinder blanket (7) and 2 above cylindrical filter cores (6), shell (7) end face is opened 2 above circular holes as the import of filter core (6), the bottom surface of 2 above interface channels (14) is communicated with 2 imports with upper filter (6) respectively, more than 2 on the axle center of interface channel (14) and the wall at the axial connecting line place of central cylinder (13), perforate is also communicated with respectively, as drain outlet (5), on described shell (7), be provided with outlet pipe (10), set out water pressure table (11) on outlet pipe (10), filter core (6) tail end is sealed in shell (7) bottom surface, described blowdown assembly comprises blow-off pipe (1), handle (2), capping (3) and sewage import (4), described blow-off pipe (1) is from intake antrum (2) outside, by intake antrum (2) center, through its end face and bottom surface, arrive filter chamber (IV) end face, the inwall close contact of the outer wall of blow-off pipe (1) and central cylinder (13), blow-off pipe (1) is blind end with one end that filter chamber (IV) end face contacts, blow-off pipe is positioned at the pipeline section lateral opening hole of intermediate cavity (III) as sewage import (4), sewer Pressure gauge (12) is set on blow-off pipe (1), described handle (2) is positioned on the outside blow-off pipe (1) of intake antrum (II), capping (3) is located on the inner blow-off pipe (1) of intake antrum (II), and with intake antrum bottom surface close contact, capping (3) is circular slab, its diameter is greater than the internal diameter of interface channel (14), capping (3) is consistent with the direction of sewage import (4), axial centre section overlaps, the quantity of the interface channel (14) of the quantity of intake antrum (II) bottom surface perforate, the peripheral circular tube shaped of intermediate cavity (III) is identical with the quantity of filter core (6), turning handle (2) makes blowdown assembly (I) integral body rotate along central shaft, when the position of two perforates centres to intake antrum (II) bottom surface is rotated in capping (3), filter core (6) import is full-gear, and sewage import (4) is just sealed by the inwall of the central cylinder of intermediate cavity (III), drain outlet (5) is closed, and filter core (6) is all in filtration condition, when the central rotation of capping (3) is during to center superposition with the perforate in intake antrum (II) bottom surface, this place's filter core (6) import capped (3) sealing, sewage import (4) just overlaps with the drain outlet (5) at this place, drain outlet (5) is opened, and filter core (6) is in backwash state herein, during filter work, all filter cores are all in filtration condition, during Filter Back Washing, only have a filter core in backwash state, other filter core is in filtration condition.
2. a kind of manual backwashing filter according to claim 1, is characterized in that, described water inlet pipe (8) is located on the sidewall circumference of intake antrum (II), and outlet pipe (10) is located on the sidewall circumference of shell (7).
3. a kind of manual backwashing filter according to claim 1, is characterized in that, described water inlet pipe (8) is located on the sidewall circumference of intake antrum (II), and outlet pipe (10) is located on the bottom surface of shell (7).
4. according to a kind of manual backwashing filter described in claim 1,2 or 3, it is characterized in that, the quantity of interface channel (14) and the quantity of filter core (6) of the quantity of described intake antrum (II) bottom surface perforate, the peripheral circular tube shaped of intermediate cavity (III) are 2-12.
5. according to a kind of manual backwashing filter described in claim 1,2 or 3, it is characterized in that, the quantity of interface channel (14) and the quantity of filter core (6) of the quantity of described intake antrum (II) bottom surface perforate, the peripheral circular tube shaped of intermediate cavity (III) are three.
CN201310592860.4A 2013-11-22 2013-11-22 A kind of manual backwashing filter Expired - Fee Related CN103623631B (en)

Priority Applications (1)

Application Number Priority Date Filing Date Title
CN201310592860.4A CN103623631B (en) 2013-11-22 2013-11-22 A kind of manual backwashing filter

Applications Claiming Priority (1)

Application Number Priority Date Filing Date Title
CN201310592860.4A CN103623631B (en) 2013-11-22 2013-11-22 A kind of manual backwashing filter

Publications (2)

Publication Number Publication Date
CN103623631A true CN103623631A (en) 2014-03-12
CN103623631B CN103623631B (en) 2015-10-28

Family

ID=50205301

Family Applications (1)

Application Number Title Priority Date Filing Date
CN201310592860.4A Expired - Fee Related CN103623631B (en) 2013-11-22 2013-11-22 A kind of manual backwashing filter

Country Status (1)

Country Link
CN (1) CN103623631B (en)

Cited By (5)

* Cited by examiner, † Cited by third party
Publication number Priority date Publication date Assignee Title
CN105536323A (en) * 2016-02-26 2016-05-04 江苏大学 Automatic back-flush mesh filter
WO2016086389A1 (en) * 2014-12-04 2016-06-09 苏俊 Automatic backwashing filter
CN105749599A (en) * 2016-02-26 2016-07-13 江苏大学 Hydrodynamic backwash filter screen filter
CN113350859A (en) * 2021-06-17 2021-09-07 陈海燕 Integrated sewage treatment equipment
CN113464448A (en) * 2021-07-14 2021-10-01 王涛 Sewage treatment lift pump with filtering component cleaning-free structure

Citations (6)

* Cited by examiner, † Cited by third party
Publication number Priority date Publication date Assignee Title
CN2665113Y (en) * 2003-09-03 2004-12-22 刘大朴 Intermittent bounce back type tap water pipe network terminal pure water processing unit
CA2599729A1 (en) * 2005-03-22 2006-09-28 Aqua-Aerobic Systems, Inc. Stationary cloth media filtration and self-aligning backwash assembly
CN201912825U (en) * 2010-12-23 2011-08-03 北京华昌丰机电技术研究开发中心 Efficient inner filtering, positioning and back washing filter
WO2012104746A1 (en) * 2011-02-04 2012-08-09 Boll & Kirch Filterbau Gmbh Reversible-flow filter with scavenging device
CN203139761U (en) * 2013-01-23 2013-08-21 邢兆杰 Clapboard type filter with turbulent flow back-flushing function
CN203291604U (en) * 2013-06-21 2013-11-20 新乡市万和滤清器有限公司 Filtering device with backwashing function

Patent Citations (6)

* Cited by examiner, † Cited by third party
Publication number Priority date Publication date Assignee Title
CN2665113Y (en) * 2003-09-03 2004-12-22 刘大朴 Intermittent bounce back type tap water pipe network terminal pure water processing unit
CA2599729A1 (en) * 2005-03-22 2006-09-28 Aqua-Aerobic Systems, Inc. Stationary cloth media filtration and self-aligning backwash assembly
CN201912825U (en) * 2010-12-23 2011-08-03 北京华昌丰机电技术研究开发中心 Efficient inner filtering, positioning and back washing filter
WO2012104746A1 (en) * 2011-02-04 2012-08-09 Boll & Kirch Filterbau Gmbh Reversible-flow filter with scavenging device
CN203139761U (en) * 2013-01-23 2013-08-21 邢兆杰 Clapboard type filter with turbulent flow back-flushing function
CN203291604U (en) * 2013-06-21 2013-11-20 新乡市万和滤清器有限公司 Filtering device with backwashing function

Cited By (6)

* Cited by examiner, † Cited by third party
Publication number Priority date Publication date Assignee Title
WO2016086389A1 (en) * 2014-12-04 2016-06-09 苏俊 Automatic backwashing filter
CN105536323A (en) * 2016-02-26 2016-05-04 江苏大学 Automatic back-flush mesh filter
CN105749599A (en) * 2016-02-26 2016-07-13 江苏大学 Hydrodynamic backwash filter screen filter
CN105749599B (en) * 2016-02-26 2018-04-17 江苏大学 A kind of Hydrodynamic recoil filter wash web filter
CN113350859A (en) * 2021-06-17 2021-09-07 陈海燕 Integrated sewage treatment equipment
CN113464448A (en) * 2021-07-14 2021-10-01 王涛 Sewage treatment lift pump with filtering component cleaning-free structure

Also Published As

Publication number Publication date
CN103623631B (en) 2015-10-28

Similar Documents

Publication Publication Date Title
CN103785209B (en) A kind of reverse flushing filter screen filter
CN103623631A (en) Hand-operated back-washing filter with filter screen
CN111140671B (en) A multifunctional fluid control valve and water treatment device thereof
CN104128027B (en) A backwash laminated filter
CN104404253A (en) Uranium hydrometallurgy ion exchange tower with filtration equipment comprising multilayer stand pipes
CN206814528U (en) Composite filter element
CN102359658B (en) Multifunctional double-drum filter valve
CN114517842B (en) A multifunctional filter valve for water treatment
CN105749599B (en) A kind of Hydrodynamic recoil filter wash web filter
CN203737108U (en) Quickly washed type RO (reverse osmosis) membrane filtering element structure
CN204400641U (en) A kind of water-purifying machine
CN105800809A (en) Non-electric and wastewater-free household reverse osmosis water purifier
CN105396354B (en) Self-cleaning lamination permeation water purifier
CN118224350A (en) A single valve body high efficiency filter valve
CN216895920U (en) Multifunctional filter valve for water treatment
CN103191592A (en) Filter easy to clean
CN201997157U (en) Full-automatic cleaning water filter
CN204412076U (en) Roll-type membrane structure in water purification equipment
CN203139739U (en) Easily cleaned filter
CN201603448U (en) Air insoluble type permanent backwashing filter
CN208265878U (en) A kind of water purifier with annular synthesis filter core
CN105536323A (en) Automatic back-flush mesh filter
CN201558596U (en) Air insoluble permanent backwash filter with water bag
CN218944772U (en) External pressure type hollow fiber membrane
CN204107133U (en) A kind of novel multi-layer filters purifier

Legal Events

Date Code Title Description
PB01 Publication
PB01 Publication
C10 Entry into substantive examination
SE01 Entry into force of request for substantive examination
C14 Grant of patent or utility model
GR01 Patent grant
CF01 Termination of patent right due to non-payment of annual fee
CF01 Termination of patent right due to non-payment of annual fee

Granted publication date: 20151028

Termination date: 20171122