CN103311682A - Tool-free cable connecting device - Google Patents
Tool-free cable connecting device Download PDFInfo
- Publication number
- CN103311682A CN103311682A CN2013102483153A CN201310248315A CN103311682A CN 103311682 A CN103311682 A CN 103311682A CN 2013102483153 A CN2013102483153 A CN 2013102483153A CN 201310248315 A CN201310248315 A CN 201310248315A CN 103311682 A CN103311682 A CN 103311682A
- Authority
- CN
- China
- Prior art keywords
- cable connecting
- copper lug
- plain conductor
- cable
- cam
- Prior art date
- Legal status (The legal status is an assumption and is not a legal conclusion. Google has not performed a legal analysis and makes no representation as to the accuracy of the status listed.)
- Pending
Links
- RYGMFSIKBFXOCR-UHFFFAOYSA-N Copper Chemical compound [Cu] RYGMFSIKBFXOCR-UHFFFAOYSA-N 0.000 claims abstract description 28
- 229910052802 copper Inorganic materials 0.000 claims abstract description 28
- 239000010949 copper Substances 0.000 claims abstract description 28
- 238000009413 insulation Methods 0.000 claims abstract description 18
- 239000004020 conductor Substances 0.000 claims description 21
- 230000006835 compression Effects 0.000 claims description 6
- 238000007906 compression Methods 0.000 claims description 6
- 239000003795 chemical substances by application Substances 0.000 claims description 4
- 239000000463 material Substances 0.000 claims description 3
- 230000001105 regulatory effect Effects 0.000 claims description 3
- -1 fixed screw Substances 0.000 claims description 2
- 239000002184 metal Substances 0.000 abstract description 6
- 229910052751 metal Inorganic materials 0.000 abstract description 6
- 230000005611 electricity Effects 0.000 description 3
- 230000007613 environmental effect Effects 0.000 description 1
Images
Landscapes
- Cable Accessories (AREA)
Abstract
The invention belongs to the technical field of cable connecting devices and relates to a tool-free cable connecting device. According to the tool-free cable connecting device, a cam-type wrench is fixedly mounted on a fixing hinge pin, and an insulation press block is transversely arranged inside a sliding chute and can slide freely in a horizontal direction; a cable connecting copper sheet is electrically connected with an external power source and fixedly provided with two fixing screws, and the fixing screws fix the cable connecting copper sheet onto wires or a power distribution device of the external power source; the side surface of the lower end of the cable connecting sheet, which corresponds to the insulation press block, is fixedly provided with a high-strength spring, and the high-strength spring fixedly supports a metal cable and adjusts the pressing distance between the cable connecting copper sheet and the metal cable; and the metal cable is fixedly arranged inside the gap between the insulation press block and the cable connecting copper sheet. The tool-free cable connecting device is simple in structure and safe and reliable to use, has no contactable exposed metal in the whole device to guarantee the safety of operation personnel, can conveniently connect and disconnect cables without tools and effectively avoid nonstandard cable connection and is environmentally friendly.
Description
Technical field:
The invention belongs to cable wiring unit technical field, relate to and a kind ofly do not use specific purpose tool and realize connecting the equipment of electric wire, cable, a kind of tool-type cable termination of exempting from particularly can make operating personnel not use specific purpose tool to realize the wiring of electric wire or take out stitches.
Background technology:
At present, all kinds of binding posts on the market, the wiring that each spacelike is opened all needs to carry out wiring or take out stitches with screwdriver or specific purpose tool, although the terminal of straight cutting fastening-type is arranged, but need specific purpose tool when removing, a lot of provisional electricity consumption operations in the reality, when especially all kinds of electric hand tools realize that in distribution box cable connects electricity, often use at specific purpose tool and will remove later at once, a lot of phenomenons are arranged is workmans because of do not have the band instrument directly with the end of a thread in the socket aperture once inserting or one hanging direct use on the binding post, cause the electricity consumption Frequent Accidents, connect, the cable of taking out stitches needs the situation of specific purpose tool to make troubles to work, easily causes potential safety hazard.
Summary of the invention:
The object of the invention is to overcome the shortcoming that prior art exists, seek design a kind of tool-type cable termination of exempting from is provided, solve the problem that wiring needs specific purpose tool, make cable in the situation that without specific purpose tool, can conveniently connect, tear open electric wire, its Metal Contact tightness obviously is better than socket, effectively reduces the generation of heat.
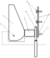
To achieve these goals, agent structure of the present invention comprises cam-type spanner, fixed pin shaft, insulation pressing, plain conductor, fixed screw, copper lug, high strong spring and slideway; The cam-type spanner of cam structure is electrically insulated structures, and the cam-type spanner is fixedly mounted on the fixed pin shaft, and two ends are that the insulation pressing of resistance to compression material is placed on laterally that horizontal direction is free to slide in the slideway; Copper lug is electrically connected with the circuit of external power supply, fixedly is shaped with two fixed screws on the copper lug, and fixed screw can be fixed in copper lug in the wiring or controller switching equipment of external power supply; The lower end side of copper lug and insulation pressing corresponding position fixedly are shaped with high strong spring, high strong spring fixed support plain conductor, and high strong spring can be regulated the compression distance between copper lug and the plain conductor, to adapt to the plain conductor of different wire diameters; In the slit of plain conductor fixed placement between insulation pressing and copper lug, the rotation by the cam-type spanner promotes insulation pressing to the tightening or loosening of plain conductor, and realizes the wiring between plain conductor and the copper lug and takes out stitches.
The present invention compared with prior art, it is simple in structure, and is safe and reliable, the bare metal that can not contact in the whole device guarantees operating personnel's safety, can be in the situation that tool using not, the cable that connects easily, takes out stitches solves the phenomenon of wiring lack of standardization, environmental friendliness effectively.
Description of drawings:
Fig. 1 is agent structure principle schematic of the present invention.
Fig. 2 is that the present invention uses the status architecture principle schematic.
Embodiment:
Also the present invention is further described by reference to the accompanying drawings below by embodiment.
Embodiment:
The agent structure of the present embodiment comprises cam-type spanner 1, fixed pin shaft 2, insulation pressing 3, plain conductor 4, fixed screw 5, copper lug 6, high strong spring 7 and slideway 8; The cam-type spanner 1 of cam structure is electrically insulated structures, and cam-type spanner 1 is fixedly mounted on the fixed pin shaft 2, and two ends are that the insulation pressing 3 of resistance to compression material laterally is placed on slideway 8 interior horizontal directions and is free to slide; Copper lug 6 is electrically connected with the circuit of external power supply, fixedly is shaped with two fixed screws 5 on the copper lug 6, and fixed screw 5 can be fixed in copper lug 6 in the wiring or controller switching equipment of external power supply; The lower end side of copper lug 6 and insulation pressing 3 corresponding positions fixedly are shaped with high strong spring 7, high strong spring 7 fixed support plain conductors 4, high strong spring 7 can be regulated the compression distance between copper lug 6 and the plain conductor 4, with the plain conductor 4 that adapts to different wire diameters; In the slit of plain conductor 4 fixed placement between insulation pressing 3 and copper lug 6, the rotation by cam-type spanner 1 promotes tightening or loosening of 3 pairs of plain conductors 4 of insulation pressing, realizes the wiring between plain conductor 4 and the copper lug 6 and takes out stitches.
Claims (1)
1. exempt from tool-type cable termination for one kind, it is characterized in that agent structure comprises cam-type spanner, fixed pin shaft, insulation pressing, plain conductor, fixed screw, copper lug, high strong spring and slideway; The cam-type spanner of cam structure is electrically insulated structures, and the cam-type spanner is fixedly mounted on the fixed pin shaft, and two ends are that the insulation pressing of resistance to compression material is placed on laterally that horizontal direction is free to slide in the slideway; Copper lug is electrically connected with the circuit of external power supply, fixedly is shaped with two fixed screws on the copper lug, and fixed screw is fixed in copper lug in the wiring or controller switching equipment of external power supply; The lower end side of copper lug and insulation pressing corresponding position fixedly are shaped with high strong spring, high strong spring fixed support plain conductor, and high strong spring is regulated the compression distance between copper lug and the plain conductor, to adapt to the plain conductor of different wire diameters; In the slit of plain conductor fixed placement between insulation pressing and copper lug, the rotation by the cam-type spanner promotes insulation pressing to the tightening or loosening of plain conductor, and realizes the wiring between plain conductor and the copper lug and takes out stitches.
Priority Applications (1)
| Application Number | Priority Date | Filing Date | Title |
|---|---|---|---|
| CN2013102483153A CN103311682A (en) | 2013-06-21 | 2013-06-21 | Tool-free cable connecting device |
Applications Claiming Priority (1)
| Application Number | Priority Date | Filing Date | Title |
|---|---|---|---|
| CN2013102483153A CN103311682A (en) | 2013-06-21 | 2013-06-21 | Tool-free cable connecting device |
Publications (1)
| Publication Number | Publication Date |
|---|---|
| CN103311682A true CN103311682A (en) | 2013-09-18 |
Family
ID=49136645
Family Applications (1)
| Application Number | Title | Priority Date | Filing Date |
|---|---|---|---|
| CN2013102483153A Pending CN103311682A (en) | 2013-06-21 | 2013-06-21 | Tool-free cable connecting device |
Country Status (1)
| Country | Link |
|---|---|
| CN (1) | CN103311682A (en) |
Cited By (5)
| Publication number | Priority date | Publication date | Assignee | Title |
|---|---|---|---|---|
| CN104269662A (en) * | 2014-09-19 | 2015-01-07 | 国家电网公司 | Grounding connector easy and convenient to use |
| CN105988023A (en) * | 2015-02-11 | 2016-10-05 | 天津荣丰计算机系统服务有限公司 | Safe coupling joint for motor test system |
| CN107332507A (en) * | 2017-08-25 | 2017-11-07 | 安吉尚日新能源科技有限公司 | A kind of solar engineering is with small line footpath terminating wire box |
| CN108075409A (en) * | 2016-11-16 | 2018-05-25 | 刘伟华 | Bus arrangement auxiliary tool |
| CN108075392A (en) * | 2016-11-16 | 2018-05-25 | 刘伟华 | Assistor of ascending a height is exempted from electric system rural power inspection |
Citations (4)
| Publication number | Priority date | Publication date | Assignee | Title |
|---|---|---|---|---|
| JPH04245173A (en) * | 1991-01-31 | 1992-09-01 | Anritsu Corp | Electric wire connecting device |
| JPH05226009A (en) * | 1992-02-10 | 1993-09-03 | Anritsu Corp | Electric wire connecting device |
| CN2807503Y (en) * | 2005-06-30 | 2006-08-16 | 宝山钢铁股份有限公司 | Electric cable rapid mounting/dismounting device |
| CN1893187A (en) * | 2005-04-26 | 2007-01-10 | 巴特洛克有限责任公司 | Lawn and garden battery clamp |
-
2013
- 2013-06-21 CN CN2013102483153A patent/CN103311682A/en active Pending
Patent Citations (4)
| Publication number | Priority date | Publication date | Assignee | Title |
|---|---|---|---|---|
| JPH04245173A (en) * | 1991-01-31 | 1992-09-01 | Anritsu Corp | Electric wire connecting device |
| JPH05226009A (en) * | 1992-02-10 | 1993-09-03 | Anritsu Corp | Electric wire connecting device |
| CN1893187A (en) * | 2005-04-26 | 2007-01-10 | 巴特洛克有限责任公司 | Lawn and garden battery clamp |
| CN2807503Y (en) * | 2005-06-30 | 2006-08-16 | 宝山钢铁股份有限公司 | Electric cable rapid mounting/dismounting device |
Cited By (6)
| Publication number | Priority date | Publication date | Assignee | Title |
|---|---|---|---|---|
| CN104269662A (en) * | 2014-09-19 | 2015-01-07 | 国家电网公司 | Grounding connector easy and convenient to use |
| CN105988023A (en) * | 2015-02-11 | 2016-10-05 | 天津荣丰计算机系统服务有限公司 | Safe coupling joint for motor test system |
| CN105988023B (en) * | 2015-02-11 | 2019-05-31 | 天津荣丰计算机系统服务有限公司 | A kind of safe coupling for Motor Measuring System |
| CN108075409A (en) * | 2016-11-16 | 2018-05-25 | 刘伟华 | Bus arrangement auxiliary tool |
| CN108075392A (en) * | 2016-11-16 | 2018-05-25 | 刘伟华 | Assistor of ascending a height is exempted from electric system rural power inspection |
| CN107332507A (en) * | 2017-08-25 | 2017-11-07 | 安吉尚日新能源科技有限公司 | A kind of solar engineering is with small line footpath terminating wire box |
Similar Documents
| Publication | Publication Date | Title |
|---|---|---|
| CN203326127U (en) | Spacing-adjustable ground wire clamp | |
| CN103311682A (en) | Tool-free cable connecting device | |
| CN102593614A (en) | Wire clamp for grounding wire | |
| CN204030029U (en) | Transformer grounding protective device | |
| CN203277685U (en) | A double spring hook type grounding clamp | |
| CN203839535U (en) | Steerable grounding bar for power maintenance | |
| CN208256937U (en) | Duck tongue type spiral compression formula earthing clamp | |
| CN207517907U (en) | A kind of conductive bus bar short circuit grounding switching device | |
| CN202333678U (en) | Conductive device for supporting type tubular bus and earthed switch in high-voltage distribution | |
| CN203288773U (en) | Tool-free type cable wiring device | |
| CN103066536B (en) | A kind of quick installing cables device | |
| CN203398345U (en) | Improved ground wire | |
| CN202454880U (en) | Current shorting stub with lockable plug | |
| CN203312090U (en) | Vacuum arc-extinguishing chamber assembling apparatus | |
| CN203232974U (en) | Grounding body interchange device of low-voltage grounding wires | |
| CN205389012U (en) | Intelligent power distribution coils earthing device | |
| CN201549609U (en) | Ground wire conductor end clamps for substations | |
| CN203967279U (en) | Corner pole circuit interior angle side joint device for connecting earth | |
| CN204088982U (en) | A kind of ground protection pincers | |
| CN203607727U (en) | Substation grounding device | |
| CN204927690U (en) | Inner tightening quick wiring device | |
| CN205228526U (en) | Multi -functional electric power monitoring device | |
| CN103474797A (en) | Ground clip in switch cabinet | |
| CN203760879U (en) | Insulated pull rod applied to a plurality of operating environments of transformer station | |
| CN209515338U (en) | A kind of 10kV overhead transmission line Novel lightning-proof device |
Legal Events
| Date | Code | Title | Description |
|---|---|---|---|
| C06 | Publication | ||
| PB01 | Publication | ||
| C10 | Entry into substantive examination | ||
| SE01 | Entry into force of request for substantive examination | ||
| C02 | Deemed withdrawal of patent application after publication (patent law 2001) | ||
| WD01 | Invention patent application deemed withdrawn after publication |
Application publication date: 20130918 |