CN103273438A - Optical fiber fixing clamp - Google Patents
Optical fiber fixing clamp Download PDFInfo
- Publication number
- CN103273438A CN103273438A CN2013101537423A CN201310153742A CN103273438A CN 103273438 A CN103273438 A CN 103273438A CN 2013101537423 A CN2013101537423 A CN 2013101537423A CN 201310153742 A CN201310153742 A CN 201310153742A CN 103273438 A CN103273438 A CN 103273438A
- Authority
- CN
- China
- Prior art keywords
- push rod
- base
- eccentric wheel
- hole
- optical fiber
- Prior art date
- Legal status (The legal status is an assumption and is not a legal conclusion. Google has not performed a legal analysis and makes no representation as to the accuracy of the status listed.)
- Granted
Links
- 239000013307 optical fiber Substances 0.000 title claims abstract description 30
- 238000003825 pressing Methods 0.000 claims abstract description 9
- 239000011159 matrix material Substances 0.000 claims 1
- 238000010586 diagram Methods 0.000 description 4
- 238000002474 experimental method Methods 0.000 description 2
- 238000004891 communication Methods 0.000 description 1
- 230000006835 compression Effects 0.000 description 1
- 238000007906 compression Methods 0.000 description 1
- 230000008602 contraction Effects 0.000 description 1
- 238000009434 installation Methods 0.000 description 1
- 238000004519 manufacturing process Methods 0.000 description 1
- 238000000034 method Methods 0.000 description 1
- 230000003287 optical effect Effects 0.000 description 1
- 238000002360 preparation method Methods 0.000 description 1
Images
Landscapes
- Mechanical Coupling Of Light Guides (AREA)
- Light Guides In General And Applications Therefor (AREA)
Abstract
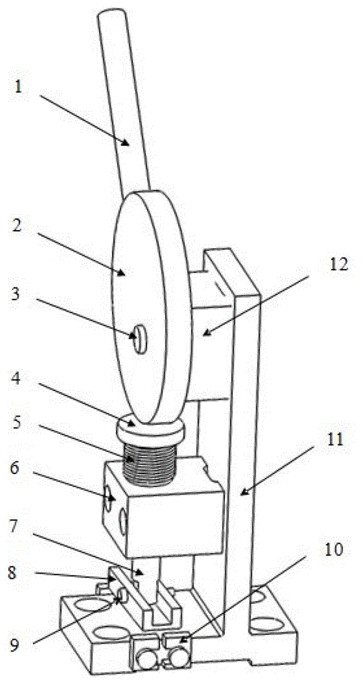
一种光纤固定夹具,其主要包括偏心轮、推杆、压板、夹具底座,偏心轮底座固定在夹具底座上,偏心轮设在偏心轮底座上,偏心轮外缘上设有手柄;带有通孔的推杆底座固定在夹具底座上,推杆穿过通孔设置在推杆底座上,推杆帽与上述偏心轮外缘接触,推杆套筒的大孔顶端设有螺纹用以固定推杆帽,标杆放入推杆套筒的小孔内,推杆套筒内外分别设有内外弹簧,标杆上设有刻度,其底端设有通孔,用于插入压板销连接凹型压板;在与压板相对应的夹具底座横板的两侧面各设有两个U型板组成的宽度保持板,在夹具底座横板上设有2-4个通孔。本发明结构简洁,能够自锁,受力可调,可灵活地对光纤进行定位、夹紧,且不会破坏光纤外皮,光纤受力均匀,安全性好。
An optical fiber fixing fixture mainly includes an eccentric wheel, a push rod, a pressure plate, and a fixture base. The push rod base of the hole is fixed on the fixture base, and the push rod passes through the through hole and is set on the push rod base. The rod cap and the mark rod are put into the small hole of the push rod sleeve, the inside and outside of the push rod sleeve are respectively provided with inner and outer springs, the mark rod is provided with a scale, and the bottom end is provided with a through hole for inserting the pressure plate pin to connect the concave pressure plate; The two sides of the horizontal plate of the clamp base corresponding to the pressing plate are respectively provided with two width maintaining plates composed of U-shaped plates, and 2-4 through holes are arranged on the horizontal plate of the clamp base. The invention has the advantages of simple structure, self-locking, adjustable force, flexible positioning and clamping of the optical fiber, and no damage to the outer skin of the optical fiber, uniform force on the optical fiber, and good safety.
Description
技术领域technical field
本发明涉及一种夹具,特别是一种光纤夹具。The invention relates to a clamp, especially an optical fiber clamp.
背景技术Background technique
光纤在光学传感、光纤通信中发挥着不可替代的作用,光纤固定夹具作为固定光纤的器件,在光纤制备及其试验中显得尤为重要。Optical fibers play an irreplaceable role in optical sensing and optical fiber communication. As a device for fixing optical fibers, optical fiber fixing fixtures are particularly important in optical fiber preparation and testing.
为了更好地利用光纤的性能,需要对其进行各种科学实验,试验中往往需要对光纤进行固定,且对光纤受力有一定的要求,而传统机床类夹具不适于夹持细小的光纤,且在夹持中不好把握力度,易造成光纤的破坏,现有的光纤固定夹具通用性差,结构复杂,制造成本高,灵活性低,操作繁琐。In order to make better use of the performance of the optical fiber, it is necessary to carry out various scientific experiments on it. In the experiment, it is often necessary to fix the optical fiber, and there are certain requirements for the force on the optical fiber. However, traditional machine tool fixtures are not suitable for clamping small optical fibers. Moreover, it is difficult to grasp the strength during clamping, which may easily cause damage to the optical fiber. The existing optical fiber fixing fixture has poor versatility, complex structure, high manufacturing cost, low flexibility, and cumbersome operation.
发明内容Contents of the invention
本发明的目的在于提供一种结构简单、易于安装、操作方便的光纤固定夹具。The object of the present invention is to provide an optical fiber fixing fixture with simple structure, easy installation and convenient operation.
本发明的技术方案如下:Technical scheme of the present invention is as follows:
本发明主要包括偏心轮、推杆、压板和夹具底座,其中夹具底座为倒T型结构,偏心轮底座固定在夹具底座竖板一侧的上部,偏心轮通过偏心轮销安装在上述偏心轮底座上,偏心轮的外缘上设有螺孔,手柄与偏心轮螺纹连接。在偏心轮下面,带有通孔的推杆底座固定在上述夹具底座竖板同一侧的下部,推杆穿过上述通孔设置在推杆底座上,推杆由推杆帽、内弹簧、推杆套筒和标杆组成,推杆帽与上述偏心轮外缘接触,推杆帽为螺母状,推杆套筒设有一大一小的阶梯型孔,大孔顶端设有螺纹用以固定推杆帽,T字型的标杆放入小孔内,标杆与推杆套筒为间隙配合,推杆套筒内推杆帽与标杆之间设有内弹簧,在标杆上设有刻度,其底端设有通孔,用于插入压板销连接凹型压板。在推杆套筒外设有外弹簧,该外弹簧分别抵靠推杆帽和推杆底座的上平面。在与上述压板相对应的夹具底座横板的两侧设有宽度保持板,该宽度保持板为相对的两个U型板,分别通过螺钉固定。在夹具底座横板上设有2-4个通孔,用以将夹具连接和固定在机床等设备上。The invention mainly includes an eccentric wheel, a push rod, a pressing plate and a fixture base, wherein the fixture base is an inverted T-shaped structure, the eccentric wheel base is fixed on the upper part of one side of the vertical plate of the fixture base, and the eccentric wheel is installed on the above-mentioned eccentric wheel base through the eccentric wheel pin On, the outer edge of the eccentric wheel is provided with a screw hole, and the handle is threadedly connected with the eccentric wheel. Below the eccentric wheel, the push rod base with a through hole is fixed on the lower part of the same side of the vertical plate of the above clamp base, the push rod passes through the above through hole and is arranged on the push rod base, and the push rod is composed of a push rod cap, an inner spring, a push rod Composed of a rod sleeve and a pole, the push rod cap is in contact with the outer edge of the above-mentioned eccentric wheel, the push rod cap is in the shape of a nut, the push rod sleeve is provided with a large and small stepped hole, and the top of the large hole is provided with a thread to fix the push rod Cap, the T-shaped pole is put into the small hole, the pole and the push rod sleeve are clearance fit, an inner spring is arranged between the push rod cap and the pole in the push rod sleeve, and a scale is set on the pole, and the bottom end A through hole is provided for inserting the pressing plate pin to connect the concave pressing plate. An outer spring is arranged outside the push rod sleeve, and the outer spring abuts against the upper planes of the push rod cap and the push rod base respectively. A width maintaining plate is provided on both sides of the horizontal plate of the fixture base corresponding to the above-mentioned pressing plate, and the width maintaining plate is two opposite U-shaped plates, which are respectively fixed by screws. There are 2-4 through holes on the horizontal plate of the fixture base, which are used to connect and fix the fixture on machine tools and other equipment.
使用时,首先向上推动手柄致推杆能在外弹簧作用下弹起,将光纤穿过宽度保持板板间,调节宽度保持板板间距离,使光纤与宽度保持板接触,拧紧宽度保持板上的螺钉,然后向下转动手柄,使压板压紧光纤,压紧力的大小可由标杆刻度值来反映。在整个操作过程中偏心轮能保持好良好的自锁状态。向上推动手柄使推杆在外弹簧作用下弹起,拧松宽度保持板上的螺钉,扩大板间距离,取出光纤。When in use, first push the handle upwards so that the push rod can bounce up under the action of the outer spring, pass the optical fiber through the width-maintaining plate, adjust the distance between the width-maintaining plates, make the optical fiber contact with the width-maintaining plate, and tighten the width-maintaining plate screw, and then turn the handle downward to make the pressure plate compress the optical fiber, and the compression force can be reflected by the scale value of the benchmark. The eccentric wheel can maintain a good self-locking state during the whole operation. Push the handle up to make the push rod spring up under the action of the outer spring, loosen the screws on the width maintaining plate, expand the distance between the plates, and take out the optical fiber.
本发明与现有技术相比具有如下优点:Compared with the prior art, the present invention has the following advantages:
(一)结构简洁,能够自锁,操作方便。(1) The structure is simple, self-locking and easy to operate.
(二)通过弹簧的伸缩量即可控制光纤所受力的大小,且能有效避免压坏光纤情况的出现,可靠性高。(2) The force on the optical fiber can be controlled by the expansion and contraction of the spring, and the occurrence of crushing the optical fiber can be effectively avoided, and the reliability is high.
(三)用可转动式压板压紧光纤,调节宽度保持板的定位,适用于夹持各种光纤,并能灵活、准确的对光纤进行定位、夹紧,而不会损坏光纤外皮,光纤受力均匀,安全性好。(3) Use a rotatable pressure plate to compress the optical fiber, adjust the width to maintain the positioning of the plate, suitable for clamping various optical fibers, and can flexibly and accurately position and clamp the optical fiber without damaging the outer skin of the optical fiber. Uniform force and good safety.
附图说明Description of drawings
图1是本发明的立体示意简图;Fig. 1 is the three-dimensional schematic diagram of the present invention;
图2是本发明推杆的示意简图;Fig. 2 is the schematic diagram of push rod of the present invention;
图3是本发明推杆的剖示图;Fig. 3 is the sectional view of push rod of the present invention;
图4是本发明推杆零件示意图。Fig. 4 is a schematic diagram of the push rod parts of the present invention.
在图中,1、手柄,2、偏心轮,3、偏心轮销,4、推杆,5、外弹簧,6、推杆底座,7、标杆,8、压板,9、压板销,10、宽度保持板,11、夹具底座,12、偏心轮底座,13、推杆套筒,14、推杆帽,15、内弹簧。In the figure, 1, handle, 2, eccentric wheel, 3, eccentric wheel pin, 4, push rod, 5, outer spring, 6, push rod base, 7, mark pole, 8, pressure plate, 9, pressure plate pin, 10, Width maintaining plate, 11, fixture base, 12, eccentric wheel base, 13, push rod sleeve, 14, push rod cap, 15, inner spring.
具体实施方式Detailed ways
在图1所示的一种光纤固定夹具示意图中,夹具底座11为倒T型结构,偏心轮底座12固定在夹具底座竖板一侧的上部,偏心轮2通过偏心轮销3安装在上述偏心轮底座上,偏心轮的外缘上设有螺孔,手柄1与偏心轮螺纹连接。在偏心轮下面,带有通孔的推杆底座6固定在上述夹具底座竖板同一侧的下部,推杆4穿过上述通孔设置在推杆底座上,推杆帽14与上述偏心轮外缘接触。如图2、3和4所示,推杆帽为螺母状,推杆套筒13设有一大一小的阶梯型孔,大孔顶端设有螺纹用以固定推杆帽,T字型的标杆7放入小孔内,标杆与推杆套筒为间隙配合,推杆套筒内推杆帽与标杆之间设有内弹簧15,在标杆上设有刻度,其底端设有通孔,用于插入压板销9连接凹型压板8。在推杆套筒外设有外弹簧5,该外弹簧分别抵靠推杆帽和推杆底座的上平面。在与上述压板相对应的夹具底座横板的两侧设有宽度保持板10,该宽度保持板为相对的两个U型板,分别通过螺钉固定。在夹具底座横板上设有4个通孔,用以将夹具连接和固定在机床等设备上。In the schematic diagram of an optical fiber fixing fixture shown in Figure 1, the fixture base 11 is an inverted T-shaped structure, the
Claims (1)
Priority Applications (1)
| Application Number | Priority Date | Filing Date | Title |
|---|---|---|---|
| CN201310153742.3A CN103273438B (en) | 2013-04-27 | 2013-04-27 | Optical fiber fixing clamp |
Applications Claiming Priority (1)
| Application Number | Priority Date | Filing Date | Title |
|---|---|---|---|
| CN201310153742.3A CN103273438B (en) | 2013-04-27 | 2013-04-27 | Optical fiber fixing clamp |
Publications (2)
| Publication Number | Publication Date |
|---|---|
| CN103273438A true CN103273438A (en) | 2013-09-04 |
| CN103273438B CN103273438B (en) | 2014-12-24 |
Family
ID=49056114
Family Applications (1)
| Application Number | Title | Priority Date | Filing Date |
|---|---|---|---|
| CN201310153742.3A Expired - Fee Related CN103273438B (en) | 2013-04-27 | 2013-04-27 | Optical fiber fixing clamp |
Country Status (1)
| Country | Link |
|---|---|
| CN (1) | CN103273438B (en) |
Cited By (9)
| Publication number | Priority date | Publication date | Assignee | Title |
|---|---|---|---|---|
| CN104698557A (en) * | 2015-04-03 | 2015-06-10 | 上海电缆研究所 | Manufacturing clamp for optical fiber array |
| CN105258860A (en) * | 2015-11-21 | 2016-01-20 | 重庆市山城燃气设备有限公司 | Gas meter sealing performance detection apparatus with duplex quick clamping device |
| CN105424283A (en) * | 2015-11-21 | 2016-03-23 | 重庆市山城燃气设备有限公司 | Double-linked rapid clamping apparatus for detection of sealing performance of gas meter |
| CN106002380A (en) * | 2016-06-30 | 2016-10-12 | 苏州健雄职业技术学院 | Clamping fixture for multiple thin parts |
| CN109397009A (en) * | 2018-12-20 | 2019-03-01 | 阚大荣 | A kind of polishing mold for convex surface for optical mirror slip |
| CN110653547A (en) * | 2019-09-16 | 2020-01-07 | 邹鑫 | A welded platform for auto-parts processing |
| CN110911115A (en) * | 2019-12-11 | 2020-03-24 | 杭州优朴信息技术有限公司 | A plug-in cooling device on a small transformer |
| CN112299704A (en) * | 2020-11-13 | 2021-02-02 | 中国电子科技集团公司第四十六研究所 | A fixture and clamping method for improving the geometrical accuracy of polarization-maintaining optical fiber preform |
| CN115572795A (en) * | 2022-11-03 | 2023-01-06 | 浙江丰立智能科技股份有限公司 | High-frequency tool |
Citations (7)
| Publication number | Priority date | Publication date | Assignee | Title |
|---|---|---|---|---|
| EP0036369A1 (en) * | 1980-03-14 | 1981-09-23 | Lignes Telegraphiques Et Telephoniques L.T.T. | Method and apparatus for coupling fibre-optical cables on the working site |
| CN2303309Y (en) * | 1997-08-20 | 1999-01-06 | 中国科学院安徽光学精密机械研究所 | Simple type three-D optical fiber regulation frame |
| CN2852154Y (en) * | 2005-11-30 | 2006-12-27 | 捷芯科技股份有限公司 | Universal fixture for testing fiber optic patch cords |
| DE202008013804U1 (en) * | 2008-11-28 | 2009-04-16 | Chang, Peter | Nanopositioner for aligning optical elements without electricity |
| CN202438942U (en) * | 2012-02-28 | 2012-09-19 | 南京烽火藤仓光通信有限公司 | Optical fiber fixing device |
| CN103009306A (en) * | 2012-12-14 | 2013-04-03 | 中国电子科技集团公司第十一研究所 | Optical fiber fixing device |
| CN103064164A (en) * | 2012-12-21 | 2013-04-24 | 燕山大学 | Multi-core belt-shaped optical fiber fixture with self-locking and anti-skidding function |
-
2013
- 2013-04-27 CN CN201310153742.3A patent/CN103273438B/en not_active Expired - Fee Related
Patent Citations (7)
| Publication number | Priority date | Publication date | Assignee | Title |
|---|---|---|---|---|
| EP0036369A1 (en) * | 1980-03-14 | 1981-09-23 | Lignes Telegraphiques Et Telephoniques L.T.T. | Method and apparatus for coupling fibre-optical cables on the working site |
| CN2303309Y (en) * | 1997-08-20 | 1999-01-06 | 中国科学院安徽光学精密机械研究所 | Simple type three-D optical fiber regulation frame |
| CN2852154Y (en) * | 2005-11-30 | 2006-12-27 | 捷芯科技股份有限公司 | Universal fixture for testing fiber optic patch cords |
| DE202008013804U1 (en) * | 2008-11-28 | 2009-04-16 | Chang, Peter | Nanopositioner for aligning optical elements without electricity |
| CN202438942U (en) * | 2012-02-28 | 2012-09-19 | 南京烽火藤仓光通信有限公司 | Optical fiber fixing device |
| CN103009306A (en) * | 2012-12-14 | 2013-04-03 | 中国电子科技集团公司第十一研究所 | Optical fiber fixing device |
| CN103064164A (en) * | 2012-12-21 | 2013-04-24 | 燕山大学 | Multi-core belt-shaped optical fiber fixture with self-locking and anti-skidding function |
Cited By (11)
| Publication number | Priority date | Publication date | Assignee | Title |
|---|---|---|---|---|
| CN104698557A (en) * | 2015-04-03 | 2015-06-10 | 上海电缆研究所 | Manufacturing clamp for optical fiber array |
| CN105258860A (en) * | 2015-11-21 | 2016-01-20 | 重庆市山城燃气设备有限公司 | Gas meter sealing performance detection apparatus with duplex quick clamping device |
| CN105424283A (en) * | 2015-11-21 | 2016-03-23 | 重庆市山城燃气设备有限公司 | Double-linked rapid clamping apparatus for detection of sealing performance of gas meter |
| CN106002380A (en) * | 2016-06-30 | 2016-10-12 | 苏州健雄职业技术学院 | Clamping fixture for multiple thin parts |
| CN109397009A (en) * | 2018-12-20 | 2019-03-01 | 阚大荣 | A kind of polishing mold for convex surface for optical mirror slip |
| CN110653547A (en) * | 2019-09-16 | 2020-01-07 | 邹鑫 | A welded platform for auto-parts processing |
| CN110911115A (en) * | 2019-12-11 | 2020-03-24 | 杭州优朴信息技术有限公司 | A plug-in cooling device on a small transformer |
| CN112299704A (en) * | 2020-11-13 | 2021-02-02 | 中国电子科技集团公司第四十六研究所 | A fixture and clamping method for improving the geometrical accuracy of polarization-maintaining optical fiber preform |
| CN112299704B (en) * | 2020-11-13 | 2023-12-29 | 中国电子科技集团公司第四十六研究所 | Clamp and clamping method for improving geometric accuracy of polarization maintaining optical fiber preform |
| CN115572795A (en) * | 2022-11-03 | 2023-01-06 | 浙江丰立智能科技股份有限公司 | High-frequency tool |
| CN115572795B (en) * | 2022-11-03 | 2024-07-26 | 浙江丰立智能科技股份有限公司 | High-frequency tool |
Also Published As
| Publication number | Publication date |
|---|---|
| CN103273438B (en) | 2014-12-24 |
Similar Documents
| Publication | Publication Date | Title |
|---|---|---|
| CN103273438A (en) | Optical fiber fixing clamp | |
| CN204935153U (en) | A kind of frock clamp | |
| CN102928288B (en) | A kind of tensile test fixture | |
| CN105115819A (en) | Fatigue test clamp | |
| CN103286598A (en) | Drilling fixture | |
| CN203135279U (en) | Special tool for maintenance of compression spring of breaker contact | |
| CN204053528U (en) | A kind of centering clamp system | |
| CN103472558A (en) | Multifunctional optical lens device clamping tool | |
| CN103192285A (en) | Fixture of engine intake tube | |
| CN104551543A (en) | Manufacture method of centrifugal acceleration testing device of thermal battery | |
| CN202344428U (en) | UV (Ultraviolet) adhesive coupling clamp | |
| CN204658277U (en) | A kind of adjustable panel-mounted stationary fixture | |
| CN204795891U (en) | Fixing jig for substrate patching | |
| CN203422313U (en) | Cantilever beam clamp for testing damping characteristics of material | |
| CN202710405U (en) | Geosynthetics test clamp | |
| CN103940732B (en) | A kind of clamping device of cydariform friction plate friction test | |
| CN203357057U (en) | Clamping device | |
| CN204819250U (en) | Anchor clamps are assisted to gearbox DCT parking ware | |
| CN205958358U (en) | A device for power battery module curb plate tensile test | |
| CN203465462U (en) | Multifunctional optical lens device clamping tool | |
| CN203936664U (en) | A kind of pressing plate can floating support double milling clamper | |
| CN104827304B (en) | A kind of retaining mechanism | |
| CN203712161U (en) | Positioning and clamping device for automobile part welding operation | |
| CN105618804B (en) | Casting milling flat rise hole clip tool | |
| CN206146742U (en) | Tensile test fixture device |
Legal Events
| Date | Code | Title | Description |
|---|---|---|---|
| C06 | Publication | ||
| PB01 | Publication | ||
| C10 | Entry into substantive examination | ||
| SE01 | Entry into force of request for substantive examination | ||
| C14 | Grant of patent or utility model | ||
| GR01 | Patent grant | ||
| CF01 | Termination of patent right due to non-payment of annual fee |
Granted publication date: 20141224 Termination date: 20170427 |
|
| CF01 | Termination of patent right due to non-payment of annual fee |
