CN102631753A - 一种可往复楼层作业的电动救生升降器 - Google Patents
一种可往复楼层作业的电动救生升降器 Download PDFInfo
- Publication number
- CN102631753A CN102631753A CN2012100257045A CN201210025704A CN102631753A CN 102631753 A CN102631753 A CN 102631753A CN 2012100257045 A CN2012100257045 A CN 2012100257045A CN 201210025704 A CN201210025704 A CN 201210025704A CN 102631753 A CN102631753 A CN 102631753A
- Authority
- CN
- China
- Prior art keywords
- rope
- wheel
- gear
- main shaft
- axle
- Prior art date
- Legal status (The legal status is an assumption and is not a legal conclusion. Google has not performed a legal analysis and makes no representation as to the accuracy of the status listed.)
- Pending
Links
- 230000005540 biological transmission Effects 0.000 claims abstract description 15
- 229910000831 Steel Inorganic materials 0.000 claims abstract description 9
- 239000010959 steel Substances 0.000 claims abstract description 9
- 238000004140 cleaning Methods 0.000 claims abstract description 6
- XEEYBQQBJWHFJM-UHFFFAOYSA-N Iron Chemical compound [Fe] XEEYBQQBJWHFJM-UHFFFAOYSA-N 0.000 claims description 12
- 230000000630 rising effect Effects 0.000 claims description 8
- 229910052742 iron Inorganic materials 0.000 claims description 6
- 239000000725 suspension Substances 0.000 claims description 6
- 238000012423 maintenance Methods 0.000 claims description 4
- 239000007787 solid Substances 0.000 claims description 4
- 238000004804 winding Methods 0.000 claims description 4
- 230000007423 decrease Effects 0.000 claims description 3
- 241000269799 Perca fluviatilis Species 0.000 claims description 2
- 235000013351 cheese Nutrition 0.000 claims description 2
- 230000000694 effects Effects 0.000 claims description 2
- 239000012467 final product Substances 0.000 claims description 2
- 238000009434 installation Methods 0.000 claims description 2
- 238000009413 insulation Methods 0.000 claims description 2
- 238000010586 diagram Methods 0.000 description 5
- 230000000903 blocking effect Effects 0.000 description 1
- 239000004020 conductor Substances 0.000 description 1
- 230000034994 death Effects 0.000 description 1
- 231100000517 death Toxicity 0.000 description 1
- 238000005516 engineering process Methods 0.000 description 1
- 230000008520 organization Effects 0.000 description 1
- 230000002265 prevention Effects 0.000 description 1
- 230000003014 reinforcing effect Effects 0.000 description 1
- 239000000779 smoke Substances 0.000 description 1
- 231100000331 toxic Toxicity 0.000 description 1
- 230000002588 toxic effect Effects 0.000 description 1
Images
Classifications
-
- Y—GENERAL TAGGING OF NEW TECHNOLOGICAL DEVELOPMENTS; GENERAL TAGGING OF CROSS-SECTIONAL TECHNOLOGIES SPANNING OVER SEVERAL SECTIONS OF THE IPC; TECHNICAL SUBJECTS COVERED BY FORMER USPC CROSS-REFERENCE ART COLLECTIONS [XRACs] AND DIGESTS
- Y02—TECHNOLOGIES OR APPLICATIONS FOR MITIGATION OR ADAPTATION AGAINST CLIMATE CHANGE
- Y02B—CLIMATE CHANGE MITIGATION TECHNOLOGIES RELATED TO BUILDINGS, e.g. HOUSING, HOUSE APPLIANCES OR RELATED END-USER APPLICATIONS
- Y02B50/00—Energy efficient technologies in elevators, escalators and moving walkways, e.g. energy saving or recuperation technologies
Landscapes
- Emergency Lowering Means (AREA)
Abstract
本发明涉及一种可往复楼层作业的电动救生升降器,现在高楼逃生装备如消防云梯救人时会受到高度限制。而绳索装置结构复杂,下降时速度太快,易受伤。还有的只能在无烟的现场使用,还有的老幼孕病人群使用有困难。还有的逃生器从窗口而下,火灾现场的火势由内向外从窗口喷涌而出,后果可想而知。本发明由高点固定挂连轮、钢丝绳、电动系统、传动系统、主轴绞绳系统、制动系统、载员箱、连接操作机构组成。可看做是用蓄电池直流电源作为电动传动系统的电梯。它可用于火灾救生,也可用于免搭架维修、清洁外墙,具有多功能性。最主要的是它往返避开凶猛火势在背火面升降多次,一次多员救生、并快速安全下降着地。
Description
技术领域
本发明属于逃生装置,具体涉及高层建筑发生紧急情况时的自救降落,还可用于在高层建筑上作业如(免搭架维修、清洁外墙)。
背景技术
随着人们生活水平的不断提高,居住条件的改善,居住在楼层大厦的人群云集,防火意识从9.11事件不断提高,出现了许多高楼逃生工具,具有新颖性,但缺乏实用性,主要表现在使用时只能在无烟的现场使用,在火灾现场火势无定向毒烟熏天的情景下,有几个敢用,能用呢?一人一器就算敢用,逃命争先恐后,易造成伤亡,有的逃生器从窗口而下,火灾现场的火势由内向外从窗口喷涌而出,正好正着火焰,后果可想而知,而逃生器的使用也只有一次性,不能往复使用逃生救人,老幼孕病人群无法可逃。
发明内容
本发明提供一种能避开凶猛火势在背火面升降往返多次,一次救多员、解救弱势人群,在第一时间快速输送灭火器具快速救火救人,在无火时间,可用于在高层建筑上作业如(免搭架维修、清洁外墙)的高楼逃生器。
本发明解决现有技术问题所采用的技术方案是:一种可往复楼层作业的电动救生升降器它包括高点固定挂连轮、钢丝绳、电动系统、传动系统、主轴绞绳系统、制动系统、载员箱、连接操作机构。
本发明所述本高点固定挂连轮,它需选择高点救生位置,应在背火射出的外墙面。如需车上顶救人,还需在顶上设架牢固的悬架,在顶高设架要比车底到顶高40公分处挂滑轮,车不到楼顶时,在外墙面需固定悬挂滑轮(2个),窗侧的墙面升降救人,维修清洁时在选任意一点悬挂固定挂滑轮,由高点固定挂连滑轮具体操作楼层所需的至高点,必须结实牢固,打上安装墙体膨胀栓,确保紧固有效,再连接固紧支重架,挂上滑轮,滑轮的支重要超过额定支重量1倍以上,杜绝在救人时超重而不能承重。滑轮挂钩上还有一防救脱机构。
本发明所述的钢丝绳有两根,长度随楼层高度而定且必须超过额定的承重量,两根各一端穿入载员箱的穿绳孔后叠绳头用锁绳扣紧固,另各一端通过挂上滑轮中的绳槽后向下连接排绳引导器,通过在主轴绞绳中的穿绳孔绕一圈后折回绳头在绳体上,锁上绳扣固紧。
本发明所述的电动系统、它有蓄电池、充电器、冲电插座连接、电流开关、电动钥匙、电量转把、控制器、电动机、导线连接组成。当高楼使用时,两套串联,以便在救人救火往返多次有动力,连接固定载员箱体内及箱顶。
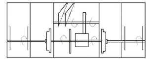
本发明所述的传动系统:它安装在箱顶上,传动轴上两端由轴承及轴承座用螺栓固定在箱顶上,轴的中间有销槽、销子、固定在销槽的链条齿轮内,使用两个链条轮。轴中间另一段带有凹凸槽条,槽条上紧镶滑轮离合齿轮,齿轮内圆凹凸,以齿凸对轴凹槽条,齿凹对轴凸槽条轨,离合齿轮吻合在槽轨上,固定可做直线移动,离合齿轮尾端带有凹圆槽,圆槽上镶有拔叉,拔叉部圆孔有横穿固定轴焊接一端在箱顶上,拔叉有操作向下的手柄连接,操作手柄推动离合齿轮移动,作用离合主轴上的动齿轮,从动齿轮内有销槽,对主轴上的销子、销槽吻合后有拧紧螺帽固紧,主轴上安装有制动系统的制动蹄片刹车装置,中间一个紧靠链条齿轮,齿轮内有销子连接固定在轴上,有螺帽紧固,有链条传动排绳导引器轴上的销子嵌轴槽齿轮槽再有螺帽紧固链条齿轮,当离合齿轮合入从动齿轮,因销子嵌轴槽、齿轮槽,在电动机给力链条传动及齿轮转动一个接一个,将轴扭动起来,轴转动从而形成了绞绳上提载员箱上升功能。
本发明所述的主轴绞绳系统,它由主轴、固定主轴的轴承及轴承座,轴的中间有绞绳挡绳盘,穿绳孔,制动系统轮轱,螺帽,销槽销子与齿轮盘固紧,在高楼使用的排绳引导器,排绳引导器轴上链条齿轮、销槽、销子紧固,齿轮大小与主轴绞绳链条齿轮相同,排绳器轴两端由轴承、轴承座固定连接在箱顶上,钢绳嵌在排绳器的槽路内,主轴绞绳链条齿轮及链条转动带动排绳引导器转动,钢绳嵌在槽内,随槽路将绳有序排列在主轴绞绳轴盘内。
本发明所述的制动系统:只要绞绳和放绳的主轴停止转动,整体箱体制动有效停车,主轴绞绳盘旁的轴承座边,固定安装有轮轱蹄片制动刹车,墙板死栓在载员车箱体内顶部的支架上,内有蹄片总成、支杆、回位弹簧,与板外连通的转动销(凸轮),轮轱套在蹄片上,外有固定轮轱螺帽销槽销子紧固,在主轴上刹车墙板上与外连通的转动销(凸轮)连接的拉杆连接在操作脚踏板支杆上,脚踏板端点固定在箱底内,由于刹车墙板及内蹄片固定,而套在蹄片上的轮轱转动,当操作踩踏板时,拉动拉杆连接的刹车墙板上转动销(凸轮)胀开墙板内的蹄片,将转动的轮轱刹死,停在转动,在空中停止时拉上连接在拉杆上固定刹车,即刻松开脚踏板,在主轴绞绳上的从动轮装有固定在箱体顶端上形如逗号的制动卡,卡上有弹簧连接在箱体内顶上,卡背有一小孔穿绳打结牢固,一端上拉环限位紧紧连,在轴绞绳转动时,卡尖塔在从动齿轮上转动,当轴从动齿轮反转时,卡尖死顶 住齿轮,起到了制动作用。在箱体要下降时,拉绳将卡尖拉上拉开环挂在固定支环杆上,此时有脚踩踏板控制快慢,停止到位,空中停车一定要拉手刹,放下卡拉环,让卡尖顶住齿轮。
本发明所述的载员箱:箱内有地板、侧门、侧门旁由挂钩,前面、后门靠墙两段,当箱体升至于所述的窗台平行或后门上半截(下半截)门相平行时,打开侧门,挂上挂钩以免在救人箱体摇动,影响平衡,下降时将挂钩拿进箱内即可,或从后门入内,箱内有操作机构连接,安装电动系统,操作凳、安全带、箱体固架,隔火的铁皮包围,透视窗,箱外有爬墙轮,四个,箱底有移动轮四个,箱顶上传动系统,绞绳装置。
本发明所述的操作机构,在机箱内操作人员入内关好门,打开固定在箱内的电流开关,插上电锁匙,合上滑动离合齿轮固定手柄,让齿轮吻合,手握电流转把,向后转动,电机转动带动传动及绞绳,箱体绳通过滑轮绞盘将箱升起,到位后脚踩脚踏板,而后立即松开转把,拉上手刹,此时齿轮卡已顶住主轴从动齿轮安全停车,打开后门(上或下半截)或打开侧门,这时等室内人员打开窗门,翻开早已安装备用的折叠窗板,旋转手扶卡到手扶位置,手扶已悬出窗外,窗板已悬出窗外,操作人员将挂钩搭在窗板上固定,这时候,逃生人搭櫈上窗台,手握手扶转体进车后,取下挂钩,关上侧门,从后门入内要关上打开的后门。操作员将逃生员调整平衡后,操作员拉开卡尖套上环支杆固定,脚踩脚踏板,松开手刹柄,在缓慢调松脚刹,箱下降,速度由操作员的脚控制,直至到位。修补清洁外墙时,上升、下降中途如同上升时操作、停止时操作。长时间空中停车,要让齿轮卡的卡尖顶住齿轮,拉上手刹。
本发明可升降往返多次,一次救多员、解救弱势人群的。具有结构简单、操作便捷的特点。
下面结合附图和实施例对本发明作进一步说明。
附图说明
[图1是高楼使用车结构说明图
图2是楼层使用车结构图
[图3是室内安装折叠出窗板及扶手现场图
图4是窗台折叠出窗脚踏板图
图5是高点位固定图
图6是挂滑轮楼顶架构图
图7是挂滑轮图连接箱体操作上是到位后图
图8是下降图
图9是载员箱结构图
图10是传动系统构件图
图11是电动动力系统图
图12是传动系统图
图13是主轴绞绳系统图
图14是排绳导引器图
图15是制动系统图
图16是操作连接图与制动系统蹄片刹车原理图
图17是宿舍使用图
图中扶手(见图3标示):1、扶手杆、 2扶手连接孔 、3-①②支架扶手孔、4固定扶手支架、 5固定扶手机关
窗台折叠出窗脚踏板(见图4标示):1-①②连墙铁板、2-①②折叠支板、3、折叠转轴、4、窗台出窗固定孔、5-①②③④⑤⑥⑦⑧连接墙体膨胀螺丝孔、6膨胀螺栓
挂滑轮外墙面架(见图5标示):1铁板、2-①②③④板孔、3-①②③撑悬梁衬、4支重梁、5-①②挂滑轮位
挂滑轮楼顶架构(见图6标示):1-①②③地脚、2-①②直柱、3-①②③④撑铁、4横梁、5-①②长吊梁、6-①②③④⑤⑥⑦⑧连接孔、7-①②挂滑轮位、8长吊梁加固铁
载员箱结构(见图9标示):1-①②③④⑤⑥支梁、2-①②③④靠墙轮、3-①②靠墙门、4-①②侧门折合门、5-①②挂钩、6-①②③④箱底轮、7-①②侧门杆销、8-①②转把支杆、9操作櫈、10墙面、11载员箱整体、12-①②穿绳孔、13-①②靠墙门栓、14墙面栓
传动系统(见图10标示):1轴承及轴承外套轴承座、2-①②固定齿轮螺帽、3-①②齿轮、4轴、5分离齿轮、6链条、7固定分离齿轮拔叉、8拔叉及手柄、9分离齿轮正面、10拔叉凹凸槽、11销子
电动动力系统有两组只画一组(见图11标示):1蓄电池、2、6、8、10正极导线,3、5负极导线、4充电插座、7电流开关、9电动锁匙、11电流调速转把、12连通转把导线、13连通电机导线、14电动机、15控制器16为正极导线、17转把连接弹簧
[主轴绞绳系统(见图13标示):1-①②③④⑤⑥轴承及轴承座、2-①②③④挡绳板、3-①②穿绳孔、4-①②轮轱螺帽、5-①②轮轱、6-①②墙板、7主轴、8从动齿轮、9链条齿轮、10-①②③④⑤⑥⑦销子及销子槽
排绳引导口(见图14标示):1轴、2螺帽、3轴承槽、4-①②轴承、5-①②轴承座、6齿轮、7轴销子、8-①②引导轴、9-①②隔绳板
制动系统(见图15标示):1-①②轮轱固定螺帽、2-①②轮轱、
3-①②固定墙板、4-①②③轴承及轴承座、5从动齿轮、6固定齿轮、7支杆、8齿轮制动卡、9拉离齿轮制动线、10拉卡弹簧、11-①②操作制动连接杆、12-①②③拉杆上连接刹、13操作制动手刹柄、14固定操作制动脚踏板连接、15固定操作制动脚踏板连接孔、16操作制动脚踏板
制动系统蹄片刹车原理(见图16吧b、c标示,b为操作制动连接系统上升图、c为操作制动连接系统下降图):1凸轮、2制动鼓、3制动蹄片、4支点、5回位弹簧
Claims (8)
1.一种可往复楼层作业的电动救生升降器,其特征在于包括高点固定挂连轮、钢丝绳、电动系统、传动系统、主轴绞绳系统、制动系统、载员箱、连接操作机构。
2.一种可往复楼层作业的电动救生升降器,其特征在于所述的高点固定挂连轮,它需选择高点救生位置,应在背火射出的外墙面,如需车上顶救人,还需在顶上设架牢固的悬架,在顶高设架要比车底到顶高40公分处挂滑轮,车不到楼顶时,在外墙面需固定悬挂滑轮(2个),窗侧的墙面升降救人,维修清洁时在选任意一点悬挂固定挂滑轮,由高点固定挂连滑轮具体操作楼层所需的至高点,必须结实牢固,打上安装墙体膨胀栓,确保紧固有效,再连接固紧支重架,挂上滑轮,滑轮的支重要超过额定支重量1倍以上,杜绝在救人时超重而不能承重,滑轮挂钩上还有一防救脱机构。
3.一种可往复楼层作业的电动救生升降器,其特征在于本发明所述的钢丝绳有两根,长度随楼层高度而定且必须超过额定的承重量,两根各一端穿入载员箱的穿绳孔后叠绳头用锁绳扣紧固,另各一端通过挂上滑轮中的绳槽后向下连接排绳引导器,通过在主轴绞绳中的穿绳孔绕一圈后折回绳头在绳体上,锁上绳扣固紧。
4.一种可往复楼层作业的电动救生升降器,其特征在于所述的电动系统,它由蓄电池、充电器、充电插座连接、电流开关、电动钥匙、电量转把、控制器、电动机、导线连接组成,
当高楼使用时,两套串联,以便在救人救火往返多次有动力,连接固定载员箱体内及箱顶。
5.一种可往复楼层作业的电动救生升降器,其特征在于所述的传动系统,它安装在箱顶上,传动轴上两端由轴承及轴承座用螺栓固定在箱顶上,轴的中间有销槽、销子、固定在销槽的链条齿轮内,使用两个链条轮,轴中间另一段带有凹凸槽条,槽条上紧镶滑轮离合齿轮,齿轮内圆凹凸,以齿凸对轴凹槽条,齿凹对轴凸槽条轨,离合齿轮吻合在槽轨上,固定可做直线移动,离合齿轮尾端带有凹圆槽,圆槽上镶有拔叉,拔叉部圆孔有横穿固定轴焊接一端在箱顶上,拔叉有操作向下的手柄连接,操作手柄推动离合齿轮移动,作用离合主轴上的从动齿轮,从动齿轮内有销槽,对主轴上的销子、销槽吻合后有拧紧螺帽固紧,主轴上安装有制动系统的制动蹄片刹车装置,中间一个紧靠链条齿轮,齿轮内有销子连接固定在轴上,有螺帽紧固,有链条传动排绳导引器轴上的销子嵌轴槽齿轮槽再有螺帽紧固链条齿轮,当离合齿轮合入从动齿轮,因销子嵌轴槽、齿轮槽,在电动机给力链条传动及齿轮转动一个接一个,将轴扭动起来,轴转动从而形成了绞绳上提载员箱上升功能。
6.一种可往复楼层作业的电动救生升降器,其特征在于所述的主轴绞绳系统,它由主轴、固定主轴的轴承及轴承座,轴的中间有绞绳挡绳盘,穿绳孔,制动系统轮轱,螺帽,销槽销子与齿轮盘固紧,在高楼使用的排绳引导器排绳引导器轴上链条齿轮、销槽、销子紧固,齿轮大小与主轴绞绳链条齿轮相同,排绳器轴两端由轴承、轴承座固定连接在箱顶上,钢绳嵌在排绳器的槽路内,主轴绞绳链条齿轮及链条转动带动排绳引导器转动,钢绳嵌在槽内,随槽路将绳有序排列在主轴绞绳轴盘内。
7.一种可往复楼层作业的电动救生升降器,其特征在于所述的制动系统,只要绞绳和放绳的主轴停止转动,整体箱体制动有效停车,主轴绞绳盘旁的轴承座边,固定安装有轮轱蹄片制动刹车,墙板死栓在载员车箱体内顶部的支架上,内有蹄片总成、支杆、回位弹簧,与板外连通的转动销(凸轮),轮轱套在蹄片上,外有固定轮轱螺帽销槽销子紧固,在主轴上刹车墙板上与外连通的转动销(凸轮)连接的拉杆连接在操作脚踏板支杆上,脚踏板端点固定在箱底内,由于刹车墙板及内蹄片固定,而套在蹄片上的轮轱转动,当操作踩踏板时,拉动拉杆连接的刹车墙板上转动销(凸轮)胀开墙板内的蹄片,将转动的轮轱刹死,停在转动,在空中停止时拉上连接在拉杆上固定刹车,即刻松开脚踏板,在主轴绞绳上的从动轮装有固定在箱体顶端上形如逗号的制动卡,卡上有弹簧连接在箱体内顶上,卡背有一小孔穿绳打结牢固,一端上拉环限位紧连,在轴绞绳转动时,卡尖塔在从动齿轮上转动,当轴从动齿轮反转时,卡尖死顶住齿轮,起到了制动作用,在箱体要下降时,拉绳将卡尖拉上拉开环挂在固定支环杆上,此时有脚踩踏板控制快慢,停止到位,空中停车一定要拉手刹,放下卡拉环,让卡尖顶住齿轮。
8.一种可往复楼层作业的电动救生升降器,其特征在于的载员箱,箱内有地板、侧门、侧门旁由挂钩,前面、后门靠墙两段,当箱体升至于所述的窗台平行或后门上半截(下半截)门相平行时,打开侧门,挂上挂钩以免在救人箱体摇动,影响平衡,下降时将挂钩拿进箱内即可,或从后门入内,箱内有操作机构连接,安装电动系统,操作凳、安全带、箱体固架,隔火的铁皮包围,透视窗,箱外有爬墙轮,四个,箱底有移动轮四个箱顶上传动系统,绞绳装置。
Priority Applications (1)
| Application Number | Priority Date | Filing Date | Title |
|---|---|---|---|
| CN2012100257045A CN102631753A (zh) | 2012-02-06 | 2012-02-06 | 一种可往复楼层作业的电动救生升降器 |
Applications Claiming Priority (1)
| Application Number | Priority Date | Filing Date | Title |
|---|---|---|---|
| CN2012100257045A CN102631753A (zh) | 2012-02-06 | 2012-02-06 | 一种可往复楼层作业的电动救生升降器 |
Publications (1)
| Publication Number | Publication Date |
|---|---|
| CN102631753A true CN102631753A (zh) | 2012-08-15 |
Family
ID=46616436
Family Applications (1)
| Application Number | Title | Priority Date | Filing Date |
|---|---|---|---|
| CN2012100257045A Pending CN102631753A (zh) | 2012-02-06 | 2012-02-06 | 一种可往复楼层作业的电动救生升降器 |
Country Status (1)
| Country | Link |
|---|---|
| CN (1) | CN102631753A (zh) |
Cited By (7)
| Publication number | Priority date | Publication date | Assignee | Title |
|---|---|---|---|---|
| CN103241614A (zh) * | 2013-05-24 | 2013-08-14 | 西华大学 | 一种直流驱动施工升降机 |
| CN104324452A (zh) * | 2014-10-22 | 2015-02-04 | 徐振权 | 一种高空逃生箱 |
| CN104667441A (zh) * | 2015-02-04 | 2015-06-03 | 高留中 | 楼房折叠逃生箱 |
| CN107187955A (zh) * | 2017-05-24 | 2017-09-22 | 国网北京市电力公司 | 油丝绳盘绕装置 |
| CN107522055A (zh) * | 2017-10-12 | 2017-12-29 | 沈小平 | 一种垂直电梯 |
| CN110755763A (zh) * | 2019-11-11 | 2020-02-07 | 沈阳促晋科技有限公司 | 传送带式阳台逃生装置 |
| CN113605671A (zh) * | 2021-10-09 | 2021-11-05 | 徐州烁鼎机械制造有限公司 | 一种用于悬吊脚手架的提升装置 |
Citations (10)
| Publication number | Priority date | Publication date | Assignee | Title |
|---|---|---|---|---|
| GB191201510A (en) * | 1912-01-19 | 1912-08-01 | William Phillips Thompson | Improvements in Fire Fighting or Extinguishing Apparatus. |
| US4042066A (en) * | 1975-12-31 | 1977-08-16 | Noone Martin J | Portable emergency fire fighting and rescue elevator |
| US5819876A (en) * | 1996-10-23 | 1998-10-13 | Chao; Wen-Bing | Elevator with electric/manual dual driving mode |
| CN1226450A (zh) * | 1998-02-16 | 1999-08-25 | 吴水森 | 不用电机带动行走高楼消防救命电梯 |
| KR20050122928A (ko) * | 2004-06-25 | 2005-12-29 | 이현달 | 인명 피난 장비 |
| CN101077439A (zh) * | 2007-02-27 | 2007-11-28 | 白孝林 | 高楼无源往复式群体自救逃生系统 |
| CN101293125A (zh) * | 2008-06-19 | 2008-10-29 | 四川宁江精密工业有限责任公司 | 往复式救生装置 |
| CN201871139U (zh) * | 2010-12-03 | 2011-06-22 | 苏仲红 | 楼房多功能救援设备 |
| CN102166390A (zh) * | 2011-05-28 | 2011-08-31 | 金来兴 | 带逃生舱的高楼火灾安全逃生器 |
| CN201978366U (zh) * | 2011-03-04 | 2011-09-21 | 苏仲红 | 楼房多功能救生舱 |
-
2012
- 2012-02-06 CN CN2012100257045A patent/CN102631753A/zh active Pending
Patent Citations (10)
| Publication number | Priority date | Publication date | Assignee | Title |
|---|---|---|---|---|
| GB191201510A (en) * | 1912-01-19 | 1912-08-01 | William Phillips Thompson | Improvements in Fire Fighting or Extinguishing Apparatus. |
| US4042066A (en) * | 1975-12-31 | 1977-08-16 | Noone Martin J | Portable emergency fire fighting and rescue elevator |
| US5819876A (en) * | 1996-10-23 | 1998-10-13 | Chao; Wen-Bing | Elevator with electric/manual dual driving mode |
| CN1226450A (zh) * | 1998-02-16 | 1999-08-25 | 吴水森 | 不用电机带动行走高楼消防救命电梯 |
| KR20050122928A (ko) * | 2004-06-25 | 2005-12-29 | 이현달 | 인명 피난 장비 |
| CN101077439A (zh) * | 2007-02-27 | 2007-11-28 | 白孝林 | 高楼无源往复式群体自救逃生系统 |
| CN101293125A (zh) * | 2008-06-19 | 2008-10-29 | 四川宁江精密工业有限责任公司 | 往复式救生装置 |
| CN201871139U (zh) * | 2010-12-03 | 2011-06-22 | 苏仲红 | 楼房多功能救援设备 |
| CN201978366U (zh) * | 2011-03-04 | 2011-09-21 | 苏仲红 | 楼房多功能救生舱 |
| CN102166390A (zh) * | 2011-05-28 | 2011-08-31 | 金来兴 | 带逃生舱的高楼火灾安全逃生器 |
Cited By (10)
| Publication number | Priority date | Publication date | Assignee | Title |
|---|---|---|---|---|
| CN103241614A (zh) * | 2013-05-24 | 2013-08-14 | 西华大学 | 一种直流驱动施工升降机 |
| CN104324452A (zh) * | 2014-10-22 | 2015-02-04 | 徐振权 | 一种高空逃生箱 |
| CN104324452B (zh) * | 2014-10-22 | 2017-04-19 | 徐振权 | 一种高空逃生箱 |
| CN104667441A (zh) * | 2015-02-04 | 2015-06-03 | 高留中 | 楼房折叠逃生箱 |
| CN104667441B (zh) * | 2015-02-04 | 2022-05-24 | 高留中 | 楼房折叠逃生箱 |
| CN107187955A (zh) * | 2017-05-24 | 2017-09-22 | 国网北京市电力公司 | 油丝绳盘绕装置 |
| CN107522055A (zh) * | 2017-10-12 | 2017-12-29 | 沈小平 | 一种垂直电梯 |
| CN110755763A (zh) * | 2019-11-11 | 2020-02-07 | 沈阳促晋科技有限公司 | 传送带式阳台逃生装置 |
| CN113605671A (zh) * | 2021-10-09 | 2021-11-05 | 徐州烁鼎机械制造有限公司 | 一种用于悬吊脚手架的提升装置 |
| CN113605671B (zh) * | 2021-10-09 | 2021-12-10 | 徐州烁鼎机械制造有限公司 | 一种用于悬吊脚手架的提升装置 |
Similar Documents
| Publication | Publication Date | Title |
|---|---|---|
| CN102631753A (zh) | 一种可往复楼层作业的电动救生升降器 | |
| CN101862512B (zh) | 一种可调节高楼逃生装置 | |
| CN201799022U (zh) | 机械高楼逃生器 | |
| CN109248386A (zh) | 一种高楼火灾救生装置 | |
| CN102877781A (zh) | 紧急疏散梯 | |
| CN102008785B (zh) | 双吊篮高层建筑火灾逃生装置 | |
| CN201276407Y (zh) | 载人电动升降器 | |
| CN2553834Y (zh) | 自控式救生背包 | |
| CN113582099A (zh) | 一种既有住宅加装电梯安装用平台 | |
| CN1024257C (zh) | 爬绳器 | |
| CN201447863U (zh) | 高处作业悬挂座椅 | |
| CN117180651A (zh) | 一种往复式灾难救生装置 | |
| CN108704224B (zh) | 一种高空缓降器 | |
| KR20070015237A (ko) | 고층건물 화재진압 및 인명구조용 엘리베이터의 구동장치 | |
| CN202052217U (zh) | 高空升降滑轮 | |
| CN202052219U (zh) | 高空手摇升降框 | |
| CN104056369B (zh) | 一种高空缓降装置 | |
| CN1689664B (zh) | 高楼逃生器 | |
| JP3094898U (ja) | ビル高所用避難器 | |
| CN205698931U (zh) | 一种高层逃生装置 | |
| CN104998357A (zh) | 一种逃生用高空缓降器及逃生系统 | |
| CN217430688U (zh) | 一种高层建筑自降逃生装置 | |
| CN203874302U (zh) | 一种升降器 | |
| CN104001281A (zh) | 一种逃生升降器 | |
| CN201710831U (zh) | 一种高楼逃生器 |
Legal Events
| Date | Code | Title | Description |
|---|---|---|---|
| C06 | Publication | ||
| PB01 | Publication | ||
| C10 | Entry into substantive examination | ||
| SE01 | Entry into force of request for substantive examination | ||
| WD01 | Invention patent application deemed withdrawn after publication | ||
| WD01 | Invention patent application deemed withdrawn after publication |
Application publication date: 20120815 |