CN102538936B - Calibration device of large weighing apparatus - Google Patents

Calibration device of large weighing apparatus Download PDF

Info

Publication number
CN102538936B
CN102538936B CN 201110447097 CN201110447097A CN102538936B CN 102538936 B CN102538936 B CN 102538936B CN 201110447097 CN201110447097 CN 201110447097 CN 201110447097 A CN201110447097 A CN 201110447097A CN 102538936 B CN102538936 B CN 102538936B
Authority
CN
China
Prior art keywords
verification
weighing
lever
foundation
booster
Prior art date
Legal status (The legal status is an assumption and is not a legal conclusion. Google has not performed a legal analysis and makes no representation as to the accuracy of the status listed.)
Active
Application number
CN 201110447097
Other languages
Chinese (zh)
Other versions
CN102538936A (en
Inventor
姚进辉
许航
林建辉
王秀荣
郭贵勇
赖征创
Current Assignee (The listed assignees may be inaccurate. Google has not performed a legal analysis and makes no representation or warranty as to the accuracy of the list.)
Fujian Metrology Institute
Original Assignee
Fujian Metrology Institute
Priority date (The priority date is an assumption and is not a legal conclusion. Google has not performed a legal analysis and makes no representation as to the accuracy of the date listed.)
Filing date
Publication date
Application filed by Fujian Metrology Institute filed Critical Fujian Metrology Institute
Priority to CN 201110447097 priority Critical patent/CN102538936B/en
Publication of CN102538936A publication Critical patent/CN102538936A/en
Application granted granted Critical
Publication of CN102538936B publication Critical patent/CN102538936B/en
Active legal-status Critical Current
Anticipated expiration legal-status Critical

Links

Images

Landscapes

  • Force Measurement Appropriate To Specific Purposes (AREA)
  • Testing Of Devices, Machine Parts, Or Other Structures Thereof (AREA)

Abstract

本发明提供一种大型衡器的检定装置,包括至少与被测衡器的称重传感器数量一致的检定单元和一用于支撑各检定单元的基础,基础上设置一用于容置被测衡器的基坑,且该基坑两侧的基础上分别设置基础预埋板;每检定单元均包含一基座、一力传感器、一加力杠杆、一杠杆支座、一加力油缸、及一对中放置于力传感器上的球头承压垫,承压板置于被测衡器的秤台上,杠杆支座的一端与基础预埋板固定连接,且杠杆支座的另一端枢接于加力杠杆,加力杠杆的一端位于球头承压垫上方且与该球头承压垫接触,加力杠杆的另一端通过一支撑杆与加力油缸的活塞连接。本发明的优点在于:不仅可以大大提高检定大型衡器的工作效率和安全性、节约成本,且结构简单。

The invention provides a verification device for a large-scale weighing instrument, which includes a verification unit at least in accordance with the number of load cells of the measured weighing device and a foundation for supporting each verification unit, and a foundation for accommodating the measured weighing device pit, and foundation embedded boards are respectively set on the foundations on both sides of the foundation pit; each verification unit includes a base, a force sensor, a booster lever, a lever support, a booster cylinder, and a pair The ball head pressure pad placed on the force sensor, the pressure plate is placed on the weighing platform of the measured instrument, one end of the lever support is fixedly connected with the foundation embedded plate, and the other end of the lever support is pivotally connected to the afterburner As for the lever, one end of the booster lever is located above the ball head pressure pad and is in contact with the ball head pressure pad, and the other end of the booster lever is connected with the piston of the booster cylinder through a support rod. The invention has the advantages of not only greatly improving the work efficiency and safety of verifying large weighing instruments, saving costs, but also having a simple structure.

Description

一种大型衡器的检定装置A verification device for a large weighing instrument

【技术领域】【Technical field】

本发明涉及一种计量检定技术领域的装置,特别涉及一种大型衡器的检定装置。The invention relates to a device in the technical field of metrology verification, in particular to a verification device for a large weighing instrument.

【背景技术】【Background technique】

固定式电子衡器是目前世界上技术最为成熟的称重计量器具,属于量大面广的计量器具,广泛应用于冶金、化工、铁路、港口及工矿企业各种载重车辆及货物计量,以及用于贸易结算、生产过程中称重流程的工艺控制,是企业提高称重计量现代化水平的理想计量设备。固定式电子衡器的工作原理是将被称重物或载重汽车置于秤台上,在重力作用下,秤台将重力传递至摇摆支承(钢球、压头等),使称重传感器弹性体产生形变,贴附于弹性体上的应变片桥路失去平衡,输出与重量值成正比例的电信号,经线性放大器将信号放大,再经A/D转换为数字信号,然后由仪表的微处理器对信号进行处理后直接显示重量数。Fixed electronic scales are currently the most mature weighing and measuring instruments in the world. They are measuring instruments with a large quantity and a wide range. The process control of trade settlement and weighing process in the production process is an ideal measurement equipment for enterprises to improve the modernization level of weighing measurement. The working principle of the fixed electronic scale is to place the object to be weighed or the truck on the scale platform. Under the action of gravity, the scale platform transmits the gravity to the swing support (steel ball, pressure head, etc.), so that the elastic body of the load cell produces Deformation, the strain gauge bridge attached to the elastic body loses balance, outputs an electrical signal proportional to the weight value, the signal is amplified by a linear amplifier, and then converted into a digital signal by A/D, and then the microprocessor of the instrument After the signal is processed, the weight number is displayed directly.

固定式电子衡器在实际投入使用前必须进行检定,确定其准确度等级,另外,大型衡器在使用一段时间后或更换器件后,也要进行再次检定,确认其准确度等级,以便作相应调整使之满足准确度要求。现有的检定固定式电子衡器用的标准器主要有三种,标准号为GB7723-2008的固定式电子衡器的国家标准(该标准采用国际建议OIML R76《非自动衡器》(2006E))中明确指出了允许采用的下述三种检定用标准器:一是砝码,具体是指标准砝码或标准质量;二是辅助检定装置,具体是指衡器配备辅助检定装置或独立的辅助检定装置;三是检定用标准砝码,具体是指部分标准砝码和其他任意固定载荷替代标准砝码。Fixed electronic weighing instruments must be calibrated before they are actually put into use to determine their accuracy level. In addition, after a period of use or replacement of components, large scales must be calibrated again to confirm their accuracy level so that they can be adjusted accordingly. meet the accuracy requirements. There are mainly three types of standard devices for the verification of fixed electronic weighing instruments. The national standard for fixed electronic weighing instruments with the standard number GB7723-2008 (this standard adopts the international recommendation OIML R76 "Non-automatic Weighing Instruments" (2006E)) clearly states that The following three kinds of verification standards are allowed: one is weight, specifically refers to standard weight or standard mass; It is a standard weight for verification, specifically referring to some standard weights and other arbitrary fixed loads instead of standard weights.

然而,在JJG539-1997《数字指示秤》检定规程中规定检定衡器用的标准器是:1.是标准砝码、2.是标准砝码和“标准砝码的替代物”。所以在我国目前检定固定式电子衡器所使用的标准器均为标准砝码或标准砝码及其替代物,没有采用辅助检定装置作为标准器来检定固定式衡器。在R76《非自动衡器》国际建议和GB7723-2008固定式电子衡器国家标准中对辅助检定装置仅作以下规定:如果衡器配备辅助检定装置,或以单独的辅助装置检定时,则该装置的最大允许误差应为所检载荷最大允许误差的1/3。“辅助检定装置”是一种什么样的东西呢,在国际建议和GB7723-2008标准中都没有讲,仅规定了“辅助检定装置”最大允许误差。到目前为止,全国或世界上关于采用“独立的辅助检定装置”运用于现场检定大吨位固定式电子衡器的文献资料很少见到。However, in the JJG539-1997 "Digital Indicating Scale" verification regulations, it is stipulated that the standard used for the verification of weighing instruments is: 1. It is a standard weight, 2. It is a standard weight and "a substitute for a standard weight". Therefore, the standard instruments used in the verification of fixed electronic weighing instruments in our country are standard weights or standard weights and their substitutes, and no auxiliary verification device is used as a standard to verify fixed weighing instruments. In the R76 "Non-automatic Weighing Instrument" international proposal and the national standard GB7723-2008 for stationary electronic weighing instruments, only the following provisions are made on the auxiliary verification device: if the weighing instrument is equipped with an auxiliary verification device, or when a separate auxiliary device is used for verification, the maximum The allowable error should be 1/3 of the maximum allowable error of the tested load. What kind of "auxiliary verification device" is, it is not mentioned in the international proposal and GB7723-2008 standard, only the maximum allowable error of "auxiliary verification device" is stipulated. So far, there are few literatures in the country or in the world about the use of "independent auxiliary verification device" for on-site verification of large-tonnage fixed electronic weighing instruments.

公开日1988年2月17日的中国专利号为CN86105843,其专利名称为《汽车衡和轨道衡的检定装置》的发明专利揭示了一种非砝码型的检定装置,但该装置所采用的准压力表的准确度根本不可能满足该类衡器检定的准确度要求。公告日2003年1月22日的中国专利号为CN02230837.7,其专利名称为《大型衡器检定仪》的新型专利也公开了一种非砝码型的衡器检定仪,具体技术方案是由检定传感器、显示仪表、施压装置、加压支架组成,加压支架与需要检定衡器的底座成为整体,施压装置固定在加压支架上,检定称重传感器和显示仪表的计量准确度大于被检定的衡器计量准确度,检定称重传感器置于需要检定衡器的秤体上,检定称重传感器与施压装置之间通过球体连接,检定称重传感器的输出与显示仪表连接。施压装置的压力施加在称重传感器上,通过显示仪表显示出来,该压力同时施加在需要检定衡器的秤体上,通过衡器仪表显示出来,比较他们显示值,即可确定被检定衡器的计量误差,但是该检定装置只能对衡器中使用的称重传感器进行逐个检定,该检定装置实际上为叠加式力标准机。但该装置中施压装置、加压支架为手动加载,无法满足《JJG734-2001力标准机检定规程》及《JJG144-2007标准测力仪检定规程》中对负荷波动性(力源稳定度)、力值稳定保持时间的要求。检定量程仅为衡器中使用每个称重传感器载荷值,不是对衡器的满量程进行检定,由于衡器的测量准确度不仅与各个称重传感器的准确度有关,而且还与秤台的刚度、秤台的基础、仪表的准确度、接线盒有关。也就是说衡器中使用的称重传感器合格,衡器的计量性能不一定合格。所以不是对衡器计量性能进行全面检定,检定过程中还需要另外考虑秤台台面的挠度、秤台的基础、仪表的准确度、接线盒对衡器准确度的影响,因为只能在称重传感器处进行检定,所以检定过程不能模拟实际的称重状态,所以该检定装置对衡器的检定仅对衡器中使用的称重传感器进行近似的模拟比对,最关键的是不能直接对衡器实施检定。The Chinese patent No. on February 17th, 1988 on the date of publication is CN86105843, and its patent name is the invention patent of "Verification Device for Truck Scale and Rail Scale" which discloses a non-weight type verification device, but the quasi- It is impossible for the accuracy of the pressure gauge to meet the accuracy requirements of this type of weighing instrument verification. The Chinese patent number of January 22, 2003 on the date of announcement is CN02230837.7, and its new patent titled "Large Weighing Apparatus Calibration Apparatus" also discloses a non-weight type weighing apparatus verification apparatus. It consists of sensor, display instrument, pressure device and pressure support. The pressure support is integrated with the base of the scale to be verified. The pressure device is fixed on the pressure support. The measurement accuracy of the verification load cell and display instrument is greater than that The measurement accuracy of the weighing instrument is verified by placing the load cell on the scale body of the scale that needs to be verified, the verification load cell and the pressure device are connected through a sphere, and the output of the verification load cell is connected to the display instrument. The pressure of the pressure device is applied to the load cell, which is displayed by the display instrument, and the pressure is simultaneously applied to the scale body of the weighing instrument to be verified, and displayed by the instrument of the weighing instrument, and the measurement of the verified weighing instrument can be determined by comparing their displayed values error, but the verification device can only verify the load cells used in the weighing instrument one by one, and the verification device is actually a superimposed force standard machine. However, the pressure device and the pressure support in this device are manually loaded, which cannot meet the load fluctuation (force source stability) in the "JJG734-2001 Force Standard Machine Verification Regulation" and "JJG144-2007 Standard Force Meter Verification Regulation" , Force value stable maintenance time requirements. The verification range only uses the load value of each weighing sensor in the weighing instrument, not the full scale of the weighing instrument, because the measurement accuracy of the weighing instrument is not only related to the accuracy of each weighing sensor, but also related to the stiffness of the weighing platform, the scale It is related to the foundation of the platform, the accuracy of the instrument, and the junction box. That is to say, the weighing sensor used in the weighing instrument is qualified, but the measurement performance of the weighing instrument is not necessarily qualified. Therefore, it is not a comprehensive verification of the measurement performance of the weighing instrument. During the verification process, the deflection of the weighing platform, the foundation of the weighing platform, the accuracy of the instrument, and the influence of the junction box on the accuracy of the weighing instrument must be considered, because only at the load cell Therefore, the verification process cannot simulate the actual weighing state, so the verification device only performs an approximate analog comparison of the weighing sensor used in the weighing instrument, and the most important thing is that it cannot directly perform the verification on the weighing instrument.

目前,全国对固定式电子衡器检定方法如下:以检定100吨固定式电子汽车衡为例说明,按照GB7723-2008固定式电子衡器国家标准或JJG539-1997《数字指示秤》检定规程要求,采用标准砝码和“标准砝码的替代物”进行检定。其中,如图1所示,需要说明的是规格为100吨的固定式电子汽车衡2’,三节共18米长、e=50kg、m=2000,包括秤显示仪表21’,包括三个秤台台面,分别编号为211’,212’,213’,采用八个称重传感器,分别编号为231’-238’,在各称重传感器的上方包括八个称重传感器支承点,分别编号为241’-248’,每一称重传感器支承点的周围划分一对应的偏载测试区域,如图1中虚线框所示,分别编号为251’-258’,检定时,将标准砝码或标准砝码的替代物3’放置在上述的各偏载测试区域逐一进行偏载测试,具体的计量性能检定过程如下:At present, the verification methods for fixed electronic scales in the country are as follows: Take the verification of 100 tons of fixed electronic truck scales as an example, according to the national standard of GB7723-2008 fixed electronic scales or the requirements of the verification regulations of JJG539-1997 "Digital Indicator Scale", the standard Weights and "substitutes for standard weights" for verification. Among them, as shown in Figure 1, what needs to be explained is a fixed electronic truck scale 2' with a specification of 100 tons, three sections with a total length of 18 meters, e=50kg, m=2000, including a scale display instrument 21', including three scales The platform, numbered 211', 212', 213', adopts eight load cells, numbered 231'-238', and includes eight load cell support points above each load cell, numbered respectively 241'-248', a corresponding eccentric load test area is divided around each load cell support point, as shown in the dotted line box in Figure 1, numbered 251'-258' respectively, when verifying, the standard weight or The substitute 3' of the standard weight is placed in each of the above-mentioned partial load test areas to carry out the partial load test one by one. The specific metrological performance verification process is as follows:

1、预压:应预加一次载荷到100t,或用不少于50t的载重车辆往返通过承载器不少于3次;1. Preloading: Preload the load once to 100t, or use a load vehicle of not less than 50t to go back and forth through the carrier for no less than 3 times;

2、置零与除皮装置的准确度;2. The accuracy of zero setting and tare removal device;

3、加载前的置零;3. Zero setting before loading;

4、称量性能:4. Weighing performance:

4.1采用标准砝码和替代物检定时为确认标准砝码量而对秤进行重复性测试:首先检查50t称量点的重复性,在承载器上施加3次50t标准砝码,若重复性误差不大于0.3e,标准砝码3’可减少至35%最大秤量;若重复性误差不大于0.2e,标准砝码3’可减少至20%最大秤量;4.1 When using standard weights and substitutes for verification, perform repeatability tests on scales to confirm the amount of standard weights: first check the repeatability of the 50t weighing point, and apply 50t standard weights on the carrier for 3 times, if the repeatability error Not greater than 0.3e, the standard weight 3' can be reduced to 35% of the maximum capacity; if the repeatability error is not greater than 0.2e, the standard weight 3' can be reduced to 20% of the maximum capacity;

4.2称量测试:从零点起按由小到大的顺序加砝码或替代物3’至100t,用相同方法卸砝码至零点,测试至少应选定1t、25t、50t、75t、100t五个检定点;4.2 Weighing test: add weights or substitutes from 3' to 100t in ascending order from zero, unload the weights to zero in the same way, at least 1t, 25t, 50t, 75t, 100t should be selected for the test check point;

4.3除皮称量测试:至少应对2个不同的皮重量进行除皮称量测试,按照4.2进行,测试点为:1t、50t、最大允许误差改变的秤量、可能的最大净重值、80t五个检定点;4.3 Tare weighing test: At least 2 different tare weights should be tested for tare weighing, according to 4.2, the test points are: 1t, 50t, the scale with the maximum allowable error change, the possible maximum net weight value, and 80t five check point;

4.4偏载测试:用14t的标准砝码3’轮流加放在8个偏载测试区域251’-258’进行测试,直至满足在8个偏载测试区域测试251’-258’的示值误差均不大于50kg;4.4 Eccentric load test: use 14t standard weight 3' to test in 8 eccentric load test areas 251'-258' in turn until the indication error of 251'-258' in 8 eccentric load test areas is satisfied No more than 50kg;

4.5鉴别力测试:在1t、50t、100t称量点测试,检定过程中同时进行;4.5 Identification test: test at 1t, 50t, 100t weighing points, simultaneously during the verification process;

4.6重复性测试:分别在50t秤量和接近最大秤量(90t)进行两组测试,每组至少重复3次。4.6 Repeatability test: Carry out two groups of tests at 50t weighing capacity and near maximum weighing capacity (90t), and repeat at least 3 times for each group.

在上述的检定过程中,需搬运砝码或替代物的吨位量:1、上述预压过程中需搬运100t;2、上述4.1中采用标准砝码和替代物检定时为确认标准砝码量而对秤进行重复性测试需搬运150t;3、上述4.2中称量测试需搬运100t;4、上述4.3中除皮称量测试需搬运160t;5、上述4.4中偏载测试需搬运112t;6.上述4.6中重复性测试需搬运270t。In the above verification process, the tonnage of weights or substitutes to be transported: 1. 100t needs to be transported in the above preloading process; 2. When using standard weights and substitutes in the above 4.1 for verification, it is necessary to confirm the standard weight. 150t is required for the repeatability test of the scale; 3. 100t is required for the weighing test in 4.2 above; 160t is required for the tare weighing test in 4.3 above; 112t is required for the partial load test in 4.4 above; 6. The repeatability test in 4.6 above needs to carry 270t.

所以,采用标准砝码或标准砝码和替代物检定固定式电子衡器的检定方法存在以下缺点:Therefore, the verification method of using standard weights or standard weights and substitutes to verify fixed electronic weighing instruments has the following disadvantages:

1、检定工作量巨大、效率极低。检定一台合格100t固定式电子汽车衡共需搬动砝码和替代物达932t,若不合格就应该调整,调整后就得重新检定,重新检定就得再次搬运砝码,其搬运砝码或替代物达上千吨以上;1. The verification workload is huge and the efficiency is extremely low. A qualified 100t fixed electronic truck scale needs to move a total of 932t of weights and substitutes. If it is unqualified, it should be adjusted. Substitutes amount to thousands of tons or more;

2、搬运大量砝码或替代物的安全性极差。由于电子汽车衡的承载台面面积有限(如100吨,台面面积也只有54平方),要在有限的面积上堆放100吨的砝码或替代物是很困难,在装卸砝码或替代物时是很危险的;2. The safety of carrying a large amount of weights or substitutes is extremely poor. Due to the limited loading table area of the electronic truck scale (such as 100 tons, the table area is only 54 square meters), it is very difficult to stack 100 tons of weights or substitutes on the limited area. very dangerous;

3、替代物难于寻找。不是每台大型电子汽车衡的用户都能提供合适的替代物,如安装在公路旁的公平秤就很难找到合适的替代物、铁路、港口、有毒液、气体化工企业、纺织厂、煤矿等用户也很难提供合适的替代物;3. Substitutes are hard to find. Not every user of large electronic truck scales can provide suitable substitutes. For example, it is difficult to find suitable substitutes for fair scales installed beside roads, railways, ports, poisonous liquids, gas chemical enterprises, textile factories, coal mines, etc. It is also difficult for users to provide suitable substitutes;

4、标准砝码难于运输。检定一台100吨汽车衡,至少要运输50吨标准砝码;检定一台150吨汽车衡,至少要运输75吨标准砝码。而目前在国内运输一次砝码也只能15吨左右,特别是山区地带,有危桥限载、道路限载、地形限载,安装在山沟里(如矿山)等等就会限制一次砝码运输量;4. Standard weights are difficult to transport. For the verification of a 100-ton truck scale, at least 50 tons of standard weight must be transported; for the verification of a 150-ton truck scale, at least 75 tons of standard weight must be transported. At present, only about 15 tons of weights can be transported in China at one time, especially in mountainous areas, where there are dangerous bridges, roads, and terrains, and installation in ravines (such as mines) will limit the weights once. transport volume;

5、成本费用极高。运输和搬运如此多的标准砝码或替代物,需要多部检衡车和吊车,检定需要几天时间(检一台100吨汽车衡一般需7个工作日)和多人合作才能完成检定工作。5. The cost is extremely high. Transporting and handling so many standard weights or substitutes requires many weighing trucks and cranes, and the verification takes several days (it usually takes 7 working days to inspect a 100-ton truck scale) and the cooperation of multiple people to complete the verification work .

综上所述,由于目前大部分县级、市级、省级计量检定单位对大型衡器(如150吨电子汽车衡)检定没有足够的标准砝码;即使有了足够的标准砝码,其砝码装卸、运输砝码的安全性、运输成本在现有的技术条件也是无法保证;其次,就算是砝码运输到现场,若按JJG539-1997《数字指示秤》检定规程中规定进行检定,其检定工作量巨大,检定耗时过长,因而无法保证按检定规程进行。由此可见,检定大型固定式电子衡器时,标准器采用标准砝码或标准砝码和替代物的检定方法是需要改进的。To sum up, most of the county-level, city-level and provincial-level measurement and verification units do not have enough standard weights for the verification of large scales (such as 150 tons of electronic truck scales); even if there are enough standard weights, the weight The safety of loading and unloading, transporting weights, and transportation costs cannot be guaranteed under the existing technical conditions; secondly, even if the weights are transported to the site, if the verification is carried out according to the verification regulations of JJG539-1997 "Digital Indicating Scale", its The verification workload is huge, and the verification takes too long, so it cannot be guaranteed to be carried out according to the verification regulations. It can be seen that when verifying large-scale fixed electronic weighing instruments, the verification method of standard weights or standard weights and substitutes needs to be improved.

【发明内容】【Content of invention】

本发明所要解决的技术问题在于提供一种结构简单的大型衡器的检定装置,一种大型衡器的检定装置,可以大大提高检定大型衡器的工作效率和安全性、及节约成本。The technical problem to be solved by the present invention is to provide a verification device for large scales with a simple structure, which can greatly improve the work efficiency and safety of the verification of large scales and save costs.

本发明是通过以下技术方案解决上述技术问题的:一种大型衡器的检定装置,包括至少与被测衡器的称重传感器数量一致的检定单元和一用于支撑各检定单元的基础,所述基础上设置有一用于容置被测衡器的基坑,且该基坑两侧的基础上分别设置有基础预埋板;每该检定单元均包含一固定于基础预埋板上的基座、一设于一承压板上的力传感器、一加力杠杆、一杠杆支座、一设于基座上的加力油缸、及一对中放置于力传感器上的球头承压垫,所述承压板置于被测衡器的秤台上,所述杠杆支座的一端与基础预埋板固定连接,且该杠杆支座的另一端枢接于加力杠杆,所述加力杠杆的一端位于球头承压垫上方且与该球头承压垫接触,该加力杠杆的另一端通过一支撑杆与加力油缸的活塞连接。The present invention solves the above-mentioned technical problems through the following technical solutions: a verification device for a large-scale weighing instrument, comprising at least the same number of verification units as the load cells of the weigher under test and a base for supporting each verification unit, the base There is a foundation pit for accommodating the weighing apparatus under test, and foundation embedded boards are respectively arranged on the foundations on both sides of the foundation pit; each verification unit includes a base fixed on the foundation embedded board, a A force sensor arranged on a pressure bearing plate, a booster lever, a lever support, a booster oil cylinder set on the base, and a pair of ball head pressure pads placed on the force sensor, the described The pressure bearing plate is placed on the weighing platform of the weighing instrument under test, one end of the lever support is fixedly connected to the foundation embedded plate, and the other end of the lever support is pivotally connected to the booster lever, and one end of the booster lever Located above and in contact with the ball head pressure pad, the other end of the booster lever is connected with the piston of the booster cylinder through a support rod.

进一步地,所述杠杆支座的另一端枢接于加力杠杆的中部。Further, the other end of the lever support is pivotally connected to the middle part of the booster lever.

本发明一种大型衡器的检定装置的有益效果在于:采用该检定装置对大型衡器进行检定,能够解决现有技术中采用标准砝码或标准砝码和替代物或其它非砝码型衡器检定装置检定固定式电子衡器时存在的检定工作量巨大,检定耗时耗力、检定过程繁琐、准确度不够等各种问题,即可以大大提高检定的工作效率和安全性、及节约成本,另外,该检定装置具有结构简单的特点。The beneficial effect of the verification device of a large-scale weighing apparatus of the present invention is that: adopting the verification device to verify a large-scale weighing apparatus can solve the problem of using standard weights or standard weights and substitutes or other non-weight type weighing apparatus verification devices in the prior art. When verifying fixed electronic scales, there are various problems such as huge verification workload, time-consuming and labor-consuming verification, cumbersome verification process, and insufficient accuracy, which can greatly improve the work efficiency and safety of the verification, and save costs. In addition, the The verification device has the characteristics of simple structure.

【附图说明】【Description of drawings】

下面参照附图结合实施例对本发明作进一步的描述。The present invention will be further described below with reference to the accompanying drawings and embodiments.

图1是现有技术中采用标准砝码或标准砝码和替代物检定衡器的示意图。Fig. 1 is a schematic diagram of a weighing instrument using standard weights or standard weights and substitutes in the prior art.

图2是本发明一种大型衡器的检定装置应用时的主视图。Fig. 2 is a front view of a verification device of a large scale weighing apparatus according to the present invention when it is applied.

图3是本发明一种大型衡器的检定装置应用时的俯视图(除去基础)。Fig. 3 is a top view (with the foundation removed) of a large-scale weighing instrument verification device of the present invention in application.

图4是本发明中检定单元的示意图。Fig. 4 is a schematic diagram of the testing unit in the present invention.

图5为本发明中力传感器(除去外壳)的立体结构示意图。Fig. 5 is a schematic diagram of the three-dimensional structure of the force sensor (without the shell) in the present invention.

图6为本发明中力传感器的推力关节轴承与上承压板、均压板的配合图。Fig. 6 is a cooperation diagram of the thrust joint bearing of the force sensor in the present invention, the upper pressure bearing plate and the pressure equalizing plate.

图7为本发明中的力传感器的工作原理图。Fig. 7 is a working principle diagram of the force sensor in the present invention.

【具体实施方式】【Detailed ways】

请结合参阅图2与图4,本发明一种大型衡器的检定装置100,包括至少与被测衡器200的称重传感器201的数量一致的检定单元101和一用于支撑各检定单元的基础102,所述基础102上设置有一用于容置被测衡器200的基坑1021,且该基坑1021两侧的基础102上分别设置有基础预埋板1022;每该检定单元101均包含一固定于基础预埋板1022上的基座1011、一设于一承压板1012上的力传感器1013、一加力杠1014杆、一杠杆支座1015、一设于基座1011上的加力油缸1016、及一球头承压垫1017,所述承压板1012置于被测衡器200的秤台202上,所述杠杆支座1015的一端10151与基础预埋板1022固定连接,且该杠杆支座1015的另一端10152枢接于加力杠杆1014,所述加力杠杆1014的一端10141位于球头承压垫1017上方且与该球头承压垫1017接触,该加力杠杆1014的另一端10142通过一支撑杆1018与加力油缸1016的活塞10161连接;所述球头承压垫1017对中放置于力传感器1013上,具体地,球头承压垫1017的纵轴线与力传感器1013的纵轴线应满足同轴度范围的要求,从而使力传感器1013的受力轴线与力传感器1013本身的轴线基本一致,进而保证力传感器1013测量的准确性;另外,在本实施例中检定单元101的数量与被测衡器200的称重传感器201数量一致。Please refer to Fig. 2 and Fig. 4 in combination, a verification device 100 for a large-scale weighing instrument according to the present invention, including a verification unit 101 at least consistent with the number of load cells 201 of the weighing device 200 under test and a foundation 102 for supporting each verification unit , the foundation 102 is provided with a foundation pit 1021 for accommodating the measuring instrument 200, and the foundation 102 on both sides of the foundation pit 1021 is respectively provided with foundation embedded boards 1022; each verification unit 101 includes a fixed A base 1011 on the foundation embedded plate 1022, a force sensor 1013 on a pressure bearing plate 1012, an afterburner bar 1014, a lever support 1015, and an afterburner cylinder on the base 1011 1016, and a ball head pressure bearing pad 1017, the pressure bearing plate 1012 is placed on the weighing platform 202 of the weighing instrument 200 under test, and one end 10151 of the lever support 1015 is fixedly connected with the foundation embedded plate 1022, and the lever The other end 10152 of the support 1015 is pivotally connected to the booster lever 1014. One end 10141 of the booster lever 1014 is located above the ball head pressure pad 1017 and is in contact with the ball head pressure pad 1017. The other end 10141 of the booster lever 1014 One end 10142 is connected to the piston 10161 of the booster cylinder 1016 through a support rod 1018; the ball head pressure pad 1017 is centered on the force sensor 1013, specifically, the longitudinal axis of the ball head pressure pad 1017 is aligned with the force sensor 1013 The longitudinal axis of the force sensor 1013 should meet the requirements of the range of coaxiality, so that the force axis of the force sensor 1013 is basically consistent with the axis of the force sensor 1013 itself, thereby ensuring the accuracy of the measurement of the force sensor 1013; in addition, in this embodiment, the verification unit The number of 101 is consistent with the number of load cells 201 of the weighing apparatus 200 under test.

为了方便快速的得出加力油缸1016产生的力通过加力杠杆1014施加在球头承压垫1017上的力的大小,将杠杆支座1015的另一端10152枢接于加力杠杆1014的中部,此时,在油路接通后,加力油缸1016促使活塞10161向上运动,活塞10161通过支撑杆1018使得加力杠杆1014的另一端10142受到向上的作用力F1,根据杠杆原理,加力杠杆1014的一端10141将施加给球头承压块向下的作用力F2,且F2的值与F1的值相等。In order to conveniently and quickly obtain the magnitude of the force generated by the booster cylinder 1016 through the booster lever 1014 on the ball head pressure pad 1017, the other end 10152 of the lever support 1015 is pivotally connected to the middle of the booster lever 1014 , at this time, after the oil circuit is connected, the booster cylinder 1016 promotes the upward movement of the piston 10161, and the piston 10161 makes the other end 10142 of the booster lever 1014 receive an upward force F 1 through the support rod 1018. According to the principle of leverage, the booster One end 10141 of the lever 1014 will exert a downward force F 2 on the ball bearing block, and the value of F 2 is equal to the value of F 1 .

请结合参阅图2与图3,本发明检定装置应用时,以检定包括8个称重传感器201的汽车衡器200为例来说明阐述:将汽车衡器200放置于基坑1021内,因每一个称重传感器201上方的秤台202上均划分有一对应的偏载测试区域(未图示),每一个偏载测试区域对应安装一个本发明的检定装置100(如图3所示),并根据如图2所示进行安装,且在具体安装过程中需将承压板1012置于偏载测试区域的中心位置上;之后设定加力油缸1016的控制质量值,接着开启加力油缸1016的油路,加力油缸1016促使活塞10161向上运动,活塞10161通过支撑杆1018使得加力杠杆1014的另一端10142受到向上的作用力F1,根据杠杆原理,加力杠杆1014的一端10141将施加给球头承压块向下的作用力F2,使力传感器1013受力并显示显示相应的重量值;同时承压板1012承受与F2力值大小相等的载荷,由于承压板1012放在汽车衡器200的秤台202台面上,使汽车衡器200秤台202台面受到向下的且大小同样为F2力值载荷(相当于货物的重量值),并通过称重传感器201显示重量值;直到力传感器1013的显示值达到加力油缸1016设定的质量值时,此时汽车衡器200的称重传感器201显示的重量值与力传感器1013显示值的差值即为汽车衡器200的测量误差值。Please refer to Fig. 2 and Fig. 3 in combination. When the verification device of the present invention is applied, take the verification of the truck scale 200 including 8 load cells 201 as an example to illustrate: the truck scale 200 is placed in the foundation pit 1021, because each weigher A corresponding eccentric load test area (not shown) is divided on the weighing platform 202 above the heavy sensor 201, and each eccentric load test area is correspondingly installed with a verification device 100 of the present invention (as shown in FIG. 3 ), and according to Install as shown in Figure 2, and in the specific installation process, the pressure bearing plate 1012 needs to be placed in the center of the eccentric load test area; then set the control quality value of the afterburner cylinder 1016, and then open the oil pressure of the afterburner cylinder 1016 The booster cylinder 1016 promotes the upward movement of the piston 10161, and the piston 10161 makes the other end 10142 of the booster lever 1014 receive an upward force F 1 through the support rod 1018. According to the principle of leverage, one end 10141 of the booster lever 1014 will be applied to the ball The downward force F 2 of the pressure bearing block on the head causes the force sensor 1013 to bear the force and display the corresponding weight value; at the same time, the pressure bearing plate 1012 bears a load equal to the force value of F 2 , since the pressure bearing plate 1012 is placed on the vehicle On the weighing platform 202 platform of the weighing apparatus 200, the weighing platform 202 platform of the automobile weighing instrument 200 is subjected to a downward force load (equivalent to the weight value of the goods) with the same magnitude as F2 , and the weight value is displayed through the load cell 201; until When the display value of the force sensor 1013 reaches the mass value set by the booster cylinder 1016, the difference between the weight value displayed by the load cell 201 of the truck scale 200 and the display value of the force sensor 1013 is the measurement error value of the truck scale 200 .

此外,为了解决了现有的力传感器容易因其上承压板工作变形、被测物体对中误差而导致的检测示值产生偏差的问题,本发明力传感器1013采用如图5所示的结构。In addition, in order to solve the problem that the existing force sensor is prone to deviation of the detection value caused by the working deformation of the upper pressure bearing plate and the centering error of the measured object, the force sensor 1013 of the present invention adopts the structure shown in Figure 5 .

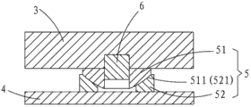
请详细参阅图5,力传感器1013包括一显示仪(未图示)、一下承压板1、一由三个呈120°排布的传感器21构成的传感器组2、一位于传感器组2上方的上承压板3、一架设于传感器组2上的均压板4、三个分别对应设于三个传感器21上方且位于该均压板4与上承压板3之间的推力关节轴承5。所述显示仪(未图示)与传感器组2连接;所述传感器组2置于下承压板1上,且每所述传感器21均与下承压板1、均压板4定位连接。每所述传感器21均含有彼此浮动连接的一弹性体211和一对中调节压头212;所述弹性体211插设于一壳体213中,且该弹性体211的上表面为一第一曲面2111;所述对中调节压头212与均压板4定位连接,即每所述传感器21均通过相应的对中调节压头212与均压板4定位连接,且该对中调节压头212的底面设有一与所述第一曲面2111相配合的第一凹槽2121;所述对中调节压头211和弹性体212的纵轴相重合。Please refer to Fig. 5 in detail, the force sensor 1013 includes a display instrument (not shown), a lower pressure bearing plate 1, a sensor group 2 composed of three sensors 21 arranged at 120°, and a sensor group 2 above the sensor group 2. The upper pressure receiving plate 3 , a pressure equalizing plate 4 erected on the sensor group 2 , and three thrust joint bearings 5 respectively arranged above the three sensors 21 and between the pressure equalizing plate 4 and the upper pressure receiving plate 3 . The display instrument (not shown) is connected with the sensor group 2; the sensor group 2 is placed on the lower pressure bearing plate 1, and each sensor 21 is positioned and connected with the lower pressure bearing plate 1 and the pressure equalizing plate 4. Each sensor 21 contains an elastic body 211 and a centering adjustment pressure head 212 that are floatingly connected to each other; the elastic body 211 is inserted in a housing 213, and the upper surface of the elastic body 211 is a first Curved surface 2111; the centering adjustment pressure head 212 is positioned and connected with the pressure equalizing plate 4, that is, each of the sensors 21 is positioned and connected with the pressure equalizing plate 4 through the corresponding centering adjustment pressure head 212, and the centering adjustment pressure head 212 is positioned and connected The bottom surface is provided with a first groove 2121 matching the first curved surface 2111 ; the longitudinal axes of the centering adjustment pressure head 211 and the elastic body 212 coincide.

请结合参阅图5与图6,每所述推力关节轴承5均与上承压板3定位连接,且每所述推力关节轴承5均与均压板4固定连接。每所述推力关节轴承5的纵轴均与对应传感器21的纵轴相重合;每所述推力关节轴承5均含有相互浮动连接的一球头51和一球座52;所述球头51通过一连接件6与上承压板3定位连接,且该球头51的底面为一第二曲面511;所述球座52与均压板4固定连接,且该球座52的上表面设有一与该第二曲面511相配合的第二凹槽521;所述球头51和球座52的纵轴相重合。Please refer to FIG. 5 and FIG. 6 together, each of the thrust joint bearings 5 is fixedly connected with the upper pressure bearing plate 3 , and each of the thrust joint bearings 5 is fixedly connected with the pressure equalizing plate 4 . The longitudinal axis of each thrust joint bearing 5 coincides with the longitudinal axis of the corresponding sensor 21; each thrust joint bearing 5 contains a ball head 51 and a ball seat 52 that are floatingly connected to each other; the ball head 51 passes through A connector 6 is positioned and connected with the upper pressure bearing plate 3, and the bottom surface of the ball head 51 is a second curved surface 511; the ball seat 52 is fixedly connected with the pressure equalizing plate 4, and the upper surface of the ball seat 52 is provided with a The second groove 521 matched with the second curved surface 511 ; the longitudinal axes of the ball head 51 and the ball seat 52 coincide.

请结合参阅图5与图7,为了能够清楚方便地对本发明中的力传感器1013的原理进行阐述,申请人将三个传感器21置于同一直线上,如图7所示,且在图7中,申请人对图5中的推力关节轴承5及中调节压头212采用字母符号进行重新标记,具体地,将三个推力关节轴承5从右至左依次标记为推力关节轴承M、推力关节轴承N、推力关节轴承R,将对各中调节压头212从右至左依次相应标记为中调节压头M'、中调节压头N'、中调节压头R'。其中,推力关节轴承M、推力关节轴承N、推力关节轴承R、对中调节压头M'、对中调节压头N'、对中调节压头R'、上承压板3和均压板4即构成罗伯威尔机构。由于各球头51和相应的各球座52均是曲面接触,各对中调节压头212(见图5)与相应的各弹性体211之间亦为曲面接触,因而推力关节轴承M、推力关节轴承N、推力关节轴承R、对中调节压头M'、对中调节压头N'、对中调节压头R'始终组成两个大小形状一致的平行四边形,分别为平行四边形MM′N′N和平行四边形NN′R′R。当该力传感器1013承受载荷F时,载荷F分布作用于三个弹性体211上方,若载荷F分布不均、不对称或上承压板3变形时会导致上承压板3倾斜,而因上述的曲面接触,则无论上承压板3如何倾斜MM′、RR′都分别与NN′平行,从而能够有效降低因上承压板3工作变形、被测物体(未图示)对中误差产生偏心载荷、倾斜载荷所带来的检测误差。当上承压板3上的分布载荷即分力F3处于距离弹性体211为d的位置时,就有一个与F3大小相等方向相同的力作用于推力关节轴承M和对中调节压头M′,此时就有一个数值为F3·d的转矩作用于MM′之间,从而在M处将推力关节轴承M拉向右侧,在M′处将对中调节压头M′推向左侧,但由于受到NN′(即推力关节轴承N和对中调节压头N')点的限制,在推力关节轴承M和对中调节压头M′上将分别产生大小相等、方向相反的反作用力f3、f3′,从而形成一个与F3·d相等的数值为f3·s(或f3′·s)的反向转矩(s为f3与f3′作用点之间的横向距离),结果F3·d转矩被f3·s(或f3′·s)所平衡,最后,在推力关节轴承M与对中调节压头M′上只有与F3大小相等方向相同的力起作用,而与偏心位置和偏心距离无关,同理,这种情况在推力关节轴承N与对中调节压头N'上、推力关节轴承R与对中调节压头R'上也完全相同。因此当对力传感器1013施加一载荷F即作用力F时,不论旋转还是改变力传感器1013的安装状态,显示仪(未图示)显示前后两次的数值差异很小,因而该力传感器1013具有良好的旋转效应,即检测示值复现性良好。Please refer to FIG. 5 and FIG. 7 in conjunction. In order to clearly and conveniently explain the principle of the force sensor 1013 in the present invention, the applicant places three sensors 21 on the same straight line, as shown in FIG. 7, and in FIG. , the applicant relabeled the thrust spherical plain bearing 5 and the middle adjusting pressure head 212 in FIG. N. Thrust joint bearing R, the middle adjustment pressure head 212 will be marked as middle adjustment pressure head M', middle adjustment pressure head N', and middle adjustment pressure head R' from right to left. Among them, thrust joint bearing M, thrust joint bearing N, thrust joint bearing R, centering adjustment pressure head M', centering adjustment pressure head N', centering adjustment pressure head R', upper pressure bearing plate 3 and pressure equalizing plate 4 That constitutes the Robwell Agency. Since each ball head 51 and the corresponding ball seats 52 are in curved surface contact, and each centering adjustment pressure head 212 (see Figure 5) is also in curved surface contact with the corresponding elastic bodies 211, so the thrust joint bearing M and thrust Joint bearing N, thrust spherical joint bearing R, centering adjusting pressure head M', centering adjusting pressure head N', and centering adjusting pressure head R' always form two parallelograms with the same size and shape, respectively parallelogram MM'N 'N and the parallelogram NN'R'R. When the force sensor 1013 bears the load F, the load F is distributed and acts on the top of the three elastic bodies 211. If the load F is unevenly distributed, asymmetrical or the upper pressure bearing plate 3 is deformed, the upper pressure bearing plate 3 will be inclined, and thus With the above-mentioned curved surface contact, no matter how inclined the upper bearing plate 3 is, MM' and RR' are parallel to NN' respectively, so that the working deformation of the upper bearing plate 3 and the centering error of the measured object (not shown) can be effectively reduced Detection errors caused by eccentric loads and inclined loads occur. When the distributed load on the upper bearing plate 3, that is, the component force F 3 is at a position d away from the elastic body 211, there is a force equal to and in the same direction as F 3 acting on the thrust joint bearing M and the centering adjustment pressure head M', at this time, there is a torque with a value of F 3 ·d acting between MM', so that the thrust joint bearing M is pulled to the right at M, and the centering pressure head M' is adjusted at M' Push to the left, but due to the limitation of NN' (that is, the thrust joint bearing N and the centering adjustment pressure head N'), the thrust joint bearing M and the centering adjustment pressure head M' will respectively have the same size and direction Opposite reaction force f 3 , f 3 ′, thus forming a reverse torque equal to F 3 ·d with the value of f 3 ·s (or f 3 ′·s) (s is the action of f 3 and f 3 ′ The lateral distance between the points), the result F 3 ·d torque is balanced by f 3 ·s (or f 3 ′·s), and finally, only the F 3. Forces of equal size and same direction act, regardless of the eccentric position and eccentric distance. Similarly, this situation occurs on the thrust joint bearing N and the centering adjustment pressure head N', the thrust joint bearing R and the centering adjustment pressure head R' is also exactly the same. Therefore, when a load F, that is, an active force F, is applied to the force sensor 1013, no matter whether it is rotated or the installation state of the force sensor 1013 is changed, the display (not shown) shows that the difference between the two values before and after is very small, so the force sensor 1013 has Good rotation effect, that is, the reproducibility of the detection value is good.

综上,本发明一种大型衡器的检定装置100无需采用标准砝码或标准砝码和替代物对大型衡器进行加载卸载,且与现有其它非砝码型衡器检定装置相比,不仅结构简单,而且可大大提高检定的工作效率和安全性、及节约成本;另外,本发明中的力传感器1013的改进能有效提高其检测示值的准确性,解决了因上承压板工作变形、被测传感器对中误差所导致的检测示值偏差的问题。In summary, the verification device 100 for a large weighing instrument of the present invention does not need to use standard weights or standard weights and substitutes to load and unload large weighing instruments. , and can greatly improve the work efficiency and safety of the test, and save costs; in addition, the improvement of the force sensor 1013 in the present invention can effectively improve the accuracy of its detection and indication, and solve the problem of being deformed by the upper pressure plate due to work. The problem of the deviation of the detected indication value caused by the centering error of the measuring sensor.

另外,本发明中虽然以汽车衡器的检定为例进行说明,但本发明所述的检定装置并不仅限于汽车衡器的检定,可用于各种用途和结构的大型固定式电子衡器的检定。In addition, although the verification of truck scales is taken as an example in the present invention, the verification device of the present invention is not limited to the verification of truck scales, and can be used for the verification of large fixed electronic scales with various uses and structures.

Claims (2)

1.一种大型衡器的检定装置,包括至少与被测衡器的称重传感器数量一致的检定单元和一用于支撑各检定单元的基础,其特征在于:所述基础上设置有一用于容置被测衡器的基坑,且该基坑两侧的基础上分别设置有基础预埋板;每该检定单元均包含一固定于基础预埋板上的基座、一设于一承压板上的力传感器、一加力杠杆、一杠杆支座、一设于基座上的加力油缸、及一对中放置于力传感器上的球头承压垫,所述承压板置于被测衡器的秤台上,所述杠杆支座的一端与基础预埋板固定连接,且该杠杆支座的另一端枢接于加力杠杆,所述加力杠杆的一端位于球头承压垫上方且与该球头承压垫接触,该加力杠杆的另一端通过一支撑杆与加力油缸的活塞连接。1. A verification device for a large-scale weighing instrument, comprising at least a verification unit consistent with the number of load cells of the measured weighing instrument and a foundation for supporting each verification unit, characterized in that: the foundation is provided with a set for accommodating The foundation pit of the weighing instrument to be tested, and the foundation on both sides of the foundation pit are respectively equipped with foundation embedded boards; each verification unit includes a base fixed on the foundation embedded board, a base on a pressure bearing plate The force sensor, a booster lever, a lever support, a booster cylinder on the base, and a pair of ball head pressure pads placed on the force sensor, the pressure plate is placed on the measured On the weighing platform of the weighing instrument, one end of the lever support is fixedly connected to the foundation embedded plate, and the other end of the lever support is pivotally connected to the booster lever, and one end of the booster lever is located above the ball head pressure pad And contact with the ball head pressure pad, the other end of the booster lever is connected with the piston of the booster cylinder through a support rod. 2.如权利要求1的一种大型衡器的检定装置,其特征在于:所述杠杆支座的另一端枢接于加力杠杆的中部。2. A verification device for a large weighing instrument according to claim 1, characterized in that: the other end of the lever support is pivotally connected to the middle part of the booster lever.
CN 201110447097 2011-12-28 2011-12-28 Calibration device of large weighing apparatus Active CN102538936B (en)

Priority Applications (1)

Application Number Priority Date Filing Date Title
CN 201110447097 CN102538936B (en) 2011-12-28 2011-12-28 Calibration device of large weighing apparatus

Applications Claiming Priority (1)

Application Number Priority Date Filing Date Title
CN 201110447097 CN102538936B (en) 2011-12-28 2011-12-28 Calibration device of large weighing apparatus

Publications (2)

Publication Number Publication Date
CN102538936A CN102538936A (en) 2012-07-04
CN102538936B true CN102538936B (en) 2013-11-06

Family

ID=46346401

Family Applications (1)

Application Number Title Priority Date Filing Date
CN 201110447097 Active CN102538936B (en) 2011-12-28 2011-12-28 Calibration device of large weighing apparatus

Country Status (1)

Country Link
CN (1) CN102538936B (en)

Families Citing this family (9)

* Cited by examiner, † Cited by third party
Publication number Priority date Publication date Assignee Title
CN104061993B (en) * 2014-06-24 2016-05-04 福建省计量科学研究院 The fits automatically system of high accuracy weighing apparatus Load Meter
CN105067422B (en) * 2015-07-16 2018-05-18 中国石油天然气股份有限公司长庆油田分公司技术监测中心 A kind of proppant test Anchor plate kit
CN105067447B (en) * 2015-07-16 2018-05-11 中国石油天然气股份有限公司长庆油田分公司技术监测中心 A kind of proppant test pressure testing machine
CN108414241B (en) * 2018-03-21 2024-12-03 郑州东辰科技有限公司 A flat-plate brake test platform calibration device and calibration method
CN108458779A (en) * 2018-03-21 2018-08-28 郑州东辰科技有限公司 The weighing sensor calibrating installation and calibration method of Flat plate type brake verifying bench
CN108507799B (en) * 2018-03-21 2019-08-30 河南交院工程技术有限公司 A kind of calibrating installation for brake inspection platform
CN110686762B (en) * 2019-04-16 2022-05-13 北京伟衡科技有限公司 Portable Electric Ground Balance Quick Verification Device
CN113984170B (en) * 2021-10-12 2024-10-01 北京优量云产业计量技术创新研究院有限公司 Weighing tray and have mass comparator of weighing tray
CN116222720B (en) * 2023-03-22 2025-07-22 绍兴市特种设备检测院 Dynamic truck scale adjusting assembly, mounting structure and adjusting method thereof

Citations (7)

* Cited by examiner, † Cited by third party
Publication number Priority date Publication date Assignee Title
US3982738A (en) * 1974-08-30 1976-09-28 Mettler Instrumente Ag Dash-pot arrangement for balance
CN2532467Y (en) * 2002-04-08 2003-01-22 赵本东 Large weighing apparatus caribration instrument
CN2689197Y (en) * 2004-04-20 2005-03-30 李俊波 Checker for balancer without weights
JP2006113011A (en) * 2004-10-18 2006-04-27 Shinko Denshi Kk Load conversion mechanism
CN201402180Y (en) * 2009-03-23 2010-02-10 罗绪荆 Stacked detection device for detecting weighing performance of large-scale weighing machines
CN201555657U (en) * 2009-11-04 2010-08-18 冯淑青 Weigher detecting and calibrating device
CN202420656U (en) * 2011-12-28 2012-09-05 福建省计量科学研究院 Calibrating device for large-sized weighing apparatus

Patent Citations (7)

* Cited by examiner, † Cited by third party
Publication number Priority date Publication date Assignee Title
US3982738A (en) * 1974-08-30 1976-09-28 Mettler Instrumente Ag Dash-pot arrangement for balance
CN2532467Y (en) * 2002-04-08 2003-01-22 赵本东 Large weighing apparatus caribration instrument
CN2689197Y (en) * 2004-04-20 2005-03-30 李俊波 Checker for balancer without weights
JP2006113011A (en) * 2004-10-18 2006-04-27 Shinko Denshi Kk Load conversion mechanism
CN201402180Y (en) * 2009-03-23 2010-02-10 罗绪荆 Stacked detection device for detecting weighing performance of large-scale weighing machines
CN201555657U (en) * 2009-11-04 2010-08-18 冯淑青 Weigher detecting and calibrating device
CN202420656U (en) * 2011-12-28 2012-09-05 福建省计量科学研究院 Calibrating device for large-sized weighing apparatus

Also Published As

Publication number Publication date
CN102538936A (en) 2012-07-04

Similar Documents

Publication Publication Date Title
CN102538937B (en) Calibration device of large weighing apparatus
CN102538936B (en) Calibration device of large weighing apparatus
CN101957231B (en) Method for detecting large fixed electronic weighing apparatus
EP2589937B1 (en) Verification system for large-scale weighing machine and self-location loading-unloading load measuring device
CN201765050U (en) System for verifying large weighing apparatus and its self-positioning loading and unloading load measuring device
CN101435717B (en) Load structure unit for automobile balance checkout
CN101226095A (en) Six-dimension force sensor calibration device
CN202420657U (en) Verification structure for large weighing devices
CN101387539B (en) Calibration device for weighing ore tank level gauge
CN103033250A (en) Unbalance loading standard calibrating device of weigh bridge test car
CN202661159U (en) On-line correction hydraulic calibration system of industrial electronic hopper scale
CN202214716U (en) Flat plate load tester
CN202420656U (en) Calibrating device for large-sized weighing apparatus
CN207528330U (en) A kind of large-sized silo on-line calibration device
CN108760108A (en) Crane wheel pressure detection method based on stress survey technology
CN102393243B (en) Self-positioning loading-unloading load measuring device for calibrating large-sized weighter
CN201094091Y (en) Electronic scale checking apparatus
CN103743506B (en) A kind of load-measuring device and measuring method thereof
CN104121980B (en) A kind of assay device that dispatching from the factory of large-scale weighing machine
CN102252739A (en) Large-scale fixed electronic weighing apparatus
CN204101165U (en) A kind of calibrating installation that dispatches from the factory of large-scale weighing machine
US4757867A (en) Single load cell weighing systems
CN202166465U (en) A large fixed electronic scale
CN2323364Y (en) Electronic scale with checking device
CN218121133U (en) Weighing platform device weighs

Legal Events

Date Code Title Description
C06 Publication
PB01 Publication
C10 Entry into substantive examination
SE01 Entry into force of request for substantive examination
C14 Grant of patent or utility model
GR01 Patent grant