CN102366791A - Headlight wiring harness cover plate trimming and piercing die - Google Patents
Headlight wiring harness cover plate trimming and piercing die Download PDFInfo
- Publication number
- CN102366791A CN102366791A CN2011103017231A CN201110301723A CN102366791A CN 102366791 A CN102366791 A CN 102366791A CN 2011103017231 A CN2011103017231 A CN 2011103017231A CN 201110301723 A CN201110301723 A CN 201110301723A CN 102366791 A CN102366791 A CN 102366791A
- Authority
- CN
- China
- Prior art keywords
- die
- template
- fixedly installed
- concave
- rod
- Prior art date
- Legal status (The legal status is an assumption and is not a legal conclusion. Google has not performed a legal analysis and makes no representation as to the accuracy of the status listed.)
- Pending
Links
- 238000009966 trimming Methods 0.000 title claims abstract description 14
- 238000004080 punching Methods 0.000 claims abstract description 20
- 238000009415 formwork Methods 0.000 claims abstract description 6
- 238000009434 installation Methods 0.000 abstract description 2
- 230000009286 beneficial effect Effects 0.000 description 1
- 238000010586 diagram Methods 0.000 description 1
- 230000007774 longterm Effects 0.000 description 1
- 238000000034 method Methods 0.000 description 1
Images
Landscapes
- Lighting Device Outwards From Vehicle And Optical Signal (AREA)
Abstract
本发明公开了一种前灯线束盖板切边冲孔模,包括有上、下模座和上、下模板,下模板上固定安装有凸凹模,下模板上固定安装有切刀,上模板的内侧面上通过固定板固定安装有凹模,固定板上弹性安装有推件块,上模板的内侧面上安装有数个冲头,数个冲头向下穿过推件块延伸到凸凹模的上方;有打杆自上而下穿过上模板上的通孔并延伸到凹腔内,打杆与上模板上的通孔的孔壁滑动配合,且打杆的前端具有推板,推板与推件块之间连接有推杆;上模板内侧面的两侧与下模板上表面的两侧分别设有导套和导柱。本发明安装合理,生产的工件表面光洁,且无毛刺,强度高,不会产生变形,且凹模与凸凹模之间的间隙均匀、可调整,使用方便。
The invention discloses a trimming and punching die for a headlight wiring harness cover plate, which comprises upper and lower die bases and upper and lower templates, a convex and concave die is fixedly installed on the lower template, a cutter is fixedly installed on the lower template, and A die is fixedly installed on the inner side of the upper template through a fixed plate, and a pusher block is elastically installed on the fixed plate. Several punches are installed on the inner side of the upper template, and several punches extend downward through the pusher block to the convex and concave dies. above; a rod passes through the through hole on the upper template from top to bottom and extends into the concave cavity, the rod is slidingly matched with the hole wall of the through hole on the upper template, and the front end of the rod has a push plate. A push rod is connected between the plate and the push block; guide sleeves and guide posts are respectively provided on both sides of the inner surface of the upper formwork and the upper surface of the lower formwork. The invention has reasonable installation, smooth and clean surface of the produced workpiece, high strength and no deformation, and the gap between the concave die and the convex and concave die is uniform and adjustable, and is convenient to use.
Description
技术领域 technical field
本发明涉及模具领域,具体涉及一种前灯线束盖板切边冲孔模。 The invention relates to the field of moulds, in particular to a trimming and punching die for a headlight wire harness cover plate.
背景技术 Background technique
前灯线束盖板切边冲孔模为轻卡其中一个系列中某个产品切边冲孔专用模具。现有前灯线束盖板切边冲孔模生产出来的工件表面有毛刺,强度低,且不够光洁,大大影响了工件的质量和外观,如果装配到轻卡中,长期使用后会产生变形。 The trimming and punching die for the headlight wiring harness cover is a special die for trimming and punching a certain product in one of the series of light trucks. The surface of the workpiece produced by the trimming and punching die of the existing headlight harness cover plate has burrs, low strength, and is not smooth enough, which greatly affects the quality and appearance of the workpiece. If it is assembled into a light truck, it will be deformed after long-term use.
发明内容 Contents of the invention
本发明的目的是提供一种前灯线束盖板切边冲孔模,使得操作更加便捷化,提高工件的产品质量。 The purpose of the present invention is to provide a punching die for trimming and punching the cover plate of the headlight harness, which makes the operation more convenient and improves the product quality of the workpiece.
本发明的技术方案如下: Technical scheme of the present invention is as follows:
一种前灯线束盖板切边冲孔模,包括有上、下模座,所述上模座内侧面固定安装有上模板,所述的下模座上固定安装有下模板,其特征在于:所述的下模板上固定安装有凸凹模,位于凸凹模两侧的下模板上固定安装有切刀,所述上模板的内侧面上通过固定板固定安装有凹模,所述的凹模与凸凹模之间具有间隙,位于凹模一侧的固定板上弹性安装有推件块,所述上模板的的内侧面上安装有数个冲头,所述的数个冲头向下穿过推件块延伸到凸凹模的上方; A trimming and punching die for a headlight wiring harness cover plate, including upper and lower die bases, an upper template is fixedly installed on the inner side of the upper die base, and a lower template is fixedly installed on the lower die base, and its features In that: the lower template is fixedly equipped with a convex and concave mold, the lower template located on both sides of the convex and concave mold is fixedly equipped with a cutter, and the inner side of the upper template is fixedly installed with a concave mold through a fixing plate. There is a gap between the die and the male and female dies, a pusher block is elastically installed on the fixed plate on one side of the die, and several punches are installed on the inner side of the upper template, and the several punches penetrate downwards. The push piece block extends above the punch and die;
所述的上模板内设有凹腔,有打杆自上而下穿过上模板上的通孔并延伸到所述的凹腔内,所述的打杆与上模板上的通孔的孔壁滑动配合,且打杆的前端具有推板,所述的推板与推件块之间连接有推杆; The upper template is provided with a concave cavity, and a punching rod passes through the through hole on the upper template from top to bottom and extends into the concave cavity, and the hole between the punching rod and the through hole on the upper template The wall is slidingly fitted, and the front end of the driving rod has a push plate, and a push rod is connected between the push plate and the push block;
所述上模板内侧面的两侧分别设有导套,所述下模板上表面的两侧分别固定安装有导柱,所述的导柱嵌套在导套内并沿着导套的内壁上下滑动。 The two sides of the inner surface of the upper formwork are respectively provided with guide sleeves, and the two sides of the upper surface of the lower formwork are respectively fixed with guide posts, and the guide posts are nested in the guide sleeves and run up and down along the inner wall of the guide sleeves. slide.
所述的前灯线束盖板切边冲孔模,其特征在于:所述的切刀通过垫片固定在下模板上。 The edge trimming and punching die for the headlight harness cover plate is characterized in that the cutter is fixed on the lower template through gaskets.
所述的前灯线束盖板切边冲孔模,其特征在于:所述的固定板上通过卸料弹体弹性安装有推件块。 The edge trimming and punching die for the cover plate of the headlight harness is characterized in that a pusher block is elastically installed on the fixing plate through the discharge projectile.
本发明的有益效果: Beneficial effects of the present invention:
本发明安装合理,生产的工件表面光洁,且无毛刺,强度高,不会产生变形,且凹模与凸凹模之间的间隙均匀、可调整,使用方便。 The invention has reasonable installation, smooth and clean surface of the produced workpiece, high strength and no deformation, and the gap between the concave die and the convex and concave die is uniform and adjustable, and is convenient to use.
附图说明 Description of drawings
图1为本发明结构示意图。 Fig. 1 is a schematic diagram of the structure of the present invention.
具体实施方式 Detailed ways
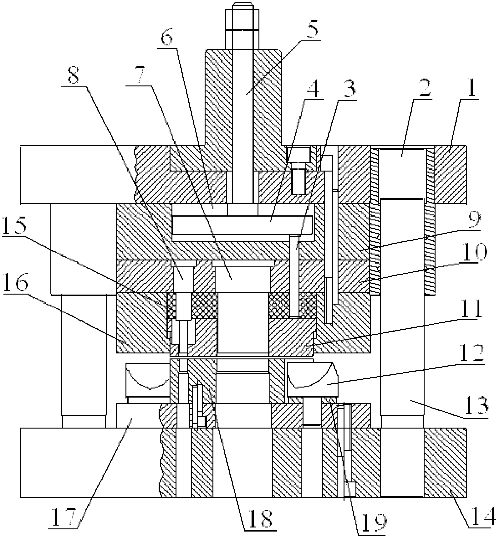
参见图1,一种前灯线束盖板切边冲孔模,包括有上、下模座1、14,上模座1内侧面固定安装有上模板9,下模座14上固定安装有下模板17,下模板17上固定安装有凸凹模18,位于凸凹模18两侧的下模板17上固定安装有切刀12,上模板9的内侧面上通过固定板10固定安装有凹模16,凹模16与凸凹模18之间具有间隙,位于凹模16一侧的固定板10上弹性安装有推件块11,上模板9的的内侧面上安装有二个冲头7、8,二个冲头7、8向下穿过推件块11延伸到凸凹模18的上方;
Referring to Fig. 1 , a punching die for edge trimming of a headlight wiring harness cover plate includes upper and
上模板9内设有凹腔6,有打杆5自上而下穿过上模板9上的通孔并延伸到凹腔6内,打杆5与上模板9上的通孔的孔壁滑动配合,且打杆5的前端具有推板4,推板4与推件块11之间连接有推杆3; The upper template 9 is provided with a concave cavity 6, and a punching rod 5 passes through the through hole on the upper template 9 from top to bottom and extends into the concave cavity 6, and the punching rod 5 slides with the hole wall of the through hole on the upper template 9 Cooperate, and the front end of the rod 5 has a push plate 4, and a push rod 3 is connected between the push plate 4 and the push block 11;
上模板9内侧面的两侧分别设有导套2,下模板17上表面的两侧分别固定安装有导柱13,导柱13嵌套在导套2内并沿着导套2的内壁上下滑动。
Both sides of the inner surface of the upper template 9 are respectively provided with guide sleeves 2, and the two sides of the upper surface of the
进一步,切刀12通过垫片19固定在下模板17上;固定板10上通过卸料弹体15弹性安装有推件块11。
Further, the
Claims (3)
Priority Applications (1)
| Application Number | Priority Date | Filing Date | Title |
|---|---|---|---|
| CN2011103017231A CN102366791A (en) | 2011-09-29 | 2011-09-29 | Headlight wiring harness cover plate trimming and piercing die |
Applications Claiming Priority (1)
| Application Number | Priority Date | Filing Date | Title |
|---|---|---|---|
| CN2011103017231A CN102366791A (en) | 2011-09-29 | 2011-09-29 | Headlight wiring harness cover plate trimming and piercing die |
Publications (1)
| Publication Number | Publication Date |
|---|---|
| CN102366791A true CN102366791A (en) | 2012-03-07 |
Family
ID=45759404
Family Applications (1)
| Application Number | Title | Priority Date | Filing Date |
|---|---|---|---|
| CN2011103017231A Pending CN102366791A (en) | 2011-09-29 | 2011-09-29 | Headlight wiring harness cover plate trimming and piercing die |
Country Status (1)
| Country | Link |
|---|---|
| CN (1) | CN102366791A (en) |
Cited By (6)
| Publication number | Priority date | Publication date | Assignee | Title |
|---|---|---|---|---|
| CN102615189A (en) * | 2012-04-06 | 2012-08-01 | 南车戚墅堰机车有限公司 | Sheet-shaped plates compound die |
| CN103990712A (en) * | 2014-06-05 | 2014-08-20 | 昆山电子羽电业制品有限公司 | Die for edge cutting and hole punching |
| CN104014662A (en) * | 2014-06-16 | 2014-09-03 | 安徽江淮汽车股份有限公司 | Secondary transmission pressing structure |
| CN105251855A (en) * | 2015-09-07 | 2016-01-20 | 天津东义镁制品股份有限公司 | Trimming die applicable to plate materials |
| CN105251893A (en) * | 2015-12-01 | 2016-01-20 | 江西江铃底盘股份有限公司 | Punching-trimming matched die for rear axle oil baffle disc and machining process of die |
| CN110076232A (en) * | 2019-04-24 | 2019-08-02 | 宁波骏腾模具科技有限公司 | A kind of stamping die with positive and negative deep-drawing structure |
Citations (4)
| Publication number | Priority date | Publication date | Assignee | Title |
|---|---|---|---|---|
| CN2673532Y (en) * | 2003-12-01 | 2005-01-26 | 黄正富 | Rotor and stator lamination punching machine |
| EP1600225A1 (en) * | 2004-05-27 | 2005-11-30 | Trumpf Werkzeugmaschinen GmbH + Co. KG | Punching machine with electrical rotating- /lifting drive |
| CN101698214A (en) * | 2009-10-28 | 2010-04-28 | 吴江市双精轴承有限公司 | Fixed bead ring diameter-punching die |
| CN201880798U (en) * | 2010-11-29 | 2011-06-29 | 隆昌山川精密焊管有限责任公司 | Blanking, punching and shaping composite stamping die |
-
2011
- 2011-09-29 CN CN2011103017231A patent/CN102366791A/en active Pending
Patent Citations (4)
| Publication number | Priority date | Publication date | Assignee | Title |
|---|---|---|---|---|
| CN2673532Y (en) * | 2003-12-01 | 2005-01-26 | 黄正富 | Rotor and stator lamination punching machine |
| EP1600225A1 (en) * | 2004-05-27 | 2005-11-30 | Trumpf Werkzeugmaschinen GmbH + Co. KG | Punching machine with electrical rotating- /lifting drive |
| CN101698214A (en) * | 2009-10-28 | 2010-04-28 | 吴江市双精轴承有限公司 | Fixed bead ring diameter-punching die |
| CN201880798U (en) * | 2010-11-29 | 2011-06-29 | 隆昌山川精密焊管有限责任公司 | Blanking, punching and shaping composite stamping die |
Cited By (6)
| Publication number | Priority date | Publication date | Assignee | Title |
|---|---|---|---|---|
| CN102615189A (en) * | 2012-04-06 | 2012-08-01 | 南车戚墅堰机车有限公司 | Sheet-shaped plates compound die |
| CN103990712A (en) * | 2014-06-05 | 2014-08-20 | 昆山电子羽电业制品有限公司 | Die for edge cutting and hole punching |
| CN104014662A (en) * | 2014-06-16 | 2014-09-03 | 安徽江淮汽车股份有限公司 | Secondary transmission pressing structure |
| CN105251855A (en) * | 2015-09-07 | 2016-01-20 | 天津东义镁制品股份有限公司 | Trimming die applicable to plate materials |
| CN105251893A (en) * | 2015-12-01 | 2016-01-20 | 江西江铃底盘股份有限公司 | Punching-trimming matched die for rear axle oil baffle disc and machining process of die |
| CN110076232A (en) * | 2019-04-24 | 2019-08-02 | 宁波骏腾模具科技有限公司 | A kind of stamping die with positive and negative deep-drawing structure |
Similar Documents
| Publication | Publication Date | Title |
|---|---|---|
| CN103639283B (en) | A kind of frame self-feeding progressive die production technology | |
| CN203610485U (en) | Lug hole punching die for basin stand | |
| CN103611817A (en) | Automatic feeding continuous die of basin stand | |
| CN104128440B (en) | Shearing and bending mechanism | |
| CN102366791A (en) | Headlight wiring harness cover plate trimming and piercing die | |
| CN104972017A (en) | Punch press for edge trimming and forming of automotive radiator protective plate | |
| CN102962342A (en) | Flange punching and blanking compound die | |
| CN105642751A (en) | An automobile B-pillar inner panel drawing die | |
| CN204685838U (en) | Double-acting thruster punch mechanism | |
| CN203470649U (en) | Progressive die of U-shaped handle guide mounting plate | |
| CN201791830U (en) | Drawing, extruding and cutting combined die | |
| CN103433377A (en) | Blanking, punching, flanging and forming composite die | |
| CN103611791B (en) | Clamp body die of spring grounding clamp | |
| CN203356328U (en) | Thick-material punching burr-prevention device | |
| CN102366781A (en) | Punching die for back door hinge | |
| CN203992019U (en) | Technique trimming and draw compound die | |
| CN103639278A (en) | Ear-hole punching die of basin stand | |
| CN204172255U (en) | Edge of carpet all shears edge of a knife blanking die | |
| CN204620839U (en) | Make the progressive die of automotive seat medium-height trestle | |
| CN203426228U (en) | Thin piece punching forming mechanism | |
| CN204035314U (en) | Aluminium alloy gas receiver end cap perforating die | |
| CN203991951U (en) | A kind of shearing bending mechanism | |
| CN202803915U (en) | Compound cold-punching mould | |
| CN203875184U (en) | Stamping die | |
| CN204208969U (en) | A kind of deburring blanking composite die |
Legal Events
| Date | Code | Title | Description |
|---|---|---|---|
| C06 | Publication | ||
| PB01 | Publication | ||
| C10 | Entry into substantive examination | ||
| SE01 | Entry into force of request for substantive examination | ||
| C53 | Correction of patent of invention or patent application | ||
| CB02 | Change of applicant information |
Address after: 230022 Hefei East Road, Anhui, No. 18 Applicant after: Hefei Changqing Machinery Co., Ltd. Address before: 230022 Hefei East Road, Anhui, No. 18 Applicant before: Hefei Changqing Machinery Manufacturing Co.,Ltd. |
|
| COR | Change of bibliographic data |
Free format text: CORRECT: APPLICANT; FROM: HEFEI CHANGQING MACHINERY MANUFACTURING CO., LTD. TO: HEFEI CHANGQING MACHINERY CO., LTD. |
|
| C12 | Rejection of a patent application after its publication | ||
| RJ01 | Rejection of invention patent application after publication |
Application publication date: 20120307 |
