CN102330430A - Construction method for prefabricated building enclosure of deep foundation pit in low-temperature environment construction - Google Patents
Construction method for prefabricated building enclosure of deep foundation pit in low-temperature environment construction Download PDFInfo
- Publication number
- CN102330430A CN102330430A CN201110200182A CN201110200182A CN102330430A CN 102330430 A CN102330430 A CN 102330430A CN 201110200182 A CN201110200182 A CN 201110200182A CN 201110200182 A CN201110200182 A CN 201110200182A CN 102330430 A CN102330430 A CN 102330430A
- Authority
- CN
- China
- Prior art keywords
- pile
- construction
- prefabricated
- foundation pit
- deep foundation
- Prior art date
- Legal status (The legal status is an assumption and is not a legal conclusion. Google has not performed a legal analysis and makes no representation as to the accuracy of the status listed.)
- Pending
Links
- 238000010276 construction Methods 0.000 title claims abstract description 77
- 229910000831 Steel Inorganic materials 0.000 claims abstract description 33
- 239000010959 steel Substances 0.000 claims abstract description 33
- 238000013461 design Methods 0.000 claims abstract description 16
- 238000000034 method Methods 0.000 claims description 15
- 238000009412 basement excavation Methods 0.000 claims description 6
- 238000009417 prefabrication Methods 0.000 claims description 6
- 239000002689 soil Substances 0.000 claims description 5
- 239000011150 reinforced concrete Substances 0.000 claims description 4
- 230000015572 biosynthetic process Effects 0.000 claims description 2
- 238000009434 installation Methods 0.000 claims description 2
- 239000004567 concrete Substances 0.000 abstract description 20
- 238000010586 diagram Methods 0.000 description 7
- 238000012423 maintenance Methods 0.000 description 6
- 238000005553 drilling Methods 0.000 description 5
- 239000004566 building material Substances 0.000 description 3
- 238000004519 manufacturing process Methods 0.000 description 3
- 238000003466 welding Methods 0.000 description 3
- 230000007812 deficiency Effects 0.000 description 2
- 238000005516 engineering process Methods 0.000 description 2
- 239000003673 groundwater Substances 0.000 description 2
- 238000011065 in-situ storage Methods 0.000 description 2
- 238000009413 insulation Methods 0.000 description 2
- 238000001556 precipitation Methods 0.000 description 2
- 238000002360 preparation method Methods 0.000 description 2
- XLYOFNOQVPJJNP-UHFFFAOYSA-N water Substances O XLYOFNOQVPJJNP-UHFFFAOYSA-N 0.000 description 2
- 241000309551 Arthraxon hispidus Species 0.000 description 1
- 230000002411 adverse Effects 0.000 description 1
- 238000005452 bending Methods 0.000 description 1
- 230000000903 blocking effect Effects 0.000 description 1
- 230000000694 effects Effects 0.000 description 1
- 230000007613 environmental effect Effects 0.000 description 1
- 238000003912 environmental pollution Methods 0.000 description 1
- 238000010438 heat treatment Methods 0.000 description 1
- 238000007689 inspection Methods 0.000 description 1
- 239000000463 material Substances 0.000 description 1
- 239000011513 prestressed concrete Substances 0.000 description 1
- 238000012545 processing Methods 0.000 description 1
- 238000010008 shearing Methods 0.000 description 1
- 239000011378 shotcrete Substances 0.000 description 1
- 239000002002 slurry Substances 0.000 description 1
- 238000012360 testing method Methods 0.000 description 1
- 239000002699 waste material Substances 0.000 description 1
Images
Landscapes
- Piles And Underground Anchors (AREA)
Abstract
本发明涉及用于深基坑的围护结构的施工,具体涉及一种用于低温环境施工的深基坑预制围护结构的施工方法,所述施工方法采用如下步骤:首先预制围护桩的桩节,其次按照设计要求完成桩位成孔,然后逐段吊放围护桩节并现场连接成整体,构成预制围护桩挡墙;之后进行基坑开挖,同期完成预制围护桩挡墙之间横向支撑的内部结构施工,从而构成所述深基坑预制围护结构。本发明的优点是:基坑围护结构采用工厂化预制件,可避免在负温条件下现场绑扎钢筋、浇筑和养护混凝土,不仅节约了冬季施工措施费用,而且改善了工作环境、提高了工效,缩短现场施工周期,同时能够确保围护结构的混凝土浇筑质量。
The present invention relates to the construction of the enclosure structure used for deep foundation pits, and in particular to a construction method for the prefabricated enclosure structure of deep foundation pits used in low temperature environment construction. The construction method adopts the following steps: firstly, the prefabricated enclosure structure Pile sections, followed by completion of the pile hole forming according to the design requirements, and then hoisting the enclosure pile sections section by section and connecting them on site to form a prefabricated enclosure pile retaining wall; after that, excavate the foundation pit and complete the prefabricated enclosure pile retaining wall at the same time The internal structure construction of the lateral support between the walls constitutes the prefabricated enclosure structure of the deep foundation pit. The advantage of the present invention is that: the foundation pit enclosure structure adopts factory prefabricated parts, which can avoid on-site binding of steel bars, pouring and curing of concrete under negative temperature conditions, which not only saves the cost of construction measures in winter, but also improves the working environment and work efficiency , shorten the on-site construction period, and at the same time ensure the quality of concrete pouring of the enclosure structure.
Description
the
技术领域 technical field
本发明涉及用于深基坑的围护结构的施工,具体涉及一种用于低温环境施工的深基坑预制围护结构的施工方法。 The invention relates to the construction of an enclosure structure for deep foundation pits, in particular to a construction method for a prefabricated enclosure structure for deep foundation pits used for construction in a low-temperature environment.
背景技术 Background technique
现有技术中,深基坑常用的围护结构种类和施工方法主要有如下几种: In the prior art, the types of enclosure structures and construction methods commonly used for deep foundation pits mainly include the following types:
1、地下连续墙,采用专用挖槽设备在泥浆护壁之下开挖深槽,然后吊装钢筋笼、浇筑混凝土,在地下形成一道混凝土墙。地下连续墙作为围护结构的优点是:墙体刚度大、整体性好、变形小、具有挡水抗渗作用,坑外不需要降水,对周边环境影响小。缺点是:施工时需泥浆护壁,泥浆处理复杂;需较大场地,对环境造成一定影响;并且地下连续墙的成本相对较高。在严寒地区,因为泥浆制备、开挖成槽、钢筋笼吊装、混凝土运输浇筑等冬季施工成本过高,该技术一般情况下不予使用。 1. For the underground diaphragm wall, use special trenching equipment to excavate a deep groove under the mud retaining wall, then hoist the steel cage and pour concrete to form a concrete wall underground. The advantages of the underground diaphragm wall as an enclosure structure are: high rigidity, good integrity, small deformation, water-retaining and anti-seepage effects, no precipitation outside the pit, and little impact on the surrounding environment. The disadvantages are: mud wall protection is required during construction, and the mud treatment is complicated; a large site is required, which has a certain impact on the environment; and the cost of the underground diaphragm wall is relatively high. In severe cold areas, this technology is generally not used because of the high cost of winter construction such as mud preparation, excavation into trenches, steel cage hoisting, concrete transportation and pouring.
2、柱列式钻孔灌注桩,灌注桩对地层的适用范围大,根据工程水文地质条件,可采用泥浆护壁钻成孔、冲击成孔、长螺旋钻孔、干作业成孔等施工方法。灌注桩施工简便,不需要大型机械,施工占地少,对环境污染较小,施工费用较低。钻孔灌注桩之间采用钢筋网喷射混凝土保护桩间土,堵水能力弱,在地下水位高于开挖坑底,且不能降水的地段须另设止水帷幕,造价较高。在严寒地区,因灌注桩施工机具高度小、占用场地小,可搭建暖棚对施工机具、泥浆池、建筑材料、混凝土养护等进行保温,灌注桩可作为基坑围护结构进行冬季施工,但建设成本高、工作环境差,施工质量参差不齐。 2. Column-type bored piles, cast-in-place piles have a wide range of application to the stratum. According to the hydrogeological conditions of the project, construction methods such as mud wall drilling, impact drilling, long spiral drilling, and dry operation can be used. Cast-in-situ piles are easy to construct, do not require large machinery, occupy less land, have less environmental pollution, and have lower construction costs. The reinforced mesh sprayed concrete is used to protect the soil between the bored piles, and the water blocking ability is weak. In the section where the groundwater level is higher than the bottom of the excavation pit and where precipitation cannot occur, another water-stop curtain must be installed, and the cost is relatively high. In severe cold areas, due to the small height of construction machines and tools of cast-in-place piles and the small occupied space, greenhouses can be built to insulate construction machines, mud pools, building materials, and concrete maintenance. The construction cost is high, the working environment is poor, and the construction quality is uneven.
3、钻孔咬合桩,该桩是平面布置的排桩,相邻单桩相互咬合(桩圆周相嵌)从而形成能挡土、挡水的钢筋混凝土“桩墙”。钻孔咬合桩地质适应性强,特别适用于淤泥、流砂、地下水丰富等不良地质条件。咬合桩无需泥浆护壁,节省了泥浆制作、使用、废浆处理的费用。咬合桩是一种新颖的围护结构工艺,同条件下有其他支护结构无法比拟的优点,在冬季严寒地区,可不设置泥浆池和保温措施,降低了工程造价,但仍需对钢筋绑扎、混凝土养护等工序采取冬施措施。 3. Drilled occlusal piles, which are row piles arranged in a plane, and adjacent single piles are occluded with each other (the piles are circumferentially embedded) to form a reinforced concrete "pile wall" that can retain soil and water. Drilled occlusal piles have strong geological adaptability, and are especially suitable for adverse geological conditions such as silt, quicksand, and abundant groundwater. The occlusal pile does not require mud wall protection, which saves the cost of mud production, use, and waste slurry treatment. The occlusal pile is a novel technology of the enveloping structure. Under the same conditions, it has incomparable advantages compared with other supporting structures. In the severe winter area, it is not necessary to set up mud pools and thermal insulation measures, which reduces the cost of the project, but it still needs to bind the steel bars, Concrete curing and other processes take winter measures.
综上所述,目前常用的深基坑围护结构主要有地下连续墙、柱列式钻孔灌注桩、钻孔咬合桩等几种。施工工艺虽然不同,但桩(墙)身均以现浇混凝土为主。在特殊环境如严寒地区或低温环境,冬季进行基坑现浇钢筋混凝土围护结构施工,现场进行钢筋绑扎、混凝土浇筑、养护等工序的环境条件恶劣,为保证混凝土养护需要的最低温度要求,需采取搭建暖棚、建筑材料加热、混凝土保温养护等冬施措施。工程造价高,施工速度慢,施工质量相对较差。 To sum up, the currently commonly used deep foundation pit enclosure structures mainly include underground diaphragm walls, column-type bored piles, and bored occlusal piles. Although the construction techniques are different, the pile (wall) body is mainly made of cast-in-place concrete. In special environments such as severe cold regions or low-temperature environments, in-situ cast-in-place reinforced concrete enclosure structures for foundation pits are constructed in winter, and the environmental conditions for on-site steel bar binding, concrete pouring, and maintenance processes are harsh. In order to ensure the minimum temperature requirements for concrete maintenance, it is necessary to Take winter measures such as building greenhouses, heating building materials, and concrete insulation and maintenance. The project cost is high, the construction speed is slow, and the construction quality is relatively poor.
发明内容 Contents of the invention
本发明的目的是根据上述现有技术的不足之处,提供一种用于低温环境施工的深基坑预制围护结构的施工方法,该施工方法适用于在严寒地区或低温环境,采用工厂化预制基坑预制围护结构,运输至施工现场后起吊、连接、架设到位,即刻发挥围护结构作用。避免现有技术中现场进行混凝土浇筑、养护之不足。 The purpose of the present invention is to provide a construction method for deep foundation pit prefabricated enclosure structure for construction in low temperature environment according to the deficiencies of the above-mentioned prior art. The prefabricated enclosure structure of the prefabricated foundation pit, after being transported to the construction site, is hoisted, connected, and erected in place, and immediately plays the role of the enclosure structure. Avoid the deficiency of concrete pouring and maintenance on site in the prior art.
本发明目的实现由以下技术方案完成: The object of the present invention is realized by the following technical solutions:
一种用于低温环境施工的深基坑预制围护结构的施工方法,其特征在于,所述施工方法采用如下步骤:首先预制围护桩的桩节,其次按照设计要求完成桩位成孔,然后逐段吊放围护桩节并现场连接成整体,构成预制围护桩挡墙;之后进行基坑开挖,同期完成预制围护桩挡墙之间横向支撑的内部结构施工,从而构成所述深基坑预制围护结构。 A construction method for a prefabricated enclosure structure of a deep foundation pit for construction in a low-temperature environment, characterized in that the construction method adopts the following steps: firstly prefabricating the pile joints of the enclosure piles, and secondly completing the pile hole forming according to the design requirements, Then the retaining pile sections are hoisted section by section and connected into a whole on site to form the prefabricated retaining pile retaining wall; after that, the foundation pit is excavated, and the internal structure construction of the lateral support between the prefabricated retaining pile retaining walls is completed at the same time, thus forming the prefabricated retaining pile retaining wall Describe the prefabricated enclosure structure of deep foundation pit.
所述的施作预制围护桩依次包括现场吊装、桩节段连接、桩周注浆。 The construction of the prefabricated retaining piles sequentially includes on-site hoisting, pile segment connection, and grouting around the piles.
所述的预制围护桩的桩节包括头桩、脚桩和桩身桩,所述的现场吊装指的是现场将所述的头桩、至少一节桩身桩以及脚桩依次吊装入孔,所述的桩节段连接同期进行。 The pile sections of the prefabricated enclosure piles include head piles, foot piles and pile body piles, and the on-site hoisting refers to hoisting the head piles, at least one section of pile body piles and foot piles into the holes in sequence on site , the pile segment connection is performed at the same time.
所述的桩节段连接是指将吊装入孔的相邻桩节组合安装构成预制围护桩。 The pile segment connection refers to the combined installation of adjacent pile segments hoisted into the hole to form a prefabricated enclosure pile.
所述的桩周注浆指的是所述的预制围护桩完成了现场吊装和桩节段连接,将预制围护桩全部吊装就位后,进行桩周注浆,以填充预制桩与桩周土之间的空隙,注浆通过预埋在桩身内的注浆管进行。 The grouting around the pile refers to the fact that the prefabricated retaining piles have been hoisted on site and the pile segments are connected. After all the prefabricated retaining piles are hoisted in place, the grouting around the piles is performed to fill the prefabricated piles and piles. The gap between the surrounding soil is grouted through the grouting pipe pre-buried in the pile body.
所述的内部结构施工指的是随基坑开挖过程,自上而下依次在预制围护桩挡墙之间施作横向钢支撑;开挖至底层后,施作底板结构及部分侧墙;之后自下而上依次施作中板结构和顶板结构以及侧墙结构,同时在各结构达到设计强度后,依次拆除所述钢支撑;最后回填基坑,恢复地面路况。 The construction of the internal structure refers to the construction of horizontal steel supports between the prefabricated retaining pile retaining walls from top to bottom along with the excavation process of the foundation pit; After that, the middle plate structure, roof structure and side wall structure are constructed sequentially from bottom to top, and at the same time, after each structure reaches the design strength, the steel supports are removed in turn; finally, the foundation pit is backfilled to restore the road condition on the ground.
在所述预制围护桩挡墙表面固定安装有钢围檩,所述钢围檩垂直于预制围护桩挡墙设置。 A steel purlin is fixedly installed on the surface of the retaining wall of the prefabricated retaining pile, and the steel purlin is arranged perpendicular to the retaining wall of the prefabricated retaining pile.
所述的横向钢支撑固定于钢围檩上。 The transverse steel supports are fixed on the steel purlins.
所述的横向支撑包括但不仅包括钢支撑,还包括钢筋混凝土支撑、锚索等内外各型支撑体系。 The lateral supports include but not only steel supports, but also various internal and external support systems such as reinforced concrete supports and anchor cables.
本发明的优点是:基坑围护结构采用工厂化预制件,可避免在负温条件下现场绑扎钢筋、浇筑和养护混凝土,不仅节约了冬季施工措施费用,而且改善了工作环境、提高了工效,缩短现场施工周期,同时能够确保围护结构的混凝土浇筑质量。通过采用预制围护结构,在-15℃及以下的极低温条件下也可进行基坑围护施工,实现严寒地区全年无冬歇生产,延长二至三个月施工期,实现又好又快的工程建设目标。除了严寒地区,预制围护结构也可在工程建设期短的情况下采用,可实现围护结构工厂化预制、现场成孔(槽)等工序同步进行,减少混凝土养护时间,加快施工速度,但造价相对较高。 The advantage of the present invention is that: the foundation pit enclosure structure adopts factory prefabricated parts, which can avoid on-site binding of steel bars, pouring and curing of concrete under negative temperature conditions, which not only saves the cost of construction measures in winter, but also improves the working environment and work efficiency , shorten the on-site construction period, and at the same time ensure the quality of concrete pouring of the enclosure structure. By adopting the prefabricated enclosure structure, foundation pit enclosure construction can also be carried out under extremely low temperature conditions of -15°C and below, realizing production without winter breaks throughout the year in severe cold areas, extending the construction period by two to three months, and achieving good and efficient construction. Fast engineering construction goals. In addition to severe cold areas, prefabricated enclosure structures can also be used when the construction period is short, which can realize the simultaneous process of factory prefabrication of enclosure structures and on-site hole (slot) formation, reduce concrete curing time, and speed up construction. The cost is relatively high.
附图说明 Description of drawings
图1为本发明深基坑围护结构平面布置示意图; Fig. 1 is a schematic diagram of plane layout of deep foundation pit enclosure structure of the present invention;
图2为本发明深基坑围护结构横剖面示意图; Fig. 2 is a schematic cross-sectional view of a deep foundation pit enclosure structure of the present invention;
图3为本发明施工方法步骤一示意图; Fig. 3 is a schematic diagram of step 1 of the construction method of the present invention;
图4为本发明施工方法步骤二示意图; Fig. 4 is the second schematic diagram of the construction method of the present invention;
图5为本发明施工方法步骤三示意图; Fig. 5 is a schematic diagram of step three of the construction method of the present invention;
图6为本发明施工方法步骤四示意图; Fig. 6 is a schematic diagram of step four of the construction method of the present invention;
图7为本发明施工方法步骤五示意图;
Fig. 7 is a schematic diagram of
图8为本发明施工方法步骤六示意图。
Fig. 8 is a schematic diagram of
具体实施方式 Detailed ways
以下结合附图通过实施例对本发明特征及其它相关特征作进一步详细说明,以便于同行业技术人员的理解: The features of the present invention and other related features will be further described in detail below in conjunction with the accompanying drawings through embodiments, so as to facilitate the understanding of those skilled in the art:
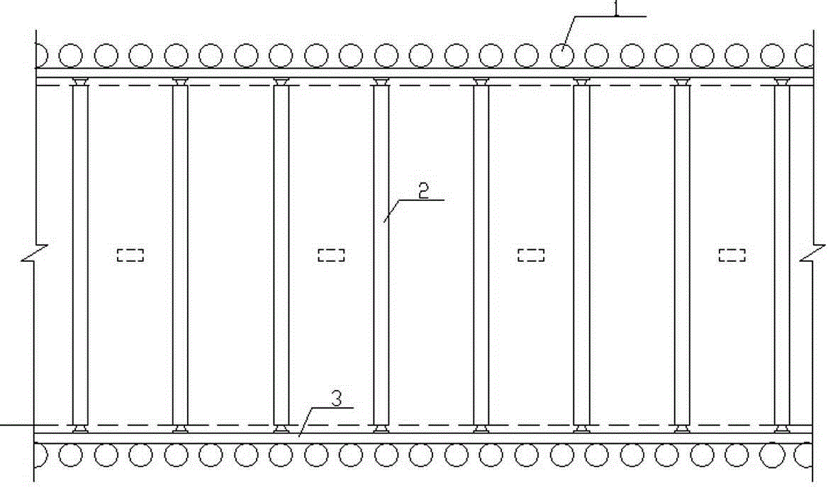
如图1-8所示,标号1-18分别表示:预制围护桩挡墙1、钢支撑2(2.1、2.2、2.3)、钢围檩3、头桩4、桩节连接头5、桩身桩6、脚桩7、路面8、混凝土挡墙9、冠梁10、地面设计标高11、顶板12、中板13、侧墙14、底板15、底板结构防水层16、底板垫层17、预制围护桩18。
As shown in Figure 1-8, the labels 1-18 respectively represent: prefabricated retaining pile retaining wall 1, steel support 2 (2.1, 2.2, 2.3),
下述实施例涉及的是一种适用于严寒地区或低温环境施工的深基坑预制围护结构的施工方法,围护结构的结构形式以预制桩为主,断面形式可为方形、圆形等形状。深基坑预制围护结构施工主要包括桩位成孔、桩节预制、现场吊装、节段连接、预应力张拉、桩周注浆等工序。 The following embodiment relates to a construction method of a prefabricated enclosure structure for deep foundation pits suitable for construction in severe cold regions or low-temperature environments. The structural form of the enclosure structure is mainly prefabricated piles, and the cross-sectional form can be square, circular, etc. shape. The construction of prefabricated enclosure structures for deep foundation pits mainly includes pile hole forming, pile joint prefabrication, on-site hoisting, segment connection, prestressed tensioning, and grouting around piles.
为了降低对预制件模具、运输和吊装能力的要求,预制围护结构以预制桩为主,分节段预制。 In order to reduce the requirements on prefabricated molds, transportation and hoisting capabilities, the prefabricated enclosure structure is mainly prefabricated piles, which are prefabricated in sections.
根据工程水文地质条件,桩位成孔分为泥浆护壁成孔和干法成孔两种类型。在严寒地区,预制围护结构更适用于干法成孔工程,如人工挖孔、长螺旋钻、旋挖钻等工法,可避免设置大规模泥浆池,降低冬施费用和施工难度。 According to the hydrogeological conditions of the project, there are two types of hole forming at pile positions: mud retaining wall hole forming and dry method hole forming. In severe cold regions, prefabricated enclosure structures are more suitable for dry hole-forming projects, such as manual digging, long auger drilling, rotary drilling and other construction methods, which can avoid setting up large-scale mud pools and reduce winter construction costs and construction difficulties.
桩节预制可在构件加工厂内完成,根据设计对围护结构材料等级、桩径、钢筋笼样式等要求,在车间内进行工厂化分节段预制。预制工艺包括建材准备、钢筋笼绑扎、入模、养护、脱模、试验检测等流程。为避免模具种类多,增加生产设备费用,桩节长度可确立标准化模数,如4、6、8m等标准长度;桩节性质也可划分为头桩4、桩身桩、脚桩8等类型,桩身桩采用标准节,调整头桩4或脚桩8长度,以适应设计桩长。
The pile section prefabrication can be completed in the component processing factory, and according to the design requirements for the material grade of the enclosure structure, pile diameter, steel cage style, etc., factory prefabrication is carried out in the workshop. The prefabrication process includes building material preparation, steel cage binding, mold entry, maintenance, demoulding, test and inspection and other processes. In order to avoid many types of molds and increase the cost of production equipment, the length of the pile section can establish a standardized modulus, such as 4, 6, 8m and other standard lengths; the nature of the pile section can also be divided into types such as
预制桩节的制作完毕后,运输至施工现场,根据设计桩长确定桩节组合,其中针对每根预制围护桩,选择头桩4和脚桩8各设置一节,桩身桩视工程设计标高的需要,可设置多节,分段吊装入钻孔内,边吊装边连接,直至设计标高。桩节的连接可参照国家建筑标准设计图集《预应力混凝土管桩》(10G409)的形式,分为法兰连接、焊接连接、机械啮合连接等方式。但因本实施例中预制围护结构受力以弯、剪为主,且受力很大,桩节连接必须确保桩身整体性。
After the prefabricated pile sections are manufactured, they are transported to the construction site, and the pile section combination is determined according to the design pile length. For each prefabricated enclosure pile, one section is selected for the
对于大直径(≥800mm)预制围护结构,桩身荷载大,桩身内可布置后张预应力钢筋,以提高桩身受力能力,增强桩身整体性。 For large-diameter (≥800mm) prefabricated enclosure structures, the load on the pile body is large, and post-tensioned prestressed steel bars can be arranged in the pile body to improve the force-bearing capacity of the pile body and enhance the integrity of the pile body.
为减小桩起吊重量,预制桩可采用空心筒体结构,同时为加强预制桩整体性除采用上述法兰、焊接、机械啮合等连接方式外,也可于桩身空心部位内插型钢后灌注低标号混凝土以加强整体刚度。 In order to reduce the lifting weight of the pile, the prefabricated pile can adopt a hollow cylinder structure. At the same time, in order to strengthen the integrity of the prefabricated pile, in addition to the above-mentioned connection methods such as flanges, welding, and mechanical meshing, it can also be inserted into the hollow part of the pile body and poured. Low grade concrete for overall rigidity.
桩节全部吊装就位后,需进行桩周注浆,以填充预制桩与桩周土之间的空隙,防止地表发生过大沉降。注浆可通过预埋在桩身内的注浆管进行。 After all the pile sections are hoisted in place, grouting around the pile is required to fill the gap between the prefabricated pile and the soil around the pile and prevent excessive settlement of the ground surface. The grouting can be carried out through the grouting pipe pre-buried in the pile body.
本实施例施工步骤如下: The construction steps of this embodiment are as follows:
第一步:开挖浅基坑,施作混凝土挡墙9,施作预制围护桩挡墙1及冠梁10。其中构成预制围护桩挡墙1的预制围护桩18由头桩4、桩身桩6,以及脚桩7顺序组合安装连接构成,其中每根预制围护桩1具有一节头桩4、一节脚桩7,已经桩身桩6若干,桩身桩6的数量取决于基坑深度的具体要求。连接方法可选择焊接连接方式。
Step 1: Excavate a shallow foundation pit, construct a
第二步:继续开挖,直至基坑底设计标高处,随开挖随自上而下依次施作钢支撑2,即依次施作2.1、2.2、2.3,钢支撑2的支撑是通过垂直固设于预制围护桩挡墙1表面的钢围檩3固定连接的。固定连接的方式通常选择螺栓连接,或是法兰、承托板等连接方式,本实施例共计施作了三道钢支撑2.1、2.2、2.3,通常是在基坑开挖至钢支撑轴线下0.5m处时,施作钢支撑2。
Step 2: Continue to excavate until the design elevation of the bottom of the foundation pit. With the excavation,
第三步:铺设底板速砼垫层17,敷设防水层16,施作结构底板15及位于结构底板15与第三道钢支撑2.3之间的部分侧墙14。
The third step: laying the floor quick
第四步:待结构底板15达到设计强度后,拆除第三道钢支撑2.3,敷设侧墙14防水层,施作位于结构底板15与结构中板13之间的部分侧墙14和结构中板13。
Step 4: After the
第五步:待侧墙14及结构中板13达到设计强度后,拆除第二道钢支撑2.2,敷设侧墙防水层,施作位于结构中板13与结构顶板12之间的侧墙14和结构顶板12。
Step 5: After the
第六步:待侧墙14和结构顶板12达到设计强度后,拆除第一道钢支撑2.1,敷设顶板防水层,回填基坑,恢复路面8,最后施作基坑上方建筑结构。
Step 6: After the
Claims (9)
Priority Applications (1)
| Application Number | Priority Date | Filing Date | Title |
|---|---|---|---|
| CN201110200182A CN102330430A (en) | 2011-07-18 | 2011-07-18 | Construction method for prefabricated building enclosure of deep foundation pit in low-temperature environment construction |
Applications Claiming Priority (1)
| Application Number | Priority Date | Filing Date | Title |
|---|---|---|---|
| CN201110200182A CN102330430A (en) | 2011-07-18 | 2011-07-18 | Construction method for prefabricated building enclosure of deep foundation pit in low-temperature environment construction |
Publications (1)
| Publication Number | Publication Date |
|---|---|
| CN102330430A true CN102330430A (en) | 2012-01-25 |
Family
ID=45482376
Family Applications (1)
| Application Number | Title | Priority Date | Filing Date |
|---|---|---|---|
| CN201110200182A Pending CN102330430A (en) | 2011-07-18 | 2011-07-18 | Construction method for prefabricated building enclosure of deep foundation pit in low-temperature environment construction |
Country Status (1)
| Country | Link |
|---|---|
| CN (1) | CN102330430A (en) |
Cited By (4)
| Publication number | Priority date | Publication date | Assignee | Title |
|---|---|---|---|---|
| CN107023016A (en) * | 2016-02-01 | 2017-08-08 | 上海城地建设股份有限公司 | Two walls unification foundation pit system is worn under a kind of road and its along the practice |
| CN109183805A (en) * | 2018-08-30 | 2019-01-11 | 广州地铁设计研究院股份有限公司 | A kind of prefabricated foundation pit enclosure system and its construction method |
| CN110409461A (en) * | 2019-08-09 | 2019-11-05 | 广州市建筑科学研究院有限公司 | A foundation pit support construction method based on assembled large-diameter pipe piles |
| CN111576459A (en) * | 2020-05-08 | 2020-08-25 | 广州金辉建设集团有限公司 | Deep foundation pit dewatering environment-friendly and energy-saving construction process |
Citations (7)
| Publication number | Priority date | Publication date | Assignee | Title |
|---|---|---|---|---|
| US5919005A (en) * | 1997-07-02 | 1999-07-06 | Integrated Stabilzation Technologies Inc. | Ground anchor device for penetrating an underground rock formation |
| KR100825751B1 (en) * | 2008-01-21 | 2008-04-29 | (주)경운건축사사무소 | Building prefabricated structure |
| CN201089893Y (en) * | 2007-09-06 | 2008-07-23 | 铁道第四勘察设计院 | Foundation pit circle shield prefabricated driven pile |
| CN101503878A (en) * | 2009-03-02 | 2009-08-12 | 杭州萧宏建设集团有限公司 | Construction method for building foundation pit enclosure structure with thin-walled cylinder pile as fender post |
| CN101597903A (en) * | 2009-07-14 | 2009-12-09 | 武汉市政工程设计研究院有限责任公司 | A construction method of cylinder slurry core pile for foundation pit support |
| CN201531020U (en) * | 2009-09-23 | 2010-07-21 | 诺斯曼能源科技(北京)有限公司 | Blade drill pipe steel pile special for a surface solar power station |
| CN102031785A (en) * | 2009-09-24 | 2011-04-27 | 上海市第一建筑有限公司 | Foundation pit supporting technique for replacing temporary enclosing purlin by using plate belt of permanent structure |
-
2011
- 2011-07-18 CN CN201110200182A patent/CN102330430A/en active Pending
Patent Citations (7)
| Publication number | Priority date | Publication date | Assignee | Title |
|---|---|---|---|---|
| US5919005A (en) * | 1997-07-02 | 1999-07-06 | Integrated Stabilzation Technologies Inc. | Ground anchor device for penetrating an underground rock formation |
| CN201089893Y (en) * | 2007-09-06 | 2008-07-23 | 铁道第四勘察设计院 | Foundation pit circle shield prefabricated driven pile |
| KR100825751B1 (en) * | 2008-01-21 | 2008-04-29 | (주)경운건축사사무소 | Building prefabricated structure |
| CN101503878A (en) * | 2009-03-02 | 2009-08-12 | 杭州萧宏建设集团有限公司 | Construction method for building foundation pit enclosure structure with thin-walled cylinder pile as fender post |
| CN101597903A (en) * | 2009-07-14 | 2009-12-09 | 武汉市政工程设计研究院有限责任公司 | A construction method of cylinder slurry core pile for foundation pit support |
| CN201531020U (en) * | 2009-09-23 | 2010-07-21 | 诺斯曼能源科技(北京)有限公司 | Blade drill pipe steel pile special for a surface solar power station |
| CN102031785A (en) * | 2009-09-24 | 2011-04-27 | 上海市第一建筑有限公司 | Foundation pit supporting technique for replacing temporary enclosing purlin by using plate belt of permanent structure |
Cited By (5)
| Publication number | Priority date | Publication date | Assignee | Title |
|---|---|---|---|---|
| CN107023016A (en) * | 2016-02-01 | 2017-08-08 | 上海城地建设股份有限公司 | Two walls unification foundation pit system is worn under a kind of road and its along the practice |
| CN109183805A (en) * | 2018-08-30 | 2019-01-11 | 广州地铁设计研究院股份有限公司 | A kind of prefabricated foundation pit enclosure system and its construction method |
| CN109183805B (en) * | 2018-08-30 | 2023-11-24 | 广州地铁设计研究院股份有限公司 | Prefabricated foundation pit bracing system and construction method thereof |
| CN110409461A (en) * | 2019-08-09 | 2019-11-05 | 广州市建筑科学研究院有限公司 | A foundation pit support construction method based on assembled large-diameter pipe piles |
| CN111576459A (en) * | 2020-05-08 | 2020-08-25 | 广州金辉建设集团有限公司 | Deep foundation pit dewatering environment-friendly and energy-saving construction process |
Similar Documents
| Publication | Publication Date | Title |
|---|---|---|
| JP2024037138A (en) | Construction method of large-span station with open wings and semi-top-down excavation and semi-reverse drilling | |
| CN108868778B (en) | Non-excavation construction method for large underground structure | |
| CN105089061B (en) | Ultra-deep foundation pit supporting method | |
| CN205742213U (en) | Foundation pit supporting construction | |
| CN109026064B (en) | Construction method for large-span multi-arch tunnel with semi-bright and semi-dark | |
| CN108677924B (en) | Double-row miniature steel pipe pile grouting wall-forming partition structure and method | |
| CN109914472B (en) | A kind of prefabricated comprehensive pipe gallery in soft soil area and its construction method | |
| CN104532957B (en) | Existing building sets up basement reversed construction method | |
| CN111101540B (en) | Construction method for passing existing electric power tunnel on open cut tunnel | |
| CN1563606A (en) | Method for supporting foundation trench for agitation piles of soil cement with concrete as the core | |
| CN102286982A (en) | Deep foundation pit precast building enclosure for constructing in low environment | |
| CN103321246A (en) | Construction Method of Foundation Pit Using Underground Diaphragm Wall | |
| CN101575859B (en) | Anti-seepage Joint of Underground Diaphragm Wall and Its Construction Method | |
| CN110886507B (en) | A method of adding floors below an existing building | |
| CN102330430A (en) | Construction method for prefabricated building enclosure of deep foundation pit in low-temperature environment construction | |
| CN102220764B (en) | Construction method of deep foundation pit bracing system | |
| CN113529830B (en) | Shallow Buried Tunnel Adjacent Building Isolation-Underpinning Combination Reinforcement Structure and Its Construction Technology | |
| CN115233689A (en) | Combined type enclosure structure for soft soil foundation pit and construction method thereof | |
| CN110939139B (en) | Pile-sheet wall structure and construction method based on rigid contact of special-shaped retaining wall behind piles | |
| CN222500124U (en) | Construction structure for water conservancy irrigation district engineering diversion tunnel to pass through karst cave | |
| CN111305220A (en) | Concrete support and structural top plate combined building system based on permanent and temporary combination and construction method thereof | |
| CN108571010B (en) | Method for integrating open cut method engineering prefabricated main structure and supporting structure | |
| CN116145642A (en) | A sheet pile wall structure and method of use thereof | |
| CN205857212U (en) | Corrugated steel cofferdam borehole hollow pile | |
| CN106193744B (en) | The round prefabricated assembled underground granary of equal steel plated inside and outside one kind |
Legal Events
| Date | Code | Title | Description |
|---|---|---|---|
| C06 | Publication | ||
| PB01 | Publication | ||
| C10 | Entry into substantive examination | ||
| SE01 | Entry into force of request for substantive examination | ||
| C12 | Rejection of a patent application after its publication | ||
| RJ01 | Rejection of invention patent application after publication |
Application publication date: 20120125 |
