CN102191676B - Automatic forcible clothes drier - Google Patents
Automatic forcible clothes drier Download PDFInfo
- Publication number
- CN102191676B CN102191676B CN2011101309911A CN201110130991A CN102191676B CN 102191676 B CN102191676 B CN 102191676B CN 2011101309911 A CN2011101309911 A CN 2011101309911A CN 201110130991 A CN201110130991 A CN 201110130991A CN 102191676 B CN102191676 B CN 102191676B
- Authority
- CN
- China
- Prior art keywords
- clothes
- heat
- hook
- cavity
- plastic bracket
- Prior art date
- Legal status (The legal status is an assumption and is not a legal conclusion. Google has not performed a legal analysis and makes no representation as to the accuracy of the status listed.)
- Expired - Fee Related
Links
- 239000002985 plastic film Substances 0.000 claims abstract description 8
- 238000005485 electric heating Methods 0.000 claims abstract description 6
- 239000004033 plastic Substances 0.000 abstract description 14
- 238000001035 drying Methods 0.000 abstract description 9
- 230000000694 effects Effects 0.000 abstract description 5
- 238000012986 modification Methods 0.000 description 2
- 230000004048 modification Effects 0.000 description 2
- 230000009286 beneficial effect Effects 0.000 description 1
- 238000010586 diagram Methods 0.000 description 1
- 238000000034 method Methods 0.000 description 1
- 238000005406 washing Methods 0.000 description 1
Landscapes
- Accessory Of Washing/Drying Machine, Commercial Washing/Drying Machine, Other Washing/Drying Machine (AREA)
- Holders For Apparel And Elements Relating To Apparel (AREA)
- Drying Of Solid Materials (AREA)
Abstract
本发明提供一种强制自动干衣器,包括电热风筒、耐热塑料支架、磁性塑料片,所述的耐热塑料支架的上部设有与电热风筒配合的空腔,所述的耐热塑料支架的空腔内设有连接有挂钩的挂钩支撑杆。使用时将电热风筒安装于耐热塑料支架的空腔内,衣物套在耐热塑料支架上,用磁性塑料片夹紧衣物袖口及其他漏风出口,挂钩支撑板上的挂钩则可悬挂内衣裤,袜子等其他小件衣物,由于衣物所有风口被封闭,故电热风筒吹出的热风可以直接作用于衣物,使得干衣效果更好、干衣速度更快。本发明具有结构简单、紧凑、轻便、携带方便、干衣效果好等优点,适合各种场所的衣物快速烘干的需要,是一种非常适用于家庭以及出差旅游的自动干衣器。
The invention provides a forced automatic clothes dryer, which includes an electric heating air cylinder, a heat-resistant plastic bracket, and a magnetic plastic sheet. The upper part of the heat-resistant plastic bracket is provided with a cavity that cooperates with the electric heating air cylinder. A hook support rod connected with a hook is arranged in the cavity of the plastic bracket. When in use, install the electric heater in the cavity of the heat-resistant plastic bracket, put the clothes on the heat-resistant plastic bracket, clamp the cuffs of the clothes and other air leakage outlets with magnetic plastic sheets, and hang the underwear on the hook on the support plate , socks and other small pieces of clothing, since all the air outlets of the clothing are closed, the hot air blown by the electric heater can directly act on the clothing, making the drying effect better and the drying speed faster. The invention has the advantages of simple structure, compactness, portability, convenient portability, good drying effect, etc., is suitable for the needs of fast drying clothes in various places, and is an automatic clothes dryer very suitable for families and business trips.
Description
技术领域 technical field
本发明属于小家电领域,涉及一种自动强制将衣物的自动干衣器。 The invention belongs to the field of small household appliances and relates to an automatic clothes dryer which automatically and forcibly dries clothes.
背景技术 Background technique
在现实生活中,我们经常遇到潮湿或阴雨的天气,在这种情况下,室内或室外的湿度都很大,它在影响人们生存环境的同时,也给人们日常生活特别给出差旅游带来了很多麻烦,如洗涤后的衣物就不易晾干,衣物长时间处于潮湿状态下会发霉,严重时会污染或损伤衣物,现有技术的晾衣架只能晾晒,不便于配合使用吹风设备吹干,起不到速干、节能的效果。 In real life, we often encounter wet or rainy weather. In this case, the indoor or outdoor humidity is very high. While it affects people's living environment, it also brings people's daily life, especially for business trips. It has caused a lot of trouble, such as the clothes after washing are not easy to dry, and the clothes will be moldy when they are in a wet state for a long time, and will pollute or damage the clothes in severe cases. , can not achieve quick-drying, energy-saving effects.
发明内容 Contents of the invention
本发明提供一种快速干衣及便携功能于一体的强制自动干衣器。 The invention provides a forced automatic clothes dryer integrating fast clothes drying and portable functions.
为解决上述技术问题,本发明采用下列技术方案:一种强制自动干衣器,包括电热风筒、耐热塑料支架、磁性塑料片,磁性塑料片能够夹紧衣物袖口及其他漏风出口,衣物的所有风口被封闭,使得电热风筒吹出的热风能够直接作用于衣物,所述的耐热塑料支架的上部设有与电热风筒配合的空腔,使得电热风筒能够安装于耐热塑料支架上,所述的耐热塑料支架的空腔内设有连接有挂钩的挂钩支撑杆,挂钩支撑杆上的挂钩则可悬挂内衣裤,袜子等其他小件衣物。 In order to solve the above-mentioned technical problems, the present invention adopts the following technical solutions: a forced automatic clothes dryer, including an electric heater, a heat-resistant plastic bracket, a magnetic plastic sheet, the magnetic plastic sheet can clamp the cuffs of the clothes and other air leakage outlets, and the clothes All the air outlets are closed, so that the hot air blown by the electric heater can directly act on the clothes, and the upper part of the heat-resistant plastic bracket is provided with a cavity that cooperates with the electric heater, so that the electric heater can be installed on the heat-resistant plastic bracket , the cavity of the heat-resistant plastic bracket is provided with a hook support rod connected with a hook, and the hook on the hook support rod can hang underwear, socks and other small pieces of clothing.
本发明有益效果:1、本发明结构简单、紧凑、轻便、携带使用方便、运用范围广泛;2、可以在冬天和阴雨天方便烘干衣物,给人们旅行出差晾干衣物带来了方便,且成本低;3、衣物所有风口被磁性塑料片封闭,故热风直接作用于衣物,能量利用率大大提高,使得干衣效果更好、速度更块,起到节能作用。 Beneficial effects of the present invention: 1. The present invention is simple in structure, compact, light, easy to carry and use, and has a wide range of applications; 2. It is convenient to dry clothes in winter and rainy days, which brings convenience to people on business trips to dry clothes, and Low cost; 3. All the air outlets of the clothes are closed by magnetic plastic sheets, so the hot air directly acts on the clothes, and the energy utilization rate is greatly improved, which makes the drying effect better and faster, and plays an energy-saving role.
附图说明 Description of drawings
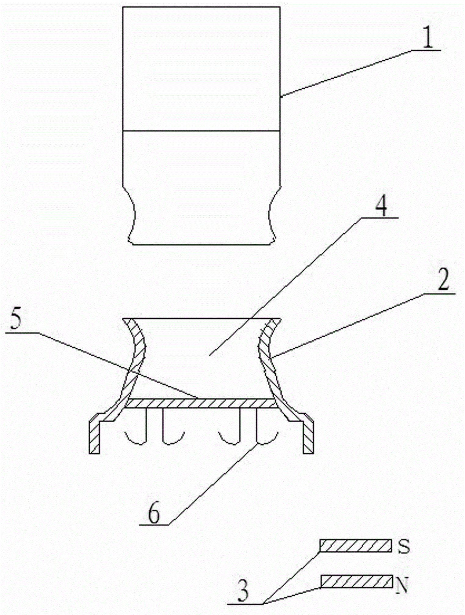
图1是本发明的结构示意图。 Fig. 1 is a structural schematic diagram of the present invention.
具体实施方式 Detailed ways
下面结合附图和实施方式对本发明作进一步详细说明。 The present invention will be described in further detail below in conjunction with the accompanying drawings and embodiments.
如图1所示,一种强制自动干衣器,包括电热风筒1、耐热塑料支架2、磁性塑料片3,耐热塑料支架2的上部设有与电热风筒1配合的空腔4,耐热塑料支架2的空腔4内设有连接有挂钩6的挂钩支撑杆5。使用时将电热风筒1安装于耐热塑料支架2的空腔4内,衣物套在耐热塑料支架2上,用磁性塑料片3夹紧衣物袖口及其他漏风出口,挂钩支撑杆5 As shown in Figure 1, a forced automatic clothes dryer includes an electric heating air cylinder 1, a heat-resistant plastic bracket 2, and a magnetic plastic sheet 3, and the upper part of the heat-resistant plastic bracket 2 is provided with a cavity 4 that cooperates with the electric heating air cylinder 1 , The cavity 4 of the heat-resistant plastic bracket 2 is provided with a hook support rod 5 connected with a hook 6 . When in use, install the electric heater 1 in the cavity 4 of the heat-resistant plastic bracket 2, put the clothes on the heat-resistant plastic bracket 2, clamp the cuffs of the clothes and other air leakage outlets with the magnetic plastic sheet 3, hook the support rod 5
上的挂钩6则可悬挂内衣裤,袜子等其他小件衣物,由于衣物所有风口被封闭,故电热风筒1吹出的热风可以直接作用于衣物,使得干衣效果更好、干衣速度更快。 The hook 6 on the top can hang underwear, socks and other small clothes. Since all the air outlets of the clothes are closed, the hot air blown by the electric heater 1 can directly act on the clothes, so that the drying effect is better and the drying speed is faster. .
以上所述,仅是本发明的较佳实施例而已,并非对本发明的结构作任何形式上的限制。凡是依据本发明的技术实质对以上实施例所作的任何简单修改、等同变化与修饰,均仍属于本发明的技术方案的范围内。 The above descriptions are only preferred embodiments of the present invention, and are not intended to limit the structure of the present invention in any form. All simple modifications, equivalent changes and modifications made to the above embodiments according to the technical essence of the present invention still fall within the scope of the technical solutions of the present invention.
Claims (1)
Priority Applications (1)
| Application Number | Priority Date | Filing Date | Title |
|---|---|---|---|
| CN2011101309911A CN102191676B (en) | 2011-05-20 | 2011-05-20 | Automatic forcible clothes drier |
Applications Claiming Priority (1)
| Application Number | Priority Date | Filing Date | Title |
|---|---|---|---|
| CN2011101309911A CN102191676B (en) | 2011-05-20 | 2011-05-20 | Automatic forcible clothes drier |
Publications (2)
| Publication Number | Publication Date |
|---|---|
| CN102191676A CN102191676A (en) | 2011-09-21 |
| CN102191676B true CN102191676B (en) | 2012-06-06 |
Family
ID=44600487
Family Applications (1)
| Application Number | Title | Priority Date | Filing Date |
|---|---|---|---|
| CN2011101309911A Expired - Fee Related CN102191676B (en) | 2011-05-20 | 2011-05-20 | Automatic forcible clothes drier |
Country Status (1)
| Country | Link |
|---|---|
| CN (1) | CN102191676B (en) |
Families Citing this family (1)
| Publication number | Priority date | Publication date | Assignee | Title |
|---|---|---|---|---|
| CN109440417B (en) * | 2018-12-21 | 2023-12-19 | 宁夏大学 | A portable multifunctional touch-controlled clothes dryer |
Citations (8)
| Publication number | Priority date | Publication date | Assignee | Title |
|---|---|---|---|---|
| JPH04371200A (en) | 1991-06-17 | 1992-12-24 | Nobuhisa Tateyama | Drying hanger |
| JP3931629B2 (en) * | 2001-11-05 | 2007-06-20 | 松下電器産業株式会社 | Clothing finishing equipment |
| CN101041933A (en) * | 2006-03-21 | 2007-09-26 | 陈久宾 | Multifunctional clothe hanger |
| CN201027265Y (en) * | 2007-02-09 | 2008-02-27 | 袁鸿斌 | Folding type airer |
| CN201180234Y (en) * | 2008-02-13 | 2009-01-14 | 张凤海 | Clothing rack capable of drying clothing |
| CN201206220Y (en) * | 2008-01-25 | 2009-03-11 | 袁鸿斌 | Folding cloth-drying support |
| CN201317887Y (en) * | 2008-12-10 | 2009-09-30 | 刘娟 | Air-blowing clothes hanger |
| CN101613926A (en) * | 2008-06-25 | 2009-12-30 | 同济大学附属七一中学 | A new type of hanger |
-
2011
- 2011-05-20 CN CN2011101309911A patent/CN102191676B/en not_active Expired - Fee Related
Patent Citations (8)
| Publication number | Priority date | Publication date | Assignee | Title |
|---|---|---|---|---|
| JPH04371200A (en) | 1991-06-17 | 1992-12-24 | Nobuhisa Tateyama | Drying hanger |
| JP3931629B2 (en) * | 2001-11-05 | 2007-06-20 | 松下電器産業株式会社 | Clothing finishing equipment |
| CN101041933A (en) * | 2006-03-21 | 2007-09-26 | 陈久宾 | Multifunctional clothe hanger |
| CN201027265Y (en) * | 2007-02-09 | 2008-02-27 | 袁鸿斌 | Folding type airer |
| CN201206220Y (en) * | 2008-01-25 | 2009-03-11 | 袁鸿斌 | Folding cloth-drying support |
| CN201180234Y (en) * | 2008-02-13 | 2009-01-14 | 张凤海 | Clothing rack capable of drying clothing |
| CN101613926A (en) * | 2008-06-25 | 2009-12-30 | 同济大学附属七一中学 | A new type of hanger |
| CN201317887Y (en) * | 2008-12-10 | 2009-09-30 | 刘娟 | Air-blowing clothes hanger |
Also Published As
| Publication number | Publication date |
|---|---|
| CN102191676A (en) | 2011-09-21 |
Similar Documents
| Publication | Publication Date | Title |
|---|---|---|
| CN103898722B (en) | Intelligent and high-efficiency solar air heat-collecting Multifunctional drier | |
| CN102191676B (en) | Automatic forcible clothes drier | |
| CN202989618U (en) | Drying device based on drying principle | |
| CN202000166U (en) | Blowing heating indoor laundry rack | |
| CN201952661U (en) | Solar clothes drying device | |
| CN202849821U (en) | Clothes airing rack | |
| CN104389148A (en) | An outdoor drying cabinet | |
| CN101613926A (en) | A new type of hanger | |
| CN202436794U (en) | Quick drying clothes rack | |
| CN104711831A (en) | Energy-saving clothes dryer | |
| CN203128892U (en) | Electrical-carbon dual-purpose clothes dryer | |
| CN202152425U (en) | Forced automatic clothes dryer | |
| CN201734435U (en) | Air-blowing drying rack | |
| CN204370207U (en) | Clothing rapid-curing cutback case | |
| CN205115876U (en) | Electric heat woman room heater that air -dries for oral administration | |
| CN204495026U (en) | Novel closed-type High-efficiency dryer | |
| CN202969098U (en) | Clothes dryer with two fans | |
| CN203768696U (en) | Heat-pump type clothes drying device | |
| CN206232997U (en) | A kind of clothes hanger with drying function | |
| CN201155054Y (en) | Rapid-drying baking device for wet clothes | |
| CN205012084U (en) | Air -source heat pump clothing articles for use drying equipment | |
| CN201068532Y (en) | Air source drying-machine | |
| CN218666815U (en) | Energy-concerving and environment-protective clothing drying device | |
| CN204728113U (en) | A kind of socks drying unit | |
| CN202390688U (en) | Novel household clothes drying machine |
Legal Events
| Date | Code | Title | Description |
|---|---|---|---|
| C06 | Publication | ||
| PB01 | Publication | ||
| C10 | Entry into substantive examination | ||
| SE01 | Entry into force of request for substantive examination | ||
| C14 | Grant of patent or utility model | ||
| GR01 | Patent grant | ||
| CF01 | Termination of patent right due to non-payment of annual fee |
Granted publication date: 20120606 Termination date: 20150520 |
|
| EXPY | Termination of patent right or utility model |
