CN102126262A - Blade type processing equipment and processing method of plastic and plantfiber composite materials - Google Patents
Blade type processing equipment and processing method of plastic and plantfiber composite materials Download PDFInfo
- Publication number
- CN102126262A CN102126262A CN201110044889XA CN201110044889A CN102126262A CN 102126262 A CN102126262 A CN 102126262A CN 201110044889X A CN201110044889X A CN 201110044889XA CN 201110044889 A CN201110044889 A CN 201110044889A CN 102126262 A CN102126262 A CN 102126262A
- Authority
- CN
- China
- Prior art keywords
- plastic
- plant fiber
- blade
- type
- feeding
- Prior art date
- Legal status (The legal status is an assumption and is not a legal conclusion. Google has not performed a legal analysis and makes no representation as to the accuracy of the status listed.)
- Pending
Links
Images
Classifications
-
- B—PERFORMING OPERATIONS; TRANSPORTING
- B29—WORKING OF PLASTICS; WORKING OF SUBSTANCES IN A PLASTIC STATE IN GENERAL
- B29C—SHAPING OR JOINING OF PLASTICS; SHAPING OF MATERIAL IN A PLASTIC STATE, NOT OTHERWISE PROVIDED FOR; AFTER-TREATMENT OF THE SHAPED PRODUCTS, e.g. REPAIRING
- B29C48/00—Extrusion moulding, i.e. expressing the moulding material through a die or nozzle which imparts the desired form; Apparatus therefor
- B29C48/25—Component parts, details or accessories; Auxiliary operations
- B29C48/36—Means for plasticising or homogenising the moulding material or forcing it through the nozzle or die
- B29C48/475—Means for plasticising or homogenising the moulding material or forcing it through the nozzle or die using pistons, accumulators or press rams
Landscapes
- Engineering & Computer Science (AREA)
- Mechanical Engineering (AREA)
- Extrusion Moulding Of Plastics Or The Like (AREA)
- Processing And Handling Of Plastics And Other Materials For Molding In General (AREA)
Abstract
本发明提供塑料和植物纤维复合材料的叶片式加工设备及加工方法。叶片式加工设备由贯穿于转子轴并依次连接的一组叶片式塑料喂料单元、一组以上奇数组叶片式塑料塑化输运单元、一组叶片式植物纤维喂料单元和一组以上复合材料混炼输运单元构成。在塑料喂料单元上部开设塑料加料口及加料口上的加料料斗,植物纤维喂料单元上部开设植物纤维计量加料器。植物纤维喂料单元与塑料喂料单元的轴向宽度比为1∶1~50,利用两个喂料单元的工作容积差及植物纤维计量加料器,将植物纤维和塑料喂入叶片进行塑化挤压加工。本发明能将植物纤维独立定量导入并与塑料基材均匀分散混合,有效减少植物纤维的热降解,保持植物纤维长径比,提高复合材料制品的性能。
The invention provides blade-type processing equipment and a processing method for plastic and plant fiber composite materials. The blade type processing equipment consists of a group of blade type plastic feeding units that run through the rotor shaft and are connected in sequence, more than one group of odd groups of blade type plastic plasticizing and transporting units, a group of blade type plant fiber feeding units and more than one group of composite Composition of material mixing and transportation unit. A plastic feeding port and a feeding hopper on the feeding port are provided on the upper part of the plastic feeding unit, and a plant fiber metering feeder is provided on the upper part of the plant fiber feeding unit. The axial width ratio of the plant fiber feeding unit to the plastic feeding unit is 1:1~50, using the working volume difference between the two feeding units and the plant fiber metering feeder, the plant fiber and plastic are fed into the blade for plasticization Extrusion processing. The invention can independently and quantitatively introduce plant fibers and uniformly disperse and mix them with plastic substrates, effectively reduce the thermal degradation of plant fibers, maintain the aspect ratio of plant fibers, and improve the performance of composite material products.
Description
技术领域technical field
本发明涉及复合材料加工方法与设备,具体涉及塑料和植物纤维复合材料的叶片式加工设备及方法The invention relates to a composite material processing method and equipment, in particular to a blade-type processing equipment and method for plastic and plant fiber composite materials
背景技术Background technique
对于塑料和植物纤维复合材料的成型加工,当前普遍采用的加料方法是植物纤维、塑料和其他添加剂混合均匀后一同由加料口加入,直接进入螺杆式挤出机或注射机中进行加工成型。这种植物纤维导入方式存在两个主要的问题:(1)在塑化输运过程中,由于植物纤维需要与塑料共同经过固体输送、熔融塑化和熔体输送过程,植物纤维会在金属壁面的摩擦力、固体塑料的挤压剪切力、熔体的黏滞力、纤维之间的作用力等力作用下折断,而致使纤维长径比变小,特别是固体输送过程和熔融过程对纤维的破坏作用最为严重;(2)因植物纤维和塑料的密度相差较大,在料斗进料时会发生植物纤维和塑料的分层现象,使得原料混合不均匀并影响产品质量。For the molding and processing of plastic and plant fiber composite materials, the currently commonly used feeding method is that plant fiber, plastic and other additives are mixed evenly and added together through the feed port, and directly enter the screw extruder or injection machine for processing and molding. There are two main problems in this plant fiber introduction method: (1) During the plasticizing and transporting process, since the plant fiber needs to go through the solid transport, melt plasticization and melt transport process together with the plastic, the plant fiber will be on the metal wall. The friction force of the solid plastic, the extrusion shear force of the solid plastic, the viscous force of the melt, the force between the fibers, etc., cause the fiber length-to-diameter ratio to become smaller, especially for the solid conveying process and the melting process. The destructive effect of fiber is the most serious; (2) because the density of plant fiber and plastic is quite different, the stratification phenomenon of plant fiber and plastic can occur when feeding in the hopper, makes raw material mixing uneven and affects product quality.
虽然目前也有在料斗后设立单独加料口以单独加入纤维的技术方案公开,但是受传统螺杆挤压输送结构的限制,还是存在加料不均匀、植物纤维成型过程长径比的大幅度减小等诸多缺陷。CN200710018210.3公开了一种木塑复合材料专用锥形双螺杆挤出机,通过在机筒上合理布置冷却段和加热段位置,改进排气和螺杆结构,解决了木塑复合材料挤出中出现的木粉或其他纤维材料过热分解、原料不能充分塑化、材料各组分混合不均匀、排气口冒料、挤出过程不稳定等问题,但并未能摆脱传统螺杆式加工方法对塑料和植物纤维复合材料的限制。传统的螺杆加工机械中,物料塑化输运主要是靠螺杆旋转时对物料的拖曳作用,固体输送为摩擦拖曳,熔体输送为粘性拖曳,物料的速度梯度与其流动和变形方向垂直,这种流动与变形受剪切应力支配。采用传统的螺杆塑化输送方式获得的强制剪切分散作用会造成制品中的纤维长径比大幅度减小,容易造成局部高温使物料降解,存在强制混炼与低温加工的矛盾,物料塑化输运所经历的热机械历程长、能耗大等缺陷,不利于塑料和植物纤维复合材料的挤出成型。Although there is currently a technical solution for setting up a separate feeding port behind the hopper to add fibers separately, but due to the limitations of the traditional screw extrusion conveying structure, there are still many problems such as uneven feeding and a large reduction in the length-to-diameter ratio of the plant fiber forming process. defect. CN200710018210.3 discloses a special conical twin-screw extruder for wood-plastic composite materials. By reasonably arranging the positions of the cooling section and the heating section on the barrel, and improving the exhaust and screw structure, it solves the problem of extrusion of wood-plastic composite materials. Overheating and decomposition of wood powder or other fiber materials, insufficient plasticization of raw materials, uneven mixing of various components of the material, material leakage at the exhaust port, and unstable extrusion process have not been eliminated, but they have not been able to get rid of the traditional screw processing method. Limitations of plastic and plant fiber composites. In traditional screw processing machinery, the plasticizing and transporting of materials mainly depends on the drag effect on the material when the screw rotates. The solid transport is friction drag, and the melt transport is viscous drag. The velocity gradient of the material is perpendicular to its flow and deformation direction. Flow and deformation are governed by shear stress. The forced shear dispersion obtained by the traditional screw plasticizing conveying method will cause the fiber length-to-diameter ratio in the product to be greatly reduced, and it is easy to cause local high temperature to degrade the material. There is a contradiction between forced mixing and low-temperature processing, and the material is plasticized. The defects of long thermomechanical process and high energy consumption during transportation are not conducive to the extrusion molding of plastic and plant fiber composite materials.
ZL200810026054.X公开了一种基于拉伸流变的高分子材料塑化输运方法及设备,其原理是通过塑化输运空间的周期性变化实现拉伸形变主导的短热机械历程的聚合物塑化输运,并公开了一种由叶片式塑化输运单元组合而成的塑料加工设备。但公开的塑化输运方法及设备仅设置有一个加料口,无法按照塑料与植物纤维的配比关系实现植物纤维的定量均匀加入,不适用于塑料和植物纤维复合材料的加工。ZL200810026054.X discloses a method and equipment for plasticizing and transporting polymer materials based on extensional rheology. The principle is to achieve a polymer with a short thermomechanical history dominated by tensile deformation through periodic changes in the plasticizing transport space. The invention relates to plasticizing transportation, and discloses a plastic processing equipment composed of blade type plasticizing transportation units. However, the disclosed plasticizing transportation method and equipment are provided with only one feeding port, which cannot realize quantitative and uniform addition of plant fibers according to the ratio of plastics and plant fibers, and are not suitable for processing plastics and plant fiber composite materials.
发明内容Contents of the invention
本发明的目的在于克服现有技术存在的上述缺点,提供一种塑料和植物纤维复合材料的叶片式加工设备及加工方法,以解决了螺杆塑化输运过程中塑化能力主要依赖物料与金属料筒表面之间的摩擦力和物料内摩擦力的问题,并且实现了塑料与植物纤维的分别导入。The purpose of the present invention is to overcome the above-mentioned shortcomings existing in the prior art, and to provide a blade-type processing equipment and processing method for plastic and plant fiber composite materials, so as to solve the problem that the plasticizing capacity of the screw plasticizing transportation mainly depends on materials and metals. The problem of friction between the surface of the barrel and the internal friction of the material is solved, and the separate introduction of plastic and plant fiber is realized.
本发明提供的塑料和植物纤维复合材料的叶片式加工设备,由贯穿于转子轴并依次连接的叶片式塑料喂料单元、一组以上的奇数组叶片式塑料塑化输运单元和一组以上复合材料混炼输运单元构成,在叶片式塑料喂料单元上开设塑料加料口,塑料加料口之上安装塑料加料料斗,所述叶片式塑料塑化输运单元后端安装叶片式植物纤维喂料单元,叶片式植物纤维喂料单元上面安装植物纤维计量加料器。The vane-type processing equipment for plastic and plant fiber composite materials provided by the present invention consists of a vane-type plastic feeding unit that runs through the rotor shaft and is connected in sequence, more than one set of odd-group vane-type plastic plasticizing and transporting units, and more than one set The composite material mixing and transporting unit is composed of a plastic feeding port on the blade-type plastic feeding unit, a plastic feeding hopper is installed on the plastic feeding port, and a blade-type plant fiber feeding Feeding unit, a plant fiber metering feeder is installed on the blade type plant fiber feeding unit.
上述叶片式植物纤维喂料单元与叶片式塑料喂料单元的轴向宽度比为1∶1~50,此比值具体根据要求加工的复合材料的配比范围更改。由于在叶片式植物纤维喂料单元要加入与塑料成一定配比的植物纤维,该喂料单元中的物料体积增大,因此叶片式植物纤维喂料单元的轴向宽度需要加大。例如,当复合材料中植物纤维体积含量为50%时,叶片式植物纤维喂料单元与叶片式塑料喂料单元的轴向宽度比就至少为2。当纤维含量为90%时,宽度比至少为10,若但考虑到植物纤维的松密度比较小,且不同种类植物纤维的松密度也不一样,因此宽度比还应该适当增加。利用植物纤维喂料单元和塑料喂料单元的工作容积差以及植物纤维计量加料器的作用,实现植物纤维喂入叶片塑化挤压系统的功能。The axial width ratio of the vane-type plant fiber feeding unit to the vane-type plastic feeding unit is 1:1-50, and this ratio can be changed according to the ratio range of the composite material to be processed. Since plant fiber with a certain ratio of plastic is added to the blade-type plant fiber feeding unit, the volume of the material in the feed unit increases, so the axial width of the blade-type plant fiber feeding unit needs to be increased. For example, when the volume content of plant fiber in the composite material is 50%, the ratio of the axial width of the vane-type plant fiber feeding unit to the vane-type plastic feeding unit is at least 2. When the fiber content is 90%, the width ratio is at least 10, but considering that the bulk density of plant fibers is relatively small, and the bulk density of different types of plant fibers is not the same, so the width ratio should be increased appropriately. The function of feeding the plant fiber into the blade plasticizing extrusion system is realized by using the working volume difference between the plant fiber feeding unit and the plastic feeding unit and the function of the plant fiber metering feeder.
上述塑料和植物纤维复合材料的叶片式加工设备既可以作为塑料和植物纤维复合材料的叶片式挤出机,还可以作为塑料和植物纤维复合材料预塑化单元与柱塞注射单元组合成叶片式塑化注射机。The blade-type processing equipment for plastic and plant fiber composite materials mentioned above can be used not only as a blade-type extruder for plastic and plant fiber composite materials, but also as a blade-type plastic and plant fiber composite material pre-plasticizing unit combined with a plunger injection unit Plasticizing injection machine.
本发明还提供塑料和植物纤维复合材料的叶片式加工方法,在于将基于拉伸流变的高分子材料塑化输运方法引入到塑料和植物纤维复合材料的加工过程中,将上述叶片式加工设备中叶片式植物纤维喂料单元的轴向宽度加大,使其工作容积大于叶片式塑料喂料单元的工作容积,利用这两个喂料单元的工作容积差以及植物纤维计量加料器,实现植物纤维和塑料喂入叶片进行塑化挤压加工。The present invention also provides a blade-type processing method for plastics and plant fiber composite materials, which is to introduce the polymer material plasticizing and transporting method based on extensional rheology into the processing process of plastics and plant fiber composite materials. The axial width of the blade-type plant fiber feeding unit in the equipment is enlarged, so that its working volume is larger than that of the blade-type plastic feeding unit, and the working volume difference between the two feeding units and the plant fiber metering feeder are used to realize Plant fibers and plastic are fed into the blades for plasticizing and extrusion processing.
本发明提供的方法具体是通过下述方案来实现的:在转子轴1的驱动下,塑料及其他助剂由塑料加料口纳入叶片式塑料喂料单元,并由于输运空间由大变小而在挤压力的作用下进入叶片式塑料塑化输运单元,若塑料经过一个叶片式塑料塑化输运单元后塑化效果好时,可在该叶片式塑料塑化输运单元后开设叶片式植物纤维喂料单元;若塑料经过一个叶片式塑料塑化输运单元后还需要进一步塑化时,经随后若干组的偶数组叶片式塑料塑化输运单元完成塑料的熔融塑化。这是因为奇数组的叶片式塑化输运单元后的输运单元上部是容积逐渐增大的吸料区,可在奇数组的叶片式塑化输运单元后开设叶片式植物纤维喂料口,而偶数组的叶片塑化输运单元后的输运单元上部是容积逐渐减小的压料区,不能开设喂料口。由于叶片输运单元具有正位移特性,因此可通过调节植物纤维计量加料器的加料速度控制植物纤维与塑料的配比。The method provided by the present invention is specifically realized through the following scheme: under the drive of the
本发明的特点在于利用基于拉伸流变的高分子材料塑化输运方法的作用,并在塑料喂料单元后设立单独的植物纤维加料口,能实现植物纤维独立定量导入并与塑料基材均匀分散混合,并能有效减少植物纤维的热降解,保持植物纤维的长径比,从而提高复合材料制品的性能,达到按照配比要求均匀加入植物纤维并且较好保持其长径比的目的。解决了螺杆塑化输运过程中塑化能力主要依赖物料与金属料筒表面之间的摩擦力和物料内摩擦力的问题,并且实现了塑料与植物纤维的分别导入。The feature of the present invention is to utilize the effect of the polymer material plasticizing transport method based on extensional rheology, and set up a separate plant fiber feeding port behind the plastic feeding unit, which can realize the independent quantitative introduction of plant fiber and combine with the plastic base material Evenly disperse and mix, and can effectively reduce the thermal degradation of plant fibers, maintain the aspect ratio of plant fibers, thereby improving the performance of composite products, and achieve the purpose of adding plant fibers evenly according to the ratio requirements and better maintaining their aspect ratio. It solves the problem that the plasticizing capacity mainly depends on the friction force between the material and the surface of the metal barrel and the internal friction force of the material during the screw plasticizing transportation process, and realizes the separate introduction of plastic and plant fiber.
与现有技术相比,本发明具有如下优点:Compared with prior art, the present invention has following advantage:
1、本发明提供的设备是在塑料喂料单元后设立单独的植物纤维喂料单元,能够单独、定量导入植物纤维,克服由同一个料斗一同加料时物料分层造成的配比不均匀问题。1. The equipment provided by the present invention is to set up a separate plant fiber feeding unit behind the plastic feeding unit, which can independently and quantitatively introduce plant fibers, and overcome the problem of uneven proportioning caused by material layering when fed together by the same hopper.
2、本发明是在塑料熔融的状态下导入植物纤维,避免前期搅拌混合以及固体物料输送过程中外力对植物纤维长径比的破坏。2. The present invention introduces plant fibers in the state of plastic melting, avoiding the destruction of plant fiber aspect ratio by external force during stirring and mixing in the early stage and solid material conveying process.
3、本发明的塑化输运过程以拉伸力场为主导作用,纤维可以很快沿拉伸形变的作用方向取向,有利于纤维团聚体的解缠因而分散效果更好;同时避免了在剪切流场作用下,柔性纤维旋转运动过程中发生弯曲变形,造成的纤维的折断,可以保持植物纤维的大长径比,从而更适合植物短纤维和聚合物复合材料的制备,并大大提高制品的力学性能。3. The plasticizing and transporting process of the present invention is dominated by the tensile force field, and the fibers can be oriented quickly along the direction of the tensile deformation, which is beneficial to the disentanglement of the fiber aggregates and thus has a better dispersion effect; Under the action of the shear flow field, the bending deformation of the flexible fiber occurs during the rotational movement, resulting in the breaking of the fiber, which can maintain the large aspect ratio of the plant fiber, which is more suitable for the preparation of short plant fibers and polymer composite materials, and greatly improves The mechanical properties of the product.
4、本发明使得完成塑化输运过程所经历的热机械历程大大缩短,塑化输运能耗降低,同时物料的停留时间大幅度减少,减少了物料降解几率。4. The present invention greatly shortens the thermomechanical process experienced in the plasticization and transportation process, reduces the energy consumption of plasticization and transportation, and at the same time greatly reduces the residence time of materials, reducing the probability of material degradation.
5、基于空间容积变化的强制输送使物料的热机械历程分布窄,物料温度分布均匀,可有效降低加工温度,制品品质波动小。5. The forced conveying based on the change of space volume narrows the distribution of thermomechanical history of the material, and the temperature distribution of the material is uniform, which can effectively reduce the processing temperature and reduce the fluctuation of product quality.
6、本发明利用叶片输运单元的正位移输送特性,使塑化输运能力不依赖于物料的物理特性,特别适用于松密度低的植物短纤维的输送,因而塑化输运稳定性提高,对物料适应性提高。6. The present invention utilizes the positive displacement conveying characteristics of the blade conveying unit, so that the plasticizing conveying ability does not depend on the physical properties of the material, and is especially suitable for conveying short plant fibers with low bulk density, thus improving the stability of plasticizing conveying , Improve adaptability to materials.
附图说明Description of drawings
图1为塑料和植物纤维复合材料的叶片式挤出机结构示意图;Fig. 1 is the structural representation of the vane type extruder of plastics and plant fiber composite material;
图2为塑料和植物纤维复合材料的叶片式塑化注射机结构示意图。Fig. 2 is a schematic structural diagram of a vane-type plasticizing injection machine for plastic and plant fiber composite materials.
具体实施方式Detailed ways
下面结合附图和实施例对本发明做进一步的说明,但本发明要求保护的范围并不局限于实施例表述的范围。The present invention will be further described below in conjunction with the accompanying drawings and examples, but the protection scope of the present invention is not limited to the range expressed in the examples.
实施例1Example 1
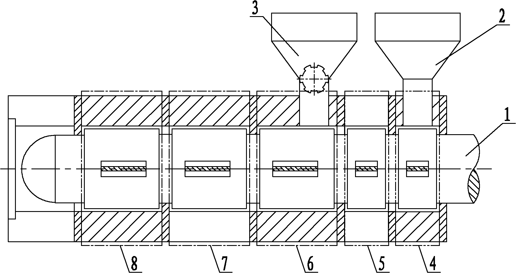
参考图1,塑料和植物纤维复合材料的叶片式挤出机由贯穿于转子轴1并依次连接的一组叶片式塑料喂料单元4、一组叶片式塑料塑化输运单元5、一组叶片式植物纤维喂料单元6和两组复合材料混炼输运单元7和8构成。在塑料喂料单元上部开设有塑料加料口,塑料加料料斗2开设在该叶片式塑料喂料单元4的加料口之上。在转子轴1的驱动下,塑料及其他助剂由塑料加料口纳入叶片式塑料喂料单元4中,并由于输运空间由大变小而在挤压力的作用下进入叶片式塑料塑化输运单元5完成塑料的熔融塑化。之后塑料熔体进入叶片式植物纤维喂料单元6,叶片式植物纤维喂料单元6沿轴向方向上的宽度大于叶片式塑料喂料单元4轴向方向上的宽度。由于叶片式植物纤维喂料单元6的容积大于前面的叶片式塑料塑化输运单元5,熔体压力降低,因而植物纤维可以由设置在该单元定子对应吸料区的植物纤维加料口纳入。植物纤维加料口上方设置有植物纤维计量加料器3,由于叶片输运单元具有正位移特性,因此可通过调节植物纤维计量加料器3的加料速度控制植物纤维与塑料的配比。最后再经连接在复合材料混炼输运单元8的过渡套上的模具挤出、冷却、定型得到制品。Referring to Fig. 1, the vane type extruder of plastic and plant fiber composite material is composed of a group of vane type plastic feeding units 4, a group of vane type plastic plasticizing and transporting units 5, a group of The blade-type plant
此外,叶片式植物纤维喂料单元和叶片式塑料喂料单元的轴向宽度具体比值根据复合材料中采用的植物纤维的体积比和植物纤维的松密度来进行调整。In addition, the specific ratio of the axial width of the vane-type plant fiber feeding unit to the vane-type plastic feeding unit is adjusted according to the volume ratio of the plant fibers used in the composite material and the bulk density of the plant fibers.
实施例2Example 2
参考图2,基于叶片塑化的塑料和植物纤维复合材料的叶片式塑化注射机主要由塑料和植物纤维复合材料预塑化单元9、柱塞注射单元13和集料器10构成,其中,柱塞注射单元13由注射料筒11、注射活塞12构成。集料器10的进料端面与塑料和植物纤维复合材料预塑化单元9的出料端面固定连接,集料器10的出料端面与柱塞注射单元的注射料筒11的进料端面固定连接。由塑料和植物纤维复合材料预塑化单元9塑化好的复合材料熔体经过集料器10进入柱塞注射单元的注射料筒11中,在熔体的压力下柱塞注射单元13的注射活塞12后退,当注射料筒11中储料量达到注射制品要求的计量值时塑料和植物纤维复合材料预塑化单元9停止塑化,注射机的塑化计量工序结束。待注射机完成充模、保压工序后,在制品冷却阶段塑料和植物纤维复合材料预塑化单元9开始塑化,注射机开始制品成型的新一个周期。Referring to Fig. 2, the blade-type plasticizing injection machine based on plasticized plastic and plant fiber composite material is mainly composed of plastic and plant fiber composite
Claims (4)
Priority Applications (1)
| Application Number | Priority Date | Filing Date | Title |
|---|---|---|---|
| CN201110044889XA CN102126262A (en) | 2011-02-24 | 2011-02-24 | Blade type processing equipment and processing method of plastic and plantfiber composite materials |
Applications Claiming Priority (1)
| Application Number | Priority Date | Filing Date | Title |
|---|---|---|---|
| CN201110044889XA CN102126262A (en) | 2011-02-24 | 2011-02-24 | Blade type processing equipment and processing method of plastic and plantfiber composite materials |
Publications (1)
| Publication Number | Publication Date |
|---|---|
| CN102126262A true CN102126262A (en) | 2011-07-20 |
Family
ID=44264674
Family Applications (1)
| Application Number | Title | Priority Date | Filing Date |
|---|---|---|---|
| CN201110044889XA Pending CN102126262A (en) | 2011-02-24 | 2011-02-24 | Blade type processing equipment and processing method of plastic and plantfiber composite materials |
Country Status (1)
| Country | Link |
|---|---|
| CN (1) | CN102126262A (en) |
Cited By (3)
| Publication number | Priority date | Publication date | Assignee | Title |
|---|---|---|---|---|
| CN108890910A (en) * | 2018-07-12 | 2018-11-27 | 华南理工大学 | Biomass based on volume fluctuation continuously dodges quick-fried and in-situ blending method and apparatus |
| CN109624237A (en) * | 2019-01-09 | 2019-04-16 | 泰瑞机器股份有限公司 | Special polymer material vacuum forges and presses molding forming machine |
| CN113211743A (en) * | 2021-04-27 | 2021-08-06 | 华南理工大学 | Extrusion-injection compression molding method for series explosion synergistic blending fiber reinforced plastic parts |
Citations (7)
| Publication number | Priority date | Publication date | Assignee | Title |
|---|---|---|---|---|
| US3869111A (en) * | 1973-12-10 | 1975-03-04 | Intercole Automation Inc | Apparatus for mixing rubber, elastomer, plastic and the like |
| EP1254008B9 (en) * | 2000-02-08 | 2006-05-03 | Sand S.R.L. | Method for manufacturing anti-crash panels and apparatus for carrying out the method |
| CN2925844Y (en) * | 2006-05-19 | 2007-07-25 | 林军 | Reinforced-fibre thermoplastic double-screw extruder |
| CN101138882A (en) * | 2007-06-16 | 2008-03-12 | 宝鸡秦川未来塑料机械有限责任公司 | Conical double screw extruder special for wood plastic composite material |
| CN101219565A (en) * | 2008-01-25 | 2008-07-16 | 华南理工大学 | Plasticizing and transporting method and equipment for polymer materials based on extensional rheology |
| CN101469107A (en) * | 2007-12-25 | 2009-07-01 | 上海普利特复合材料股份有限公司 | Glass fiber reinforced PBT / ABS composite material with excellent surface and high fluidity |
| CN202088322U (en) * | 2011-02-24 | 2011-12-28 | 华南理工大学 | Blade type device for processing plastics and vegetable fiber composite materials |
-
2011
- 2011-02-24 CN CN201110044889XA patent/CN102126262A/en active Pending
Patent Citations (7)
| Publication number | Priority date | Publication date | Assignee | Title |
|---|---|---|---|---|
| US3869111A (en) * | 1973-12-10 | 1975-03-04 | Intercole Automation Inc | Apparatus for mixing rubber, elastomer, plastic and the like |
| EP1254008B9 (en) * | 2000-02-08 | 2006-05-03 | Sand S.R.L. | Method for manufacturing anti-crash panels and apparatus for carrying out the method |
| CN2925844Y (en) * | 2006-05-19 | 2007-07-25 | 林军 | Reinforced-fibre thermoplastic double-screw extruder |
| CN101138882A (en) * | 2007-06-16 | 2008-03-12 | 宝鸡秦川未来塑料机械有限责任公司 | Conical double screw extruder special for wood plastic composite material |
| CN101469107A (en) * | 2007-12-25 | 2009-07-01 | 上海普利特复合材料股份有限公司 | Glass fiber reinforced PBT / ABS composite material with excellent surface and high fluidity |
| CN101219565A (en) * | 2008-01-25 | 2008-07-16 | 华南理工大学 | Plasticizing and transporting method and equipment for polymer materials based on extensional rheology |
| CN202088322U (en) * | 2011-02-24 | 2011-12-28 | 华南理工大学 | Blade type device for processing plastics and vegetable fiber composite materials |
Cited By (5)
| Publication number | Priority date | Publication date | Assignee | Title |
|---|---|---|---|---|
| CN108890910A (en) * | 2018-07-12 | 2018-11-27 | 华南理工大学 | Biomass based on volume fluctuation continuously dodges quick-fried and in-situ blending method and apparatus |
| CN108890910B (en) * | 2018-07-12 | 2023-08-25 | 华南理工大学 | Biomass continuous flash explosion and in-situ blending method and equipment based on volume pulsation |
| CN109624237A (en) * | 2019-01-09 | 2019-04-16 | 泰瑞机器股份有限公司 | Special polymer material vacuum forges and presses molding forming machine |
| CN109624237B (en) * | 2019-01-09 | 2023-11-24 | 泰瑞机器股份有限公司 | Vacuum forging and moulding machine for special polymer material |
| CN113211743A (en) * | 2021-04-27 | 2021-08-06 | 华南理工大学 | Extrusion-injection compression molding method for series explosion synergistic blending fiber reinforced plastic parts |
Similar Documents
| Publication | Publication Date | Title |
|---|---|---|
| CA2989360C (en) | Biaxial or tri-axial eccentric rotor volume pulsed deformation plasticizing method and device | |
| AU2015258536B2 (en) | Plasticizing delivery method and device using eccentric rotor and having pulsed volume deformation | |
| CN100496927C (en) | Polymer material plasticizing and transporting method and apparatus based on draft flowing deformation | |
| CN216329315U (en) | Banburying extruder | |
| CN205238526U (en) | A parallel twin -screw of syntropy for producing plastics processing auxiliary agent master batch | |
| CN102126262A (en) | Blade type processing equipment and processing method of plastic and plantfiber composite materials | |
| CN202088322U (en) | Blade type device for processing plastics and vegetable fiber composite materials | |
| CN104400931A (en) | Two-stage extrusion pelletizer with high revolving speed, high shear and high dispersion | |
| CN201493971U (en) | Stretching rheology and shear rheology based high polymer material plasticizing transport device | |
| CN204322344U (en) | A kind of two rank extruding granulator of high rotating speed high shear high dispersive | |
| CN101700692A (en) | A dissimilated twin-cone screw extrusion molding device | |
| CN204801010U (en) | Extruder | |
| CN201645778U (en) | Novel wire drawing machine with double-screw melt extrusion pump with stable extrusion flow rate | |
| CN201960728U (en) | Double screw extruder | |
| CN103182775B (en) | The volume displaced tensile deformation plasticizing processing method of a kind of twin-screw and equipment | |
| CN206937890U (en) | It is a kind of that there is the corrosion-resistant screw rod for being kneaded block structure | |
| CN115891097B (en) | High-performance wood-plastic composite material one-step extrusion molding energy-saving equipment | |
| CN201745156U (en) | Screw rod of double screw rod equidirectional compounding extruding machine | |
| CN216299908U (en) | Double-screw extruder for PET chemical foaming | |
| CN205614958U (en) | Biax, triaxial eccentric rotor volume pulsation deformation plastify processingequipment | |
| CN205086336U (en) | Rubber developments plastify extruder | |
| CN113211743A (en) | Extrusion-injection compression molding method for series explosion synergistic blending fiber reinforced plastic parts | |
| CN207207019U (en) | Synchronous plasticizing metered shot former based on eccentric rotor | |
| CN204773488U (en) | Novel special double screw extruder of polymer plastic | |
| CN104924574A (en) | A hydraulically driven rubber dynamic plasticizing extrusion method and equipment |
Legal Events
| Date | Code | Title | Description |
|---|---|---|---|
| C06 | Publication | ||
| PB01 | Publication | ||
| C10 | Entry into substantive examination | ||
| SE01 | Entry into force of request for substantive examination | ||
| C02 | Deemed withdrawal of patent application after publication (patent law 2001) | ||
| WD01 | Invention patent application deemed withdrawn after publication |
Application publication date: 20110720 |
