CN102082490A - 一种大推力永磁直驱式直线电机 - Google Patents
一种大推力永磁直驱式直线电机 Download PDFInfo
- Publication number
- CN102082490A CN102082490A CN 201110028079 CN201110028079A CN102082490A CN 102082490 A CN102082490 A CN 102082490A CN 201110028079 CN201110028079 CN 201110028079 CN 201110028079 A CN201110028079 A CN 201110028079A CN 102082490 A CN102082490 A CN 102082490A
- Authority
- CN
- China
- Prior art keywords
- motor
- permanent magnet
- primary
- linear electric
- magnet direct
- Prior art date
- Legal status (The legal status is an assumption and is not a legal conclusion. Google has not performed a legal analysis and makes no representation as to the accuracy of the status listed.)
- Pending
Links
Images
Landscapes
- Linear Motors (AREA)
Abstract
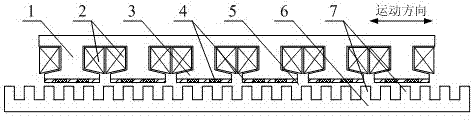
本发明涉及一种大推力永磁直驱式直线电机,该电机包括电机初级和电机次级;所述电机初级包括设有线槽的初级铁心(1)、嵌入初级铁心(1)线槽内的电枢绕组(2)、初级极靴(3)以及安装于初级极靴(3)表面的永磁体(4);所述电机次级包括次级铁心(6)和次级凸极(7);电机初级和电机次级之间设有气隙(5);电机初级固定,电机次级沿电机运动方向直线运动。电机包括单边平板式、双边平板式和圆筒式结构。本发明利用电机特殊的结构,调制电机的气隙磁阻分布,电机运行时,电机初级内永磁磁通的运动速度成倍于电机次级的运动速度,实现升速的效果。该电机适用于低速直驱应用场合,具有功率密度高,额定推力大等特点。
Description
技术领域
本发明涉及一种大推力永磁直线电机,具体是适用于低速场合的直驱永磁电机,本发明涉及电工、电机领域。
背景技术
根据电机设计原理,在额定功率确定的情况下,动子运动速度越高,电机的体积、重量和制造成本就越小。在很多诸如海浪发电、轨道交通驱动等低速场合,通常需要利用体积庞大的齿轮箱等机械装置进行变速驱动,并使用“旋转—直线”转换装置改变运动形式,以匹配电机的高速旋转运动与工况需要的低速直线运动,来提高电机本体的功率密度,降低电机的制造成本。而大量机械装置的使用将不可避免的带来噪声、机械损耗以及需要定期维护等问题,并将明显增加结构的复杂性以及体积和重量。
直驱式直线电机可以直接用于低速工况,省去了额外的齿轮箱和“旋转-直线”等中间转换装置,大大简化了系统结构,减小整个系统的体积和重量,同时,系统的可靠性、效率和功率密度等都将得到有效地提高,因此,直驱式直线电机逐渐成为国内外学者的研究热点。但是,由于直驱式直线电机动子运行速度低,通常传统直驱式直线电机具有体积大,初级和次级极对数多等特点,给电机制造和安装带来很大的困难,制造成本较高。
发明内容
技术问题:本发明针对现有技术的不足进行设计,提出了一种大推力永磁直驱式直线电机,目的在于提高低速大推力应用情况下电机系统的功率密度,简化系统结构,提高运行效率。
技术方案:为解决上述技术问题,本发明提供的一种大推力永磁直驱式直线电机包括电机初级和电机次级构成;所述电机初级包括设有线槽的初级铁心、嵌入初级铁心线槽内的电枢绕组、初级极靴以及安装于初级极靴表面的永磁体,永磁体的充磁方向垂直于初级极靴的表面,永磁体沿电机运动方向依次排列;所述电机次级包括次级铁心和次级凸极;所述电机初级和电机次级之间设有气隙;所述电机初级固定不动,电机次级沿着电机运动方向做直线运动。该大推力永磁直驱式直线电机包括单边平板式、双边平板式和圆筒式结构。
所述的每个极靴上的永磁体充磁方向垂直于初级极靴表面,且相邻永磁体充磁方向相反,构成N-S交替充磁结构,使气隙内的磁通密度成类正弦分布。
所述的永磁体布满整个电机初级气隙侧表面,设计成闭口槽结构;或所述的永磁体仅仅贴装于极靴表面,设计成开口槽结构,且每个初级极靴的宽度与永磁体的极距之比为大于1的自然数或分数。所述电枢绕组可以绕制成集中或分布形式。
该大推力永磁直驱式直线电机可以用作电动机,也可以用作发电机。
有益效果:
1)利用特殊的电机定次级结构,调制电机的气隙磁阻分布,电机运行时,电机初级内永磁磁通的运动速度成倍于电机次级的运动速度,实现升速的效果,以提高电机额定输出推力和功率密度;
2)永磁体和绕组均被安装于电机初级上固定不动,便于电机的冷却;
3)电枢绕组不限制为集中绕组,电机极数配比更具多样性;
4)初级极靴的宽度与永磁体极距之比为大于1的自然数或分数,较现有技术而言,取值多样,为电机设计带来很大的灵活性,同时便于通过设计合理的永磁体和次级凸极数量,以减小电机定位力,避免使用斜槽等措施,降低制造难度和成本;
5)电机次级仅为带有凸极的铁心结构,机械强度大,适用于大推力输出工况;
附图说明
图1为结构一:大推力永磁直线直驱电机闭口槽结构示意图,
图2为结构二:大推力永磁直线直驱电机开口槽结构(极靴宽度与永磁体极距之比为分数)示意图,
图3为结构三:大推力永磁直线直驱电机开口槽结构(极靴宽度与永磁体极距之比为自然数)示意图,
图中:初级铁心1,电枢绕组2,初级极靴3,永磁体4,气隙5,次级铁心6,次级凸极7。
具体实施方式
下面结合附图对本发明做进一步说明。
本发明提供的大推力永磁直驱式直驱电机适用于低速大推力工况,可以作为直驱电机运行于电动或发电状态,其结构包括电机初级和电机次级,该电机初级包括设有线槽的初级铁心、电枢绕组、初级极靴和永磁体,电枢绕组嵌入初级铁心线槽内,永磁体安装于初级极靴表面;电机次级包括次级铁心和次级凸极;在电机初级永磁体和次级凸极之间设有气隙。
所述的初级铁心和次级铁心均由硅钢叠片或其他导磁材料构成。
所述的每个极靴上的有多个永磁体沿着电机运动方向依次排列,这些永磁体的充磁方向垂直于初级极靴表面,且相邻永磁体充磁方向相反,构成N-S交替充磁结构,使气隙内的磁通密度成类正弦分布。
所述的永磁体可以布满整个电机初级气隙侧表面,设计成闭口槽结构;或所述的永磁体仅仅贴装于极靴表面,设计成开口槽结构,且每个初级极靴的宽度与永磁体的极距之比为大于1的自然数或分数,不同于现有技术要求初级极靴宽度与永磁体极距之比必须为偶数。
所述电枢绕组可绕制成集中或分布形式,不同于现有技术要求必须为集中绕组。
所述电机初级固定不动,电机次级沿着电机运动方向做直线运动。
所述大推力永磁直驱式直线电机包括单边平板式、双边平板式和圆筒式结构。
参见图1~图3,本发明的大推力永磁直驱式直线电机,包括电机初级和电机次级,该直驱电机初级包括设有线槽的初级铁心1、电枢绕组2、初级极靴3和永磁体4,电枢绕组2嵌入初级铁心线槽内,永磁体4安装于初级极靴3表面;电机次级包括次级铁心6和次级凸极7;在电机初级永磁体和次级凸极之间设有气隙5。
所述的初级铁心1、初级极靴3、次级铁心6和次级凸极7均由硅钢叠片材料构成,与普通电机制造工艺相同。
所述的每个极靴3上的有多个永磁体4沿着电机运动方向依次排列,这些永磁体4的充磁方向垂直于初级极靴3表面,且相邻永磁体4充磁方向相反,构成N-S交替充磁结构,使气隙5内的磁通密度成类正弦分布。
所述的永磁体4可以布满整个电机初级气隙侧表面,设计成闭口槽结构(如图1所示);所述的永磁体4也可以仅仅贴装于极靴3表面,设计成开口槽结构(如图2和3所示),且每个初级极靴3的宽度与永磁体4的极距之比为大于1的自然数或分数。
所述电枢绕组2可按电机不同的极对数制成集中或分布形式。电枢绕组2的极距(长度)与永磁体4的极距(长度)不等,且满足如下关系:
τ w ,τ r 和τ PM 分别为电枢绕组2,次级凸极7和永磁体4的极距(长度)。电机初级1中由永磁体4产生磁场的运动速度与电枢绕组2中电流产生的磁场运动速度相等,该速度与电机次级6的运动速度之比等于电枢绕组2的极距(长度)与永磁体4的极距(长度)之比,即次级凸极7的有效凸极数量与电枢绕组2的极对数之比,且运动方向相同,其关系如式(2)所示:
(2)
n w 为电枢绕组2中电流产生磁场的运动速度,n r 为电机次级6的运动速度,p r 为次级凸极7的有效凸极数量,p w 为电枢绕组2的极对数。根据上述原理,可以根据工况需要设计电枢绕组2、永磁体4和次级凸极7的极距。为实现升增速目的,需要将次级凸极7的极距设计的比电枢绕组2的极距小,即次级凸极7的有效凸极数量要比电枢绕组2的极对数多。
所述电机初级1固定不动,电机次级6沿着电机运动方向做直线运动。
所述大推力永磁直驱式直线电机包括单边平板式、双边平板式和圆筒式结构。
Claims (5)
1.一种大推力永磁直驱式直线电机,其特征在于:该电机包括电机初级和电机次级;所述电机初级包括设有线槽的初级铁心(1)、嵌入初级铁心(1)线槽内的电枢绕组(2)、初级极靴(3)以及安装于初级极靴(3)表面的永磁体(4),永磁体(4)的充磁方向垂直于初级极靴(3)的表面,永磁体(4)沿电机运动方向依次排列;所述电机次级包括次级铁心(6)和次级凸极(7);所述电机初级和电机次级之间设有气隙(5);所述电机初级(1)固定不动,电机次级(6)沿着电机运动方向做直线运动。
2.根据权利要求1所述的大推力永磁直驱式直线电机,其特征在于:该大推力永磁直驱式直线电机包括单边平板式、双边平板式和圆筒式结构。
3.根据权利要求1所述的大推力永磁直驱式直线电机,其特征在于:所述的每个极靴上的永磁体(4)充磁方向垂直于初级极靴(3)表面,且相邻永磁体(4)充磁方向相反,构成N-S交替充磁结构,使气隙(5)内的磁通密度成类正弦分布。
4.根据权利要求1所述的大推力永磁直驱式直线电机,其特征在于:所述的永磁体(4)布满整个电机初级气隙侧表面,设计成闭口槽结构;或所述的永磁体(4)仅仅贴装于极靴(3)表面,设计成开口槽结构,且每个初级极靴(3)的宽度与永磁体(4)的极距之比为大于1的自然数或分数。
5.根据权利要求1所述的大推力永磁直驱式直线电机,其特征在于:所述电枢绕组(2)可以绕制成集中或分布形式。
Priority Applications (1)
| Application Number | Priority Date | Filing Date | Title |
|---|---|---|---|
| CN 201110028079 CN102082490A (zh) | 2011-01-26 | 2011-01-26 | 一种大推力永磁直驱式直线电机 |
Applications Claiming Priority (1)
| Application Number | Priority Date | Filing Date | Title |
|---|---|---|---|
| CN 201110028079 CN102082490A (zh) | 2011-01-26 | 2011-01-26 | 一种大推力永磁直驱式直线电机 |
Publications (1)
| Publication Number | Publication Date |
|---|---|
| CN102082490A true CN102082490A (zh) | 2011-06-01 |
Family
ID=44088263
Family Applications (1)
| Application Number | Title | Priority Date | Filing Date |
|---|---|---|---|
| CN 201110028079 Pending CN102082490A (zh) | 2011-01-26 | 2011-01-26 | 一种大推力永磁直驱式直线电机 |
Country Status (1)
| Country | Link |
|---|---|
| CN (1) | CN102082490A (zh) |
Cited By (6)
| Publication number | Priority date | Publication date | Assignee | Title |
|---|---|---|---|---|
| CN102412700A (zh) * | 2011-12-27 | 2012-04-11 | 东南大学 | 低速高推力密度直线电机 |
| CN102437702A (zh) * | 2011-12-27 | 2012-05-02 | 东南大学 | 直驱海浪发电用游标式直线电机 |
| CN102594085A (zh) * | 2012-02-09 | 2012-07-18 | 东南大学 | 城市轨道交通用永磁游标直线电机 |
| EP3402040A1 (en) * | 2017-05-12 | 2018-11-14 | Otis Elevator Company | Door operator with switched flux linear motor |
| CN109586433A (zh) * | 2018-11-27 | 2019-04-05 | 东南大学 | 模块化旋转直线磁通切换永磁电机 |
| CN119519204A (zh) * | 2023-08-24 | 2025-02-25 | 比亚迪股份有限公司 | 一种直线电机用次级组件、直线电机、电磁悬架和车辆 |
Citations (3)
| Publication number | Priority date | Publication date | Assignee | Title |
|---|---|---|---|---|
| JP2000037070A (ja) * | 1998-05-12 | 2000-02-02 | Yaskawa Electric Corp | リニアモ―タ |
| CN101027827A (zh) * | 2004-09-22 | 2007-08-29 | 西门子公司 | 电机 |
| CN201956874U (zh) * | 2011-01-26 | 2011-08-31 | 东南大学 | 一种永磁直驱式直线电机 |
-
2011
- 2011-01-26 CN CN 201110028079 patent/CN102082490A/zh active Pending
Patent Citations (3)
| Publication number | Priority date | Publication date | Assignee | Title |
|---|---|---|---|---|
| JP2000037070A (ja) * | 1998-05-12 | 2000-02-02 | Yaskawa Electric Corp | リニアモ―タ |
| CN101027827A (zh) * | 2004-09-22 | 2007-08-29 | 西门子公司 | 电机 |
| CN201956874U (zh) * | 2011-01-26 | 2011-08-31 | 东南大学 | 一种永磁直驱式直线电机 |
Cited By (10)
| Publication number | Priority date | Publication date | Assignee | Title |
|---|---|---|---|---|
| CN102412700A (zh) * | 2011-12-27 | 2012-04-11 | 东南大学 | 低速高推力密度直线电机 |
| CN102437702A (zh) * | 2011-12-27 | 2012-05-02 | 东南大学 | 直驱海浪发电用游标式直线电机 |
| CN102412700B (zh) * | 2011-12-27 | 2013-07-10 | 东南大学 | 低速高推力密度直线电机 |
| CN102594085A (zh) * | 2012-02-09 | 2012-07-18 | 东南大学 | 城市轨道交通用永磁游标直线电机 |
| EP3402040A1 (en) * | 2017-05-12 | 2018-11-14 | Otis Elevator Company | Door operator with switched flux linear motor |
| CN108880179A (zh) * | 2017-05-12 | 2018-11-23 | 奥的斯电梯公司 | 具有开关磁通直线电机的门操作器 |
| US10686357B2 (en) | 2017-05-12 | 2020-06-16 | Otis Elevator Company | Door operator with switched flux linear motor |
| AU2018203161B2 (en) * | 2017-05-12 | 2022-10-27 | Otis Elevator Company | Door operator with switched flux linear motor |
| CN109586433A (zh) * | 2018-11-27 | 2019-04-05 | 东南大学 | 模块化旋转直线磁通切换永磁电机 |
| CN119519204A (zh) * | 2023-08-24 | 2025-02-25 | 比亚迪股份有限公司 | 一种直线电机用次级组件、直线电机、电磁悬架和车辆 |
Similar Documents
| Publication | Publication Date | Title |
|---|---|---|
| CN103051148B (zh) | 模块化初级永磁直线电机及由其构成的电机模组 | |
| CN101860174B (zh) | 互补型模块化永磁直线电机及由其构成的电机模组 | |
| CN104167896B (zh) | 一种t型磁通切换永磁直线电机及其模组 | |
| CN108448849A (zh) | 一种定子永磁型双转子磁场调制电机及其设计方法 | |
| CN104065234A (zh) | 双边初级永磁型次级无轭部直线电机 | |
| CN102412700B (zh) | 低速高推力密度直线电机 | |
| CN101783573A (zh) | 多相长定子初级永磁直线电机 | |
| CN103595217A (zh) | 次级无轭部双边磁通切换永磁直线电机 | |
| CN104052238A (zh) | 一种双边初级永磁游标直线电机 | |
| CN109245483B (zh) | 一种次级无轭部的双边交替极永磁直线电机 | |
| CN104967275A (zh) | 一种双凸极式永磁直线电机及由其构成的电机模组 | |
| CN103633809B (zh) | 一种双边磁通切换永磁直线电机 | |
| CN102013786A (zh) | 模块化互补型初级永磁直线电机及由其构成的电机模组 | |
| CN102082490A (zh) | 一种大推力永磁直驱式直线电机 | |
| CN102882348B (zh) | 单侧定子不等动子齿宽离散导磁块型直线开关磁阻电动机 | |
| CN103633812B (zh) | 一种模块化双边磁通切换永磁直线电机 | |
| CN201956763U (zh) | 一种永磁直驱电机 | |
| CN202395636U (zh) | 低速高推力密度直线电机 | |
| CN203722452U (zh) | 初级永磁型次级无轭部双边直线电机 | |
| CN105406682B (zh) | 一种平板型直线开关磁链电机及其错齿位移选择方法 | |
| CN108270338A (zh) | 齿槽型双边初级永磁体同步直线电机 | |
| CN102882347B (zh) | 双侧定子集中绕组离散导磁块型直线开关磁阻电动机 | |
| CN105186750B (zh) | 一种轭部双绕组混合励磁永磁直线发电机 | |
| CN203632520U (zh) | 次级无轭部双边初级永磁直线电机 | |
| CN201956874U (zh) | 一种永磁直驱式直线电机 |
Legal Events
| Date | Code | Title | Description |
|---|---|---|---|
| C06 | Publication | ||
| PB01 | Publication | ||
| C10 | Entry into substantive examination | ||
| SE01 | Entry into force of request for substantive examination | ||
| C12 | Rejection of a patent application after its publication | ||
| RJ01 | Rejection of invention patent application after publication |
Application publication date: 20110601 |
