CN102000668B - Ore washing equipment - Google Patents

Ore washing equipment Download PDF

Info

Publication number
CN102000668B
CN102000668B CN2010105084880A CN201010508488A CN102000668B CN 102000668 B CN102000668 B CN 102000668B CN 2010105084880 A CN2010105084880 A CN 2010105084880A CN 201010508488 A CN201010508488 A CN 201010508488A CN 102000668 B CN102000668 B CN 102000668B
Authority
CN
China
Prior art keywords
screen drum
mixer
dusting cover
gear
conveyer belt
Prior art date
Legal status (The legal status is an assumption and is not a legal conclusion. Google has not performed a legal analysis and makes no representation as to the accuracy of the status listed.)
Expired - Fee Related
Application number
CN2010105084880A
Other languages
Chinese (zh)
Other versions
CN102000668A (en
Inventor
张玉军
Current Assignee (The listed assignees may be inaccurate. Google has not performed a legal analysis and makes no representation or warranty as to the accuracy of the list.)
Shandong Zhicheng Magnet Technology Co., Ltd.
Original Assignee
SHANDONG ZHICHENG MAGNET TECHNOLOGY Co Ltd
Priority date (The priority date is an assumption and is not a legal conclusion. Google has not performed a legal analysis and makes no representation as to the accuracy of the date listed.)
Filing date
Publication date
Application filed by SHANDONG ZHICHENG MAGNET TECHNOLOGY Co Ltd filed Critical SHANDONG ZHICHENG MAGNET TECHNOLOGY Co Ltd
Priority to CN2010105084880A priority Critical patent/CN102000668B/en
Publication of CN102000668A publication Critical patent/CN102000668A/en
Application granted granted Critical
Publication of CN102000668B publication Critical patent/CN102000668B/en
Expired - Fee Related legal-status Critical Current
Anticipated expiration legal-status Critical

Links

Images

Landscapes

  • Cleaning By Liquid Or Steam (AREA)

Abstract

The invention relates to ore washing equipment, in particular to a cleaning machine which comprises a hopper, transfer equipment, cleaning equipment, a fine screen and a conveying belt, wherein the transfer equipment comprises a front wheel, a back wheel, a fixing frame and a transfer belt; the cleaning equipment comprises a cage type screen drum, a stirring machine and a drive motor; one end of the transfer belt is positioned below a discharge port of the hopper, and the other end is close to one side of the cage type screen drum; the stirring machine is arranged below the cage type screen drum, and comprises a stirring machine shell; a water outlet pipe is inserted into a discharge port at one end of the stirring machine shell; the other end of the water outlet pipe is extended into the fine screen; and the conveying belt is arranged below the fine screen. The cleaning machine can automatically finish the two processes of screening and cleaning simultaneously by only one machine, thus reducing the labor cost and saving time.

Description

The ore washing equipment
Technical field
The present invention relates to a kind of ore washing equipment.
Background technology
Industries such as building and mining need be screened and clean construction materials such as sand, stones for improving the building products quality; To remove surperficial earth or the material that construction material is produced corrosion such as saline and alkaline; Adopt manual work to screen and clean at present mostly, make working strength of workers big, increase labour cost; Minority uses machinery to screen and clean; The machinery that uses only has single screening function or single cleaning function, and finishing the work needs two above mechanical engagement to accomplish, and increases cost and time.
Summary of the invention
The present invention is for addressing the above problem, and provides to use to accomplish screening simultaneously and clean two procedures, efficient is high, cost is low ore washing equipment.
The technical scheme that the present invention is adopted for the technical solution problem is:
Ore washing equipment of the present invention comprises cleaning equipment; It is characterized in that: said cleaning equipment comprises cage screen drum, mixer and driving motor; Said cage screen drum below is provided with mixer, and said mixer comprises the mixer shell and be installed in the turning cylinder in the mixer shell inner cavity that mixer shell one end is provided with water inlet; Water inlet is connected with water inlet pipe, and the mixer shell other end is provided with discharging opening; Be fixedly connected with on the turning cylinder and stir shovel; The two ends of said turning cylinder are inserted on the mixer shell rotationally; One end of turning cylinder is provided with on the axle chain wheel; The mixer shell that is positioned at the same side with axle chain wheel is provided with fixed chain wheels, and axle chain wheel and fixed chain wheels are connected on the motor sprocket through chain, and motor sprocket is connected on the output shaft of driving motor.
Said cage screen drum adopts arrival end to be higher than being obliquely installed of the port of export; The port of export at the cage screen drum is provided with the coarse fodder outlet; Power transmission shaft is fixedly connected on the central shaft position of cage screen drum, is fixedly connected with drum gear on the power transmission shaft, and drum gear and Rolling motor are in transmission connection.
Arrival end at the cage screen drum also is provided with hopper and transfer equipment; Said transfer equipment comprises front-wheel, trailing wheel, fixed mount and conveyer belt, and the feed end of said conveyer belt is positioned at the discharging opening below of hopper, and the discharge end of conveyer belt is positioned on the cage screen drum arrival end; Said conveyer belt is sleeved on front-wheel and the trailing wheel; Conveyer belt upper surface both sides are provided with riser, are provided with several dividing plates between the riser
The discharging opening of said mixer shell is connected to the inlet of dusting cover; Said dusting cover is the cylinder barrel-like structure, and at the affixed dusting cover gear of the outer surface of dusting cover, dusting cover gear below is provided with driving gear; Driving gear and dusting cover gears engaged; Driving gear shaft is connected on and drives on the motor, in the inner chamber of dusting cover, is provided with shower, and said shower is connected with feed pipe through valve.
Owing to adopted said structure, machinery of this ore washing device just just can be accomplished screening and clean two procedures, cleans thoroughly, effective, accomplishes automatically simultaneously, and minimizing labour cost is saved time, the efficiency height.
Description of drawings
Fig. 1 is the structural representation of one embodiment of the invention.
Fig. 2 is a cleaning equipment front view of the present invention.
Fig. 3 is a cleaning equipment partial top view of the present invention.
Fig. 4 is that the A-A of Fig. 3 is to cutaway view.
Fig. 5 is that the B-B of Fig. 1 is to cutaway view.
The specific embodiment
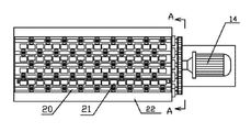
Shown in accompanying drawing; Ore washing equipment of the present invention comprises hopper 1, transfer equipment 2, cleaning equipment 3, dusting cover 4; Transfer equipment 2 comprises front-wheel 6, trailing wheel 7, fixed mount 8 and conveyer belt 9, and cleaning equipment 3 comprises cage screen drum 12, mixer 13 and driving motor 14, conveyer belt 9 mobile being arranged on front-wheel 6 and the trailing wheel 7 capable of circulation; Conveyer belt 9 upper surface dual-sides are provided with riser 10; Be provided with several dividing plates 11 between two risers 10, conveyer belt 9 is divided into several little lattice, the feed end of said conveyer belt 9 is positioned at the discharging opening below of hopper 1; The discharge end of conveyer belt 9 is positioned on the arrival end of cage screen drum 12, can get in the cage screen drum 12 to guarantee the material on the conveyer belt 9.Cage screen drum 12 adopts arrival end to be higher than being obliquely installed of the port of export, and the port of export of cage screen drum 12 is provided with coarse fodder outlet 32, and the coarse fodder behind the sieve can export 32 along coarse fodder and discharge.Power transmission shaft 15 is fixedly mounted on the central shaft position of cage screen drum 12, connects drum gear 16 on the power transmission shaft 15, and drum gear 16 is connected on the Rolling motor 17 through chain drive.Below cage screen drum 12, be provided with mixer 13, the fines under the sieve gets in the mixer 13 through the sieve aperture of cage screen drum 12.
Mixer 13 comprises mixer shell 22 and is installed in the turning cylinder 20 in the mixer shell 22.One end of mixer shell 22 is provided with water inlet 18, and plug-in mounting water inlet pipe 31 in the water inlet 18 is carried water for cleaning through water inlet pipe 31 in mixer shell 22.Mixer shell 22 other ends are provided with discharging opening 19, and 22 inside of mixer shell are provided with several turning cylinders 20, and turning cylinder 20 can adopt rhs-structure; Also can adopt circular tube structure; On turning cylinder 20, stir shovel 21 around several are set, fines is discharged by discharging opening 19 through cleaning and stir the back, and said turning cylinder 20 adopts rotatable mode two ends to insert shape on the shell wall of mixer shell 22; One end of turning cylinder 20 passes mixer shell 22 and is connected on the axle chain wheel 23; Be provided with fixed chain wheels 24 with the mixer shell 22 of axle chain wheel 23 homonymies, axle chain wheel 23 is connected on the motor sprocket 25 through chain with fixed chain wheels 24, and several axle chain wheels 23 are positioned at the chain both sides; And with the staggered engagement of chain, motor sprocket 25 is coupling on driving motor 14.Driving motor 14 drives axle chain wheel 23 through chain, thereby drives turning cylinder 20 rotations, utilizes the stirring shovel 21 on the turning cylinder 20 to stir fines, cooperates washing more thorough.
Plug-in mounting discharge nozzle 26 on the discharging opening 19 of said mixer shell 22 1 ends; Discharge nozzle 26 other ends stretch in the dusting cover 4; Fines through discharge nozzle is discharged flows in the dusting cover 4, and dusting cover 4 is the cylinder barrel-like structure, in the inner chamber of dusting cover 4, is provided with shower 30; Said shower 30 is connected with feed pipe through valve, and the water of shower 30 ejections cleans fines once more.The affixed dusting cover gear 27 of dusting cover 4 one end outer surfaces; Dusting cover gear 27 belows are provided with driving gear 28; Driving gear 28 and 27 engagements of dusting cover gear; Driving gear 28 is coupling on motor, and driven by motor dusting cover gear 27 rotates, and receives the cleaning of shower 30 ejection current while the fines in the dusting cover 4 rolls.

Claims (4)

1. ore washing equipment; Comprise cleaning equipment (3); It is characterized in that: said cleaning equipment (3) comprises cage screen drum (12), mixer (13) and driving motor (14); Said cage screen drum (12) below is provided with mixer (13), and said mixer (13) comprises mixer shell (22) and be installed in the turning cylinder (20) in mixer shell (22) inner chamber that mixer shell (22) one ends are provided with water inlet (18); Water inlet (18) is connected with water inlet pipe, and mixer shell (22) other end is provided with discharging opening (19); Be fixedly connected with on the turning cylinder (20) and stir shovel (21); The two ends of said turning cylinder (20) are inserted on the mixer shell (22) rotationally; One end of turning cylinder (20) is provided with axle chain wheel (23); The mixer shell (22) that is positioned at the same side with axle chain wheel (23) is provided with fixed chain wheels (24); Axle chain wheel (23) is connected on the motor sprocket (25) through chain with fixed chain wheels (24), and motor sprocket (25) is connected on the output shaft of driving motor (14).
2. ore washing equipment according to claim 1; It is characterized in that: said cage screen drum (12) adopts arrival end to be higher than being obliquely installed of the port of export; The port of export at cage screen drum (12) is provided with coarse fodder outlet (32); Power transmission shaft (15) is fixedly connected on the central shaft position of cage screen drum (12), is fixedly connected with drum gear (16) on the power transmission shaft (15), and drum gear (16) is in transmission connection with Rolling motor (17).
3. ore washing equipment according to claim 1 and 2; It is characterized in that: the arrival end at cage screen drum (12) also is provided with hopper (1) and transfer equipment (2); Said transfer equipment (2) comprises front-wheel (6), trailing wheel (7), fixed mount (8) and conveyer belt (9); The feed end of said conveyer belt (9) is positioned at the discharging opening below of hopper (1), and the discharge end of conveyer belt (9) is positioned on cage screen drum (12) arrival end, and said conveyer belt (9) is sleeved on front-wheel (6) and the trailing wheel (7); Conveyer belt (9) upper surface both sides are provided with riser (10), are provided with several dividing plates (11) between the riser (10).
4. ore washing equipment according to claim 1 and 2; It is characterized in that: the discharging opening (19) of said mixer shell (22) is connected to the inlet of dusting cover (4); Said dusting cover (4) is the cylinder barrel-like structure, and at the affixed dusting cover gear of the outer surface of dusting cover (4) (27), dusting cover gear (27) below is provided with driving gear (28); Driving gear (28) and dusting cover gear (27) engagement; Driving gear (28) is coupling driving on the motor, in the inner chamber of dusting cover (4), is provided with shower (30), and said shower (30) is connected with feed pipe through valve.
CN2010105084880A 2010-10-15 2010-10-15 Ore washing equipment Expired - Fee Related CN102000668B (en)

Priority Applications (1)

Application Number Priority Date Filing Date Title
CN2010105084880A CN102000668B (en) 2010-10-15 2010-10-15 Ore washing equipment

Applications Claiming Priority (1)

Application Number Priority Date Filing Date Title
CN2010105084880A CN102000668B (en) 2010-10-15 2010-10-15 Ore washing equipment

Publications (2)

Publication Number Publication Date
CN102000668A CN102000668A (en) 2011-04-06
CN102000668B true CN102000668B (en) 2012-08-22

Family

ID=43808518

Family Applications (1)

Application Number Title Priority Date Filing Date
CN2010105084880A Expired - Fee Related CN102000668B (en) 2010-10-15 2010-10-15 Ore washing equipment

Country Status (1)

Country Link
CN (1) CN102000668B (en)

Families Citing this family (17)

* Cited by examiner, † Cited by third party
Publication number Priority date Publication date Assignee Title
CN102430539A (en) * 2011-12-12 2012-05-02 中铁五局(集团)有限公司 Method and device for cleaning sand gravel
CN106734018A (en) * 2015-11-20 2017-05-31 无锡南方声学工程有限公司 A kind of rotary support device
CN106734017A (en) * 2015-11-20 2017-05-31 无锡南方声学工程有限公司 A kind of rotary bracket structure
CN105290043A (en) * 2015-12-10 2016-02-03 重庆润际远东新材料科技有限公司 Water recycling system of silicon powder production line
CN105344464A (en) * 2015-12-11 2016-02-24 大连远东新材料科技有限公司 Wet-type rotary screen for screening oil-containing grinding metal powder
CN106269687A (en) * 2016-08-31 2017-01-04 张丽凤 A kind of ore washing device
CN108861315A (en) * 2018-06-03 2018-11-23 宋世梅 Transportation system
CN110170446B (en) * 2019-06-18 2022-04-19 兰新伟 Sand screening machine for building engineering with cleaning function weighs
CN111151507A (en) * 2019-12-07 2020-05-15 安徽朗基新材料科技有限公司 Washing device for granulating soft magnetic ferrite
CN112090563B (en) * 2020-09-02 2021-04-30 山西途悦选煤工程技术有限公司 Coal washing process for mining coal
CN112359383B (en) * 2020-11-02 2021-07-30 嘉兴兴欣环保科技股份有限公司 High-strength spring washer color zinc barrel plating production line and processing technology
CN113798239B (en) * 2020-12-25 2022-07-26 宁夏兰湖新型材料科技有限公司 Silica washing, screening, separating and distributing system
CN113414104A (en) * 2020-12-30 2021-09-21 衡阳市广源线路器材有限公司 Grit washs sieving mechanism for precast concrete pipeline production
CN113953232A (en) * 2021-09-24 2022-01-21 安徽凤阳明陵石英砂有限公司 Cleaning device for quartz sand ore
CN113798226A (en) * 2021-09-24 2021-12-17 安徽凤阳明陵石英砂有限公司 Reciprocal device of brushing of surface of quartz sand ore
CN115069531B (en) * 2022-07-25 2023-11-03 山东群峰重工科技股份有限公司 Drum screen
CN116618370B (en) * 2023-07-24 2023-12-08 中国石油大学(华东) A manganese ore cleaning and screening device

Citations (5)

* Cited by examiner, † Cited by third party
Publication number Priority date Publication date Assignee Title
US4072539A (en) * 1976-11-22 1978-02-07 William Benzon Method of cleaning raw ore
EP0838264A2 (en) * 1996-10-23 1998-04-29 Schenck Process GmbH Method and vibratory trough for treating a material to be cleaned
CN2741674Y (en) * 2004-06-26 2005-11-23 文海涛 Cleaning and sorting device
CN200991680Y (en) * 2006-12-20 2007-12-19 宋显明 Water-wash type sand screening machine
CN201823710U (en) * 2010-10-15 2011-05-11 张玉军 Ore washing device

Patent Citations (5)

* Cited by examiner, † Cited by third party
Publication number Priority date Publication date Assignee Title
US4072539A (en) * 1976-11-22 1978-02-07 William Benzon Method of cleaning raw ore
EP0838264A2 (en) * 1996-10-23 1998-04-29 Schenck Process GmbH Method and vibratory trough for treating a material to be cleaned
CN2741674Y (en) * 2004-06-26 2005-11-23 文海涛 Cleaning and sorting device
CN200991680Y (en) * 2006-12-20 2007-12-19 宋显明 Water-wash type sand screening machine
CN201823710U (en) * 2010-10-15 2011-05-11 张玉军 Ore washing device

Also Published As

Publication number Publication date
CN102000668A (en) 2011-04-06

Similar Documents

Publication Publication Date Title
CN102000668B (en) Ore washing equipment
CN201823710U (en) Ore washing device
CN203676072U (en) Capsicum frutescens surface cleaning machine
CN211100418U (en) Metal surface degreasing device
CN112058402B (en) Cement manufacture breaker
CN101259598B (en) Swirling full-automatic assembly line light polishing machine
CN113245272A (en) Sand and stone cleaning and separating equipment for constructional engineering and use method thereof
CN206701660U (en) Sand-stone separator separator and sand-stone separator
CN210357375U (en) Impurity removing device for quartz sand production
CN217393151U (en) Quartz sand filter material pickling device
CN102950040A (en) Continuous cereal grain cleaning machine
CN201192810Y (en) Swirling flow full-automatic pipeline polishing machine
CN212759038U (en) System for be used for material processing automated processing
CN114082694A (en) Be used for non ferrous metal powder processingequipment
CN217393090U (en) Friction cleaning device for quartz sand
CN201325002Y (en) Novel fully-automatic swirling flow polishing machine for production line
CN107597674B (en) Ore washer
CN213001073U (en) Civil engineering screening sand device
CN210059103U (en) Cylinder type ore cleaning device
CN212330725U (en) Shot blasting rust removal assembly line
CN102825049A (en) Automatic trademark clearing machine
CN210789102U (en) Roller mill is used in machining production
CN115212950A (en) Efficient machine-made sand grinder for processing
CN113289723A (en) Multifunctional feeder
CN220941184U (en) Mine sand washer convenient to maintain

Legal Events

Date Code Title Description
C06 Publication
PB01 Publication
C10 Entry into substantive examination
SE01 Entry into force of request for substantive examination
ASS Succession or assignment of patent right

Owner name: SHANDONG ZHICHENG MAGNETOELECTRIC TECHNOLOGY CO.,

Free format text: FORMER OWNER: ZHANG YUJUN

Effective date: 20120621

C41 Transfer of patent application or patent right or utility model
TA01 Transfer of patent application right

Effective date of registration: 20120621

Address after: 262605, Shandong City, Weifang province Linqu County source Industrial Zone South Ring Road

Applicant after: Shandong Zhicheng Magnet Technology Co., Ltd.

Address before: 262605, Yao county, Weifang Town, Linqu County, Shandong, China

Applicant before: Zhang Yujun

C14 Grant of patent or utility model
GR01 Patent grant
CF01 Termination of patent right due to non-payment of annual fee

Granted publication date: 20120822

Termination date: 20151015

EXPY Termination of patent right or utility model