CN101900366A - Double-water-tank double-heating-effect water heating system - Google Patents

Double-water-tank double-heating-effect water heating system Download PDF

Info

Publication number
CN101900366A
CN101900366A CN 201010249545 CN201010249545A CN101900366A CN 101900366 A CN101900366 A CN 101900366A CN 201010249545 CN201010249545 CN 201010249545 CN 201010249545 A CN201010249545 A CN 201010249545A CN 101900366 A CN101900366 A CN 101900366A
Authority
CN
China
Prior art keywords
water
tank
water tank
heating
double
Prior art date
Legal status (The legal status is an assumption and is not a legal conclusion. Google has not performed a legal analysis and makes no representation as to the accuracy of the status listed.)
Pending
Application number
CN 201010249545
Other languages
Chinese (zh)
Inventor
童风喜
Current Assignee (The listed assignees may be inaccurate. Google has not performed a legal analysis and makes no representation or warranty as to the accuracy of the list.)
Zhongshan Amitime Electric Co ltd
Original Assignee
Zhongshan Amitime Electric Co ltd
Priority date (The priority date is an assumption and is not a legal conclusion. Google has not performed a legal analysis and makes no representation as to the accuracy of the date listed.)
Filing date
Publication date
Application filed by Zhongshan Amitime Electric Co ltd filed Critical Zhongshan Amitime Electric Co ltd
Priority to CN 201010249545 priority Critical patent/CN101900366A/en
Publication of CN101900366A publication Critical patent/CN101900366A/en
Pending legal-status Critical Current

Links

Images

Landscapes

  • Heat-Pump Type And Storage Water Heaters (AREA)

Abstract

本发明涉及双水箱双致热效应热水系统,包括外壳、水箱和加热装置,水箱包括设有隔层的生活水箱和供暖水箱,两水箱分别设有加热装置和换热器,供暖水箱的换热器连接太阳能集热器;外壳与水箱之间设有保温层,外壳上设有供暖回水口、供暖出水口以及生活补水口、生活热水出口。相对现有技术,本发明具有以下优点:1、采用“胆中胆”双水箱设计,将生活用热水与采暖用热水分开,可以同时提供不同水温或不同水质的热水;2、在外水箱内设置生活热水预热盘管,生活用水从该盘管经预热后进入内胆,内水箱内设置太阳能换热盘管;3、水箱隔层设为圆柱形凸体,提高热交换效率,能快速满足用户用水需求,使用方便,更加节能。

Figure 201010249545

The present invention relates to a double-tank double-thermal effect hot water system, comprising a shell, a water tank and a heating device, wherein the water tank comprises a domestic water tank and a heating water tank provided with an interlayer, the two water tanks are provided with a heating device and a heat exchanger respectively, and the heat exchanger of the heating water tank is connected to a solar collector; an insulation layer is provided between the shell and the water tank, and a heating return water port, a heating water outlet, a domestic water replenishment port, and a domestic hot water outlet are provided on the shell. Compared with the prior art, the present invention has the following advantages: 1. The "tank in a tank" double water tank design is adopted to separate domestic hot water from heating hot water, and hot water of different water temperatures or different water qualities can be provided at the same time; 2. A domestic hot water preheating coil is provided in the outer water tank, and domestic water enters the inner tank after being preheated from the coil, and a solar heat exchange coil is provided in the inner water tank; 3. The water tank interlayer is provided as a cylindrical convex body, which improves the heat exchange efficiency, can quickly meet the user's water demand, is easy to use, and is more energy-saving.

Figure 201010249545

Description

Double-tank hot-water system with double thermal effects
Technical field
The present invention relates to heating plant, especially a kind ofly be provided with built-in pair of water tank, the dual-thermal effect water heating system of two kinds of different purposes hot water can be provided simultaneously.
Background technology
Existing hot water heating or heating system generally comprise water tank, heater and control device, water tank is provided with water inlet pipe and outlet pipe, tank inlet pipe connects the water source, outlet pipe is mounted in the room or underfloor heating radiator, can also connect life hot water apparatus, for example drinking water or bath water device.At present, the life of existing hot-water heating system is lumped together usually with hot water and heating hot water, when water, need heat whole box water, and firing rate is slower, and efficient is lower, can not satisfy the demand of user's water fast.If adopt electric heater unit to reach the purpose that hot water is provided fast, not only increased equipment cost, and the power consumption increase, energy-conservation inadequately.
Summary of the invention
At the deficiency of above existing hot-water heating system, the purpose of this invention is to provide a kind of easy to usely, more energy-conservation, be provided with built-in pair of water tank, the dual-thermal effect water heating system of two kinds of different purposes hot water can be provided simultaneously.
The objective of the invention is by realizing by the following technical solutions:
Double-tank hot-water system with double thermal effects, comprise water tank, heater and control device, water tank is provided with water inlet pipe and outlet pipe, and described water tank comprises separate domestic water water tank and heating water tank, and two water tanks are respectively equipped with heater and water inlet pipe and outlet pipe;
Be provided with heat exchanger in the described heating water tank, this heat exchanger is communicated with the equipment that hot water is provided by pipeline.
As the preferred technical solution of the present invention, described domestic water water tank is located at an end of heating water tank, is provided with insulating course between the two;
Perhaps, the domestic water water tank is located in the heating water tank;
Described domestic water water tank and heating water tank all are located in the shell, are provided with heat-insulation layer between shell and domestic water water tank and the heating water tank, and heating water tank is communicated with expansion drum by tube connector;
Be respectively equipped with heating water return mouth, heating delivery port and domestic water water supplement port, domestic hot-water's outlet on the described shell.
As the preferred technical solution of the present invention, described heater comprises electric heater;
The described equipment of hot water that provides comprises boiler, Teat pump boiler or solar thermal collector.
As the preferred technical solution of the present invention, the water inlet pipe of described domestic water water tank connects the domestic water water supplement port by the heat exchanger that is located in the heating water tank.
As the preferred technical solution of the present invention, also be provided with heat exchanger in the described domestic water water tank, this heat exchanger is connected solar thermal collector by pipeline with heat exchanger inlet and outlet on being located at shell, and the pipeline between solar thermal collector and the heat exchanger is provided with circulating pump.
As the preferred technical solution of the present invention, the insulating course between described domestic water water tank and the heating water tank is made as cylindrical convex body, and this convex body stretches in the heating water tank, is arranged with heat exchanger coils around the convex body.
As the preferred technical solution of the present invention, described domestic water water tank is located at the upper end of heating water tank, and the lower end of heating water tank is provided with blowoff valve.
As the preferred technical solution of the present invention, described Teat pump boiler comprises compressor and evaporimeter, and the pipeline between Teat pump boiler and the heating water tank heat exchanger is provided with cross valve and choke valve.
As the preferred technical solution of the present invention, also be provided with mixed water valve between heating water return mouth that described shell is provided with and the heating delivery port, mix water valve and connect circulating pump.
As the preferred technical solution of the present invention, described domestic water water supplement port is connected with check valve.
The invention has the beneficial effects as follows: with respect to prior art, the present invention has the following advantages:
1, the present invention adopts " courage in the courage " two waterbox design, will live and separate with hot water is strict with hot water and heating, and the double thermal effects hot water of different water temperatures or different quality can be provided simultaneously.
2, one group of domestic hot-water's preheat coil is set in heating water tank, domestic water enters inner bag from this coil pipe after preheating, and one group of solar heat-exchange coil pipe can also be set in inner water tank, can satisfy user's water demand fast, and is easy to use, more energy-conservation.
3, the interlayer of domestic water water tank is made as the cylindrical convex body that stretches in the heating water tank, has increased heat exchange area, has improved heat exchanger effectiveness; Be arranged with heat exchanger coils around the cylindrical convex body, can the interior water of Fast Heating domestic water water tank.
Description of drawings
The invention will be further described below in conjunction with accompanying drawing and specific embodiment:
Fig. 1 is a structural representation of the present invention;
Fig. 2 is the structural representation of the embodiment of the invention one;
Fig. 3 is the structural representation of the embodiment of the invention two.
The specific embodiment
Embodiment one
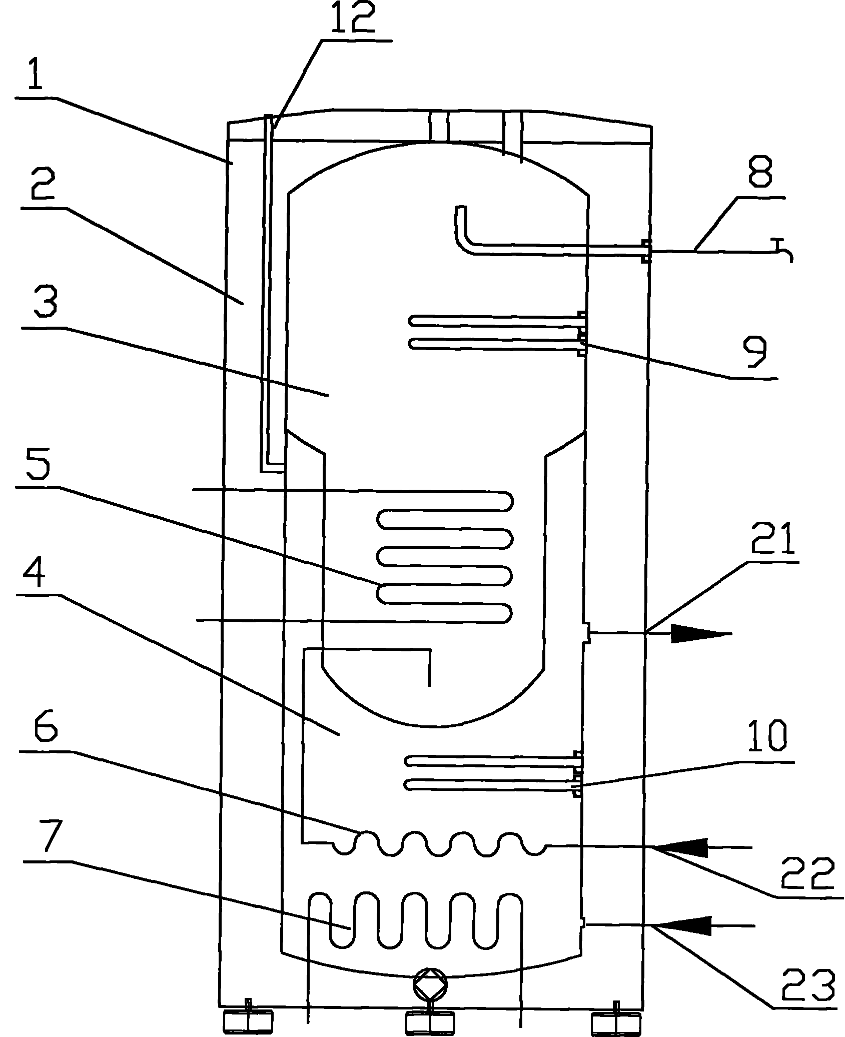
As depicted in figs. 1 and 2, double-tank hot-water system with double thermal effects, comprise water tank, heater and controller, water tank is provided with water inlet pipe and outlet pipe, described water tank comprises that separate domestic water water tank 3 and 4, two water tanks of heating water tank are respectively equipped with heater and water inlet pipe and outlet pipe; Be provided with heat exchanger 7 in the described heating water tank 4, this heat exchanger 7 is communicated with the equipment 13 that hot water is provided by pipeline.Described domestic water water tank 3 and heating water tank 4 all are located in the shell 1, are provided with heat-insulation layer 2 between shell 1 and domestic water water tank 3 and the heating water tank 4, and heating water tank 4 is communicated with expansion drum by tube connector 12.
The described domestic water water tank 3 of present embodiment is located at the upper end of heating water tank 4, is provided with insulating course between the two, and this insulating course is made as cylindrical convex body, and this convex body stretches in the heating water tank 4, is arranged with heat exchanger coils 7 around the convex body.Be respectively equipped with heating water return mouth 23, heating delivery port 21 and domestic water water supplement port 22, domestic hot-water on the described shell 1 and export 8.The water inlet pipe of described domestic water water tank 3 connects domestic water water supplement port 22 by the heat exchanger 6 that is located in the heating water tank 4, and domestic water water supplement port 22 is connected with check valve 11.
Described heater comprises the electric heater 9 that is located in the domestic water water tank 3, and is located at the electric heater 10 in the heating water tank 4; The described equipment 13 of hot water that provides comprises boiler, Teat pump boiler or solar thermal collector 20.
The lower end of the described heating water tank 4 of present embodiment is provided with blowoff valve, and described Teat pump boiler comprises compressor 21 and evaporimeter 17, and the pipeline in Teat pump boiler and the heating water tank 4 between the heat exchanger 7 is provided with cross valve 16 and choke valve 18.Also be provided with between described heating water return mouth 23 and the heating delivery port 21 and mix water valve 14, mix water valve 14 and connect circulating pump 15.
Embodiment two
As shown in figures 1 and 3, be provided with heat exchanger 5 in the described domestic water water tank 3 of present embodiment, this heat exchanger 5 is connected solar thermal collector 20 by pipeline with heat exchanger inlet and outlet on being located at shell 1, pipeline between solar thermal collector 20 and the heat exchanger 5 is provided with circulating pump 19, in time be delivered to heat exchanger 5 so that will be located at the heat of outdoor solar thermal collector 20 generations, and by the water in the heat exchanger 5 heating domestic water water tanks 3.Other embodiment is identical with embodiment one.
Water in the heating water tank 4 of the present invention is after use is filled with first, the circulation heating is used between heating water tank 4 and hot duct, heating radiator always, when described controller is sensed ambient temperature and is reached design temperature by temperature transducer, automatically close heating water outlet and back-water valve (BWV), stop heating, to reduce heat-energy losses, the water of the direct heating of 13 need of firing equipment in the water tank 4, thereby the saving energy.Heating water tank 4 is provided with the water compensating valve (not shown), and when the water level in the heating water tank 4 was lower than setting value, water compensating valve was opened moisturizing automatically.

Claims (10)

1. double-tank hot-water system with double thermal effects, comprise water tank, heater and control device, water tank is provided with water inlet pipe and outlet pipe, it is characterized in that: described water tank comprises separate domestic water water tank and heating water tank, and two water tanks are respectively equipped with heater and water inlet pipe and outlet pipe;
Be provided with heat exchanger in the described heating water tank, this heat exchanger is communicated with the equipment that hot water is provided by pipeline.
2. double-tank hot-water system with double thermal effects according to claim 1 is characterized in that: described domestic water water tank is located at an end of heating water tank, is provided with insulating course between the two;
Perhaps, the domestic water water tank is located in the heating water tank;
Described domestic water water tank and heating water tank all are located in the shell, are provided with heat-insulation layer between shell and domestic water water tank and the heating water tank, and heating water tank is communicated with expansion drum by tube connector;
Be respectively equipped with heating water return mouth, heating delivery port and domestic water water supplement port, domestic hot-water's outlet on the described shell.
3. double-tank hot-water system with double thermal effects according to claim 1 and 2 is characterized in that: described heater comprises electric heater;
The described equipment of hot water that provides comprises boiler, Teat pump boiler or solar thermal collector.
4. double-tank hot-water system with double thermal effects according to claim 1 and 2 is characterized in that: the water inlet pipe of described domestic water water tank connects the domestic water water supplement port by the heat exchanger that is located in the heating water tank.
5. double-tank hot-water system with double thermal effects according to claim 4, it is characterized in that: also be provided with heat exchanger in the described domestic water water tank, this heat exchanger is connected solar thermal collector by pipeline with heat exchanger inlet and outlet on being located at shell, and the pipeline between solar thermal collector and the heat exchanger is provided with circulating pump.
6. double-tank hot-water system with double thermal effects according to claim 2, it is characterized in that: the insulating course between described domestic water water tank and the heating water tank is made as cylindrical convex body, this convex body stretches in the heating water tank, is arranged with heat exchanger coils around the convex body.
7. double-tank hot-water system with double thermal effects according to claim 6 is characterized in that: described domestic water water tank is located at the upper end of heating water tank, and the lower end of heating water tank is provided with blowoff valve.
8. double-tank hot-water system with double thermal effects according to claim 3 is characterized in that: described Teat pump boiler comprises compressor and evaporimeter, and the pipeline between Teat pump boiler and the heating water tank heat exchanger is provided with cross valve and choke valve.
9. double-tank hot-water system with double thermal effects according to claim 2 is characterized in that: also be provided with mixed water valve between heating water return mouth that described shell is provided with and the heating delivery port, mix water valve and connect circulating pump.
10. double-tank hot-water system with double thermal effects according to claim 4 is characterized in that: described domestic water water supplement port is connected with check valve.
CN 201010249545 2010-02-01 2010-08-02 Double-water-tank double-heating-effect water heating system Pending CN101900366A (en)

Priority Applications (1)

Application Number Priority Date Filing Date Title
CN 201010249545 CN101900366A (en) 2010-02-01 2010-08-02 Double-water-tank double-heating-effect water heating system

Applications Claiming Priority (3)

Application Number Priority Date Filing Date Title
CN201010117452.X 2010-02-01
CN201010117452A CN101793419A (en) 2010-03-31 2010-03-31 Double-water-tank double-heating-effect water heating system
CN 201010249545 CN101900366A (en) 2010-02-01 2010-08-02 Double-water-tank double-heating-effect water heating system

Publications (1)

Publication Number Publication Date
CN101900366A true CN101900366A (en) 2010-12-01

Family

ID=42586255

Family Applications (2)

Application Number Title Priority Date Filing Date
CN201010117452A Pending CN101793419A (en) 2010-02-01 2010-03-31 Double-water-tank double-heating-effect water heating system
CN 201010249545 Pending CN101900366A (en) 2010-02-01 2010-08-02 Double-water-tank double-heating-effect water heating system

Family Applications Before (1)

Application Number Title Priority Date Filing Date
CN201010117452A Pending CN101793419A (en) 2010-02-01 2010-03-31 Double-water-tank double-heating-effect water heating system

Country Status (1)

Country Link
CN (2) CN101793419A (en)

Families Citing this family (12)

* Cited by examiner, † Cited by third party
Publication number Priority date Publication date Assignee Title
CN102563836A (en) * 2012-04-10 2012-07-11 罗庆祝 Split intelligent water heater system
CN102778064A (en) * 2012-08-09 2012-11-14 西安拜特新能源工程有限公司 Solar heating double-chamber heat exchange water tank
JP5574069B1 (en) * 2013-05-29 2014-08-20 ダイキン工業株式会社 Hot water storage unit and water heater
CN106765441B (en) * 2016-12-30 2022-05-13 何宗衡 Smoke collecting type heat supply unit
CN106594843B (en) * 2016-12-30 2022-05-13 何宗衡 Vertical energy mixing self-balancing device
CN110131783B (en) * 2019-05-15 2020-01-07 北京市众诚恒祥能源投资管理有限公司 High-efficiency energy-saving central heating automatic control device
CN111365903B (en) * 2020-04-14 2025-07-25 广东美的制冷设备有限公司 Heat exchange device and air conditioning system
CN111829042A (en) * 2020-06-30 2020-10-27 日出东方控股股份有限公司 A heat pump and solar energy triple supply coupling system
CN112728630A (en) * 2020-12-29 2021-04-30 哈尔滨工业大学 Integrated heat supply system and heat supply method
CN114353168A (en) * 2021-12-20 2022-04-15 丽水学院 Automatic control system and control method for recycling waste heat of air compressor
CN116105366A (en) * 2022-12-29 2023-05-12 广东纽恩泰新能源科技发展有限公司 Heat pipe water tank and floor heating system
MA65150A1 (en) * 2024-04-05 2025-10-31 Azhar Tarik Monobloc solar water heater for domestic and industrial uses

Citations (3)

* Cited by examiner, † Cited by third party
Publication number Priority date Publication date Assignee Title
CN2572292Y (en) * 2002-09-13 2003-09-10 龚伟 Heating and water boiling two-purpose electric water heater
CN201355136Y (en) * 2009-01-23 2009-12-02 曼瑞德自控系统(乐清)有限公司 A multi-heat source residential comfort integration system based on solar energy
CN201779746U (en) * 2010-02-01 2011-03-30 中山市爱美泰电器有限公司 Double water tank double heating effect hot water system

Patent Citations (3)

* Cited by examiner, † Cited by third party
Publication number Priority date Publication date Assignee Title
CN2572292Y (en) * 2002-09-13 2003-09-10 龚伟 Heating and water boiling two-purpose electric water heater
CN201355136Y (en) * 2009-01-23 2009-12-02 曼瑞德自控系统(乐清)有限公司 A multi-heat source residential comfort integration system based on solar energy
CN201779746U (en) * 2010-02-01 2011-03-30 中山市爱美泰电器有限公司 Double water tank double heating effect hot water system

Also Published As

Publication number Publication date
CN101793419A (en) 2010-08-04

Similar Documents

Publication Publication Date Title
CN101900366A (en) Double-water-tank double-heating-effect water heating system
CN201652906U (en) Double liner solar water heater pressurized water tank
CN201779746U (en) Double water tank double heating effect hot water system
CN201435989U (en) Warm water and boiled water cold heat exchange water storage device
CN201196494Y (en) Split solar water heater
CN108592146A (en) A kind of electric heating phase-changing energy-storing thermal power plant unit and its variable working condition energy adjustment method
CN202613784U (en) solar heating system
CN201983443U (en) High-efficiency and energy-saving water tank for household air energy water heater
CN202328466U (en) Indoor heat supply device based on concentrated heat supply system
CN205957463U (en) Dual -purpose type boiler of hot and cold water
CN204830506U (en) Electric heat cycle recycle system of family
CN202598878U (en) Indirect heat exchange flat panel solar water heating system with tankless heating
CN216844880U (en) Multifunctional water tank system based on heat pump unit
CN207395194U (en) A kind of heat-pump hot-water heating system with the auxiliary thermal of Novel electric
CN201302293Y (en) Multifunctional insulation water tank
CN201096464Y (en) Integrated electrothermal superconductor radiator
CN201145398Y (en) Solar household heating and hot water device
CN202709456U (en) Crude oil heating system of air source heat pump
CN201527116U (en) Bearing heat-exchange instant heating type constant temperature solar water heater
CN101718454A (en) Household hot water exchanger
CN202770052U (en) Cool-air water heater with titanium pipe sleeved on copper pipe heat exchanger
CN201748650U (en) Heat exchange device of water-storage wall-mounted gas boiler
CN201875887U (en) Dual-tank heat pump water heater
CN208108874U (en) A kind of warm water device of multi-stage heat exchanger
CN206959331U (en) A kind of efficiently recuperation of heat Teat pump boiler

Legal Events

Date Code Title Description
C06 Publication
PB01 Publication
C10 Entry into substantive examination
SE01 Entry into force of request for substantive examination
C12 Rejection of a patent application after its publication
RJ01 Rejection of invention patent application after publication

Application publication date: 20101201