CN101837410A - Multipoint forming die based on solid particle medium back pressure - Google Patents
Multipoint forming die based on solid particle medium back pressure Download PDFInfo
- Publication number
- CN101837410A CN101837410A CN 201010213804 CN201010213804A CN101837410A CN 101837410 A CN101837410 A CN 101837410A CN 201010213804 CN201010213804 CN 201010213804 CN 201010213804 A CN201010213804 A CN 201010213804A CN 101837410 A CN101837410 A CN 101837410A
- Authority
- CN
- China
- Prior art keywords
- die
- back pressure
- solid particle
- punch
- bottom mold
- Prior art date
- Legal status (The legal status is an assumption and is not a legal conclusion. Google has not performed a legal analysis and makes no representation as to the accuracy of the status listed.)
- Pending
Links
- 239000002245 particle Substances 0.000 title claims abstract description 38
- 239000007787 solid Substances 0.000 title claims abstract description 37
- XEEYBQQBJWHFJM-UHFFFAOYSA-N Iron Chemical compound [Fe] XEEYBQQBJWHFJM-UHFFFAOYSA-N 0.000 abstract description 12
- 238000004519 manufacturing process Methods 0.000 abstract description 9
- 239000011230 binding agent Substances 0.000 abstract description 7
- 229910052742 iron Inorganic materials 0.000 abstract description 6
- 239000007788 liquid Substances 0.000 abstract description 6
- 238000000465 moulding Methods 0.000 abstract description 6
- 239000002184 metal Substances 0.000 abstract description 4
- 229910052751 metal Inorganic materials 0.000 abstract description 4
- 238000010923 batch production Methods 0.000 abstract description 2
- 238000000034 method Methods 0.000 description 8
- 238000007789 sealing Methods 0.000 description 3
- 125000006850 spacer group Chemical group 0.000 description 3
- 229910000831 Steel Inorganic materials 0.000 description 2
- 238000009826 distribution Methods 0.000 description 2
- 239000010959 steel Substances 0.000 description 2
- 238000005336 cracking Methods 0.000 description 1
- 238000005516 engineering process Methods 0.000 description 1
- 238000003912 environmental pollution Methods 0.000 description 1
- 238000001125 extrusion Methods 0.000 description 1
- 238000012986 modification Methods 0.000 description 1
- 230000004048 modification Effects 0.000 description 1
- 238000007493 shaping process Methods 0.000 description 1
- XLYOFNOQVPJJNP-UHFFFAOYSA-N water Substances O XLYOFNOQVPJJNP-UHFFFAOYSA-N 0.000 description 1
Landscapes
- Shaping Metal By Deep-Drawing, Or The Like (AREA)
Abstract
本发明是一种基于固体颗粒介质背压的多点成型模具,包括下模座,顶杆,垫块,凹模,压料板,气缸,垫铁,支撑板,螺栓,上模座,凸模,固体颗粒底模等;在合模和制造时,固体颗粒作为柔性成型底模充满在凹模、顶块与坯料之间的底模型腔内,作为柔性成型底模。固体颗粒介质背压与液体介质背压相比,成形极易实现,不需特殊设备,同时,使用固体颗粒可有效防止泄漏,不污染环境,可实现安全可靠生产。固体颗粒介质背压可实现非均匀背压,能有效提高板料变形程度,使产品厚度均匀分布。固体颗粒底模作为柔性底模,其形状由垫块形状依需要调节,产品质量更高。凸模可依据产品形状调整变化,特别适合新产品试制及中小批量制造。
The invention is a multi-point molding die based on the back pressure of solid particle medium, which includes a lower mold base, a push rod, a cushion block, a die, a binder plate, a cylinder, a pad iron, a support plate, bolts, an upper mold base, a convex Die, solid particle bottom mold, etc.; during mold closing and manufacturing, solid particles are filled as a flexible forming bottom mold in the cavity of the bottom mold between the die, top block and blank, as a flexible forming bottom mold. Compared with the back pressure of liquid medium, the solid particle medium back pressure is very easy to realize without special equipment. At the same time, the use of solid particles can effectively prevent leakage, does not pollute the environment, and can realize safe and reliable production. The back pressure of the solid particle medium can realize non-uniform back pressure, which can effectively improve the deformation degree of the sheet metal and make the thickness of the product evenly distributed. The solid particle bottom mold is used as a flexible bottom mold, and its shape is adjusted by the shape of the cushion block according to the needs, and the product quality is higher. The punch can be adjusted and changed according to the shape of the product, which is especially suitable for new product trial production and small and medium batch production.
Description
技术领域technical field
本发明属于冲压模具技术,具体涉及一种基于固体颗粒介质背压的多点成型模具,主要是提供固体颗粒介质背压的柔性底模和多点成形的模具。The invention belongs to stamping die technology, and specifically relates to a multi-point forming die based on solid particle medium back pressure, mainly providing a flexible bottom die for solid particle medium back pressure and a multi-point forming die.
背景技术Background technique
传统多点成形刚性模具拉深工艺在成形过程中,板料成形厚度不均,成形质量差。以油或水等液体介质实现背压的成形模具,其特点是压力分布均匀,但是压力分布均匀不利于成形件的厚度控制,成形过程中一旦板料某处出现局部变薄,将极易出现拉裂现象。此外液体介质背压成形过程中,密封难以解决,容易造成污染,生产不安全。During the forming process of the traditional multi-point forming rigid die drawing process, the thickness of the sheet metal is uneven and the forming quality is poor. A forming die that uses a liquid medium such as oil or water to achieve back pressure is characterized by uniform pressure distribution, but uniform pressure distribution is not conducive to the thickness control of the formed part. Once the sheet is partially thinned during the forming process, it will easily appear cracking phenomenon. In addition, during the liquid medium back pressure forming process, the sealing is difficult to solve, which is easy to cause pollution and unsafe production.
发明内容Contents of the invention
本发明针对现有模具液体介质背压的模具,其密封问题难以解决及背压均匀的问题,提供一种基于固体颗粒介质背压的多点成型模具及方法,从而实现非均匀背压成形,调节垫块形状提高成形质量,解决密封问题。The present invention aims at the liquid medium back pressure mold of the existing mold, its sealing problem is difficult to solve and the back pressure uniform problem, provides a multi-point molding mold and method based on the back pressure of the solid particle medium, so as to realize non-uniform back pressure forming, Adjust the shape of the pad to improve the forming quality and solve the sealing problem.
本发明的技术方案如下:一种基于固体颗粒介质背压的多点成型模具,包括下模座,顶杆,垫块,凹模,压料板,气缸,上模座,凸模,凹模安装在下模座上,气缸安装在上模座上,气缸的气缸轴与压料板上表面接触,垫块安放在凹模内,与其间隙配合,垫块的位置与凸模的位置对应;顶杆穿过下模座,与垫块的下表面接触;其特征在于:支撑板安装在垫铁上,垫铁安装在上模座上;螺栓设置在在支撑板的空腔内,凸模由若干个螺栓构成,每根螺栓的顶端就是一个小凸模,凸模由若干的小凸模构成;在垫块上面设置有固体颗粒;在合模和制造时,固体颗粒作为柔性成形底模充满在凹模、顶块与坯料之间的底模型腔内,作为柔性成形底模。The technical scheme of the present invention is as follows: a multi-point molding die based on solid particle medium back pressure, comprising a lower mold base, a ejector pin, a pad, a die, a binder plate, a cylinder, an upper die base, a punch, and a die Installed on the lower mold base, the cylinder is installed on the upper mold base, the cylinder shaft of the cylinder is in contact with the upper surface of the binder plate, the pad is placed in the die, and the gap is matched with it, and the position of the pad corresponds to the position of the punch; The rod passes through the lower mold base and contacts with the lower surface of the cushion block; it is characterized in that: the support plate is installed on the pad iron, and the pad iron is installed on the upper mold base; the bolt is arranged in the cavity of the support plate, and the punch is formed by It is composed of several bolts, and the top of each bolt is a small punch, and the punch is composed of several small punches; solid particles are set on the pad; during mold closing and manufacturing, the solid particles are filled as a flexible forming bottom mold. In the bottom mold cavity between the die, the top block and the blank, it is used as a flexible forming bottom mold.
进一步的特征是:固体颗粒所形成的柔性成形底模的形状与垫块的上表面形状相同。A further feature is: the shape of the flexible bottom mold formed by the solid particles is the same as the shape of the upper surface of the spacer.
本发明最主要的特点是将固体颗粒介质背压与离散凸模复合的模具。The most important feature of the present invention is the die compounded by the back pressure of the solid particle medium and the discrete punch.
本模具结构简单,固体颗粒介质背压与液体介质背压相比,成形极易实现,不需特殊设备,同时,使用固体颗粒可有效防止泄漏,不污染环境,可实现安全可靠生产。液体介质背压,压力均匀,而固体颗粒介质背压可实现非均匀背压,能有效提高板料变形程度,使产品厚度均匀分布。固体颗粒底模作为柔性底模,其背压由垫块形状依需要调节,产品质量更高。凸模可依据产品形状调整变化,特别适合新产品试制及中小批量制造。The structure of the mold is simple. Compared with the back pressure of the solid particle medium and the liquid medium, the forming is very easy to realize without special equipment. At the same time, the use of solid particles can effectively prevent leakage, does not pollute the environment, and can realize safe and reliable production. The back pressure of the liquid medium is uniform, while the back pressure of the solid particle medium can realize non-uniform back pressure, which can effectively improve the deformation degree of the sheet metal and make the thickness of the product evenly distributed. The solid particle bottom mold is used as a flexible bottom mold, and its back pressure is adjusted according to the needs by the shape of the cushion block, and the product quality is higher. The punch can be adjusted and changed according to the shape of the product, which is especially suitable for new product trial production and small and medium batch production.
附图说明Description of drawings
图1为本发明一种基于固体颗粒介质背压的多点成型模具。Figure 1 is a multi-point molding die based on solid particle medium back pressure in the present invention.
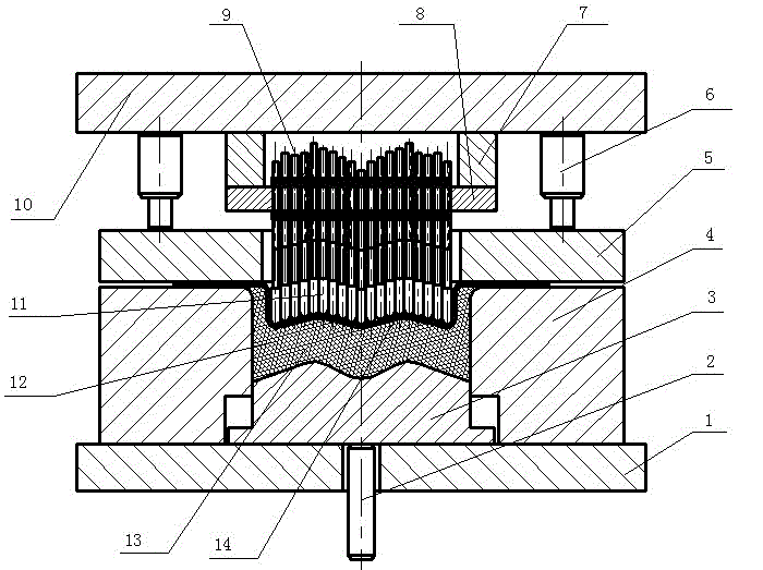
图中:1—下模座,2—顶杆,3—垫块,4—凹模,5—压料板,6—气缸,7—垫铁,8—支撑板,9—螺栓,10—上模座,11—凸模,12—固体颗粒,13—底模型腔,14—坯料。In the figure: 1—lower mold base, 2—ejector, 3—block, 4—die, 5—binder, 6—cylinder, 7—horn, 8—support plate, 9—bolt, 10— Upper mold base, 11—punch, 12—solid particles, 13—bottom mold cavity, 14—blank.
具体实施方式Detailed ways
参见图1,为本发明一种基于固体颗粒介质背压的多点成型模具,包括下模座1,顶杆2,垫块3,凹模4,压料板5,气缸6,垫铁7,支撑板8,螺栓9,上模座10,凸模11,固体颗粒12和坯料14等;凹模4安装在下模座1上,气缸6安装在上模座10上,气缸6的气缸轴(工作端)与压料板5上表面接触,气缸6工作时,其气缸轴伸长或缩短,推动压料板5相应移动以产生合模压力;支撑板8安装在垫铁7上,垫铁7安装在上模座10上,支撑板8内设置有空腔,能让若干个螺栓9穿过该空腔;垫块3设置在在凹模4中间的空腔内,与其间隙配合,顶杆2穿过下模座1,与垫块3的下表面接触,顶杆2在外力作用下推动垫块3在凹模4的空腔内上下移动;垫块3的位置与凸模11的位置对应;在垫块3上面设置有固体颗粒12,固体颗粒12作为柔性底模。在合模和制造时,固体颗粒12作为柔性成形底模充满在凹模4、顶块3与坯料14之间的底模型腔13内,作为柔性成形底模,给坯料14非均匀背压,方便其成型。固体颗粒12形成的柔性成形底模的形状由垫块3的形状决定,与垫块3上表面的形状相同。在成形过程中固体颗粒12被限制底模型腔13内,从而防止径向固体颗粒飞溅出去。防止污染环境,实现安全可靠生产。Referring to Fig. 1, it is a multi-point molding die based on solid particle medium back pressure according to the present invention, including a lower mold base 1, an ejector pin 2, a cushion block 3, a die 4, a binder plate 5, a cylinder 6, and a pad iron 7 , support plate 8, bolt 9, upper mold base 10, punch 11, solid particles 12 and blank 14, etc.; die 4 is installed on lower mold base 1, cylinder 6 is installed on upper mold base 10, cylinder shaft of cylinder 6 (Working end) is in contact with the upper surface of the binder plate 5. When the cylinder 6 is working, its cylinder shaft is extended or shortened, and the binder plate 5 is pushed to move accordingly to generate mold clamping pressure; the support plate 8 is installed on the pad iron 7, and the pad The iron 7 is installed on the upper mold base 10, and a cavity is provided in the support plate 8, allowing several bolts 9 to pass through the cavity; the spacer 3 is arranged in the cavity in the middle of the die 4, and fits with the clearance, The ejector rod 2 passes through the lower mold base 1 and contacts the lower surface of the cushion block 3. The ejector rod 2 pushes the cushion block 3 to move up and down in the cavity of the die 4 under the action of external force; the position of the cushion block 3 is the same as that of the punch 11 Corresponding to the position; solid particles 12 are arranged on the cushion block 3, and the solid particles 12 serve as a flexible bottom mold. During mold closing and manufacturing, the solid particles 12 are filled in the bottom mold cavity 13 between the die 4, the top block 3 and the blank 14 as a flexible forming bottom mold, and as a flexible forming bottom mold, the blank 14 is given non-uniform back pressure, facilitate its shaping. The shape of the flexible forming bottom mold formed by the solid particles 12 is determined by the shape of the pad 3, which is the same as the shape of the upper surface of the pad 3. During the forming process, the solid particles 12 are confined in the cavity 13 of the bottom mold, thereby preventing radial solid particles from splashing out. Prevent environmental pollution and achieve safe and reliable production.
若干根螺栓9构成凸模11,凸模11由很多的小凸模构成,每根螺栓9的顶端就是一个小凸模,成型时每根螺栓9的顶端都与坯料接触,根据制造产品的具体形状,调整每根螺栓9的顶端高度,即调节其伸出支撑板8的长度来调整凸模的形状;即凸模11由一系列小凸模杆组合而成,各小凸模杆上下高度由螺栓9调节,从而构成不同的凸模端面。凸模11利用螺栓9安装在支撑板8上,多根螺栓9实现多点成形。A plurality of bolts 9 form a punch 11, and the punch 11 is composed of many small punches. The top of each bolt 9 is a small punch. When forming, the top of each bolt 9 is in contact with the blank. Shape, adjust the height of the top of each bolt 9, that is, adjust the length of its protruding support plate 8 to adjust the shape of the punch; that is, the punch 11 is composed of a series of small punch rods, and the upper and lower heights of each small punch rod It is adjusted by bolt 9 to form different punch end faces. The punch 11 is installed on the support plate 8 by means of bolts 9, and multiple bolts 9 realize multi-point forming.
凹模底模由固体颗粒12构成,成形过程中,始终作用于板料,成为背压。这种压力由气垫通过垫块3传来。The bottom die of the concave die is composed of solid particles 12, which always act on the sheet during the forming process, forming a back pressure. This pressure is transmitted through the spacer 3 by the air cushion.
本发明的固体颗粒12,主要采用钢珠、钢球、金属球或其他性能合适的颗粒,满足成型挤压的需要。The solid particles 12 of the present invention mainly adopt steel balls, steel balls, metal balls or other particles with suitable properties to meet the needs of molding and extrusion.
最后说明的是,以上实施例仅用以说明本发明的技术方案而非限制,尽管参照较佳实施例对本发明进行了详细说明,本领域的普通技术人员应当理解,可以对本发明的技术方案进行修改或者等同替换,而不脱离本发明技术方案的宗旨和范围,其均应涵盖在本发明的权利要求范围当中。Finally, it is noted that the above embodiments are only used to illustrate the technical solutions of the present invention without limitation. Although the present invention has been described in detail with reference to the preferred embodiments, those of ordinary skill in the art should understand that the technical solutions of the present invention can be carried out Modifications or equivalent replacements without departing from the spirit and scope of the technical solution of the present invention shall be covered by the claims of the present invention.
Claims (2)
Priority Applications (1)
| Application Number | Priority Date | Filing Date | Title |
|---|---|---|---|
| CN 201010213804 CN101837410A (en) | 2010-06-30 | 2010-06-30 | Multipoint forming die based on solid particle medium back pressure |
Applications Claiming Priority (1)
| Application Number | Priority Date | Filing Date | Title |
|---|---|---|---|
| CN 201010213804 CN101837410A (en) | 2010-06-30 | 2010-06-30 | Multipoint forming die based on solid particle medium back pressure |
Publications (1)
| Publication Number | Publication Date |
|---|---|
| CN101837410A true CN101837410A (en) | 2010-09-22 |
Family
ID=42741212
Family Applications (1)
| Application Number | Title | Priority Date | Filing Date |
|---|---|---|---|
| CN 201010213804 Pending CN101837410A (en) | 2010-06-30 | 2010-06-30 | Multipoint forming die based on solid particle medium back pressure |
Country Status (1)
| Country | Link |
|---|---|
| CN (1) | CN101837410A (en) |
Cited By (7)
| Publication number | Priority date | Publication date | Assignee | Title |
|---|---|---|---|---|
| CN102069127A (en) * | 2010-12-21 | 2011-05-25 | 常州华森医疗器械有限公司 | Universal forming die with upper and lower adjustable curved surfaces |
| CN102555115A (en) * | 2010-11-30 | 2012-07-11 | 歌美飒创新技术公司 | Device for regulating deformations of the bed of a geometrically aerodynamic mold and molding method with this device |
| CN104174761A (en) * | 2014-07-11 | 2014-12-03 | 山东科技大学 | Flexible forming device and technique for complex panel utilizing grain medium ultrasonic vibration |
| CN104679243A (en) * | 2015-02-09 | 2015-06-03 | 马涛 | Three-dimensional entity display platform |
| CN109175051A (en) * | 2018-08-21 | 2019-01-11 | 吉林大学 | A kind of no mould multiple spot spinning three-dimensional curve generation method |
| CN109808104A (en) * | 2019-04-04 | 2019-05-28 | 吉林大学 | An anti-backlash mechanism for multi-point mold forming of SMC composite workpieces |
| CN115673292A (en) * | 2022-11-19 | 2023-02-03 | 吉林大学 | Multi-point Rapid Casting Forming Method of Low Melting Point Alloy Skin Drawing Die |
Citations (6)
| Publication number | Priority date | Publication date | Assignee | Title |
|---|---|---|---|---|
| US5505068A (en) * | 1993-03-26 | 1996-04-09 | Bartels; Hermann | Method and apparatus for shaping hollow-section workpieces |
| JP2002137020A (en) * | 2000-10-26 | 2002-05-14 | Fuji Industrial Co Ltd | Press-forming method and mold, movable flask member used for mold |
| CN1864884A (en) * | 2006-06-16 | 2006-11-22 | 重庆工学院 | Sheet material mold-free multi-point forming device based on viscous medium transfer force and method |
| CN2858098Y (en) * | 2005-08-10 | 2007-01-17 | 中国科学院金属研究所 | A sheet metal hydraulic or pneumatic forming device |
| CN2900010Y (en) * | 2006-06-01 | 2007-05-16 | 上海交通大学 | Metal plate no-mould forming practical device |
| CN201693081U (en) * | 2010-06-30 | 2011-01-05 | 重庆理工大学 | A Flexible Forming Die for Sheet Metal with Non-uniform Back Pressure |
-
2010
- 2010-06-30 CN CN 201010213804 patent/CN101837410A/en active Pending
Patent Citations (6)
| Publication number | Priority date | Publication date | Assignee | Title |
|---|---|---|---|---|
| US5505068A (en) * | 1993-03-26 | 1996-04-09 | Bartels; Hermann | Method and apparatus for shaping hollow-section workpieces |
| JP2002137020A (en) * | 2000-10-26 | 2002-05-14 | Fuji Industrial Co Ltd | Press-forming method and mold, movable flask member used for mold |
| CN2858098Y (en) * | 2005-08-10 | 2007-01-17 | 中国科学院金属研究所 | A sheet metal hydraulic or pneumatic forming device |
| CN2900010Y (en) * | 2006-06-01 | 2007-05-16 | 上海交通大学 | Metal plate no-mould forming practical device |
| CN1864884A (en) * | 2006-06-16 | 2006-11-22 | 重庆工学院 | Sheet material mold-free multi-point forming device based on viscous medium transfer force and method |
| CN201693081U (en) * | 2010-06-30 | 2011-01-05 | 重庆理工大学 | A Flexible Forming Die for Sheet Metal with Non-uniform Back Pressure |
Non-Patent Citations (2)
| Title |
|---|
| 《中国优秀硕士学位论文全文数据库》 20090615 陈国亮 颗粒介质成形工艺研究 第25,26页 1,2 , 第6期 2 * |
| 《锻压技术》 20100228 张凌云等 固体颗粒介质拉深新工艺及成形模具设计 第93页第2段 1-2 第35卷, 第1期 2 * |
Cited By (9)
| Publication number | Priority date | Publication date | Assignee | Title |
|---|---|---|---|---|
| CN102555115A (en) * | 2010-11-30 | 2012-07-11 | 歌美飒创新技术公司 | Device for regulating deformations of the bed of a geometrically aerodynamic mold and molding method with this device |
| CN102555115B (en) * | 2010-11-30 | 2015-11-25 | 歌美飒创新技术公司 | For regulating the device of the bottom deformation of the mould of aerodynamics geometry and using the method for moulding of this device |
| CN102069127A (en) * | 2010-12-21 | 2011-05-25 | 常州华森医疗器械有限公司 | Universal forming die with upper and lower adjustable curved surfaces |
| CN104174761A (en) * | 2014-07-11 | 2014-12-03 | 山东科技大学 | Flexible forming device and technique for complex panel utilizing grain medium ultrasonic vibration |
| CN104174761B (en) * | 2014-07-11 | 2016-03-09 | 山东科技大学 | Utilize the complicated sheet material flexible forming instrument and supplies of granule medium ultrasonic vibration |
| CN104679243A (en) * | 2015-02-09 | 2015-06-03 | 马涛 | Three-dimensional entity display platform |
| CN109175051A (en) * | 2018-08-21 | 2019-01-11 | 吉林大学 | A kind of no mould multiple spot spinning three-dimensional curve generation method |
| CN109808104A (en) * | 2019-04-04 | 2019-05-28 | 吉林大学 | An anti-backlash mechanism for multi-point mold forming of SMC composite workpieces |
| CN115673292A (en) * | 2022-11-19 | 2023-02-03 | 吉林大学 | Multi-point Rapid Casting Forming Method of Low Melting Point Alloy Skin Drawing Die |
Similar Documents
| Publication | Publication Date | Title |
|---|---|---|
| CN201760499U (en) | Backward deep drawing die with outer edge subject to back pressure of forward pressure belt | |
| CN101837410A (en) | Multipoint forming die based on solid particle medium back pressure | |
| CN201693081U (en) | A Flexible Forming Die for Sheet Metal with Non-uniform Back Pressure | |
| CN201664731U (en) | Solid Particle Punch Forming Die with Movable Drawbeads | |
| CN203003032U (en) | Precision forging extrusion die device | |
| CN101837409A (en) | Rigid and flexible combined forming die based on solid particle medium | |
| CN201625727U (en) | Variable shape punch forming die with controllable drawbead plus radial thrust | |
| CN201693079U (en) | With positive pressure thinning deep drawing die | |
| CN201613307U (en) | Drawing die for car door outer panel | |
| CN201693080U (en) | Sheet metal forming die with non-uniform back pressure | |
| CN104785600B (en) | Die work method | |
| CN101829732A (en) | Solid particle male die forming mold with movable brake beads and radial thrust | |
| CN201711428U (en) | Sheet-forming die with movable female die for flexible bottom die | |
| CN101850388A (en) | Sheet metal forming die based on radial thrust and back pressure of solid particle medium | |
| CN201728291U (en) | Sheet bar molding mold with radial thrust and back pressure | |
| CN207806345U (en) | Large diameter combined hot stamping die | |
| CN101869944A (en) | A variable-shape punch forming die with solid particle medium plus radial thrust | |
| CN204842681U (en) | Novel cylinder class pipe fitting side opening turn -ups mould | |
| CN201625725U (en) | Variable-shape Punch Forming Die with Radial Pressure | |
| CN101844178B (en) | Mold for thinning and drawing blank under assisted thrust of solid particle medium | |
| CN105414350A (en) | Booster stamping die with fast response speed for stamping pressure | |
| CN202516940U (en) | Special-shaped pipe forming mould | |
| CN207103590U (en) | A kind of metal plate brake forming mould | |
| CN205522653U (en) | Brake block mould | |
| CN206253530U (en) | Shaping mould head part plate power source new device |
Legal Events
| Date | Code | Title | Description |
|---|---|---|---|
| C06 | Publication | ||
| PB01 | Publication | ||
| C10 | Entry into substantive examination | ||
| SE01 | Entry into force of request for substantive examination | ||
| C02 | Deemed withdrawal of patent application after publication (patent law 2001) | ||
| WD01 | Invention patent application deemed withdrawn after publication |
Application publication date: 20100922 |
