CN101749630A - Solar street light - Google Patents
Solar street light Download PDFInfo
- Publication number
- CN101749630A CN101749630A CN200810204289A CN200810204289A CN101749630A CN 101749630 A CN101749630 A CN 101749630A CN 200810204289 A CN200810204289 A CN 200810204289A CN 200810204289 A CN200810204289 A CN 200810204289A CN 101749630 A CN101749630 A CN 101749630A
- Authority
- CN
- China
- Prior art keywords
- battery
- lamp
- solar
- lamp tube
- control module
- Prior art date
- Legal status (The legal status is an assumption and is not a legal conclusion. Google has not performed a legal analysis and makes no representation as to the accuracy of the status listed.)
- Pending
Links
- XUIMIQQOPSSXEZ-UHFFFAOYSA-N Silicon Chemical compound [Si] XUIMIQQOPSSXEZ-UHFFFAOYSA-N 0.000 claims 1
- 229910052710 silicon Inorganic materials 0.000 claims 1
- 239000010703 silicon Substances 0.000 claims 1
- 230000000694 effects Effects 0.000 abstract description 4
- 238000005265 energy consumption Methods 0.000 abstract description 4
- 229910021421 monocrystalline silicon Inorganic materials 0.000 abstract description 3
- 239000012780 transparent material Substances 0.000 abstract description 3
- 230000009286 beneficial effect Effects 0.000 abstract description 2
- 238000005286 illumination Methods 0.000 description 2
- 230000005855 radiation Effects 0.000 description 2
- DGAQECJNVWCQMB-PUAWFVPOSA-M Ilexoside XXIX Chemical compound C[C@@H]1CC[C@@]2(CC[C@@]3(C(=CC[C@H]4[C@]3(CC[C@@H]5[C@@]4(CC[C@@H](C5(C)C)OS(=O)(=O)[O-])C)C)[C@@H]2[C@]1(C)O)C)C(=O)O[C@H]6[C@@H]([C@H]([C@@H]([C@H](O6)CO)O)O)O.[Na+] DGAQECJNVWCQMB-PUAWFVPOSA-M 0.000 description 1
- 238000010586 diagram Methods 0.000 description 1
- 238000007599 discharging Methods 0.000 description 1
- 230000005611 electricity Effects 0.000 description 1
- WVBBLATZSOLERT-UHFFFAOYSA-N gold tungsten Chemical compound [W].[Au] WVBBLATZSOLERT-UHFFFAOYSA-N 0.000 description 1
- 229910001507 metal halide Inorganic materials 0.000 description 1
- 150000005309 metal halides Chemical class 0.000 description 1
- 238000000034 method Methods 0.000 description 1
- 230000000630 rising effect Effects 0.000 description 1
- 229910052708 sodium Inorganic materials 0.000 description 1
- 239000011734 sodium Substances 0.000 description 1
Images
Classifications
-
- Y—GENERAL TAGGING OF NEW TECHNOLOGICAL DEVELOPMENTS; GENERAL TAGGING OF CROSS-SECTIONAL TECHNOLOGIES SPANNING OVER SEVERAL SECTIONS OF THE IPC; TECHNICAL SUBJECTS COVERED BY FORMER USPC CROSS-REFERENCE ART COLLECTIONS [XRACs] AND DIGESTS
- Y02—TECHNOLOGIES OR APPLICATIONS FOR MITIGATION OR ADAPTATION AGAINST CLIMATE CHANGE
- Y02B—CLIMATE CHANGE MITIGATION TECHNOLOGIES RELATED TO BUILDINGS, e.g. HOUSING, HOUSE APPLIANCES OR RELATED END-USER APPLICATIONS
- Y02B20/00—Energy efficient lighting technologies, e.g. halogen lamps or gas discharge lamps
- Y02B20/72—Energy efficient lighting technologies, e.g. halogen lamps or gas discharge lamps in street lighting
Landscapes
- Non-Portable Lighting Devices Or Systems Thereof (AREA)
Abstract
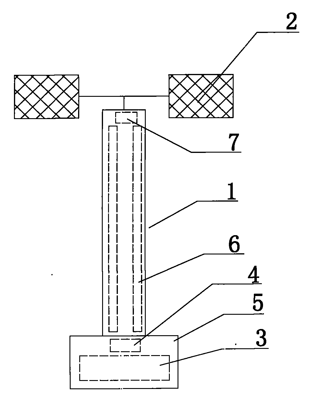
一种太阳能路灯,包括灯柱、太阳能电池板、蓄电池、控制模块、底座、灯管、灯管控制器,蓄电池控制模块输入端连接太阳能电池板,蓄电池控制模块输出端连接蓄电池;蓄电池连接灯管控制器,灯管控制器连接灯管,灯柱外围设有透明罩体,灯柱内设有灯管。所述一种太阳能路灯,其特征在于:所述太阳能电池板为单晶硅太阳能电池。本发明的有益效果是:没有传统路灯的灯泡光源,用透明材料制成灯柱,并在灯柱内设置灯管。可利用灯杆直接发光,降低了光源的高度,减少周围光照度的损失从而达到减少能耗的效果,有利于太阳能电池持续供电。
A solar street lamp, comprising a lamp post, a solar battery panel, a battery, a control module, a base, a lamp tube, and a lamp tube controller, the input end of the battery control module is connected to the solar battery panel, the output end of the battery control module is connected to the battery; the battery is connected to the lamp tube The controller, the lamp tube controller is connected with the lamp tube, a transparent cover is arranged on the periphery of the lamp post, and a lamp tube is arranged inside the lamp post. The solar street lamp is characterized in that: the solar cell panel is a monocrystalline silicon solar cell. The beneficial effects of the invention are: there is no light bulb light source of the traditional street lamp, the lamppost is made of transparent material, and the lamp tube is arranged in the lamppost. The light pole can be used to directly emit light, which reduces the height of the light source and reduces the loss of ambient light to achieve the effect of reducing energy consumption, which is conducive to the continuous power supply of solar cells.
Description
技术领域technical field
本发明涉及一种照明设备,特别是涉及一种路灯。The invention relates to a lighting device, in particular to a street lamp.
背景技术Background technique
随着地球资源的日益贫乏,基础能源的投资成本日益攀高,而太阳能作为一种“取之不尽用之不竭”的环保新能源越来越受到重视。同时,在当今社会城市照明领域中,路灯照明所占的比重越来越大,与现在供电紧张的矛盾也越来越突出,因此采用环保节能路灯取代传统路灯也是今后的大势所趋。As the earth's resources become increasingly scarce, the investment cost of basic energy is rising day by day, and solar energy, as an "inexhaustible" environmentally friendly new energy, has been paid more and more attention. At the same time, in the field of urban lighting in today's society, the proportion of street lighting is increasing, and the contradiction with the current shortage of power supply is becoming more and more prominent. Therefore, it is the general trend in the future to replace traditional street lamps with environmentally friendly and energy-saving street lamps.
以往也出现过许多利用太阳能发电的路灯,但是以往的太阳能路灯只是单纯的改变了路灯的供电方式,对于路灯的形势结构方面无很大的创新。传统路灯结构一般都是将光源安装在距地面6~8米的高空对地面进行俯射,地面照度一般只有10~20勒克斯,照度损失较大,能耗较高,不利于太阳能电池持续供电。In the past, there have been many street lamps that use solar power to generate electricity, but the solar street lamps in the past simply changed the power supply mode of the street lamps, and there was no great innovation in the situation and structure of the street lamps. The traditional street lamp structure generally installs the light source at a height of 6 to 8 meters above the ground to shoot down on the ground. The ground illumination is generally only 10 to 20 lux. The loss of illumination is large and the energy consumption is high, which is not conducive to the continuous power supply of solar cells.
现在和以往都有许多关于太阳能路灯的优秀设计,如2008年8月20日中国专利局公告的由王泽洪、张辉申报的,授权公告号为CN201103830Y,中国专利号(ZL)为200720045203.8号的发明专利。所采用的技术方案是在太阳能路灯上采用大功率LED代替高压钠灯、金钨灯、金属卤素灯等传统光源,达到了一定的节省能耗的效果,但仍未解决光照度损失较大的问题。Now and in the past, there are many excellent designs about solar street lamps, such as the invention declared by Wang Zehong and Zhang Hui announced by the Chinese Patent Office on August 20, 2008, the authorized announcement number is CN201103830Y, and the Chinese patent number (ZL) is the invention of No. 200720045203.8 patent. The technical solution adopted is to use high-power LEDs to replace traditional light sources such as high-pressure sodium lamps, gold-tungsten lamps, and metal halide lamps on solar street lamps, which has achieved a certain effect of saving energy consumption, but has not yet solved the problem of large illuminance loss.
发明内容Contents of the invention
本发明所要解决的技术问题是:为克服传统太阳能路灯光照度损失较大,不利于太阳能电池持续供电的问题,本发明提供一种灯柱直接发光的太阳能路灯。The technical problem to be solved by the invention is: in order to overcome the problem that the illuminance loss of the traditional solar street light is relatively large, which is not conducive to the continuous power supply of the solar battery, the invention provides a solar street light that directly emits light from a lamp post.
为了实现上述目的,本发明的技术方案如下:In order to achieve the above object, the technical scheme of the present invention is as follows:
一种太阳能路灯,包括灯柱、太阳能电池板、蓄电池、控制模块、底座、灯管、灯管控制器,蓄电池控制模块输入端连接太阳能电池板,蓄电池控制模块输出端连接蓄电池;蓄电池连接灯管控制器,灯管控制器连接灯管,其特征在于:所述灯柱内设有灯管。A solar street lamp, comprising a lamp post, a solar battery panel, a battery, a control module, a base, a lamp tube, and a lamp tube controller, the input end of the battery control module is connected to the solar battery panel, the output end of the battery control module is connected to the battery; the battery is connected to the lamp tube The controller, the lamp tube controller is connected with the lamp tube, and it is characterized in that: the lamp post is provided with a lamp tube.
所述灯柱外围设有透明罩体。A transparent cover is arranged on the periphery of the lamp post.
所述太阳能电池板为单晶硅太阳能电池。The solar cell panel is a monocrystalline silicon solar cell.
本发明的有益效果是:没有传统路灯的灯泡光源,用透明材料制成灯柱,并在灯柱内设置灯管。可利用灯杆直接发光,降低了光源的高度,减少周围光照度的损失从而达到减少能耗的效果,有利于太阳能电池持续供电。The beneficial effects of the invention are: there is no light bulb light source of the traditional street lamp, the lamp post is made of transparent material, and the lamp tube is arranged in the lamp post. The light pole can be used to directly emit light, which reduces the height of the light source and reduces the loss of ambient light to achieve the effect of reducing energy consumption, which is conducive to the continuous power supply of solar cells.
附图说明Description of drawings
下面结合附图和具体实施方式来详细说明本发明:Describe the present invention in detail below in conjunction with accompanying drawing and specific embodiment:
图1是本发明的参考图。Fig. 1 is a reference diagram of the present invention.
具体实施方式Detailed ways
为了使本发明实现的技术手段、创作特征、达成目的与功效易于明白了解,下面结合具体图示,进一步阐述本发明。In order to make the technical means, creative features, goals and effects achieved by the present invention easy to understand, the present invention will be further described below in conjunction with specific illustrations.
一种太阳能路灯,包括灯柱1、太阳能电池板2、蓄电池3、蓄电池控制模块4、底座5、灯管6、灯管控制器7。蓄电池控制模块4的输入端连接太阳能电池板2,蓄电池控制模块4的输出端连接蓄电池3;蓄电池3连接灯管控制器7,灯管控制器7连接灯管6。白天太阳能电池板2工作,将太阳的辐射能力转换为电能,然后将产生的电能送至蓄电池3中存储起来。为了延长蓄电池3的使用寿命,必须通过控制模块4对它的充电放电条件加以限制,防止蓄电池3过充电及深度充电,同时灯管控制器7控制灯管6的开关。A solar street lamp includes a
在本发明中,灯柱1为透明材料制成,可以透出光亮,并在灯柱1内设置有灯管6,灯管6可以直接透过灯柱发光,不仅降低了光源高度,减少了光照度损失,同时灯柱发光的外形也具有很好的美观性。In the present invention, the
太阳能电池板2是太阳能路灯中的核心部分,其作用是将太阳的辐射能力转换为电能,太阳能电池板2采用性能参数比较稳定的单晶硅太阳能电池。The
以上显示和描述了本发明的基本原理、主要特征和本发明的优点。本行业的技术人员应该了解,本发明不受上述实施例的限制,上述实施例和说明书中描述的只是说明本发明的原理,在不脱离本发明精神和范围的前提下本发明还会有各种变化和改进,这些变化和改进都落入要求保护的本发明范围内。本发明要求保护范围由所附的权利要求书及其等同物界定。The basic principles, main features and advantages of the present invention have been shown and described above. Those skilled in the industry should understand that the present invention is not limited by the above-mentioned embodiments, and that described in the above-mentioned embodiments and the description only illustrates the principles of the present invention, and the present invention also has various aspects without departing from the spirit and scope of the present invention. Variations and improvements all fall within the scope of the claimed invention. The protection scope of the present invention is defined by the appended claims and their equivalents.
Claims (3)
Priority Applications (1)
| Application Number | Priority Date | Filing Date | Title |
|---|---|---|---|
| CN200810204289A CN101749630A (en) | 2008-12-10 | 2008-12-10 | Solar street light |
Applications Claiming Priority (1)
| Application Number | Priority Date | Filing Date | Title |
|---|---|---|---|
| CN200810204289A CN101749630A (en) | 2008-12-10 | 2008-12-10 | Solar street light |
Publications (1)
| Publication Number | Publication Date |
|---|---|
| CN101749630A true CN101749630A (en) | 2010-06-23 |
Family
ID=42477029
Family Applications (1)
| Application Number | Title | Priority Date | Filing Date |
|---|---|---|---|
| CN200810204289A Pending CN101749630A (en) | 2008-12-10 | 2008-12-10 | Solar street light |
Country Status (1)
| Country | Link |
|---|---|
| CN (1) | CN101749630A (en) |
Cited By (4)
| Publication number | Priority date | Publication date | Assignee | Title |
|---|---|---|---|---|
| CN103542355A (en) * | 2013-09-30 | 2014-01-29 | 安徽华印机电股份有限公司 | Photovoltaic street lamp |
| CN103672650A (en) * | 2013-12-11 | 2014-03-26 | 苏州市峰之火数码科技有限公司 | Lamppost |
| CN104964235A (en) * | 2015-06-16 | 2015-10-07 | 中山市吉尔科研技术服务有限公司 | LED table lamp |
| CN110242919A (en) * | 2019-06-17 | 2019-09-17 | 应晓强 | Solar street light |
-
2008
- 2008-12-10 CN CN200810204289A patent/CN101749630A/en active Pending
Cited By (4)
| Publication number | Priority date | Publication date | Assignee | Title |
|---|---|---|---|---|
| CN103542355A (en) * | 2013-09-30 | 2014-01-29 | 安徽华印机电股份有限公司 | Photovoltaic street lamp |
| CN103672650A (en) * | 2013-12-11 | 2014-03-26 | 苏州市峰之火数码科技有限公司 | Lamppost |
| CN104964235A (en) * | 2015-06-16 | 2015-10-07 | 中山市吉尔科研技术服务有限公司 | LED table lamp |
| CN110242919A (en) * | 2019-06-17 | 2019-09-17 | 应晓强 | Solar street light |
Similar Documents
| Publication | Publication Date | Title |
|---|---|---|
| CN201093318Y (en) | Light energy, wind energy and commercial power optimizing complementary advertisement road lamp | |
| CN101749630A (en) | Solar street light | |
| CN102359451A (en) | Solar-charging-type multifunctional electric fan | |
| CN203309715U (en) | Displacement LED (Light Emitting Diode) light source for ceiling lamp | |
| CN203517600U (en) | Solar LED street lamp | |
| CN201606782U (en) | A solar LED street light | |
| CN204187504U (en) | A kind of solar-wind energy-optical energy streetlamp | |
| CN203204972U (en) | Efficient and energy-saving night advertising board | |
| CN203068392U (en) | Solar street lamp integrating photovoltaic panel and lamp head | |
| CN203326637U (en) | Solar power supply bus station | |
| CN202382152U (en) | Solar LED (light emitting diode) wall-hung lamp | |
| CN102338343A (en) | Energy-saving high pole street lamp | |
| CN203115807U (en) | Solar street lamp | |
| CN202733756U (en) | Light-emitting diode (LED) lamp | |
| CN201407577Y (en) | Wind energy street lamp | |
| CN101813283A (en) | Solar LED twinkle lamp | |
| CN202253307U (en) | Novel LED energy-saving lamp | |
| CN203024027U (en) | Solar street lamp using electrodeless lamp | |
| CN201661946U (en) | A time-controlled street lamp | |
| CN102661565A (en) | Novel solar illuminating device | |
| CN202091981U (en) | Wind and light complementation street lamp lighting system | |
| CN202132844U (en) | A high-power LED solar street light | |
| CN2937799Y (en) | Solar street lights that generate electricity day and night | |
| CN202188433U (en) | Novel LED solar energy street lamp | |
| CN202484818U (en) | Solar landscape lamp |
Legal Events
| Date | Code | Title | Description |
|---|---|---|---|
| C06 | Publication | ||
| PB01 | Publication | ||
| C02 | Deemed withdrawal of patent application after publication (patent law 2001) | ||
| WD01 | Invention patent application deemed withdrawn after publication |
Open date: 20100623 |
