CN100438945C - Press filter type water purification method and device thereof - Google Patents
Press filter type water purification method and device thereof Download PDFInfo
- Publication number
- CN100438945C CN100438945C CNB2005100258404A CN200510025840A CN100438945C CN 100438945 C CN100438945 C CN 100438945C CN B2005100258404 A CNB2005100258404 A CN B2005100258404A CN 200510025840 A CN200510025840 A CN 200510025840A CN 100438945 C CN100438945 C CN 100438945C
- Authority
- CN
- China
- Prior art keywords
- water
- filter
- water inlet
- water purification
- purification method
- Prior art date
- Legal status (The legal status is an assumption and is not a legal conclusion. Google has not performed a legal analysis and makes no representation as to the accuracy of the status listed.)
- Expired - Lifetime
Links
Images
Landscapes
- Filtration Of Liquid (AREA)
Abstract
本发明提供了一种压滤式净水方法及其装置,属于水处理技术领域。本压滤式净水方法包括进水、过滤、出水、清洗和污泥排放几个步骤。采用上述压滤式净水方法的装置包括一个壳体,在壳体上连接进水管,壳体内为一个进水腔,在进水腔中设有一个或者多个圆筒形的过滤芯,过滤芯的中心为过滤腔,每个过滤芯中均接有出水管,出水管的内端与过滤腔相通,外端穿过壳体接于出水管路中,在过滤芯的外侧面设有清洗装置。本发明的优点在于本净水方法突破了传统的混合、反应、沉淀的净化工艺,采用过滤的方法,结合清洗装置,具有较好的净水效果;在净水过程中无需加药物,大大降低了生产成本;同时,水质稳定、可靠,确保其安全供水和优质供水。
The invention provides a filter press type water purification method and a device thereof, which belong to the technical field of water treatment. The pressure filter type water purification method includes several steps of water intake, filtration, water discharge, cleaning and sludge discharge. The device adopting the above-mentioned filter press type water purification method includes a housing, on which the water inlet pipe is connected, and inside the housing is a water inlet cavity, and one or more cylindrical filter cores are arranged in the water inlet cavity to filter The center of the core is the filter chamber, and each filter core is connected with a water outlet pipe. The inner end of the water outlet pipe communicates with the filter chamber, and the outer end passes through the shell to connect to the water outlet pipeline. device. The advantage of the present invention is that the water purification method breaks through the traditional purification process of mixing, reaction, and precipitation, adopts the method of filtration, and combines the cleaning device, which has a better water purification effect; no need to add drugs in the water purification process, greatly reducing The production cost is reduced; at the same time, the water quality is stable and reliable, ensuring its safe water supply and high-quality water supply.
Description
技术领域 technical field
本发明属于水处理技术领域,特别涉及一种用于给水、排水、海水淡化预处理、自来水深度净化等净水工艺中所用的方法。同时,本发明还涉及采用上述方法进行净水处理的装置。The invention belongs to the technical field of water treatment, and in particular relates to a method used in water purification processes such as water supply, drainage, seawater desalination pretreatment, tap water depth purification and the like. At the same time, the present invention also relates to a device for purifying water by using the above method.
背景技术 Background technique
在传统的水处理工程或者净化水的工艺中,一般是采用混合、反应、沉淀(固液分离)、过滤的工艺流程。在传统的工艺中,需要加入絮凝剂和消毒剂之类的药物,运行时生产成本高;同时,现有的工艺通常是在土建构筑物中实施,因此需要大量的建设投资;并且工艺处理时间长,截留下的杂质需要人工排出,难以实现连续供水,产水量不高。In traditional water treatment projects or water purification processes, the process of mixing, reaction, precipitation (solid-liquid separation), and filtration is generally adopted. In the traditional process, drugs such as flocculants and disinfectants need to be added, and the production cost is high during operation; at the same time, the existing process is usually implemented in civil structures, so a large amount of construction investment is required; and the process takes a long time , the intercepted impurities need to be manually discharged, it is difficult to achieve continuous water supply, and the water production is not high.
为此,人们设计出各种净水装置代替土建构筑物。如中国专利00220596.3提供的“一体化压力式自动净水器”。它包括一个净水器桶体,净水器桶体内部有两个左右分布的沉淀区和过滤区,沉淀区和过滤区上部相通。沉淀区的中部设有进水管,在其底部设有排污管;过滤区内设有多层过滤结构,并在其底部设有一出水管。源水由进水管依次进入沉淀区、过滤区。在过滤区内水中的杂质被截留,由出水管向外排出净化水。当需要清除积聚于过滤区的杂质时,改变进水方向,由出水孔进水,将杂质反冲入沉淀区内,并通过沉淀区底部的排污管排向外部。这种净水器占地面积较小、造价低,经处理后的水质较好。但是,在清除杂质时无法持续供水,并且过滤层过多,结构过于复杂。For this reason, people design various water purification devices to replace civil structures. Such as the "integrated pressure type automatic water purifier" provided by Chinese patent 00220596.3. It comprises a water purifier barrel, inside the water purifier barrel there are two sedimentation areas and a filter area distributed left and right, and the upper part of the sedimentation area and the filter area communicates. A water inlet pipe is provided in the middle of the sedimentation area, and a sewage discharge pipe is provided at the bottom; a multi-layer filtering structure is provided in the filtration area, and a water outlet pipe is provided at the bottom. The source water enters the sedimentation area and the filtration area sequentially from the water inlet pipe. Impurities in the water in the filter area are intercepted, and the purified water is discharged from the outlet pipe. When it is necessary to remove the impurities accumulated in the filter area, change the direction of the water inlet, enter the water from the outlet hole, backwash the impurities into the sedimentation area, and discharge them to the outside through the sewage pipe at the bottom of the sedimentation area. This water purifier occupies a small area, is low in cost, and has better water quality after treatment. However, it cannot continuously supply water when removing impurities, and there are too many filter layers and the structure is too complicated.
发明内容Contents of the invention
本发明的目的是针对现有的净水方法所存在的上述问题,提供一种压滤式净水方法,使得该方法具有生产成本低、生产的水质稳定、效率高等特点。The object of the present invention is to solve the above problems in the existing water purification methods, and provide a filter press type water purification method, which has the characteristics of low production cost, stable water quality and high efficiency.
本发明的另一目的是提供一种采用上述方法进行净水处理的装置,使该装置结构合理、使用寿命长、工作效率高。Another object of the present invention is to provide a device for water purification treatment using the above method, so that the device has a reasonable structure, long service life and high working efficiency.
本发明的压滤式净水方法包括以下步骤:The filter press type water purification method of the present invention comprises the following steps:
1、进水:采用压力或者重力的方法将源水压入进水腔中;1. Water inlet: press the source water into the water inlet cavity by pressure or gravity;
2、过滤:利用压力或者重力使进水腔中的源水通过过滤芯进入过滤腔中;2. Filtration: Use pressure or gravity to make the source water in the water inlet chamber enter the filter chamber through the filter element;
3、出水:将过滤腔中的透过液通过出水管引出,作为净化水来使用;3. Water outlet: the permeate in the filter chamber is drawn out through the outlet pipe and used as purified water;
4、清洗:没有通过过滤膜被截留的固体颗粒或者杂质用清洗装置清洗下来,落入固液分离澄清区,并进行固液分离;4. Cleaning: The solid particles or impurities that have not passed through the filter membrane are cleaned by the cleaning device, fall into the solid-liquid separation and clarification area, and perform solid-liquid separation;
5、上一步骤中固液分离后的淤泥淤积于淤泥区中,并通过排污管向外排放。5. The sludge after solid-liquid separation in the previous step is deposited in the sludge area and discharged through the sewage pipe.
在上述的压滤式净水方法中,所述的进水腔中有一个或者多个过滤芯,过滤芯呈圆筒形,过滤芯的中心为过滤腔。In the above filter press water purification method, there are one or more filter cores in the water inlet chamber, the filter cores are in the shape of a cylinder, and the center of the filter core is the filter cavity.
为实现本发明的另一目的,本采用上述压滤式净水方法的装置包括一个壳体,在壳体上连接进水管,其特征在于,所述的壳体内为一个进水腔,在进水腔中设有一个或者多个圆筒形的过滤芯,过滤芯的中心为过滤腔,每个过滤芯中均接有出水管,出水管的内端与过滤腔相通,外端穿过壳体接于出水管路中,在过滤芯的外侧面设有清洗装置;进水管连接于壳体的上部且与进水腔相通。In order to achieve another object of the present invention, the device adopting the above-mentioned filter press type water purification method includes a housing, and a water inlet pipe is connected to the housing. One or more cylindrical filter cores are arranged in the water cavity, the center of the filter core is the filter cavity, each filter core is connected with a water outlet pipe, the inner end of the water outlet pipe communicates with the filter chamber, and the outer end passes through the shell The body is connected to the water outlet pipeline, and a cleaning device is provided on the outer surface of the filter element; the water inlet pipe is connected to the upper part of the shell and communicates with the water inlet chamber.
在上述的净水装置中,所述的清洗装置包括电机、传动轴、密封构件、支架及刮片,支架通过传动轴与电机联接,密封构件设置于传动轴和壳体之间,支架位于过滤芯的外侧,在支架上固连有刮片,刮片可与过滤芯的外侧面相接触。In the above-mentioned water purification device, the cleaning device includes a motor, a transmission shaft, a sealing member, a bracket and a scraper, the bracket is connected to the motor through the transmission shaft, the sealing member is arranged between the transmission shaft and the housing, and the bracket is located between the filter The outer side of the core is fixedly connected with a scraper on the bracket, and the scraper can be in contact with the outer surface of the filter core.
在上述的净水装置中,所述的壳体下部呈锥形,其内部由上至下分别为固液分离澄清区和淤泥区,并且在壳体的底部设有排污口。由清洗装置清洗下来的污物淤泥,经固液分离澄清区固液分离后,淤积于淤泥区中,最后从排污口向外排出。In the above-mentioned water purification device, the lower part of the shell is conical, and its interior is respectively a solid-liquid separation clarification area and a sludge area from top to bottom, and a sewage outlet is provided at the bottom of the shell. The dirt and sludge cleaned by the cleaning device is deposited in the sludge area after solid-liquid separation and clarification in the solid-liquid separation and clarification area, and finally discharged from the sewage outlet.
在上述的净水装置中,所述的排污口上设有阀门。通过该阀门来控制排污口的开启和关闭。In the above water purification device, a valve is provided on the sewage outlet. The valve is used to control the opening and closing of the sewage outlet.
在上述的净水装置中,所述的过滤芯为陶瓷芯或复合滤芯。复合滤芯通常是由两种或者两种以上的材料组成,以提高其过滤效果。In the above water purification device, the filter core is a ceramic core or a composite filter core. Composite filter element is usually composed of two or more materials to improve its filtering effect.
在本净水装置中,水流由进水管进入壳体内的进水腔。通过过滤芯过滤后,进入过滤腔内;最后,经过滤的净水由与过滤腔相通的出水管向外流出。In the water purifying device, the water flow enters the water inlet cavity in the casing through the water inlet pipe. After filtering through the filter element, it enters the filter cavity; finally, the filtered clean water flows out through the outlet pipe connected with the filter cavity.
在压滤式净水装置正常过滤过程中,排污口上的阀门是关闭的。水流不会由排污口向外流出。During the normal filtration process of the filter press type water purification device, the valve on the sewage outlet is closed. The water flow will not flow out from the sewage outlet.
当需要对本压滤式净水装置排污清洁时,开启电机使清洗装置运行,利用刮片在过滤芯外壁上旋转,将附着于过滤芯表面的污物清除掉。与此同时,将阀门开启,使淤积于淤泥区的污物和淤泥通过排污口向外排放。清洗完毕后,关闭电机和排污口上的阀门,即可恢复净水功能。When it is necessary to clean the sewage of the filter press type water purification device, the motor is turned on to make the cleaning device operate, and the scraper is used to rotate on the outer wall of the filter core to remove the dirt attached to the surface of the filter core. At the same time, open the valve so that the dirt and silt accumulated in the silt area will be discharged through the sewage outlet. After cleaning, close the valve on the motor and the sewage outlet, and the water purification function can be resumed.
与现有技术相比,本发明的优点在于:Compared with the prior art, the present invention has the advantages of:
1、本净水方法突破了传统的混合、反应、沉淀的净化工艺,而采用过滤的方法,结合清洗装置,具有较好的净水效果;1. This water purification method breaks through the traditional mixing, reaction, and precipitation purification process, and adopts the filtration method, combined with the cleaning device, to have a better water purification effect;
2、在净水过程中,无需加消毒剂和絮凝剂等药物,避免了传统水处理的加药工艺和装置,减少了大量的土地和建设投资,大大降低了生产成本;2. In the water purification process, there is no need to add disinfectants, flocculants and other drugs, which avoids the traditional water treatment dosing process and equipment, reduces a lot of land and construction investment, and greatly reduces production costs;
3、采用本净水方法和装置后,水厂的水处理能力提高、生产效率高;同时,水质稳定、可靠,确保其安全供水和优质供水。3. After adopting the water purification method and device, the water treatment capacity of the water plant is improved and the production efficiency is high; at the same time, the water quality is stable and reliable, ensuring its safe and high-quality water supply.
附图说明Description of drawings
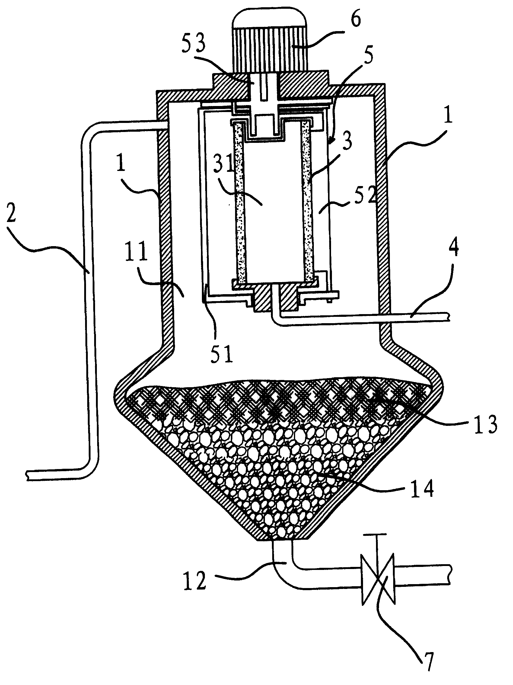
图1是本压滤式净水装置的结构示意图。Fig. 1 is a structural schematic diagram of the filter press type water purification device.
图2是本压滤式净水装置中支架的外形图。Fig. 2 is an outline view of the support in the filter press type water purification device.
图3是本压滤式净水装置中刮片的外形图。Fig. 3 is an outline view of the scraper in the filter press type water purification device.
图中,1、壳体;11、进水腔;12、排污口;13、固液分离澄清区;14、淤泥区;2、进水管;3、过滤芯;31、过滤腔;4、出水管;5、清洗装置;51、支架;52、刮片;53、传动轴;6、电机;7、阀门。In the figure, 1. Shell; 11. Water inlet chamber; 12. Sewage outlet; 13. Solid-liquid separation and clarification area; 14. Silt area; 2. Water inlet pipe; 3. Filter element; 31. Filter chamber; 4. Outlet Water pipe; 5. Cleaning device; 51. Bracket; 52. Scraper; 53. Transmission shaft; 6. Motor; 7. Valve.
具体实施方式 Detailed ways
如图1所示,本压滤式净水装置由壳体1、进水管2、过滤芯3、出水管4和清洗装置5等部件所组成。As shown in FIG. 1 , the filter press type water purification device is composed of a housing 1 , a water inlet pipe 2 , a filter element 3 , a water outlet pipe 4 , and a cleaning device 5 .
壳体1呈圆筒形,其内部是一个进水腔11。进水管2连接于壳体1的上部且与进水腔11相通。本实施例中,壳体1的下部呈圆锥形,其内部分为固液分离澄清区13和淤泥区14。淤泥区14底部直接与排污口12相通。The housing 1 is cylindrical and has a water inlet cavity 11 inside. The water inlet pipe 2 is connected to the upper part of the casing 1 and communicates with the water inlet chamber 11 . In this embodiment, the lower part of the shell 1 is conical, and its interior is divided into a solid-liquid separation and clarification zone 13 and a sludge zone 14 . The bottom of the sludge zone 14 directly communicates with the sewage outlet 12 .
在本实施例中,在排污口12处装有一个阀门7。此阀门7用于控制排污口12的开启和关闭。淤泥和污物可以直接通过排污口12向外排放。In this embodiment, a valve 7 is installed at the sewage outlet 12 . The valve 7 is used to control the opening and closing of the sewage outlet 12 . Silt and dirt can be discharged outside directly through the sewage outlet 12.
如图1所示,本实施例中为一个过滤芯3,设于进水腔11的中部。过滤芯3呈圆筒形,其内部形成一个过滤腔31。本实施例的过滤芯3采用陶瓷芯。过滤芯3的底部接有出水管4,出水管4内端与过滤腔31相通,外端穿过壳体1,与出水管路相接。As shown in FIG. 1 , in this embodiment, a filter element 3 is arranged in the middle of the water inlet cavity 11 . The filter core 3 is cylindrical, and a filter cavity 31 is formed inside it. The filter core 3 of this embodiment adopts a ceramic core. The bottom of the filter element 3 is connected with a water outlet pipe 4, the inner end of the water outlet pipe 4 communicates with the filter cavity 31, and the outer end passes through the housing 1 to connect with the water outlet pipeline.
在过滤芯3的外侧装有一个清洗装置5。本清洗装置5是由电机6、传动轴53、密封构件(附图中未画出)、支架51及刮片52等零件所组成。如图2所示,刮片52装于支架51上,电机6通过传动轴53带动支架51转动,使刮片52一起转动。如图3所示,刮片52呈片状,略带弧度。刮片52的边缘紧贴于过滤芯3的外侧面。在刮片52转动过程中,可以使附着于过滤芯3外侧面的污物或者淤泥被刮下,落入固液分离澄清区13中。A cleaning device 5 is installed outside the filter core 3 . This cleaning device 5 is made up of parts such as motor 6, power transmission shaft 53, sealing member (not drawn in the accompanying drawing),
在本装置使用过程中,通常需要定期对过滤芯3进行清洗。清洗时,只要开启电机6,打开阀门7即可,操作十分方便。清洗完毕后,关闭阀门7和电机6。During the use of the device, the filter element 3 usually needs to be cleaned regularly. During cleaning, it is only necessary to turn on the motor 6 and open the valve 7, and the operation is very convenient. After cleaning, close valve 7 and motor 6.
采用上述装置进行净水处理,其过程为:首先通过水泵将源水抽入进水腔11中,或者利用库区中较高水位的水源通过管路将水压入进水腔11中。进水腔11的中部设有过滤芯3。进入进水腔11的源水在压力或重力的作用下压于过滤芯3上,经过滤使水进入过滤腔31内,而源水中的污物和淤泥被截留附着于过滤芯3的外侧面上。然后,过滤腔31内的水通过出水管4引入出水管路中,作为净化水使用。在净水装置运行一段时间后需要清洗时,只要开启清洗装置5将附着于过滤芯3外侧面的污物清洗下来即可。最后,经分离后的淤泥淤积于壳体1底部淤泥区14中的淤泥可通过排污口12向外排出。The above-mentioned device is used for water purification treatment, and the process is as follows: firstly, the source water is drawn into the water inlet chamber 11 through a water pump, or the water source with a higher water level in the reservoir area is used to press water into the water inlet chamber 11 through a pipeline. The middle part of the water inlet chamber 11 is provided with a filter core 3 . The source water entering the water inlet chamber 11 is pressed on the filter element 3 under the action of pressure or gravity, and the water enters the filter chamber 31 after being filtered, while the dirt and silt in the source water are trapped and attached to the outer surface of the filter element 3 superior. Then, the water in the filter chamber 31 is introduced into the water outlet pipeline through the water outlet pipe 4 to be used as purified water. When the water purification device needs to be cleaned after running for a period of time, just open the cleaning device 5 to clean the dirt attached to the outer surface of the filter core 3 and get final product. Finally, the separated sludge accumulated in the sludge area 14 at the bottom of the shell 1 can be discharged through the sewage outlet 12 .
Claims (7)
Priority Applications (1)
| Application Number | Priority Date | Filing Date | Title |
|---|---|---|---|
| CNB2005100258404A CN100438945C (en) | 2005-05-16 | 2005-05-16 | Press filter type water purification method and device thereof |
Applications Claiming Priority (1)
| Application Number | Priority Date | Filing Date | Title |
|---|---|---|---|
| CNB2005100258404A CN100438945C (en) | 2005-05-16 | 2005-05-16 | Press filter type water purification method and device thereof |
Publications (2)
| Publication Number | Publication Date |
|---|---|
| CN1721034A CN1721034A (en) | 2006-01-18 |
| CN100438945C true CN100438945C (en) | 2008-12-03 |
Family
ID=35911859
Family Applications (1)
| Application Number | Title | Priority Date | Filing Date |
|---|---|---|---|
| CNB2005100258404A Expired - Lifetime CN100438945C (en) | 2005-05-16 | 2005-05-16 | Press filter type water purification method and device thereof |
Country Status (1)
| Country | Link |
|---|---|
| CN (1) | CN100438945C (en) |
Families Citing this family (10)
| Publication number | Priority date | Publication date | Assignee | Title |
|---|---|---|---|---|
| CN101264396B (en) * | 2008-05-09 | 2010-06-02 | 胡宁 | Ore dressing industry solid-liquid quick disconnect device |
| CN110627164B (en) * | 2019-09-05 | 2025-01-21 | 上海申欣环保实业有限公司 | Solid-liquid separation device |
| CN114873768A (en) * | 2020-09-13 | 2022-08-09 | 陈志伟 | Intelligent water treatment device and system |
| CN114870482A (en) * | 2020-09-13 | 2022-08-09 | 陈志伟 | Electric control system of intelligent water treatment device |
| CN114873767A (en) * | 2020-09-13 | 2022-08-09 | 陈志伟 | System with multiple water treatment units and water treatment method |
| CN114873769A (en) * | 2020-09-13 | 2022-08-09 | 陈志伟 | a water treatment method |
| CN216918822U (en) * | 2020-09-13 | 2022-07-08 | 陈志伟 | Pool type water treatment device and system with lifting filter element and external liquid pump |
| CN114917662A (en) * | 2021-01-31 | 2022-08-19 | 湖南迪易清环保科技有限公司 | Combined filter element and water treatment device |
| CN114920380A (en) * | 2021-01-31 | 2022-08-19 | 陈志伟 | A water treatment solution adding device, water treatment device and system |
| CN115321742A (en) * | 2021-05-11 | 2022-11-11 | 湖南迪易清环保科技有限公司 | An aquaculture sewage treatment system |
-
2005
- 2005-05-16 CN CNB2005100258404A patent/CN100438945C/en not_active Expired - Lifetime
Also Published As
| Publication number | Publication date |
|---|---|
| CN1721034A (en) | 2006-01-18 |
Similar Documents
| Publication | Publication Date | Title |
|---|---|---|
| CN203610051U (en) | Sewage recycle and reuse device for road cleaning and sweeping machine | |
| CN205019806U (en) | Self -cleaning filter | |
| CN100438945C (en) | Press filter type water purification method and device thereof | |
| CN211097838U (en) | A backwash filter | |
| CN206045510U (en) | Water process filtering ponds | |
| CN114949990A (en) | Sewage treatment system and sewage treatment process | |
| CN205258174U (en) | Ultrafiltration sewage treatment system | |
| CN102416270A (en) | Integrated self-cleaning graded filter | |
| CN204798987U (en) | Novel water treatment pond | |
| CN103566764A (en) | Apparatus and method for reclaiming waste water from a road cleaning and sweeping vehicle | |
| CN201002003Y (en) | Membrane filter | |
| CN1911832A (en) | Siphon type full automatic aeration biologicall filtering chamber | |
| CN211987254U (en) | Rotary multi-medium processor | |
| CN208145600U (en) | A kind of backwash automatic filter based on PLC | |
| CN206103469U (en) | Backwashing filter | |
| WO2024070864A1 (en) | Water treatment device | |
| CN205295024U (en) | Full -automatic back flush water purifier of integration | |
| CN2626582Y (en) | Outer pressure type microfiltering tube water disposing device | |
| CN115770433A (en) | A new type of fully automatic tubular ultrafiltration membrane pretreatment filter device | |
| CN203700089U (en) | Air floatation and rotary plate integrated sewage treatment device | |
| CN203419802U (en) | Membrane technology integrated comprehensive water purification device | |
| CN2765654Y (en) | Differential pressure backwashing filter | |
| CN207537168U (en) | A kind of interior back-pressure sewage-treatment plant | |
| CN201988252U (en) | Filtering basin with low water consumption in washing | |
| CN208802955U (en) | A kind of backwashing water filter that water filtering accuracy is high |
Legal Events
| Date | Code | Title | Description |
|---|---|---|---|
| C06 | Publication | ||
| PB01 | Publication | ||
| C10 | Entry into substantive examination | ||
| SE01 | Entry into force of request for substantive examination | ||
| C14 | Grant of patent or utility model | ||
| GR01 | Patent grant | ||
| EE01 | Entry into force of recordation of patent licensing contract |
Assignee: ZHEJIANG LIANCHI WATER EQUIPMENT Co.,Ltd. Assignor: Chi Wenjun|Chi Guozheng Contract fulfillment period: 2009.4.3 to 2016.4.2 Contract record no.: 2009330000541 Denomination of invention: Press filtration type water purification method and device therefor Granted publication date: 20081203 License type: Exclusive License Record date: 20090403 |
|
| LIC | Patent licence contract for exploitation submitted for record |
Free format text: EXCLUSIVE LICENSE; TIME LIMIT OF IMPLEMENTING CONTACT: 2009.4.3 TO 2016.4.2; CHANGE OF CONTRACT Name of requester: ZHEJIANG LIANCHI WATER EQUIPMENT CO., LTD. Effective date: 20090403 |
|
| CX01 | Expiry of patent term |
Granted publication date: 20081203 |
|
| CX01 | Expiry of patent term |
