WO2021005781A1 - Outdoor unit for air conditioner - Google Patents

Outdoor unit for air conditioner Download PDF

Info

Publication number
WO2021005781A1
WO2021005781A1 PCT/JP2019/027495 JP2019027495W WO2021005781A1 WO 2021005781 A1 WO2021005781 A1 WO 2021005781A1 JP 2019027495 W JP2019027495 W JP 2019027495W WO 2021005781 A1 WO2021005781 A1 WO 2021005781A1
Authority
WO
WIPO (PCT)
Prior art keywords
closing member
wall portion
heat exchanger
outdoor unit
housing
Prior art date
Legal status (The legal status is an assumption and is not a legal conclusion. Google has not performed a legal analysis and makes no representation as to the accuracy of the status listed.)
Ceased
Application number
PCT/JP2019/027495
Other languages
French (fr)
Japanese (ja)
Inventor
賢太郎 米原
秀高 山内
寛之 陣内
久保野 俊行
Current Assignee (The listed assignees may be inaccurate. Google has not performed a legal analysis and makes no representation or warranty as to the accuracy of the list.)
Mitsubishi Electric Corp
Original Assignee
Mitsubishi Electric Corp
Priority date (The priority date is an assumption and is not a legal conclusion. Google has not performed a legal analysis and makes no representation as to the accuracy of the date listed.)
Filing date
Publication date
Application filed by Mitsubishi Electric Corp filed Critical Mitsubishi Electric Corp
Priority to JP2021530452A priority Critical patent/JP7301132B2/en
Priority to PCT/JP2019/027495 priority patent/WO2021005781A1/en
Publication of WO2021005781A1 publication Critical patent/WO2021005781A1/en
Anticipated expiration legal-status Critical
Ceased legal-status Critical Current

Links

Images

Classifications

    • FMECHANICAL ENGINEERING; LIGHTING; HEATING; WEAPONS; BLASTING
    • F24HEATING; RANGES; VENTILATING
    • F24FAIR-CONDITIONING; AIR-HUMIDIFICATION; VENTILATION; USE OF AIR CURRENTS FOR SCREENING
    • F24F1/00Room units for air-conditioning, e.g. separate or self-contained units or units receiving primary air from a central station
    • F24F1/06Separate outdoor units, e.g. outdoor unit to be linked to a separate room comprising a compressor and a heat exchanger
    • F24F1/56Casing or covers of separate outdoor units, e.g. fan guards

Definitions

  • the present invention relates to an outdoor unit of an air conditioner.
  • the outdoor unit of an air conditioner has a housing that constitutes the outer shell of the outdoor unit and a heat exchanger that is arranged inside the housing.
  • the housing and the heat exchanger are configured at almost the same height, and the upper side of the heat exchanger is covered with a top panel or the like. (See, for example, Patent Document 1).
  • the outdoor unit of a conventional air conditioner has a correlation between the height of the heat exchanger and the height of the housing. For example, the outdoor unit of a conventional air conditioner lowers the height of the heat exchanger and heat exchanger when there is a surplus in the amount of heat exchange that can be exchanged with respect to the required amount of heat exchange. An outdoor unit with a low housing that matches the height of the heat is applied. On the contrary, the outdoor unit of the conventional air exchanger raises the height of the heat exchanger and heats when the amount of heat exchange that can be exchanged is insufficient for the required amount of heat exchange. An outdoor unit with a high housing that matches the height of the exchanger is applied.
  • the outdoor unit of a conventional air conditioner even if there is a surplus in the heat exchange amount with respect to the required heat exchange amount, the housing depends on the component configuration of the machine room in which the compressor, the refrigerant pipe, etc. are arranged. It may not be possible to keep the height of the body low.
  • the outdoor unit of the conventional air conditioner is a heat exchanger that can exchange the required heat exchange amount even though the heat exchange amount is surplus with respect to the required heat exchange amount.
  • a high heat exchanger with a surplus heat exchange amount is used according to the height of the housing. Therefore, the height of the heat exchanger is restricted according to the height of the housing. Therefore, the outdoor unit of the air exchanger equipped with such a heat exchanger has the required amount of heat exchange and the heat that can be exchanged. There will be a difference between the exchange amount and the efficiency.
  • the present invention solves the above-mentioned problems, and the amount of heat exchange required even for an outdoor unit of an air conditioner whose housing height is restricted by the component configuration of the machine room and the like.
  • an outdoor unit of an air conditioner in which the difference between the amount of heat exchanged and the amount of heat exchanged is suppressed.
  • the outdoor unit of the air conditioner of the present invention has a housing in which a suction port through which air flows is formed and a plurality of fins arranged at intervals from each other, and heat exchange is arranged inside the suction port. It is arranged inside the suction port inside the container and the housing, and is also arranged between the heat exchanger and the top panel of the housing, and constitutes a wall between the heat exchanger and the top panel. It has a closing member that prevents the passage of air into the housing, and the closing member is placed on the heat exchanger and is in contact with the top panel.
  • the outdoor unit of the air conditioner of the present invention is arranged inside the suction port in the housing and between the heat exchanger and the top panel of the housing, and is arranged between the heat exchanger and the top surface. It has a closing member that forms a wall between the panel and prevents the passage of air into the housing, and the closing member is mounted on a heat exchanger and is in contact with the top panel. .. Since the outdoor unit has a closing member arranged between the heat exchanger and the top panel of the housing, the height of the heat exchanger is set higher than the height of the housing according to the required amount of heat exchange. Can be lowered.
  • the outdoor unit is required because it is not necessary to increase the height of the heat exchanger according to the height of the housing even if the height of the housing is restricted due to the component configuration of the machine room or the like. It is possible to suppress the difference between the amount of heat exchanged and the amount of heat exchanged.
  • FIG. 5 is an exploded perspective view of a part of the outdoor unit according to the first embodiment. It is a perspective view of the inside of the outdoor unit which concerns on Embodiment 1. FIG. It is the top view which removed the top panel of the outdoor unit which concerns on Embodiment 1. FIG. It is an exploded perspective view of the closing member of the outdoor unit which concerns on Embodiment 1. FIG. It is an enlarged view of the part A of the back closing member shown in FIG. 7.
  • FIG. 5 is a perspective view of a side closing member on the side facing the partition plate in the housing of the outdoor unit according to the first embodiment.
  • FIG. 9 is a cross-sectional view showing a connection state between the back closing member and the side closing member in the D portion shown in FIG.
  • It is an enlarged perspective view of the upper part on the front side of the back closing member. It is an enlarged perspective view of the upper part on the back side of the back closing member.
  • FIG. 7 is a perspective view of the back closing member shown in FIG. 7 as viewed from below. It is an enlarged perspective view of the holding part shown in FIG.
  • FIG. 3 is a schematic cross-sectional view of the back closing member at the position of line EE shown in FIG.
  • FIG. 3 is a schematic cross-sectional view of the back closing member at the position of the FF line shown in FIG.
  • FIG. 28 It is a bottom view of the back lower wall portion constituting the back closing member seen from the direction of the white arrow G shown in FIG. It is a perspective view which looked at the closing member of the outdoor unit which concerns on Embodiment 1 from the front lower side. It is a perspective view which looked at the closing member of the outdoor unit which concerns on Embodiment 1 from the front side side. It is an enlarged view which shows the mounting state of the outside air temperature sensor arranged on the heat exchanger of the outdoor unit which concerns on Embodiment 1.
  • FIG. It is a perspective view of the lead wire guide provided in the closing member of the outdoor unit which concerns on Embodiment 1.
  • FIG. 28 is a side view of the lead wire guide shown in FIG. 28.
  • FIG. 3 is a schematic cross-sectional view of the outdoor unit at the position shown in FIG. It is an enlarged view which shows the relationship between the back side closing member and the top surface panel in H part shown in FIG.
  • FIG. 5 is an enlarged view showing a state in which the rear closing member of the outdoor unit according to the first embodiment is attached to the heat exchanger.
  • FIG. 5 is an enlarged view showing an attached state of a closing member and a heat exchanger in the outdoor unit according to the first embodiment.
  • It is a perspective view of the assembled state of the closing member of the outdoor unit which concerns on Embodiment 2.
  • FIG. It is a perspective view of the expanded state of the closing member of the outdoor unit which concerns on Embodiment 2.
  • FIG. 1 is a front perspective view of the outdoor unit 100 according to the first embodiment.
  • FIG. 2 is a rear perspective view of the outdoor unit 100 according to the first embodiment.
  • FIG. 3 is a rear view of the outdoor unit 100 according to the first embodiment.
  • the outdoor unit 100 of the air conditioner will be described with reference to FIGS. 1 to 3.
  • the X-axis shown in the following drawings including FIG. 1 indicates the left-right direction of the outdoor unit 100, the Y-axis indicates the front-rear direction of the outdoor unit 100, and the Z-axis indicates the vertical direction of the outdoor unit 100.
  • the outdoor unit 100 when the outdoor unit 100 is viewed from the front, the X1 side is the left side, the X2 side is the right side, the Y1 side is the front side on the Y axis, the Y2 side is the rear side, the Z1 side is the upper side on the Z axis, and the Z2 side is the lower side.
  • the outdoor unit 100 will be described as the side.
  • the term when the outdoor unit 100 is viewed from the front means a state in which the outdoor unit 100 is viewed from the downstream side where air is blown from the housing 50 in the flow direction of the air flowing in the housing 50.
  • the positional relationship between the constituent members (for example, the vertical relationship, etc.) in the specification is, in principle, the one when the outdoor unit 100 is installed in a usable state.
  • the outdoor unit 100 has a housing 50 configured in a substantially rectangular parallelepiped shape.
  • the housing 50 of the outdoor unit 100 is made of sheet metal and constitutes the outer shell of the outdoor unit 100.
  • the housing 50 is formed with a back opening 7 and a side opening 1a, which are suction ports 51 through which air flows.
  • the housing 50 of the outdoor unit 100 has an outer panel 1, a side panel 2, a top panel 3, and a base 4.
  • a flange is provided on the upper part of the outer panel 1 and the side panel 2, and the top panel 3 is attached to the flange.
  • the base 4 is also provided with a flange, and the outer panel 1 and the side panel 2 are fixed to the flange by bolts or the like, and the outer panel 1 and the side panel 2 are assembled on the base 4.
  • the outer panel 1 is a sheet metal panel.
  • the front surface portion 11, the side surface portion 12, and the back surface portion 13 are integrally formed.
  • the front surface portion 11 constitutes a side wall portion on the front side of the housing 50
  • the side surface portion 12 constitutes the side wall portion on the side surface side of the housing 50
  • the back surface portion 13 constitutes the side wall portion on the back surface side of the housing 50.
  • the outer panel 1 is formed by being bent by a horizontally long front portion 11 and a vertically long side surface portion 12 so as to have an L shape when viewed from above the outdoor unit 100, that is, from the arrangement side of the top panel 3. There is.
  • the front surface portion 11 and the side surface portion 12 are integrally formed, but the outer shell panel 1 is not limited to this configuration, and the outer shell panel 1 has the front surface portion 11 and the side surface portion 12. It may be composed of a plurality of sheet metal panels separately from the above.
  • the front portion 11 constitutes a side wall of the housing 50 on the side where air is blown out.
  • a circular outlet 8 is formed on the front surface portion 11. The air sucked into the housing 50 from the back opening 7 and the side opening 1a, which will be described later, by the blower 5 is blown out of the housing 50 from the air outlet 8. Further, a fan guard 6 is attached to the front portion 11 of the outer panel 1 to cover the air outlet 8 and protect the propeller fan 5b of the blower 5 described later.
  • the side surface portion 12 constitutes a side wall extending in the front-rear direction (Y-axis direction) of the housing 50. As shown in FIG. 2, a side surface opening 1a is formed in the side surface portion 12.
  • the side opening 1a is an air suction port 51 for taking in outdoor air into the outdoor unit 100.
  • a plurality of side opening portions 1a are formed in the side surface portion 12 in the vertical direction.
  • the side opening 1a formed in the side surface 12 may be one or a plurality.
  • the side opening 1a is an air suction port 51 formed in the housing 50, and air flows from the outside to the inside of the housing 50 by the operation of the blower 5.
  • the side surface portion 12 is arranged at a position facing the partition plate 17 described later with the heat exchanger 10 in between, and constitutes a wall portion on the side surface side of the blower chamber 31 located on the opposite side of the partition plate 17. There is.
  • the back surface portion 13 constitutes a part of the back surface side of the housing 50 and covers a part of the back surface side of the heat exchanger 10.
  • the back surface portion 13 is arranged at a position facing a part of the front surface portion 11 in the front-rear direction (Y-axis direction) of the housing 50.
  • the outer panel 1 is integrally formed with the front surface portion 11, the side surface portion 12, and the back surface portion 13.
  • the outer panel 1 is formed by being bent by the side surface portion 12 and the back surface portion 13 so as to have an L shape when viewed from above the outdoor unit 100, that is, from the arrangement side of the top panel 3.
  • the back surface portion 13 is formed so as to extend from the side surface portion 12 to a position that covers a part of the back surface side of the heat exchanger 10.
  • the outer panel 1 is formed integrally by bending the side surface portion 12 and the back surface portion 13, but the outer shell panel 1 is not limited to the configuration, and the side surface portion 12 and the back surface portion 13 are together. May be composed of a
  • the back surface portion 13 constitutes a part of the back surface side of the housing 50 and covers a part of the heat exchanger 10, so that the back surface opening portion for exposing the heat exchanger 10 is exposed on the back surface side of the housing 50. 7 is formed. More specifically, the back opening 7 is formed by the edges of the back 13, top panel 3, side panel 2 and base 4. The back opening 7 is an air suction port 51 formed in the housing 50, and by the operation of the blower 5, air flows from the outside to the inside of the housing 50 through the back opening 7.
  • the side panel 2 is a sheet metal panel that is bent so as to have an L shape when viewed from the arrangement side of the top panel 3.
  • the side panel 2 has a vertically long second side surface portion 2a facing the side surface portion 12 and a second back surface portion 2b facing a part of the front surface portion 11.
  • the second side surface portion 2a constitutes a side wall portion on the side surface side of the housing 50
  • the second back surface portion 2b constitutes a part of the side wall portion on the back surface side of the housing 50.
  • the second back surface portion 2b and the back surface portion 13 form a side wall portion on the back surface side of the housing 50.
  • the second back surface portion 2b and the back surface portion 13 are separately formed, but the second back surface portion 2b and the back surface portion 13 are integrally formed on the back surface side of the housing 50.
  • a side wall portion may be configured.
  • the second side surface portion 2a is formed with a plurality of openings for drawing the plug and the refrigerant pipe connected to the external power supply into the inside (not shown). Further, in the side panel 2, the second side surface portion 2a and the second back surface portion 2b are integrally formed, but the side surface panel 2 is not limited to the configuration, and the second side surface portion 2a and the second side surface portion 2a are formed. A plurality of sheet metal panels may be formed separately from the back surface portion 2b.
  • the top panel 3 is a sheet metal panel that constitutes the top plate of the housing 50 and covers the upper part of the outdoor unit 100.
  • the top panel 3 is attached to the upper edge of the outer panel 1 and the side panel 2.
  • the base 4 faces the top panel 3 in the housing 50 and constitutes the bottom plate of the housing 50.
  • An outer panel 1 and a side panel 2 are attached to the base 4, and a plurality of legs 4a are provided on the lower surface of the base 4.
  • the leg portion 4a serves as a base for fixing the outdoor unit 100 to the installation location.
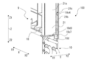
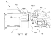
  • FIG. 4 is an exploded perspective view of a part of the outdoor unit 100 according to the first embodiment.
  • FIG. 5 is a perspective view of the inside of the outdoor unit 100 according to the first embodiment.
  • FIG. 6 is a top view of the outdoor unit 100 according to the first embodiment with the top panel 3 removed.
  • some components such as the blower 5 and the compressor 15 are not shown.
  • the outdoor unit 100 has a partition plate 17, a heat exchanger 10, a blower 5, a motor support member 14, a compressor 15, an outside air temperature sensor 20, and a closing member 9 inside the housing 50. ..
  • the partition plate 17 is provided inside the housing 50, and is a partition wall that separates the space inside the housing 50 of the outdoor unit 100 into the blower room 31 and the machine room 32.
  • the partition plate 17 is a plate-shaped member, and is formed by bending a sheet metal or the like, for example.
  • the partition plate 17 is arranged on the base 4 in the housing 50, is provided so as to extend upward (Z-axis direction) from the base 4, and extends in the front-rear direction (Y-axis direction) of the base 4. It is provided in.
  • An electric component box (not shown) is attached to the partition plate 17.
  • the blower room 31 is a space surrounded by an outer panel 1, a top panel 3, a base 4, and a partition plate 17.
  • the blower room 31 takes in outdoor air from the outside of the outdoor unit 100 through the suction port 51 such as the rear opening 7 and the side opening 1a, and blows the air inside the outdoor unit 100 through the air outlet 8 to the outdoor unit 100. It is configured so that it can be discharged to the outside of.
  • the machine room 32 is a space surrounded by the front portion 11, the side panel 2, the top panel 3, the base 4, and the partition plate 17 of the outer panel 1, and allows dust or water from entering from the outside of the outdoor unit 100. It has a structure that can be avoided.
  • the heat exchanger 10 and the blower 5 arranged so as to face the heat exchanger 10 are housed in the space on the blower room 31 side in the housing 50, and the machine room 32 side in the housing 50.
  • the compressor 15 and the refrigerant pipe 16 are housed in the space of.
  • the heat exchanger 10 and the compressor 15 are installed on the base 4. Further, the refrigerant pipe 16 connects the components constituting the refrigeration cycle circuit.
  • the heat exchanger 10 exchanges heat between the refrigerant flowing inside and the outside air, and functions as an evaporator during the heating operation and as a condenser during the cooling operation.
  • the heat exchanger 10 has a side surface region 10e, a back surface region 10f, and a curved surface region 10g, and when viewed in a direction perpendicular to the base 4, the side surface region 10e, the back surface region 10f, and the curved surface region 10g form an L shape. It is formed in a shape.
  • the heat exchanger 10 is arranged between the housing 50 and the blower 5. Further, as shown in FIG. 2, in the heat exchanger 10, the back area 10f is arranged inside the outdoor unit 100 so as to face the back opening 7, and the back area 10f is external via the back opening 7. Is exposed to. Further, as shown in FIG. 2, in the heat exchanger 10, a side surface region 10e is arranged inside the outdoor unit 100 so as to face the side surface opening 1a, and the side surface region 10e is external via the side surface opening 1a. Is exposed to. That is, the heat exchanger 10 is arranged inside the suction port 51, and is arranged inside the housing 50 in a state of being exposed to the outside through the suction port 51.
  • the heat exchanger 10 is formed in an L shape
  • the heat exchanger 10 is provided at both ends when viewed in the direction perpendicular to the base 4. It may be formed in a U shape having a curved surface region 10g and a side surface region 10e.
  • the heat exchanger 10 is composed of only the back surface region 10f, and is provided so as to extend in the longitudinal direction (X-axis direction) of the housing 50 when viewed in the direction perpendicular to the base 4. It may be formed in.
  • the heat exchanger 10 can be configured as, for example, a fin-and-tube heat exchanger, and as shown in FIG. 4, a plurality of heat transfer tubes 10c through which the refrigerant passes, and transfer between the refrigerant flowing through the heat transfer tubes 10c and the outside air. It is provided with a plurality of fins 10a for increasing the heat area.
  • a plurality of strip-shaped fins 10a arranged at intervals from each other are arranged in parallel in the horizontal direction at right angles to the back opening 7 and the side opening 1a.
  • the heat transfer tube 10c penetrates a plurality of fins 10a.
  • the refrigerant passes through the heat transfer tube 10c, the refrigerant passing through the heat transfer tube 10c dissipates heat, or the refrigerant passing through the heat transfer tube 10c absorbs heat, so that the air conditioner is cooled or heated.
  • blower 5 The blower 5 is arranged inside the housing 50, passes through the side opening 1a and the back opening 7, and forms a flow of air passing through the housing 50.
  • the blower 5 is a blower means including a motor 5a and a propeller fan 5b, and generates an air circulation for efficiently performing heat exchange in the heat exchanger 10.
  • the blower 5 is arranged in the housing 50 in front of (Y1 side) the back surface region 10f constituting the heat exchanger 10. Further, as shown in FIG. 5, the blower 5 is arranged on the side (X2 side) of the side surface region 10e constituting the heat exchanger 10 in the housing 50.
  • the blower 5 is fixed to the motor support member 14 by attaching the motor 5a to the motor support member 14.
  • the blower 5 creates a negative pressure between the heat exchanger 10 and the propeller fan 5b, introduces outside air from the back side (Y2 side) of the housing 50 into the housing 50, and introduces the outside air into the outdoor unit 100.
  • the generated outside air is discharged from the front side (Y1 side) of the outdoor unit 100 toward the outside of the housing 50.
  • the blower 5 creates a negative pressure between the heat exchanger 10 and the propeller fan 5b, introduces outside air from the side surface side (X1 side) of the housing 50 into the housing 50, and introduces outside air into the housing 50 inside the outdoor unit 100.
  • the outside air introduced into the outdoor unit 100 is discharged from the front side (Y1 side) of the outdoor unit 100 toward the outside of the housing 50.
  • the motor support member 14 is a columnar member provided inside the housing 50 so as to extend in the vertical direction (Z-axis direction) between the base 4 and the top panel 3.
  • the motor support member 14 is fixed to the base 4 by fastening screws or the like.
  • the motor 5a of the blower 5 is supported and fixed to the substantially central portion of the motor support member 14 in the vertical direction (Z-axis direction).
  • the compressor 15 is a device that sucks in a refrigerant in a low temperature and low pressure state, compresses the sucked refrigerant into a refrigerant in a high temperature and high pressure state, and discharges the refrigerant.
  • the compressor 15 is, for example, a rotary type, scroll type or vane type compressor.
  • the compressor 15 may be, for example, a compressor provided with an inverter capable of controlling the capacity.
  • the outside air temperature sensor 20 is a device that detects the outdoor ambient temperature.
  • the outside air temperature sensor 20 may be composed of, for example, a thermistor or the like.
  • the outside air temperature sensor 20 is mounted on the heat exchanger 10 and is arranged above the curved surface region 10 g.
  • the curved surface region 10g is a portion bent into an L shape in the heat exchanger 10.
  • the outside air temperature sensor 20 is not necessarily a necessary component.
  • the outdoor unit 100 preferably includes the outside air temperature sensor 20, but does not have to include the outside air temperature sensor 20.
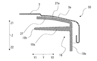
  • the closing member 9 is a member that fills the space between the heat exchanger 10 and the top panel 3 of the housing 50.
  • the closing member 9 is arranged inside the suction port 51 in the housing 50. Then, the closing member 9 is exposed to the outside through the back opening 7 and the side opening 1a which are the suction ports 51 in the housing 50, and the heat exchanger 10 and the top panel 3 of the housing 50 are exposed to each other. It is arranged between the two, and forms a wall between the heat exchanger 10 and the top panel 3 to prevent air from passing into the housing 50.
  • the closing member 9 forms a side wall between the heat exchanger 10 and the top panel 3 in the housing 50.
  • the closing member 9 constitutes a side wall extending in the left-right direction (X-axis direction) of the housing 50 and the front-rear direction (Y-axis direction) of the housing 50.
  • the side walls formed by the closing member 9 are arranged on the back side of the outdoor unit 100 and on the side surface side opposite to the machine room 32.
  • the closing member 9 is arranged above the heat exchanger 10 as shown in FIGS. 4 to 6. More specifically, the closing member 9 is placed on the heat exchanger 10.
  • the closing member 9 is arranged on the heat exchanger 10 and fixed so as to be pressed by the motor support member 14.
  • the heat exchanger 10 and the top panel 3 are connected to each other via a closing member 9.
  • the closing member 9 is placed on the heat exchanger 10 and is arranged in contact with the top panel 3.
  • the closing member 9 is exposed to the outside through the back opening 7 when viewed from the back side of the outdoor unit 100, and is arranged so as to close a part of the back opening 7.
  • the closing member 9 is arranged inside the back opening 7 which is the suction port 51 in the housing 50.
  • the closing member 9 is exposed to the outside through a part of the side surface openings 1a among the plurality of side surface openings 1a, and a part of the side surfaces. It is arranged so as to close the opening 1a.
  • the closing member 9 is exposed to the outside through the side opening 1a, and the side opening 1a It is arranged so as to block a part.
  • the closing member 9 is arranged inside the side opening 1a, which is the suction port 51, in the housing 50.
  • the main material of the closing member 9 is resin.
  • the resin is, for example, PP (polypropylene) or ABS (acrylonitrile, butadiene, styrene), but is not limited to these resins. Further, the main material of the closing member 9 is not limited to resin.
  • the closing member 9 may be made of another material such as metal.
  • the closing member 9 is formed so as to have an L shape when viewed in the direction perpendicular to the base 4.
  • the closing member 9 is a member that fills the space between the heat exchanger 10 and the top panel 3 of the housing 50. Therefore, the shape of the closing member 9 seen from the arrangement side of the top panel 3 is formed to follow the shape of the heat exchanger 10 seen from the arrangement side of the top panel 3. Therefore, for example, if the shape of the heat exchanger 10 seen from the arrangement side of the top panel 3 is an I-shape extending in the longitudinal direction (X-axis direction), the closing member 9 seen from the arrangement side of the top panel 3 The shape of is also an I shape extending in the longitudinal direction (X-axis direction).
  • the shape of the closing member 9 seen from the arrangement side of the top panel 3 is also U-shaped.
  • the closing member 9 is formed in the same shape as the heat exchanger 10 when viewed in the direction perpendicular to the base 4 of the housing 50 in which the heat exchanger 10 is arranged. It is arranged so as to cover the upper surface.
  • the size of the closing member 9 in the longitudinal direction (X-axis direction) and the lateral direction (Y-axis direction) of the outdoor unit 100 is the size in the longitudinal direction (X-axis direction) and the lateral direction (Y-axis direction) of the outdoor unit 100. It is almost the same size as the heat exchanger 10.
  • the size of the closing member 9 in the vertical direction (Z-axis direction) is formed so as to fill the space between the heat exchanger 10 and the top panel 3 of the housing 50. Therefore, the size of the closing member 9 in the vertical direction (Z-axis direction) is specified by the distance between the heat exchanger 10 and the top panel 3 of the housing 50.
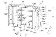
  • FIG. 7 is an exploded perspective view of the closing member 9 of the outdoor unit 100 according to the first embodiment.
  • the closing member 9 has a back closing member 18 and a side closing member 19. Further, the closing member 9 has a screw fixing member 21.
  • the back closing member 18 is placed on the back region 10f and the curved surface region 10g constituting the heat exchanger 10.
  • the side closing member 19 is placed on the side surface region 10e and the curved surface region 10g constituting the heat exchanger 10.
  • the screw fixing member 21 is attached to the back closing member 18. (Back closing member 18)
  • the back closing member 18 is a member that fills the space between the back region 10f and the curved surface region 10g of the heat exchanger 10 and the top panel 3 of the housing 50.
  • the back closing member 18 forms a side wall between the back surface region 10f and the curved surface region 10g and the top panel 3 in the housing 50.
  • the back closing member 18 constitutes a side wall extending in the left-right direction (X-axis direction) of the housing 50.
  • the side wall formed by the back closing member 18 is arranged on the back side of the outdoor unit 100.
  • the back closing member 18 is arranged on the back region 10f of the heat exchanger 10 and is fixed so as to be pressed by the motor support member 14. In the outdoor unit 100, the heat exchanger 10 and the top panel 3 are connected to each other via the back closing member 18.
  • the back closing member 18 is arranged in contact with the upper end portion of the heat exchanger 10 and the lower surface portion of the top panel 3.
  • the back closing member 18 When viewed from the back side of the outdoor unit 100, the back closing member 18 is arranged so as to be exposed to the outside through the back opening 7 which is the suction port 51, and closes a part of the back opening 7. Have been placed. That is, the back closing member 18 is arranged inside the back opening 7 which is the suction port 51 in the housing 50.
  • the back closing member 18 has a back upper wall portion 18a, a back lower wall portion 18b, a back right end wall portion 18c, a back left end wall portion 18d, and a back side wall portion 18e, and has a back side wall portion 18e. It is arranged on (Y2 side).
  • the back upper wall portion 18a constitutes the upper wall of the back closing member 18, and faces the top panel 3 in the housing 50.
  • the back lower wall portion 18b constitutes the lower wall of the back closing member 18, faces the back region 10f of the heat exchanger 10 in the housing 50, and comes into contact with the heat exchanger 10.
  • the back right end wall portion 18c constitutes the right wall of the back closing member 18, and constitutes the side wall on the machine room 32 side in the left-right direction (X-axis direction) in the housing 50. That is, the rear right end wall portion 18c is located on the machine room 32 side in the stacking direction of the plurality of fins 10a constituting the heat exchanger 10.
  • the back left end wall portion 18d constitutes the left wall of the back closing member 18, and constitutes a side wall on the blower chamber 31 side in the left-right direction (X-axis direction) in the housing 50.
  • the back right end wall portion 18c and the back left end wall portion 18d are located at both ends of the back lower wall portion 18b, the back upper wall portion 18a, and the back side wall portion 18e in the stacking direction of the plurality of fins 10a constituting the heat exchanger 10. doing.
  • the back side wall portion 18e constitutes a wall on the rear side of the back closing member 18, and constitutes a side wall on the back opening 7 side in the front-rear direction (Y-axis direction) in the housing 50.
  • the back side wall portion 18e closes a part of the back opening 7 of the housing 50 in the housing 50.
  • the back side wall portion 18e is located between the back lower wall portion 18b and the back upper wall portion 18a, and is arranged in the housing 50 in a state of being exposed to the outside through the back opening portion 7 which is a suction port 51. .. That is, the back side wall portion 18e is arranged inside the back opening portion 7 which is the suction port 51 in the housing 50.
  • the back side wall portion 18e is formed in a substantially rectangular shape extending in the left-right direction (X-axis direction), and the back side wall portion 18e has a back upper wall portion 18a, a back lower wall portion 18b, and a back right end on four sides.
  • a wall portion 18c and a rear left end wall portion 18d are provided. That is, the back upper wall portion 18a, the back lower wall portion 18b, the back right end wall portion 18c, and the back left end wall portion 18d are the front side of the housing 50 from each edge portion constituting the four sides of the back side wall portion 18e. It is provided so as to extend to.
  • the back closing member 18 is formed in a box shape by the back upper wall portion 18a, the back lower wall portion 18b, the back right end wall portion 18c, the back left end wall portion 18d, and the back side wall portion 18e. ..
  • the back closing member 18 is formed in a box shape in which the surface side facing the back side wall portion 18e opens.
  • the back closing member 18 has an opening 18h formed by the edges of the back upper wall portion 18a, the back lower wall portion 18b, the back right end wall portion 18c, and the back left end wall portion 18d.
  • the back closing member 18 formed in a box shape has a grid-shaped back inner rib 18 g formed inside.
  • the back inner rib 18g has a rib 18g1 and a rib 18g2.
  • the back inner rib 18g is formed so that the rib 18g1 and the rib 18g2 intersect.
  • the rib 18g1 is provided so as to extend in the vertical direction (Z-axis direction) so as to connect the back upper wall portion 18a and the back lower wall portion 18b.
  • a plurality of ribs 18g1 are provided in the left-right direction (X-axis direction). Each rib 18g1 is provided in parallel with the back right end wall portion 18c and the back left end wall portion 18d.
  • the rib 18g2 is provided so as to extend in the left-right direction (X-axis direction) so as to connect the back right end wall portion 18c and the back left end wall portion 18d.
  • a plurality of ribs 18g2 are provided in the vertical direction (Z-axis direction).
  • Each rib 18g2 is provided in parallel with the back upper wall portion 18a and the back lower wall portion 18b.
  • the strength of the back closing member 18 can be ensured by having the back inner rib 18 g. Therefore, since the back closing member 18 has the back inner rib 18g, deformation of the top panel 3 can be suppressed even when a load is applied to the top panel 3 due to stacking of the outdoor units 100 or the like.
  • the configuration of the back inner rib 18g is not limited to the above configuration.
  • the ribs 18g1 and the ribs 18g2 may be formed obliquely with respect to the back right end wall portion 18c and the back left end wall portion 18d.
  • the back closing member 18 formed in a box shape further has a reinforcing rib 18g3 inside.
  • the reinforcing rib 18g3 is a substantially triangular rib that connects the back side wall portion 18e and the back lower wall portion 18b.
  • a plurality of reinforcing ribs 18g3 are provided in the left-right direction (X-axis direction).
  • the strength of the back closing member 18 can be ensured by having the reinforcing ribs 18g3. Therefore, since the back closing member 18 has the reinforcing ribs 18g3, the deformation of the top panel 3 can be suppressed even when a load is applied to the top panel 3 due to the stacking of the outdoor units 100 or the like.
  • the configuration of the reinforcing rib 18g3 is not limited to the above configuration.
  • the reinforcing rib 18g3 may be formed on the back side wall portion 18e and the back surface upper wall portion 18a.
  • the side closing member 19 is a member that fills the space between the side surface region 10e and the curved surface region 10g of the heat exchanger 10 and the top surface panel 3 of the housing 50.
  • the side closing member 19 forms a side wall between the side surface region 10e and the curved surface region 10g and the top surface panel 3 in the housing 50.
  • the side closing member 19 constitutes a side wall extending in the front-rear direction (Y-axis direction) of the housing 50.
  • the side wall formed by the side closing member 19 is arranged on the side surface side of the outdoor unit 100.
  • the side closing member 19 is arranged on the side area 10e of the heat exchanger 10. In the outdoor unit 100, the heat exchanger 10 and the top panel 3 are connected to each other via a side closing member 19.
  • the side closing member 19 is arranged in contact with the upper end of the heat exchanger 10 and the lower surface of the top panel 3.
  • the side closing member 19 When viewed from the side surface side of the outdoor unit 100, the side closing member 19 is arranged in a state of being exposed to the outside through a part of the side opening 1a among the plurality of side opening 1a provided as the suction port 51. It is arranged so as to close a part of the side opening 1a. That is, when the term "side opening 1a" is used as a general term for a plurality of side opening 1a, the side closing member 19 is exposed to the outside through the side opening 1a, and the side closing member 19 is exposed to the outside through the side opening 1a. It is arranged so as to block a part of. That is, the side closing member 19 is arranged inside the side opening 1a, which is the suction port 51, in the housing 50.
  • the side closing member 19 has a side upper wall portion 19a, a side lower wall portion 19b, a side rear end wall portion 19c, a side front end wall portion 19d, and a side side wall portion 19e, and has a side surface of the housing 50. It is arranged on the side (X1).
  • the side surface upper wall portion 19a constitutes the upper wall of the side surface closing member 19, and faces the top surface panel 3 in the housing 50.
  • the side lower wall portion 19b constitutes the lower wall of the side closing member 19, faces the side area 10e of the heat exchanger 10 in the housing 50, and comes into contact with the heat exchanger 10.
  • the side rear end wall portion 19c constitutes the rear wall of the side closing member 19, and constitutes the side wall on the back opening 7 side in the front-rear direction (Y-axis direction) in the housing 50.
  • the side front end wall portion 19d constitutes the front wall of the side closing member 19, and constitutes the side wall on the air outlet 8 side in the front-rear direction (Y-axis direction) in the housing 50.
  • the side rear end wall portion 19c and the side front end wall portion 19d are attached to both ends of the side lower wall portion 19b, the side upper wall portion 19a, and the side side wall portion 19e in the stacking direction of the plurality of fins 10a constituting the heat exchanger 10. positioned.
  • the side side wall 19e constitutes the left wall of the side closing member 19, and constitutes the side wall on the side opening 1a side in the left-right direction (X-axis direction) in the housing 50.
  • the side side wall portion 19e closes a part of the side opening 1a of the housing 50 in the housing 50.
  • the side side wall portion 19e is located between the side surface lower wall portion 19b and the side surface upper wall portion 19a, and is arranged in the housing 50 in a state of being exposed to the outside through the side side opening 1a which is a suction port 51. .. That is, the side side wall portion 19e is arranged inside the side side opening 1a, which is the suction port 51, in the housing 50.
  • the side side wall portion 19e is formed in a substantially rectangular shape extending in the front-rear direction (Y-axis direction), and on the four sides of the side side wall portion 19e, a side surface upper wall portion 19a, a side surface lower wall portion 19b, and a side surface rear portion are formed.
  • An end wall portion 19c and a side surface front end wall portion 19d are provided. That is, the side upper wall portion 19a, the side lower wall portion 19b, the side rear end wall portion 19c, and the side front end wall portion 19d are formed from the respective edges forming the four sides of the side side wall portion 19e to form the housing 50. It is provided so as to extend to the right side on the machine room 32 side.
  • the side closing member 19 is formed in a box shape by the side upper wall portion 19a, the side lower wall portion 19b, the side rear end wall portion 19c, the side front end wall portion 19d, and the side side wall portion 19e. There is.
  • the side closing member 19 is formed in a box shape in which the machine room 32 side, which is the side facing the side side wall portion 19e, opens.
  • the side closing member 19 has an opening 19h formed by each edge of the side upper wall portion 19a, the side lower wall portion 19b, the side rear end wall portion 19c, and the side front end wall portion 19d.
  • the side closing member 19 formed in a box shape has a grid-shaped side surface inner rib 19g formed inside.
  • the side inner rib 19g has a rib 19g1 and a rib 19g2.
  • the side inner rib 19g is formed so that the rib 19g1 and the rib 19g2 intersect.
  • the rib 19g1 is provided so as to extend in the vertical direction (Z-axis direction) so as to connect the side surface upper wall portion 19a and the side surface lower wall portion 19b.
  • One or more ribs 19g1 are provided in the front-rear direction (Y-axis direction).
  • the rib 19g1 is provided in parallel with the side rear end wall portion 19c and the side front end wall portion 19d.
  • the rib 19g2 is provided so as to extend in the front-rear direction (Y-axis direction) so as to connect the side surface rear end wall portion 19c and the side surface front end wall portion 19d.
  • a plurality of ribs 19g2 are provided in the vertical direction (Z-axis direction).
  • Each rib 19g2 is provided in parallel with the side surface upper wall portion 19a and the side surface lower wall portion 19b.
  • the strength of the side closing member 19 can be ensured by having the side inner ribs 19g. Therefore, since the side closing member 19 has the side inner rib 19g, the deformation of the top panel 3 can be suppressed even when a load is applied to the top panel 3 due to stacking of the outdoor units 100 or the like.
  • the side closing member 19 formed in a box shape further has a reinforcing rib 19g3 inside.
  • the reinforcing rib 19g3 is a substantially triangular rib that connects the side side wall portion 19e and the side surface lower wall portion 19b.
  • a plurality of reinforcing ribs 19g3 are provided in the front-rear direction (y-axis direction). The strength of the side closing member 19 can be ensured by having the reinforcing ribs 19g3. Therefore, since the side closing member 19 has the reinforcing ribs 19g3, the deformation of the top panel 3 can be suppressed even when a load is applied to the top panel 3 due to the stacking of the outdoor units 100 or the like.
  • FIG. 8 is an enlarged view of a portion A of the back closing member 18 shown in FIG. 7.
  • the screw fixing member 21 will be described with reference to FIGS. 7 and 8.
  • the screw fixing member 21 is used for screw-fixing the back closing member 18, the partition plate 17, and the side panel 2.
  • the screw fixing member 21 is formed of sheet metal.
  • the screw fixing member 21 is not limited to the one formed by sheet metal, and may be formed by molding a resin or the like as long as the strength can be secured.
  • the screw fixing member 21 may be made of a material other than metal, resin, or the like.
  • the screw fixing member 21 is formed so as to extend in the vertical direction (Z-axis direction) along the rear right end wall portion 18c.
  • the screw fixing member 21 has a main body portion 21a and a fixing portion 21b.
  • the main body portion 21a and the fixing portion 21b are integrally formed, and the main body portion 21a and the fixing portion 21b are formed by being bent.
  • the main body portion 21a and the fixing portion 21b may be formed as separate bodies and may be formed by being connected to each other.
  • the main body 21a is formed in a plate shape.
  • the fixing portions 21b are formed in a plate shape, and are provided at both ends of the main body portion 21a in the lateral direction (Y-axis direction).
  • the fixing portion 21b is provided along the edge portion in the longitudinal direction (Z-axis direction) of the main body portion 21a.
  • the screw fixing member 21 is formed by the main body portion 21a and the fixing portion 21b so as to have a substantially U-shaped cross section.
  • a notch 21c is formed in the fixed portion 21b.
  • the notch 21c is formed at the tip of the fixing portion 21b on the opposite side of the main body 21a, and the notch 21c is formed so that the edge portion of the fixing portion 21b is recessed toward the main body 21a. There is. That is, the notch portion 21c is formed so that the fixing portion 21b opens in the direction extending from the main body portion 21a. Further, the fixing portion 21b is formed with a screw hole 21d used for screw-fixing the partition plate 17 and the side panel 2 via the back closing member 18.
  • the back right end wall portion 18c has a fixed surface portion 18c1, a back side plate wall portion 18c2, and a front side plate wall portion 18c3.
  • the fixed surface portion 18c1, the back side plate wall portion 18c2, and the front side plate wall portion 18c3 are integrally formed.
  • the fixed surface portion 18c1 is formed as a flat side wall.
  • the fixed surface portion 18c1 is not limited to the form formed in a plane shape, and may be formed in a curved surface shape or may have a step.
  • the back side plate wall portion 18c2 and the front side plate wall portion 18c3 are formed in a plate shape, and are provided at both ends of the fixed surface portion 18c1 in the lateral direction (Y-axis direction).
  • the back side plate wall portion 18c2 and the front side plate wall portion 18c3 are provided along the edge portion of the fixed surface portion 18c1 in the longitudinal direction (Z-axis direction).
  • the back side plate wall portion 18c2 and the front side plate wall portion 18c3 are provided so as to project from the edge portion of the fixed surface portion 18c1.
  • the back side plate wall portion 18c2 and the front side plate wall portion 18c3 are provided so as to face each other.
  • the rear right end wall portion 18c is formed so that the inner side surface formed by the fixed surface portion 18c1, the back side plate wall portion 18c2, and the front side plate wall portion 18c3 has a substantially U-shape in a plan view.
  • the back side plate wall portion 18c2 and the front side plate wall portion 18c3 have a protrusion 18c4.
  • the protrusion 18c4 is formed at the tip of the back surface side plate wall portion 18c2 and the front side plate wall portion 18c3 on the opposite side to the fixed surface portion 18c1.
  • the protrusion 18c4 is formed so that the amount of protrusion decreases toward the tip end portion and increases toward the fixed surface portion 18c1. That is, the protrusion 18c4 forms an inclined surface that is inclined with respect to the plate surfaces of the back side plate wall portion 18c2 and the front side plate wall portion 18c3.
  • the protruding portion 18c4 is formed on the tip side of the back side plate wall portion 18c2 and the front side plate wall portion 18c3 in the projecting direction.
  • a space is formed between the protrusion 18c4 and the fixed surface portion 18c1 in the projecting direction of the back side plate wall portion 18c2 and the front side plate wall portion 18c3.
  • the protrusion 18c4 of the back side plate wall portion 18c2 is formed so as to project toward the front side plate wall portion 18c3.
  • the protrusion 18c4 of the front side plate wall portion 18c3 is formed so as to project toward the back side plate wall portion 18c2 side. That is, the protrusion 18c4 is formed so as to project toward the space formed by the fixed surface portion 18c1, the back side plate wall portion 18c2, and the front side plate wall portion 18c3.
  • the back side plate wall portion 18c2 is formed with a side panel fixing screw hole 18c5 used for screw fixing to the side panel 2 of the housing 50 via the back closing member 18.
  • the front side plate wall portion 18c3 is formed with a partition plate fixing screw hole 18c6 used for screw fixing to the partition plate 17 via the back closing member 18.
  • an L-shaped hooking portion 18c7 hooked on the upper end portion of the heat exchanger 10 is formed below the screw fixing member 21. That is, the back right end wall portion 18c has a hook portion 18c7.
  • the fixed surface portion 18c1, the back surface side plate wall portion 18c2, and the hook portion 18c7 are integrally formed.
  • the hook portion 18c7 is used as a positioning member when assembling the closing member 9 to the heat exchanger 10.
  • the hook portion 18c7 protrudes from the lower end portion 18c11 of the fixed surface portion 18c1 of the rear right end wall portion 18c in the projecting direction (X-axis direction) of the rear side plate wall portion 18c2, is bent, and extends downward (Z2 side). It is formed.
  • the hook portion 18c7 has a side edge portion integrally formed with the back side plate wall portion 18c2.
  • the hook portion 18c7 is formed in an L shape in a side view viewed in the direction perpendicular to the back surface side plate wall portion 18c2.
  • the hook portion 18c7 and the back side plate wall portion 18c2 are formed so that the lower end portion 18c12 of the hook portion 18c7 and the back side plate wall portion 18c2 is located below the lower end portion 18c11 of the fixed surface portion 18c1.
  • the screw fixing member 21 is arranged in the space formed by the fixing surface portion 18c1, the back side plate wall portion 18c2, and the front side plate wall portion 18c3, and is attached to the back right end wall portion 18c of the back closing member 18.
  • the screw fixing member 21 is attached to the rear right end wall portion 18c, the protruding portion 18c4 of the back side plate wall portion 18c2 and the front side plate wall portion 18c3 is fitted with the edge portion of the notch portion 21c of the fixing portion 21b, and the screw fixing member 21 is attached. 21 is temporarily fixed to the back right end wall portion 18c of the back closing member 18.
  • the main body portion 21a faces the fixing surface portion 18c1
  • the rear fixing portion 21b faces the back side plate wall portion 18c2
  • the front side fixing portion 21b is arranged so as to face the front side plate wall portion 18c3.
  • FIG. 9 is a perspective view of the closing member 9 according to the first embodiment as viewed from the back side.
  • FIG. 10 is an exploded perspective view of the back closing member 18 and the side closing member 19 constituting the closing member 9 shown in FIG.
  • FIG. 11 is a perspective view of a side closing member 19 on the side facing the partition plate 17 in the housing 50 of the outdoor unit 100 according to the first embodiment.
  • the closing member 9 has an engaging portion 22.
  • the engaging portion 22 is a connecting portion between the back closing member 18 and the side closing member 19.
  • the back closing member 18 and the side closing member 19 are formed separately, and the back closing member 18 and the side closing member 19 are fitted and connected to each other at the engaging portion 22. There is.
  • the structure of the engaging portion 22 which is the connecting portion between the back closing member 18 and the side closing member 19 will be described with reference to FIGS. 9 to 11.
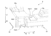
  • the rear left end wall portion 18d has a mounting surface portion 18d1, a front side mounting portion 18d2, and a back side mounting portion 18d3.
  • the rear left end wall portion 18d is integrally formed with a mounting surface portion 18d1, a front side mounting portion 18d2, and a back side mounting portion 18d3.
  • the mounting surface portion 18d1 is formed as a plate-shaped side wall.
  • the plate surface of the mounting surface portion 18d1 is not limited to the form formed in a flat shape, and may be formed in a curved surface shape or may have a step.
  • the front side mounting portion 18d2 and the back side mounting portion 18d3 are formed in a hook shape, and are provided at both ends of the mounting surface portion 18d1 in the lateral direction (Y-axis direction).
  • the front side mounting portion 18d2 and the back side mounting portion 18d3 project from the mounting surface portion 18d1, and the horizontal cross section is formed in an L shape.
  • the front side mounting portion 18d2 and the back side mounting portion 18d3 are provided along the edge portion of the mounting surface portion 18d1 in the longitudinal direction (Z-axis direction).
  • the front side mounting portion 18d2 and the back side mounting portion 18d3 are formed in a part of the longitudinal direction (Z-axis direction) of the mounting surface portion 18d1, and the front side mounting portion 18d2 is formed above the back side mounting portion 18d3. ing.
  • the front side mounting portion 18d2 is provided at the end portion of the mounting surface portion 18d1 on the front side (Y1 side) in the lateral direction (Y-axis direction).
  • the front side mounting portion 18d2 has a front side protruding portion 18d21 and a front side claw portion 18d22.
  • the front side projecting portion 18d21 is a portion constituting a wall projecting from the mounting surface portion 18d1 to the outside of the back closing member 18, and a wall projecting to the left side (X1 side) in the longitudinal direction (X-axis direction) of the outdoor unit 100. It is a constituent part.
  • the front side claw portion 18d22 is a claw that holds the side closing member 19 together with the mounting surface portion 18d1.
  • the front side claw portion 18d22 is provided so as to extend from the tip of the front side protruding portion 18d21 in the protruding direction to the back side wall portion 18e side, that is, to the back side (Y2 side) of the mounting surface portion 18d1 in the lateral direction (Y-axis direction). It is a wall part that is being used.
  • the front side claw portion 18d22 is formed so as to face the mounting surface portion 18d1 with a gap.
  • the front side mounting portion 18d2 forms a groove portion 18d23 extending in the vertical direction (Z-axis direction) by the mounting surface portion 18d1, the front side protruding portion 18d21, and the front side claw portion 18d22.
  • the groove portion 18d23 is formed so that the vertical direction (Z-axis direction) of the outdoor unit 100 and the back surface side (Y2 side) are open.
  • the back side mounting portion 18d3 is provided at the end portion of the mounting surface portion 18d1 on the back side (Y2 side) in the lateral direction (Y-axis direction).
  • the back side mounting portion 18d3 has a back side protruding portion 18d31 and a back side claw portion 18d32.
  • the rear surface side projecting portion 18d31 is a portion constituting a wall projecting from the mounting surface portion 18d1 to the outside of the back surface closing member 18, and a wall projecting to the left side (X1 side) in the longitudinal direction (X axis direction) of the outdoor unit 100. It is a constituent part.
  • the back side claw portion 18d32 is a claw that holds the side closing member 19 together with the mounting surface portion 18d1.
  • the back side claw portion 18d32 extends from the tip of the back side protruding portion 18d31 in the protruding direction to the opening side of the back closing member 18, that is, the front side (Y1 side) of the mounting surface portion 18d1 in the lateral direction (Y-axis direction). It is a wall part provided in.
  • the rear side claw portion 18d32 is formed so as to face the mounting surface portion 18d1 with a gap.
  • the back side mounting portion 18d3 forms a groove portion 18d33 extending in the vertical direction (Z-axis direction) by the mounting surface portion 18d1, the back side protruding portion 18d31, and the back side claw portion 18d32.
  • the groove portion 18d33 is formed so that the vertical direction (Z-axis direction) of the outdoor unit 100 and the front side (Y1 side) are open.
  • the side rear end wall portion 19c has a contact portion 19c1, an intermediate side wall portion 19c2, and a front side wall portion 19c3.
  • the contact portion 19c1, the intermediate side wall portion 19c2, and the front side wall portion 19c3 are integrally formed.
  • the contact portion 19c1 is formed as a plate-shaped side wall.
  • the contact portion 19c1 is formed so as to extend in the left-right direction (X-axis direction) of the housing 50 and in the up-down direction (Z-axis direction).
  • the plate surface of the contact portion 19c1 is formed inside the housing 50 so as to face the back surface side (Y2).
  • the plate surface of the contact portion 19c1 is not limited to the form formed in a flat shape, and may be formed in a curved surface shape or may have a step.
  • the intermediate side wall portion 19c2 is provided so as to project outward from the plate surface of the contact portion 19c1, extends in the front-rear direction (Y-axis direction) of the housing 50, and extends in the vertical direction (Z-axis direction).
  • the intermediate side wall portion 19c2 is formed so that the plate surface forming the intermediate side wall portion 19c2 and the plate surface forming the side side wall portion 19e face the same direction.
  • the intermediate side wall portion 19c2 is formed so as to be located on the opening 19h side (X2 side) of the side side wall portion 19e in the left-right direction (X-axis direction).
  • An insertion portion 19c21 is formed in the intermediate side wall portion 19c2.
  • the insertion portion 19c21 is formed in a hook shape, and is provided near the substantially center of the intermediate side wall portion 19c2 in the lateral direction (Y-axis direction).
  • the insertion portion 19c21 protrudes from the intermediate side wall portion 19c2 toward the opening 19h, and has an L-shaped horizontal cross section.
  • the insertion portion 19c21 is provided along the longitudinal direction (Z-axis direction) of the intermediate side wall portion 19c2.
  • the insertion portion 19c21 is formed in a part of the intermediate side wall portion 19c2 in the longitudinal direction (Z-axis direction), and is formed above the central portion of the intermediate side wall portion 19c2 in the longitudinal direction (Z-axis direction).
  • the insertion portion 19c21 has a side surface side protruding portion 19c22 and a side surface side claw portion 19c23.
  • the side surface side projecting portion 19c22 is a portion constituting a wall projecting from the intermediate side wall portion 19c2, and is a portion constituting a wall projecting to the right side (X2 side) in the longitudinal direction (X-axis direction) of the outdoor unit 100.
  • the side surface side claw portion 19c23 is a wall portion provided so as to extend from the tip of the side surface side projecting portion 19c22 in the projecting direction toward the contact portion 19c1 side (Y1 side).
  • the side claw portion 19c23 is a claw that is inserted into the groove portion 18d23 and is held by the front side claw portion 18d22 and the mounting surface portion 18d1.
  • the tip side wall portion 19c3 is provided so as to project from the tip of the intermediate side wall portion 19c2 in the projecting direction (Y-axis direction), and is formed in a plate shape extending in the vertical direction (Z-axis direction) along the intermediate side wall portion 19c2.
  • the tip side wall portion 19c3 is formed so that the plate surface forming the tip side wall portion 19c3, the plate surface forming the intermediate side wall portion 19c2, and the plate surface forming the side side wall portion 19e face the same direction.
  • the tip side wall portion 19c3 is formed so as to be located on the opening 19h side (X2 side) of the intermediate side wall portion 19c2 in the left-right direction (X-axis direction). When the back closing member 18 and the side closing member 19 are connected, the tip side wall portion 19c3 is formed so as to face the mounting surface portion 18d1.
  • the tip side wall portion 19c3 is inserted into the groove portion 18d33 and is held by the back side claw portion 18d32 and the mounting surface portion 18d1.
  • the tip side wall portion 19c3 has an edge wall portion 19c31.
  • the edge wall portion 19c31 is a wall provided on the edge portion along the outer edge portion of the tip side wall portion 19c3.
  • the edge wall portion 19c31 of the tip side wall portion 19c3 is inserted into the groove portion 18d33 and is held by the back side claw portion 18d32 and the mounting surface portion 18d1.
  • the tip side wall portion 19c3 has a notch portion 19c32 at a corner portion of the lower end portion.
  • the tip side wall portion 19c3 has a notch portion 19c32 at the corner of the lower end portion, the operator can easily insert the tip side wall portion 19c3 into the groove portion 18d33, and the back closing member 18 and the side closing member 19 can be easily connected. become.
  • the operator can move the side closing member 19 in the direction of the white arrow, so that the side closing member 19 can be attached to the back closing member 18 as shown in FIG.
  • the front side wall portion 19c3 comes into contact with the mounting surface portion 18d1, so that the side closing member 19 is positioned in the left-right direction (X-axis direction) with respect to the back closing member 18.
  • the contact portion 19c1 comes into contact with the back left end wall portion 18d, so that the side closing member 19 is positioned in the front-rear direction (Y-axis direction) with respect to the back closing member 18.
  • FIG. 12 is a cross-sectional view showing a connection state between the back closing member 18 and the side closing member 19 in the C portion shown in FIG.
  • FIG. 13 is a cross-sectional view showing a connection state between the back closing member 18 and the side closing member 19 in the D portion shown in FIG.
  • the connection state between the back closing member 18 and the side closing member 19 will be described with reference to FIGS. 12 and 13.
  • the insertion portion 19c21 engages with the front side mounting portion 18d2 of the back closing member 18.
  • the side claw portion 19c23 of the insertion portion 19c21 is inserted into the groove portion 18d23 and is held by the front side claw portion 18d22 and the mounting surface portion 18d1.
  • the tip side wall portion 19c3 engages with the back surface side mounting portion 18d3 of the back surface closing member 18.
  • the tip side wall portion 19c3 is held by the back side claw portion 18d32 and the mounting surface portion 18d1 by being inserted into the groove portion 18d33.
  • the insertion portion 19c21 and the front side mounting portion 18d2 are engaged with each other at the upper portion, and the tip side wall portion 19c3 and the back side mounting portion 18d3 are engaged with each other at the lower portion.
  • the closing member 9 is configured by combining the back closing member 18 and the side closing member 19, and the side closing member 19 is slid and fitted to the back closing member 18 and the respective parts are engaged with each other. It is formed in an L shape.
  • the side closing member 19 has a stop portion 19c25 on the intermediate side wall portion 19c2.
  • the stop portion 19c25 projects in the same direction (X2 side) as the protrusion direction of the insertion portion 19c21.
  • the stop portion 19c25 is a rectangular parallelepiped protruding piece, and is provided above the insertion portion 19c21.
  • the stop portion 19c25 may be a protruding piece whose strength is ensured, and is not limited to a rectangular parallelepiped shape.
  • the stop portion 19c25 is provided on an extension of the wall forming the side surface side protrusion 19c22 of the insertion portion 19c21 in the vertical direction (Z-axis direction).
  • the upper end portion of the front side mounting portion 18d2 comes into contact with the stop portion 19c25, so that the side closing member 19 is positioned in the vertical direction (Z-axis direction) with respect to the back closing member 18. That is, the stop portion 19c25 serves as a stopper in the vertical movement (Z-axis direction) of the side closing member 19 with respect to the back closing member 18 by contacting the upper end portion of the front side mounting portion 18d2.
  • FIG. 14 is an enlarged perspective view of the upper part of the back closing member 18 on the front side.
  • FIG. 15 is an enlarged perspective view of the upper part of the back closing member 18 on the back side.
  • a recess 18d4 is formed at an edge portion of the mounting surface portion 18d1 extending in the vertical direction (Z-axis direction).
  • the recess 18d4 is formed at the upper end of the edge portion extending in the vertical direction (Z-axis direction) of the mounting surface portion 18d1.
  • the recess 18d4 is recessed so that the front side (Y1 side) is open.
  • FIG. 16 is an enlarged perspective view of the upper part on the front side of the side closing member 19.
  • FIG. 17 is an enlarged perspective view of the upper portion of the side closing member 19 on the back surface side.
  • a convex portion 19c11 is formed at the edge of the upper end portion of the contact portion 19c1.
  • the convex portion 19c11 is formed along an edge portion extending in the left-right direction (X-axis direction) at the upper end portion of the contact portion 19c1.
  • the convex portion 19c11 is formed so as to project toward the back surface side (Y2 side).
  • FIG. 18 is an enlarged perspective view of the upper part on the front side of the closing member 9.
  • FIG. 19 is an enlarged perspective view of the upper portion of the closing member 9 on the back surface side.
  • the convex portion 19c11 is inserted into the concave portion 18d4 and fits. Therefore, when the side closing member 19 and the back closing member 18 are connected to each other, the closing member 9 is prevented from being displaced from each other.
  • FIG. 20 is a perspective view of the back closing member 18 shown in FIG. 7 as viewed from below.
  • FIG. 21 is an enlarged perspective view of the pressing portion 23 shown in FIG. 20.
  • the closing member 9 has a holding portion 23.
  • the back closing member 18 of the closing member 9 is provided with a holding portion 23 for sandwiching the heat exchanger 10 from the thickness direction of the heat exchanger 10. More specifically, the back lower wall portion 18b has a holding portion 23 that comes into contact with the heat exchanger 10 from the thickness direction of the heat exchanger 10 and sandwiches the heat exchanger 10.
  • the pressing portion 23 is integrally formed with the back lower wall portion 18b, and is provided at both ends of the back lower wall portion 18b in the front-rear direction (Y-axis direction).
  • the pressing portion 23 is formed in a part of the back lower wall portion 18b in the longitudinal direction (X-axis direction).
  • the pressing portion 23 is formed one on the opening 18h side of the back closing member 18 and two on the back side wall portion 18e side of the back closing member 18.
  • the number of presser portions 23 formed is not limited to this configuration.
  • One pressing portion 23 may be formed on each of the opening 18h side of the back closing member 18 and the back side wall portion 18e side of the back closing member 18, or a plurality of pressing portions 23 may be formed.
  • the pressing portion 23 is not limited to the form formed in a part of the back surface lower wall portion 18b in the longitudinal direction (X-axis direction), but is not limited to the form formed in the longitudinal direction (X-axis direction) of the back surface lower wall portion 18b. It may be formed in the entire region of.
  • the back closing member 18 has a heat exchanger 10 as a heat exchanger 10 because the holding portion 23 is formed on the opening 18h side of the back closing member 18 and the back side wall portion 18e side of the back closing member 18. It can be sandwiched from the thickness direction of.
  • the pressing portion 23 is formed in a plate shape.
  • the pressing portion 23 protrudes from the back lower wall portion 18b toward the outside of the back lower wall portion 18b, and protrudes downward from the back lower wall portion 18b.
  • the pressing portion 23 is provided so as to extend along the edge portion in the longitudinal direction (X-axis direction) of the back lower wall portion 18b.
  • the pressing portion 23 has a misalignment suppressing rib 23b.
  • a misalignment suppressing rib 23b is formed at a base portion 23a near the base of the pressing portion 23 with respect to the back lower wall portion 18b.
  • the position shift suppressing rib 23b suppresses the position shift of the back closing member 18 in the left-right direction (X-axis direction) with respect to the heat exchanger 10.
  • the position deviation suppressing rib 23b is formed in a substantially triangular shape, and the bottom edge portion 23b1 constituting the edge portion on the back lower wall portion 18b side is integrally formed with the back lower wall portion 18b, and the pressing portion 23 side.
  • the side edge portion 23b2 that constitutes the edge portion of the above is formed integrally with the pressing portion 23.
  • the oblique edge portion 23b3 forming between the end portion of the bottom edge portion 23b1 and the end portion of the side edge portion 23b2 is inclined with respect to the back lower wall portion 18b and the pressing portion 23. ..
  • FIG. 22 is a schematic cross-sectional view of the back closing member 18 at the position of line EE shown in FIG.
  • the relationship between the misalignment suppressing rib 23b and the heat exchanger 10 will be described with reference to FIG.
  • the holding portion 23 comes into contact with the fins 10a from the front (Y2 side) and the rear (Y1 side) of the fins 10a of the heat exchanger 10.
  • the misalignment suppressing rib 23b is fitted between the plurality of fins 10a.
  • the side closing member 19 of the closing member 9 is also provided with a holding portion 23 for sandwiching the heat exchanger 10 from the thickness direction of the heat exchanger 10.
  • the side lower wall portion 19b has a holding portion 23 that comes into contact with the heat exchanger 10 from the thickness direction of the heat exchanger 10 and sandwiches the heat exchanger 10.
  • the pressing portion 23 is integrally formed with the side surface lower wall portion 19b, and is provided at both ends of the side surface lower wall portion 19b in the left-right direction (X-axis direction).
  • the pressing portion 23 is formed in a part of the side surface lower wall portion 19b in the longitudinal direction (Y-axis direction).
  • One pressing portion 23 is formed on the opening 19h side of the side closing member 19, and one pressing portion 23 is formed on the side side wall portion 19e side of the side closing member 19.
  • the number of presser portions 23 formed is not limited to this configuration.
  • One pressing portion 23 may be formed on each of the opening 19h side of the side closing member 19 and the side side wall portion 19e side of the side closing member 19, or a plurality of pressing portions 23 may be formed.
  • the pressing portion 23 is not limited to the form formed in a part of the side surface lower wall portion 19b in the longitudinal direction (Y-axis direction), but is not limited to the form formed in the longitudinal direction (Y-axis direction) of the side surface lower wall portion 19b. It may be formed in the entire region of.
  • the pressing portion 23 is formed on each of the opening 19h side of the side closing member 19 and the side side wall portion 19e side of the side closing member 19, so that the heat exchanger 10 is converted into the heat exchanger 10. It can be sandwiched from the thickness direction of.
  • the pressing portion 23 projects from the side surface lower wall portion 19b toward the outside of the side surface lower wall portion 19b, and protrudes downward from the side surface lower wall portion 19b.
  • the pressing portion 23 is provided so as to extend along the edge portion in the longitudinal direction (Y-axis direction) of the side lower wall portion 19b.
  • a misalignment suppressing rib 23b is formed on the base portion 23a near the base of the pressing portion 23 with respect to the side lower wall portion 19b.
  • FIG. 23 is a schematic cross-sectional view of the back closing member 18 at the FF line position shown in FIG.
  • FIG. 24 is a bottom view of the back lower wall portion 18b constituting the back closing member 18 as viewed from the direction of the white arrow G shown in FIG. The relationship between the press-fitting portion 24 and the heat exchanger 10 will be described with reference to FIGS. 21, 23, and 24.
  • the back lower wall portion 18b has a press-fit portion 24.
  • the press-fitting portion 24 is a portion that is press-fitted into the edges of a plurality of fins 10a constituting the heat exchanger 10 when the closing member 9 is placed on the heat exchanger 10 and assembled.
  • the press-fitting portion 24 is a rib having a protruding height of about 1 mm provided on the back lower wall portion 18b of the back closing member 18 constituting the closing member 9.
  • the press-fitting portion 24 is provided so as to project at a position facing the corners of the plurality of fins 10a constituting the heat exchanger 10, and is provided so as to extend in the stacking direction of the plurality of fins 10a. More specifically, the press-fitting portion 24 is provided on the surface of the back closing member 18 on the heat exchanger 10.
  • the press-fitting portion 24 is provided so as to project downward (Z2 side) from the back lower wall portion 18b. As shown in FIG.
  • the press-fitting portion 24 is formed so as to extend in the longitudinal direction (X-axis direction) along the edge portion of the back lower wall portion 18b on the back side wall portion 18e side.
  • the press-fitting portion 24 is not limited to a form formed in a part of the back surface lower wall portion 18b in the longitudinal direction (X-axis direction), but is not limited to the form formed in a part of the back surface lower wall portion 18b in the longitudinal direction (X-axis direction). It may be formed in the region.
  • the press-fitting portion 24 is a substantially rectangular parallelepiped rib.
  • the press-fitting portion 24 is not limited to a substantially rectangular parallelepiped shape as long as it can be press-fitted into the fins 10a of the heat exchanger 10 when the back closing member 18 is placed on the heat exchanger 10 and assembled.
  • the press-fitting portion 24 may be formed in another shape such as a semi-cylindrical column, a triangular columnar shape, or another polygonal columnar shape or a hemispherical shape.
  • the press-fitting portion 24 presses the fins 10a of the heat exchanger 10 when the back closing member 18 is placed on the heat exchanger 10 and assembled, and the back closing member 18 presses the fin 10a of the heat exchanger 10. It is assembled to the heat exchanger 10 in a state of being press-fitted into 10.
  • FIG. 25 is a perspective view of the closing member 9 of the outdoor unit 100 according to the first embodiment as viewed from the lower front side.
  • the side lower wall portion 19b of the side closing member 19 also has a press-fit portion 24.
  • the press-fitting portion 24 is a rib having a protruding height of about 1 mm provided on the side lower wall portion 19b of the side closing member 19 constituting the closing member 9. That is, the press-fitting portion 24 is provided on the surface of the side closing member 19 on the heat exchanger 10.
  • the press-fitting portion 24 is provided so as to project downward (Z2 side) from the side surface lower wall portion 19b.
  • the press-fitting portion 24 is formed so as to extend in the longitudinal direction (Y-axis direction) along the edge portion of the side surface lower wall portion 19b on the side side wall portion 19e side.
  • the press-fitting portion 24 is not limited to a form formed in a part of the side surface lower wall portion 19b in the longitudinal direction (Y-axis direction), but is not limited to the form formed in a part of the side surface lower wall portion 19b in the longitudinal direction (Y-axis direction). It may be formed in the region.
  • FIG. 26 is a perspective view of the closing member 9 of the outdoor unit 100 according to the first embodiment as viewed from the front side side.
  • the sensor mounting portion 25 will be described with reference to FIGS. 25 and 26.
  • the closing member 9 has a sensor mounting portion 25 on the lower wall portion.
  • the sensor mounting portion 25 houses the outside air temperature sensor 20 inside.
  • the sensor mounting portion 25 is formed on the lower wall portion of the L-shaped bent portion of the closing member 9. That is, the sensor mounting portion 25 is formed at the lower end portion of the connecting portion between the back closing member 18 and the side closing member 19.
  • the sensor mounting portion 25 is formed as a groove-shaped space at the joint portion between the back closing member 18 and the side closing member 19.
  • the sensor mounting portion 25 is a portion formed in a groove shape penetrating from the front side (Y1 side) to the back side (Y2 side) of the closing member 9, and is formed from the right side (X2 side) to the left side (X1) of the closing member 9. It is a portion formed in a groove shape penetrating the side). That is, the sensor mounting portion 25 is a groove-shaped portion formed on the back lower wall portion 18b and the side surface lower wall portion 19b. The sensor mounting portion 25 is formed so as to be recessed upward and open downward at the lower end portion of the closing member 9.
  • the sensor mounting portion 25 is formed by a back side mounting wall portion 25a, a side mounting wall portion 25b, and a side mounting upper wall portion 25c. As shown in FIGS. 7, 20, and 25, the back side mounting wall portion 25a is provided at the lower end portion of the back left end wall portion 18d constituting the back side closing member 18.
  • the back side mounting wall portion 25a forms a side wall that is inclined with respect to the back left end wall portion 18d.
  • the back side mounting wall portion 25a forms a side wall that is inclined with respect to the mounting surface portion 18d1.
  • the wall surface of the back side mounting wall portion 25a is formed so as to face the front side (Y1 side) and the left side (X1 side) when the back closing member 18 is placed on the heat exchanger 10.
  • the side surface side mounting wall portion 25b is provided at the lower end portion of the side surface rear end wall portion 19c constituting the side surface side closing member 19.
  • the side mounting wall portion 25b forms a side wall that is inclined with respect to the side rear end wall portion 19c.
  • the side mounting wall portion 25b forms a side wall that is inclined with respect to the contact portion 19c1.
  • the wall surface of the side surface side mounting wall portion 25b is formed so as to face the back surface side (Y2 side) and the right side (X2 side) when the side surface back surface closing member 19 is placed on the heat exchanger 10.
  • the side mounting upper wall portion 25c is provided at the lower end portion of the side rear end wall portion 19c constituting the side closing member 19. Further, the side surface side mounting upper wall portion 25c is provided at the upper end portion of the side surface side mounting wall portion 25b.
  • the side mounting upper wall portion 25c is a bottom wall provided above the side surface lower wall portion 19b (Z1 side).
  • the wall surface of the side surface mounting upper wall portion 25c is formed so as to face downward (Z2 side) when the side surface back closing member 19 is placed on the heat exchanger 10, and is a curved surface region of the heat exchanger 10. It is formed so as to face the upper end surface of 10 g.
  • FIG. 27 is an enlarged view showing an attached state of the outside air temperature sensor 20 arranged on the heat exchanger 10 of the outdoor unit 100 according to the first embodiment.
  • the outside air temperature sensor 20 is arranged at the mating portion between the back closing member 18 and the side closing member 19.
  • the outside air temperature sensor 20 is mounted on the heat exchanger 10
  • the closing member 9 is arranged on the outdoor unit 100.
  • a space is formed by the sensor mounting portion 25 at the portion where the outside air temperature sensor 20 is arranged in the mating portion of the back closing member 18 and the side closing member 19. Therefore, the outdoor unit 100 can arrange the closing member 9 on the heat exchanger 10 even if the outside air temperature sensor 20 is attached to the heat exchanger 10.
  • the outside air temperature sensor 20 has a lead wire 20a as shown in FIGS. 5 and 6.
  • the outdoor unit 100 needs to regulate the path of the lead wire 20a of the outside air temperature sensor 20 in the housing 50.
  • the closing member 9 has a lead wire guide portion 26.
  • the lead wire guide portion 26 regulates the path of the lead wire 20a of the outside air temperature sensor 20, and is provided on the closing member 9.
  • the lead wire guide portion 26 is provided on the back upper wall portion 18a of the back closing member 18.
  • the lead wire guide portion 26 may be provided on the side upper wall portion 19a of the side closing member 19 instead of the back closing member 18.
  • the lead wire guide portion 26 is formed on the opening 18h side, which is the front side (Y1 side), with respect to the back side wall portion 18e on the back side (Y2 side).
  • the lead wire guide portion 26 is formed at an edge portion forming an opening 18h of the back surface upper wall portion 18a.
  • Two lead wire guide portions 26 are formed along the longitudinal direction (X-axis direction) of the back surface side closing member 18. However, the number of lead wire guide portions 26 formed is not limited to two, and one or three or more lead wire guide portions 26 may be formed.
  • FIG. 28 is a perspective view of the lead wire guide portion 26 provided on the closing member 9 of the outdoor unit 100 according to the first embodiment.
  • FIG. 29 is a side view of the lead wire guide portion 26 shown in FIG. 28. A detailed configuration of the lead wire guide portion 26 will be described with reference to FIGS. 28 and 29.
  • the lead wire guide portion 26 has a plate-shaped portion 26a and a guide claw portion 26b.
  • the plate-shaped portion 26a is a plate-shaped member.
  • the plate-shaped portion 26a is provided at the edge portion forming the opening 18h of the back surface upper wall portion 18a, and is provided so as to extend along the longitudinal direction (X-axis direction) of the back surface upper wall portion 18a. , It is provided so as to project into the opening 18h and extend in the vertical direction (Z-axis direction).
  • the plate surface of the plate-shaped portion 26a provided on the back closing member 18 faces at least the front side (Y1 side).
  • the guide claw portion 26b is a claw that holds the lead wire 20a together with the plate-shaped portion 26a.
  • the guide claw portion 26b is formed so as to project from the lower end portion of the plate-shaped portion 26a to the front side (Y1 side) where the plate surface of the plate-shaped portion 26a faces, and to bend and extend upward (Z1 side). ..
  • the guide claw portion 26b is formed so as to have an L shape in a side view.
  • the guide claw portion 26b is provided with a retaining portion 26c at the tip portion in the protruding direction.
  • the retaining portion 26c is formed in a substantially triangular shape in a side view so that the base side near the root of the guide claw portion 26b is thicker than the tip side of the guide claw portion 26b.
  • the closing member 9 arranges the lead wire 20a of the outside air temperature sensor 20 in the guide claw portion 26b of the lead wire guide portion 26 provided on the back closing member 18.
  • the route of the lead wire 20a is regulated.
  • the closing member 9 has a top panel receiving portion 27.
  • the top panel receiving portion 27 comes into contact with the top panel 3 and receives a load from the top panel 3 side.
  • the top panel receiving portion 27 is formed on the upper surface portion of the closing member 9.
  • the top panel receiving portion 27 is provided so as to project upward from the upper surface portion of the closing member 9.
  • the top panel receiving portion 27 is formed on the back side closing member 18 and one on the side closing member 19, but the number of top panel receiving portions 27 formed in the closing member 9 is limited to the number. Not done.
  • One or more top panel receiving portions 27 may be formed on the back side closing member 18 and the side closing member 19, respectively.
  • the top panel receiving portion 27 is provided on the back upper wall portion 18a of the back side closing member 18, and is provided so as to project upward from the back upper wall portion 18a.
  • the top panel receiving portion 27 is provided so as to extend along the longitudinal direction (X-axis direction) of the back upper wall portion 18a.
  • the length of the top panel receiving portion 27 in the longitudinal direction (X-axis direction) is not limited, and even if the length in the longitudinal direction (X-axis direction) differs depending on the formation position of the top panel receiving portion 27. Good.
  • the top panel receiving portion 27 is provided on the side surface upper wall portion 19a of the side surface side closing member 19, and is provided so as to project upward from the side surface upper wall portion 19a.
  • the top panel receiving portion 27 is provided so as to extend along the longitudinal direction (Y-axis direction) of the side surface upper wall portion 19a.
  • the length of the top panel receiving portion 27 in the longitudinal direction (Y-axis direction) is not limited, and even if the length in the longitudinal direction (Y-axis direction) differs depending on the formation position of the top panel receiving portion 27. Good.
  • FIG. 30 is a schematic cross-sectional view of the outdoor unit 100 at the FF line position shown in FIG.
  • FIG. 31 is an enlarged view showing the relationship between the back surface closing member 18 and the top panel 3 in the H portion shown in FIG. 30.
  • the top panel 3 and the top panel receiving portion 27 are shown separately so that the shape of the inner wall of the top panel 3 and the shape of the top panel receiving portion 27 can be easily understood.
  • the top panel receiving portion 27 has a top surface portion 27a.
  • the top surface portion 27a is an upper surface portion of the top surface panel receiving portion 27.
  • the top surface portion 27a faces the inner wall surface of the top surface panel 3 in the housing 50.
  • the top surface portion 27a of the top surface panel receiving portion 27 is formed in a shape along the inner wall of the top surface panel 3.
  • the top panel 3 has an inclined surface portion 3a that inclines downward from the center of the housing 50 toward the outside.
  • the top surface portion 27a of the top surface panel receiving portion 27 is formed so as to be inclined downward from the center of the housing 50 toward the outside along the inner wall of the inclined surface portion 3a. That is, in the top surface portion 27a of the top surface panel receiving portion 27, in the vertical direction (Z-axis direction), the opening 18h side which is the front side (Y1 side) is from the back side wall portion 18e side which is the back side (Y2 side).
  • the top panel 3 is formed so as to have a curved surface from the center of the housing 50 toward the outside.
  • the top surface portion 27a of the top surface panel receiving portion 27 is formed so as to have a curved surface from the center to the outside of the housing 50 along the inner wall of the inclined surface portion 3a.
  • the top surface portion 27a is formed so as to extend in the longitudinal direction (X-axis direction) of the back surface closing member 18.
  • the top surface portion 27a of the top surface panel receiving portion 27 is set to have the same distance from the back surface upper wall portion 18a in the vertical direction (Z axis direction) in the longitudinal direction (X-axis direction) of the back surface side closing member 18. It is formed.
  • the shape of the top surface portion 27a is not limited to the shape formed so as to incline downward from the center of the housing 50 toward the outside. As described above, the shape of the top surface portion 27a may be formed along the inner wall of the top surface panel 3. For example, when a step is formed on the inner wall of the top panel 3, the top portion 27a may be formed in a shape along the step of the top panel 3.
  • the top panel receiving portion 27 of the back side closing member 18 and the top panel 3 has been described, but the top panel receiving portion 27 of the side closing member 19 and the top panel 3 The relationship is similar. That is, in the top surface portion 27a of the top surface panel receiving portion 27, in the vertical direction (Z-axis direction), the opening 19h side on the right side (X2 side) is closer to the side side wall portion 19e side on the left side (X1 side). It is inclined so that the distance from the side upper wall portion 19a becomes large. Further, the top surface portion 27a of the side surface side closing member 19 is formed so as to have a curved surface from the center to the outside of the housing 50 along the inner wall of the inclined surface portion 3a.
  • the top surface portion 27a is formed so as to extend in the longitudinal direction (Y-axis direction) of the side surface side closing member 19.
  • the top surface portion 27a of the top surface panel receiving portion 27 is set to have the same distance from the side surface upper wall portion 19a in the vertical direction (Z axis direction) in the longitudinal direction (Y-axis direction) of the side surface side closing member 19. It is formed.
  • FIG. 32 is an enlarged view showing a state in which the back closing member 18 of the outdoor unit 100 according to the first embodiment is attached to the heat exchanger 10.
  • FIG. 33 is an enlarged view showing an attached state of the closing member 9 and the heat exchanger 10 in the outdoor unit 100 according to the first embodiment. The work of attaching the closing member 9 to the heat exchanger 10 will be described with reference to FIGS. 32 and 33.
  • the operator attaches the hooking portion 18c7 provided at the longitudinal end of the back closing member 18 to the flange of the heat exchanger end sheet metal 10d of the heat exchanger 10.
  • the back closing member 18 is positioned abutting against the portion 10d3 and arranged on the heat exchanger 10.
  • the hook portion 18c7 is a portion used for determining the position of the back closing member 18 with respect to the heat exchanger 10 when the back closing member 18 is attached to the heat exchanger 10.
  • the heat exchanger end sheet metal 10d is a sheet metal arranged at the end of the heat exchanger 10 on the most machine room 32 side in the direction in which the plurality of fins 10a are lined up.
  • the heat exchanger end sheet metal 10d is fixed to the partition plate 17 and the side panel 2 by bolts and attached.
  • the flange portion 10d3 is a portion protruding from the upper end portion of the heat exchanger end sheet metal 10d toward the machine room 32 and projecting into a plate shape.
  • the back closing member 18 of the closing member 9 is fixed to the partition plate 17 by screwing the screw fixing member 21 attached to the back closing member 18 and the partition plate 17 with the partition plate side fixing screw 28a. .. Further, the back closing member 18 of the closing member 9 is fixed to the housing 50 by screwing the screw fixing member 21 attached to the back closing member 18 and the side panel 2 with the side panel side fixing screws 28b. Will be done. That is, the back closing member 18 of the closing member 9 is fixed to the partition plate 17 and the side panel 2 constituting the housing 50 by screw fixing.
  • the order of installation of the closing member 9 and the outside air temperature sensor 20 will be described in more detail.
  • the operator positions the back closing member 18 of the closing member 9 as described above and places it on the heat exchanger 10, and together with the screw fixing member 21, the back closing member 18 of the closing member 9 is placed on the partition plate 17 and the side panel. Fix to 2.
  • the operator installs the outside air temperature sensor 20 on the upper part of the heat exchanger 10.
  • the operator brings the side closing member 19 of the closing member 9 into contact with the back closing member 18 and slides the side closing member 19 from above to below on the back closing member 18, so that the side closing member 19 Is fitted to the back closing member 18.
  • the operator attaches the side closing member 19 to the back closing member 18 and places it on the heat exchanger 10.
  • the installation order of the closing member 9 and the outside air temperature sensor 20 is an example, and the installation order of the closing member 9 and the outside air temperature sensor 20 is not limited to the above order.
  • the operator may fit the side closing member 19 and the back closing member 18 before installing the closing member 9 in the heat exchanger 10.
  • the top surface panel receiving portion 27 of the closing member 9 is provided with a top surface portion 27a at a portion that comes into contact with the top surface panel 3.
  • the top surface portion 27a provided on the back closing member 18 and the side closing member 19 of the closing member 9 becomes the top surface panel 3 in the housing 50. Facing each other.
  • the back closing member 18 and the side closing member 19 of the closing member 9 are sandwiched and held by the top panel 3 and the heat exchanger 10 in the vertical direction (Z-axis direction).
  • the blower 5 is driven in order to improve the efficiency of heat exchange between the refrigerant flowing in the heat exchanger 10 and the outdoor air.
  • the blower 5 creates a negative pressure between the heat exchanger 10 and the propeller fan 5b, and introduces outside air into the housing 50 from the back surface side and the side surface side of the housing 50.
  • the blower 5 discharges the air that has been introduced into the housing 50 and has undergone heat exchange from the air outlet 8 formed on the front side (Y1 side) of the housing 50 toward the outside of the housing 50. Let me.
  • the suction air flows into the housing 50 of the outdoor unit 100 through the back opening 7 and the side opening 1a.
  • the sucked air that has flowed into the housing 50 flows between the fins 10a of the heat exchanger 10 to exchange heat with the refrigerant flowing inside the heat transfer tube 10c.
  • the outdoor unit 100 of the air conditioner is arranged inside the rear opening 7 and the side opening 1a, which are the suction ports 51, and is arranged between the heat exchanger 10 and the top panel 3 of the housing 50. It has a closing member 9 that forms a wall between the heat exchanger 10 and the top panel 3 to prevent air from passing into the housing 50. The closing member 9 is placed on the heat exchanger 10 and is in contact with the top panel 3.
  • the height of the housing is restricted by the component configuration of the machine room, etc., and if the height of the housing and the height of the heat exchanger are different, the heat exchanger and the housing Since a space is formed between the heat exchanger and the top panel, it becomes difficult to efficiently exchange heat in the heat exchanger.
  • the outdoor unit 100 since the outdoor unit 100 has the closing member 9, it is possible to prevent the formation of a space between the heat exchanger 10 and the top panel 3. Since the outdoor unit 100 has a closing member 9 arranged between the heat exchanger 10 and the top panel 3 of the housing 50, the height of the heat exchanger 10 is adjusted according to the required heat exchange amount. It can be lower than the height of the housing 50.
  • the outdoor unit 100 needs to increase the height of the heat exchanger 10 according to the height of the housing 50. It is possible to suppress the difference between the required amount of heat exchange and the amount of heat exchange that can be exchanged. Further, the outdoor unit 100 uses a closing member 9 forming a wall between the heat exchanger 10 and the top panel 3 with respect to the heat exchanger 10 capable of exchanging the required heat exchange amount. Therefore, the outdoor unit 100 suppresses the component cost as compared with the heat exchanger 10 capable of exchanging the required heat exchange amount, as compared with using the heat exchanger 10 raised to the same height as the height of the housing 50. be able to.
  • the back closing member 18 is located between the back lower wall portion 18b in contact with the heat exchanger 10, the back upper wall portion 18a facing the top panel 3, and the back lower wall portion 18b and the back upper wall portion 18a. It also has a back side wall portion 18e arranged inside the back opening 7 which is a suction port 51.
  • the back closing member 18 is a back right end wall portion 18c and a back left end wall portion 18d located at both ends of the back lower wall portion 18b, the back upper wall portion 18a and the back side wall portion 18e in the stacking direction of the plurality of fins 10a. Has. Therefore, the strength of the back closing member 18 can be ensured, and by arranging the back closing member 18 between the heat exchanger 10 and the top panel 3, the housing in the vertical direction (Z-axis direction) The strength of the body 50 can be secured.
  • the side closing member 19 is located between the side lower wall portion 19b that contacts the heat exchanger 10, the side upper wall portion 19a that faces the top panel 3, and the side lower wall portion 19b and the side surface upper wall portion 19a. It also has a side wall portion 19e arranged inside the side opening 1a which is a suction port 51. Further, the side closing member 19 is a side rear end wall portion 19c and a side front end wall portion located at both ends of the side lower wall portion 19b, the side upper wall portion 19a and the side side wall portion 19e in the stacking direction of the plurality of fins 10a. Has 19d.
  • the strength of the side closing member 19 can be ensured, and the side closing member 19 is arranged between the heat exchanger 10 and the top panel 3, so that the housing in the vertical direction (Z-axis direction) can be secured.
  • the strength of the body 50 can be secured.
  • the back lower wall portion 18b and the side lower wall portion 19b have a holding portion 23 that comes into contact with the heat exchanger 10 from the thickness direction of the heat exchanger 10 and sandwiches the heat exchanger 10.
  • the closing member 9 is stably supported by the heat exchanger 10 because the holding portion 23 suppresses the movement in the horizontal direction and the closing member 9 is suppressed from falling.
  • the pressing portion 23 has a positional deviation suppressing rib 23b that fits between the plurality of fins 10a.
  • the heat exchanger 10 is configured by stacking a plurality of fins 10a in the left-right direction (X-axis direction).
  • the rear closing member 18 is arranged so as to be accommodated between the fins 10a and the fins 10a, so that the back closing member 18 is displaced in the left-right direction (X-axis direction) with respect to the heat exchanger 10. There is no. Therefore, the back closing member 18 is held at a position positioned with respect to the heat exchanger 10.
  • the heat exchanger 10 formed in an L shape is configured by laminating a plurality of fins 10a in the front-rear direction (Y-axis direction).
  • the misalignment suppressing rib 23b of the side closing member 19 is arranged so as to be accommodated between the fins 10a, so that the side closing member 19 is displaced in the front-rear direction (Y-axis direction) with respect to the heat exchanger 10. There is no. Therefore, the side closing member 19 is held at a position positioned with respect to the heat exchanger 10.
  • the back lower wall portion 18b and the side lower wall portion 19b have a press-fit portion 24 that is press-fitted into the edges of the plurality of fins 10a.
  • the back closing member 18 and the side closing member 19 are press-fitted into the heat exchanger 10, so that the top panel 3 is attached to the back closing member 18 and the side closing member 19, and the back closing member 18 is attached.
  • the side closing member 19 is press-fitted and held in the heat exchanger 10. Therefore, in the outdoor unit 100, there is no gap between the back closing member 18 and the side closing member 19 and the heat exchanger 10.
  • the back upper wall portion 18a and the side upper wall portion 19a are in contact with the top panel 3 and project from the back upper wall portion 18a and the side upper wall portion 19a to receive the load from the top panel 3 side. It has 27. Therefore, the outdoor unit 100 can suppress the deformation of the top panel 3 even when a load is applied to the top panel 3 due to stacking of the outdoor units 100 or the like.
  • the top panel receiving portion 27 has a top surface portion 27a that faces the inner wall surface of the top surface panel 3 and is formed in a shape along the inner wall surface of the top surface panel 3.
  • the top surface portion 27a of the top surface panel receiving portion 27 is formed in a shape along the inner wall of the top surface panel 3. Therefore, in the outdoor unit 100, the top surface portion 27a of the closing member 9 supports the top surface panel 3 from below even when a stacking load is applied from the upper side of the top surface panel 3 to the outdoor unit 100 during storage in a warehouse or the like. Deformation of the top panel 3 can be prevented.
  • a screw fixing member 21 screwed to the partition plate 17 and the side panel 2 of the housing 50 is attached to the rear right end wall portion 18c via the rear right end wall portion 18c. Therefore, the closing member 9 is stably supported on the heat exchanger 10 because the partition plate 17 and the housing 50 suppress the movement in the horizontal and vertical directions and prevent the closing member 9 from tipping over.
  • the right end wall portion 18c on the back surface is formed with an L-shaped hook portion 18c7 that is hooked on the upper end portion of the heat exchanger 10. Therefore, when the operator places the closing member 19 on the heat exchanger 10, the closing member 9 can be easily positioned with respect to the heat exchanger 10.
  • the closing member 9 is formed in a groove shape on the back lower wall portion 18b and the side lower wall portion 19b, and has a sensor mounting portion 25 in which the outside air temperature sensor 20 is housed. Therefore, in the outdoor unit 100, even if the outside air temperature sensor 20 is attached to the heat exchanger 10, the closing member 9 can be placed on the heat exchanger 10.
  • the back upper wall portion 18a and the side upper wall portion 19a have a lead wire guide portion 26 in which the lead wire 20a of the outside air temperature sensor 20 is arranged and regulates the path of the lead wire 20a. Therefore, the outdoor unit 100 can prevent the generation of sound due to the contact between the air passing through the heat exchanger 10 and the lead wire 20a. Further, the outdoor unit 100 can avoid contact between the blower 5 and the lead wire 20a.
  • the closing member 9 is formed in the same shape as the heat exchanger 10 when viewed in the direction perpendicular to the base 4 of the housing 50 in which the heat exchanger 10 is arranged. It is arranged so as to cover the upper surface. Therefore, the outdoor unit 100 can prevent the formation of a space between the heat exchanger 10 and the top panel 3 by having the closing member 9. As a result, even if the height of the housing 50 is restricted by the component configuration of the machine room 32 or the like, the outdoor unit 100 needs to increase the height of the heat exchanger 10 according to the height of the housing 50. It is possible to suppress the difference between the required amount of heat exchange and the amount of heat exchange that can be exchanged. Further, in the outdoor unit 100, the strength of the housing 50 in the vertical direction (Z-axis direction) can be ensured by arranging the closing member 9 between the heat exchanger 10 and the top panel 3.
  • the outdoor unit 100 is formed into an L-shaped heat exchanger 10 when viewed perpendicular to the base 4 and an L-shape when viewed perpendicularly to the base 4. It has a closing member 9. Therefore, the outdoor unit 100 can prevent the formation of a space between the heat exchanger 10 and the top panel 3 by having the closing member 9. As a result, even if the height of the housing 50 is restricted by the component configuration of the machine room 32 or the like, the outdoor unit 100 needs to increase the height of the heat exchanger 10 according to the height of the housing 50. It is possible to suppress the difference between the required amount of heat exchange and the amount of heat exchange that can be exchanged. Further, in the outdoor unit 100, the strength of the housing 50 in the vertical direction (Z-axis direction) can be ensured by arranging the closing member 9 between the heat exchanger 10 and the top panel 3.
  • the closing member 9 has a back closing member 18 arranged on the back side of the housing 50 and a side closing member 19 arranged on the side surface side of the housing 50. Therefore, the outdoor unit 100 can prevent the formation of a space between the heat exchanger 10 and the top panel 3 by having the closing member 9. As a result, even if the height of the housing 50 is restricted by the component configuration of the machine room 32 or the like, the outdoor unit 100 needs to increase the height of the heat exchanger 10 according to the height of the housing 50. It is possible to suppress the difference between the required amount of heat exchange and the amount of heat exchange that can be exchanged. Further, in the outdoor unit 100, the strength of the housing 50 in the vertical direction (Z-axis direction) can be ensured by arranging the closing member 9 between the heat exchanger 10 and the top panel 3.
  • the back closing member 18 is arranged inside the back opening 7 which is a suction port 51 formed on the back panel on the back side of the housing 50. Further, the side closing member 19 is arranged inside the side opening 1a which is a suction port 51 formed in the side panel on the side of the housing 50. Therefore, the outdoor unit 100 can allow the air flowing into the housing 50 from the suction port 51 to pass through the heat exchanger 10. As a result, the outdoor unit 100 can efficiently exchange heat in the heat exchanger 10 as compared with the outdoor unit which does not have the closing member 9 and forms a space between the top panel and the heat exchanger. ..
  • the back closing member 18 and the side closing member 19 are formed separately, and the back closing member 18 and the side closing member 19 are fitted and connected to each other at the engaging portion 22. There is. Therefore, the outdoor unit 100 is installed after the back closing member 18 and the side closing member 19 are integrated, or only the back closing member 18 is installed first, or the like, the closing member 9 is attached to the heat exchanger 10. The form of installation can be freely determined.
  • FIG. 34 is a perspective view of the assembled state of the closing member 9A of the outdoor unit 100A according to the second embodiment.
  • FIG. 35 is a perspective view of the closing member 9A of the outdoor unit 100A according to the second embodiment in an unfolded state.
  • the parts having the same configuration as the outdoor unit 100 of FIGS. 1 to 33 are designated by the same reference numerals, and the description thereof will be omitted.
  • the outdoor unit 100 according to the second embodiment has a different structure of the closing member 9.
  • the differences from the outdoor unit 100 will be mainly described, and the configurations other than the differences may be omitted in FIGS. 34 and 35, and the description thereof will be omitted. ..
  • the outdoor unit 100 according to the first embodiment has a closing member 9 composed of two parts, a back closing member 18 and a side closing member 19.
  • the outdoor unit 100 according to the second embodiment has a closing member 9A in which the back closing member 18 and the side closing member 19 are integrally formed.
  • the closing member 9A is configured as an integral part in which the back closing member 18 and the side closing member 19 are integrally formed.
  • the closing member 9A is configured by connecting the back closing member 18 and the side closing member 19 with a hinge portion 29a and bending the hinge portion 29a.
  • the hinge portion 29a is connected to the back closing member 18 and the side closing member 19, and is integrally formed with the back closing member 18 and the side closing member 19.
  • the hinge portion 29a is made of the same material as the back closing member 18 and the side closing member 19, and is made of, for example, a thin plate-shaped resin. That is, in the closing member 9A, the back closing member 18 and the side closing member 19 are integrally formed, and the back closing member 18 and the side closing member 19 are hinges formed in a foldable thin plate shape. It is connected via a part 29a.
  • the back closing member 18 and the side closing member 19 are integrally formed, and the back closing member 18 and the side closing member 19 are formed into a foldable thin plate-shaped hinge portion 29a. It is connected through. Since the back closing member 18 and the side closing member 19 are integrally formed in the closing member 9A, the operator can omit the work of fitting the back closing member 18 and the side closing member 19. Therefore, the outdoor unit 100A can improve the efficiency of the assembly work.
  • the configuration shown in the above-described embodiment shows an example of the content of the present invention, can be combined with another known technique, and is one of the configurations without departing from the gist of the present invention. It is also possible to omit or change the part.

Landscapes

  • Engineering & Computer Science (AREA)
  • Chemical & Material Sciences (AREA)
  • Combustion & Propulsion (AREA)
  • Mechanical Engineering (AREA)
  • General Engineering & Computer Science (AREA)
  • Other Air-Conditioning Systems (AREA)

Abstract

This outdoor unit for an air conditioner comprises: a case that has formed therein an intake opening into which air flows; a heat exchanger disposed inside the intake opening, the heat exchanger having a plurality of fins disposed so as to be spaced apart from each other; and a blocking member that, in the case, is disposed inside the intake opening, that is disposed between the heat exchanger and a top panel of the case, and that forms a wall between the heat exchanger and the top panel to prevent the passage of air into the case. The blocking member is installed on the heat exchanger and abuts the top panel.

Description

空気調和機の室外機Outdoor unit of air conditioner

 本発明は、空気調和機の室外機に関するものである。 The present invention relates to an outdoor unit of an air conditioner.

 従来、空気調和機の室外機は、室外機の外郭を構成する筐体と、筐体の内部に配置された熱交換器とを有する。そして、従来の空気調和機の室外機は、組み立てられた状態では、筐体と熱交換器とがほぼ同じ高さに構成されており、熱交換器の上側が天面パネル等で覆われている(例えば、特許文献1参照)。 Conventionally, the outdoor unit of an air conditioner has a housing that constitutes the outer shell of the outdoor unit and a heat exchanger that is arranged inside the housing. In the assembled outdoor unit of a conventional air conditioner, the housing and the heat exchanger are configured at almost the same height, and the upper side of the heat exchanger is covered with a top panel or the like. (See, for example, Patent Document 1).

特開2001-065926号公報Japanese Unexamined Patent Publication No. 2001-06592

 従来の空気調和機の室外機は、熱交換器の高さと筐体の高さとが相関する関係にある。例えば、従来の空気調和機の室外機は、必要とされる熱交換量に対して熱交換できる熱交換量に余剰がある場合には、熱交換器の高さを低くすると共に、熱交換器の高さに合わせた高さの低い筐体の室外機を適用している。また逆に、従来の空気調和機の室外機は、必要とされる熱交換量に対して熱交換できる熱交換量に不足がある場合には、熱交換器の高さを高くすると共に、熱交換器の高さに合わせた高さの高い筐体の室外機を適用している。 The outdoor unit of a conventional air conditioner has a correlation between the height of the heat exchanger and the height of the housing. For example, the outdoor unit of a conventional air conditioner lowers the height of the heat exchanger and heat exchanger when there is a surplus in the amount of heat exchange that can be exchanged with respect to the required amount of heat exchange. An outdoor unit with a low housing that matches the height of the heat is applied. On the contrary, the outdoor unit of the conventional air exchanger raises the height of the heat exchanger and heats when the amount of heat exchange that can be exchanged is insufficient for the required amount of heat exchange. An outdoor unit with a high housing that matches the height of the exchanger is applied.

 しかし、従来の空気調和機の室外機は、必要とされる熱交換量に対して熱交換量に余剰がある場合でも、圧縮機あるいは冷媒配管等が配置された機械室の部品構成によって、筐体の高さを低く抑えることができない場合がある。このような場合、従来の空気調和機の室外機は、必要とされる熱交換量に対して熱交換量に余剰があるにもかかわらず、必要な熱交換量を熱交換できる熱交換器と比較して熱交換量の余剰がある高さの高い熱交換器を筐体の高さに合わせて使用している。そのため、筐体の高さに合わせて熱交換器の高さが制約されるこのような熱交換器を備えた空気調和機の室外機は、必要とされる熱交換量と、熱交換できる熱交換量との間に差が生じ効率が悪くなる。 However, in the outdoor unit of a conventional air conditioner, even if there is a surplus in the heat exchange amount with respect to the required heat exchange amount, the housing depends on the component configuration of the machine room in which the compressor, the refrigerant pipe, etc. are arranged. It may not be possible to keep the height of the body low. In such a case, the outdoor unit of the conventional air conditioner is a heat exchanger that can exchange the required heat exchange amount even though the heat exchange amount is surplus with respect to the required heat exchange amount. In comparison, a high heat exchanger with a surplus heat exchange amount is used according to the height of the housing. Therefore, the height of the heat exchanger is restricted according to the height of the housing. Therefore, the outdoor unit of the air exchanger equipped with such a heat exchanger has the required amount of heat exchange and the heat that can be exchanged. There will be a difference between the exchange amount and the efficiency.

 本発明は、上記のような課題を解決するものであり、機械室の部品構成等によって筐体の高さに制約がある空気調和機の室外機であっても必要とされる熱交換量と、熱交換できる熱交換量との間の差が抑制される空気調和機の室外機を提供するものである。 The present invention solves the above-mentioned problems, and the amount of heat exchange required even for an outdoor unit of an air conditioner whose housing height is restricted by the component configuration of the machine room and the like. Provided is an outdoor unit of an air conditioner in which the difference between the amount of heat exchanged and the amount of heat exchanged is suppressed.

 本発明の空気調和機の室外機は、空気が流入する吸込口が形成された筐体と、互いに間隔を空けて配置された複数のフィンを有し、吸込口の内部に配置された熱交換器と、筐体内において、吸込口の内部に配置されると共に、熱交換器と筐体の天面パネルとの間に配置されており、熱交換器と天面パネルとの間の壁を構成して筐体内への空気の通過を防ぐ塞ぎ部材と、を有し、塞ぎ部材は、熱交換器に載置されていると共に天面パネルと当接しているものである。 The outdoor unit of the air conditioner of the present invention has a housing in which a suction port through which air flows is formed and a plurality of fins arranged at intervals from each other, and heat exchange is arranged inside the suction port. It is arranged inside the suction port inside the container and the housing, and is also arranged between the heat exchanger and the top panel of the housing, and constitutes a wall between the heat exchanger and the top panel. It has a closing member that prevents the passage of air into the housing, and the closing member is placed on the heat exchanger and is in contact with the top panel.

 本発明の空気調和機の室外機は、筐体内において、吸込口の内部に配置されると共に、熱交換器と筐体の天面パネルとの間に配置されており、熱交換器と天面パネルとの間の壁を構成して筐体内への空気の通過を防ぐ塞ぎ部材を有し、塞ぎ部材は、熱交換器に載置されていると共に天面パネルと当接しているものである。室外機は、熱交換器と筐体の天面パネルとの間に配置される塞ぎ部材を有するため、必要とされる熱交換量に応じて熱交換器の高さを筐体の高さよりも低くすることができる。その結果、室外機は、機械室の部品構成等によって筐体の高さに制約があっても、筐体の高さに合わせて熱交換器の高さを高くする必要がなく、必要とされる熱交換量と、熱交換できる熱交換量との間の差を抑制することができる。 The outdoor unit of the air conditioner of the present invention is arranged inside the suction port in the housing and between the heat exchanger and the top panel of the housing, and is arranged between the heat exchanger and the top surface. It has a closing member that forms a wall between the panel and prevents the passage of air into the housing, and the closing member is mounted on a heat exchanger and is in contact with the top panel. .. Since the outdoor unit has a closing member arranged between the heat exchanger and the top panel of the housing, the height of the heat exchanger is set higher than the height of the housing according to the required amount of heat exchange. Can be lowered. As a result, the outdoor unit is required because it is not necessary to increase the height of the heat exchanger according to the height of the housing even if the height of the housing is restricted due to the component configuration of the machine room or the like. It is possible to suppress the difference between the amount of heat exchanged and the amount of heat exchanged.

実施の形態1に係る室外機の正面側斜視図である。It is a front side perspective view of the outdoor unit which concerns on Embodiment 1. FIG. 実施の形態1に係る室外機の背面側斜視図である。It is a rear side perspective view of the outdoor unit which concerns on Embodiment 1. FIG. 実施の形態1に係る室外機の背面図である。It is a rear view of the outdoor unit which concerns on Embodiment 1. FIG. 実施の形態1に係る室外機の一部を分解した分解斜視図である。FIG. 5 is an exploded perspective view of a part of the outdoor unit according to the first embodiment. 実施の形態1に係る室外機の内部の斜視図である。It is a perspective view of the inside of the outdoor unit which concerns on Embodiment 1. FIG. 実施の形態1に係る室外機の天面パネルを取り外した上面図である。It is the top view which removed the top panel of the outdoor unit which concerns on Embodiment 1. FIG. 実施の形態1に係る室外機の塞ぎ部材の分解斜視図である。It is an exploded perspective view of the closing member of the outdoor unit which concerns on Embodiment 1. FIG. 図7に示す背面塞ぎ部材のA部の拡大図である。It is an enlarged view of the part A of the back closing member shown in FIG. 7. 実施の形態1に係る塞ぎ部材を背面側から見た斜視図である。It is a perspective view which looked at the closing member which concerns on Embodiment 1 from the back side. 図9に示す塞ぎ部材を構成する背面塞ぎ部材と側面塞ぎ部材との分解斜視図である。It is an exploded perspective view of the back closing member and the side closing member constituting the closing member shown in FIG. 実施の形態1に係る室外機の筐体内において仕切板に対向する側の側面塞ぎ部材の斜視図である。FIG. 5 is a perspective view of a side closing member on the side facing the partition plate in the housing of the outdoor unit according to the first embodiment. 図9に示すC部における背面塞ぎ部材と側面塞ぎ部材との接続状態を示す断面図である。It is sectional drawing which shows the connection state of the back closing member and the side closing member in part C shown in FIG. 図9に示すD部における背面塞ぎ部材と側面塞ぎ部材との接続状態を示す断面図である。9 is a cross-sectional view showing a connection state between the back closing member and the side closing member in the D portion shown in FIG. 背面塞ぎ部材の前面側の上部の拡大斜視図である。It is an enlarged perspective view of the upper part on the front side of the back closing member. 背面塞ぎ部材の背面側の上部の拡大斜視図である。It is an enlarged perspective view of the upper part on the back side of the back closing member. 側面塞ぎ部材の前面側の上部の拡大斜視図である。It is an enlarged perspective view of the upper part on the front side of a side closing member. 側面塞ぎ部材の背面側の上部の拡大斜視図である。It is an enlarged perspective view of the upper part on the back side of a side closing member. 塞ぎ部材の前面側の上部の拡大斜視図である。It is an enlarged perspective view of the upper part on the front side of a closing member. 塞ぎ部材の背面側の上部の拡大斜視図である。It is an enlarged perspective view of the upper part on the back side of a closing member. 図7に示す背面塞ぎ部材を下側から見た斜視図である。FIG. 7 is a perspective view of the back closing member shown in FIG. 7 as viewed from below. 図20に示す押え部の拡大斜視図である。It is an enlarged perspective view of the holding part shown in FIG. 図3に示すE-E線位置の背面塞ぎ部材の概略断面図である。FIG. 3 is a schematic cross-sectional view of the back closing member at the position of line EE shown in FIG. 図3に示すF-F線位置の背面塞ぎ部材の概略断面図である。FIG. 3 is a schematic cross-sectional view of the back closing member at the position of the FF line shown in FIG. 図20に示す白抜き矢印Gの方向から見た背面塞ぎ部材を構成する背面下壁部の底面図である。It is a bottom view of the back lower wall portion constituting the back closing member seen from the direction of the white arrow G shown in FIG. 実施の形態1に係る室外機の塞ぎ部材を前面下方側から見た斜視図である。It is a perspective view which looked at the closing member of the outdoor unit which concerns on Embodiment 1 from the front lower side. 実施の形態1に係る室外機の塞ぎ部材を前面側方側から見た斜視図である。It is a perspective view which looked at the closing member of the outdoor unit which concerns on Embodiment 1 from the front side side. 実施の形態1に係る室外機の熱交換器の上に配置した外気温度センサの取り付け状態を示す拡大図である。It is an enlarged view which shows the mounting state of the outside air temperature sensor arranged on the heat exchanger of the outdoor unit which concerns on Embodiment 1. FIG. 実施の形態1に係る室外機の塞ぎ部材に設けられたリード線ガイドの斜視図である。It is a perspective view of the lead wire guide provided in the closing member of the outdoor unit which concerns on Embodiment 1. FIG. 図28に示すリード線ガイドの側面図である。It is a side view of the lead wire guide shown in FIG. 28. 図3に示すF-F線位置の室外機の概略断面図である。FIG. 3 is a schematic cross-sectional view of the outdoor unit at the position shown in FIG. 図30に示すH部における背面側塞ぎ部材と天面パネルとの関係を示す拡大図である。It is an enlarged view which shows the relationship between the back side closing member and the top surface panel in H part shown in FIG. 実施の形態1に係る室外機の、背面塞ぎ部材の熱交換器への取り付け状態を示す拡大図である。FIG. 5 is an enlarged view showing a state in which the rear closing member of the outdoor unit according to the first embodiment is attached to the heat exchanger. 実施の形態1に係る室外機における塞ぎ部材及び熱交換器の取り付け状態を示す拡大図である。FIG. 5 is an enlarged view showing an attached state of a closing member and a heat exchanger in the outdoor unit according to the first embodiment. 実施の形態2に係る室外機の塞ぎ部材の組立状態の斜視図である。It is a perspective view of the assembled state of the closing member of the outdoor unit which concerns on Embodiment 2. FIG. 実施の形態2に係る室外機の塞ぎ部材の展開状態の斜視図である。It is a perspective view of the expanded state of the closing member of the outdoor unit which concerns on Embodiment 2. FIG.

 以下、各実施の形態に係る空気調和機の室外機100について、図面を用いて詳細に説明する。なお、以下の図面では各構成部材の大きさの関係が実際のものとは異なる場合がある。また、以下の図面において、同一の符号を付したものは、同一又はこれに相当するものであり、このことは明細書の全文において共通することとする。さらに、明細書全文に表わされている構成要素の形態は、あくまでも例示であって、これらの記載に限定されるものではない。また、理解を容易にするために方向あるいは位置を表す用語(例えば「上」、「下」、「右」、「左」、「前」及び「後」等)を適宜用いる。しかし、これらの表記は、説明の便宜上、そのように記載しているだけであって、装置あるいは部品の配置及び向きを限定するものではない。 Hereinafter, the outdoor unit 100 of the air conditioner according to each embodiment will be described in detail with reference to the drawings. In the drawings below, the size relationship of each component may differ from the actual one. Further, in the following drawings, those having the same reference numerals are the same or equivalent thereof, and this shall be common to the entire text of the specification. Furthermore, the forms of the components represented in the full text of the specification are merely examples, and are not limited to these descriptions. In addition, terms indicating a direction or position (for example, "upper", "lower", "right", "left", "front", "rear", etc.) are appropriately used for ease of understanding. However, these notations are merely described as such for convenience of explanation, and do not limit the arrangement and orientation of the device or component.

実施の形態1.
[室外機100の構成]
 図1は、実施の形態1に係る室外機100の正面側斜視図である。図2は、実施の形態1に係る室外機100の背面側斜視図である。図3は、実施の形態1に係る室外機100の背面図である。図1~図3を用いて、空気調和機の室外機100について説明する。図1を含む以下の図面に示すX軸は、室外機100の左右方向を示し、Y軸は室外機100の前後方向を示し、Z軸は室外機100の上下方向を示すものである。より詳細には、室外機100を正面から見たときX1側を左側、X2側を右側、Y軸においてY1側を前側、Y2側を後側、Z軸においてZ1側を上側、Z2側を下側として室外機100を説明する。なお、室外機100を正面から見たときとは、筐体50内を流れる空気の流れ方向において、筐体50から空気が吹き出される下流側から室外機100を見た場合の状態をいう。また、明細書中における各構成部材同士の位置関係(例えば、上下関係等)は、原則として、室外機100を使用可能な状態に設置したときのものである。
Embodiment 1.
[Configuration of outdoor unit 100]
FIG. 1 is a front perspective view of the outdoor unit 100 according to the first embodiment. FIG. 2 is a rear perspective view of the outdoor unit 100 according to the first embodiment. FIG. 3 is a rear view of the outdoor unit 100 according to the first embodiment. The outdoor unit 100 of the air conditioner will be described with reference to FIGS. 1 to 3. The X-axis shown in the following drawings including FIG. 1 indicates the left-right direction of the outdoor unit 100, the Y-axis indicates the front-rear direction of the outdoor unit 100, and the Z-axis indicates the vertical direction of the outdoor unit 100. More specifically, when the outdoor unit 100 is viewed from the front, the X1 side is the left side, the X2 side is the right side, the Y1 side is the front side on the Y axis, the Y2 side is the rear side, the Z1 side is the upper side on the Z axis, and the Z2 side is the lower side. The outdoor unit 100 will be described as the side. The term when the outdoor unit 100 is viewed from the front means a state in which the outdoor unit 100 is viewed from the downstream side where air is blown from the housing 50 in the flow direction of the air flowing in the housing 50. In addition, the positional relationship between the constituent members (for example, the vertical relationship, etc.) in the specification is, in principle, the one when the outdoor unit 100 is installed in a usable state.

[室外機100の外郭]
 室外機100は、図1に示すように、略直方体状に構成された筐体50を有する。室外機100の筐体50は、板金製であり、室外機100の外郭を構成する。筐体50には、空気が流入する吸込口51である背面開口部7及び側面開口部1aが形成されている。室外機100の筐体50は、外郭パネル1と、側面パネル2と、天面パネル3と、ベース4とを有する。外郭パネル1及び側面パネル2の上部にはフランジが設けられており、このフランジに天面パネル3が取り付けられる。同様に、ベース4にもフランジが設けられており、このフランジに外郭パネル1及び側面パネル2がボルト等により固定され、外郭パネル1及び側面パネル2は、ベース4上に組み付けられる。
[Outer shell of outdoor unit 100]
As shown in FIG. 1, the outdoor unit 100 has a housing 50 configured in a substantially rectangular parallelepiped shape. The housing 50 of the outdoor unit 100 is made of sheet metal and constitutes the outer shell of the outdoor unit 100. The housing 50 is formed with a back opening 7 and a side opening 1a, which are suction ports 51 through which air flows. The housing 50 of the outdoor unit 100 has an outer panel 1, a side panel 2, a top panel 3, and a base 4. A flange is provided on the upper part of the outer panel 1 and the side panel 2, and the top panel 3 is attached to the flange. Similarly, the base 4 is also provided with a flange, and the outer panel 1 and the side panel 2 are fixed to the flange by bolts or the like, and the outer panel 1 and the side panel 2 are assembled on the base 4.

 外郭パネル1は、板金パネルである。外郭パネル1は、正面部11と側面部12と背面部13とが一体に形成されている。正面部11は、筐体50の前面側の側壁部を構成し、側面部12は、筐体50の側面側の側壁部を構成し、背面部13は、筐体50の背面側の側壁部の一部を構成する。外郭パネル1は、横長の正面部11と、縦長の側面部12とによって、室外機100の上方、すなわち天面パネル3の配置側から見てL字形状となるように折り曲げられて形成されている。なお、外郭パネル1は、正面部11と側面部12とが一体に形成されているが、外郭パネル1は当該構成に限定されるものではなく、外郭パネル1は、正面部11と側面部12とを別体として、複数の板金パネルで構成してもよい。 The outer panel 1 is a sheet metal panel. In the outer panel 1, the front surface portion 11, the side surface portion 12, and the back surface portion 13 are integrally formed. The front surface portion 11 constitutes a side wall portion on the front side of the housing 50, the side surface portion 12 constitutes the side wall portion on the side surface side of the housing 50, and the back surface portion 13 constitutes the side wall portion on the back surface side of the housing 50. Make up a part of. The outer panel 1 is formed by being bent by a horizontally long front portion 11 and a vertically long side surface portion 12 so as to have an L shape when viewed from above the outdoor unit 100, that is, from the arrangement side of the top panel 3. There is. In the outer panel 1, the front surface portion 11 and the side surface portion 12 are integrally formed, but the outer shell panel 1 is not limited to this configuration, and the outer shell panel 1 has the front surface portion 11 and the side surface portion 12. It may be composed of a plurality of sheet metal panels separately from the above.

 正面部11は、空気が吹き出される側の筐体50の側壁を構成する。正面部11には、円形状の吹出口8が形成されている。送風機5によって、後述する背面開口部7及び側面開口部1aから筐体50内に吸い込まれた空気は、吹出口8から筐体50の外に吹き出される。また、外郭パネル1の正面部11には、吹出口8を覆って後述する送風機5のプロペラファン5bを保護するファンガード6が取り付けられている。 The front portion 11 constitutes a side wall of the housing 50 on the side where air is blown out. A circular outlet 8 is formed on the front surface portion 11. The air sucked into the housing 50 from the back opening 7 and the side opening 1a, which will be described later, by the blower 5 is blown out of the housing 50 from the air outlet 8. Further, a fan guard 6 is attached to the front portion 11 of the outer panel 1 to cover the air outlet 8 and protect the propeller fan 5b of the blower 5 described later.

 側面部12は、筐体50の前後方向(Y軸方向)に延びる側壁を構成する。図2に示すように、側面部12には、側面開口部1aが形成されている。側面開口部1aは、室外空気を室外機100の内部に取り込むための空気の吸込口51である。側面開口部1aは、側面部12において、上下方向に複数形成されている。なお、側面部12に形成される側面開口部1aは、1つでもよく、複数でもよい。側面開口部1aは、筐体50に形成された空気の吸込口51であり、送風機5の作動によって、筐体50の外部から内部に空気が流入する。側面部12は、熱交換器10を間において、後述する仕切板17と対向する位置に配置され、仕切板17とは反対側に位置する、送風機室31の側面側の壁部を構成している。 The side surface portion 12 constitutes a side wall extending in the front-rear direction (Y-axis direction) of the housing 50. As shown in FIG. 2, a side surface opening 1a is formed in the side surface portion 12. The side opening 1a is an air suction port 51 for taking in outdoor air into the outdoor unit 100. A plurality of side opening portions 1a are formed in the side surface portion 12 in the vertical direction. The side opening 1a formed in the side surface 12 may be one or a plurality. The side opening 1a is an air suction port 51 formed in the housing 50, and air flows from the outside to the inside of the housing 50 by the operation of the blower 5. The side surface portion 12 is arranged at a position facing the partition plate 17 described later with the heat exchanger 10 in between, and constitutes a wall portion on the side surface side of the blower chamber 31 located on the opposite side of the partition plate 17. There is.

 背面部13は、筐体50の背面側の一部を構成し、熱交換器10の背面側の一部を覆う。背面部13は、筐体50の前後方向(Y軸方向)において、正面部11の一部と対向する位置に配置される。外郭パネル1は、上述したように正面部11と側面部12と背面部13とが一体に形成されている。外郭パネル1は、側面部12と背面部13とによって、室外機100の上方、すなわち天面パネル3の配置側から見てL字形状となるように折り曲げられて形成されている。そして、背面部13は、側面部12から熱交換器10の背面側の一部を覆う位置まで延びるように形成されている。なお、外郭パネル1は、側面部12と背面部13とが折り曲げられて一体に形成されているが、外郭パネル1は、当該構成に限定されるものではなく、側面部12と背面部13とを別体として、複数の板金パネルで構成してもよい。 The back surface portion 13 constitutes a part of the back surface side of the housing 50 and covers a part of the back surface side of the heat exchanger 10. The back surface portion 13 is arranged at a position facing a part of the front surface portion 11 in the front-rear direction (Y-axis direction) of the housing 50. As described above, the outer panel 1 is integrally formed with the front surface portion 11, the side surface portion 12, and the back surface portion 13. The outer panel 1 is formed by being bent by the side surface portion 12 and the back surface portion 13 so as to have an L shape when viewed from above the outdoor unit 100, that is, from the arrangement side of the top panel 3. The back surface portion 13 is formed so as to extend from the side surface portion 12 to a position that covers a part of the back surface side of the heat exchanger 10. The outer panel 1 is formed integrally by bending the side surface portion 12 and the back surface portion 13, but the outer shell panel 1 is not limited to the configuration, and the side surface portion 12 and the back surface portion 13 are together. May be composed of a plurality of sheet metal panels.

 背面部13が、筐体50の背面側の一部を構成し、熱交換器10の一部を覆うことで、筐体50の背面側には熱交換器10を露出するための背面開口部7が形成されている。より詳細には、背面開口部7は、背面部13、天面パネル3、側面パネル2及びベース4のそれぞれの縁部によって形成されている。背面開口部7は、筐体50に形成された空気の吸込口51であり、送風機5の作動によって、背面開口部7を介して筐体50の外部から内部に空気が流入する。 The back surface portion 13 constitutes a part of the back surface side of the housing 50 and covers a part of the heat exchanger 10, so that the back surface opening portion for exposing the heat exchanger 10 is exposed on the back surface side of the housing 50. 7 is formed. More specifically, the back opening 7 is formed by the edges of the back 13, top panel 3, side panel 2 and base 4. The back opening 7 is an air suction port 51 formed in the housing 50, and by the operation of the blower 5, air flows from the outside to the inside of the housing 50 through the back opening 7.

 側面パネル2は、天面パネル3の配置側から見てL字形状となるように折り曲げられた板金パネルである。側面パネル2は、側面部12に対面する縦長の第2側面部2aと、正面部11の一部と対面する第2背面部2bとを有している。第2側面部2aは、筐体50の側面側の側壁部を構成し、第2背面部2bは、筐体50の背面側の側壁部の一部を構成する。第2背面部2bは、背面部13と共に筐体50の背面側の側壁部を構成する。なお、筐体50は、第2背面部2bと背面部13とが別体で構成されているが、第2背面部2bと背面部13とが一体に形成されて筐体50の背面側の側壁部が構成されてもよい。 The side panel 2 is a sheet metal panel that is bent so as to have an L shape when viewed from the arrangement side of the top panel 3. The side panel 2 has a vertically long second side surface portion 2a facing the side surface portion 12 and a second back surface portion 2b facing a part of the front surface portion 11. The second side surface portion 2a constitutes a side wall portion on the side surface side of the housing 50, and the second back surface portion 2b constitutes a part of the side wall portion on the back surface side of the housing 50. The second back surface portion 2b and the back surface portion 13 form a side wall portion on the back surface side of the housing 50. In the housing 50, the second back surface portion 2b and the back surface portion 13 are separately formed, but the second back surface portion 2b and the back surface portion 13 are integrally formed on the back surface side of the housing 50. A side wall portion may be configured.

 第2側面部2aには、外部電源と接続したプラグ及び冷媒配管を、内部に引き込むための複数の開口部が形成されている(図示は省略)。また、側面パネル2は、第2側面部2aと第2背面部2bとが一体に形成されているが、側面パネル2は当該構成に限定されるものではなく、第2側面部2aと第2背面部2bとを別体として、複数の板金パネルで構成されてもよい。 The second side surface portion 2a is formed with a plurality of openings for drawing the plug and the refrigerant pipe connected to the external power supply into the inside (not shown). Further, in the side panel 2, the second side surface portion 2a and the second back surface portion 2b are integrally formed, but the side surface panel 2 is not limited to the configuration, and the second side surface portion 2a and the second side surface portion 2a are formed. A plurality of sheet metal panels may be formed separately from the back surface portion 2b.

 天面パネル3は、筐体50の天板を構成し、室外機100の上部を覆う板金パネルである。天面パネル3は、外郭パネル1及び側面パネル2の上縁部に取り付けられている。 The top panel 3 is a sheet metal panel that constitutes the top plate of the housing 50 and covers the upper part of the outdoor unit 100. The top panel 3 is attached to the upper edge of the outer panel 1 and the side panel 2.

 ベース4は、筐体50において天面パネル3と対向し、筐体50の底板を構成する。ベース4には、外郭パネル1及び側面パネル2が取り付けられ、ベース4の下面部には、複数の脚部4aが設けられている。脚部4aは、室外機100を設置場所に固定するための土台となる。 The base 4 faces the top panel 3 in the housing 50 and constitutes the bottom plate of the housing 50. An outer panel 1 and a side panel 2 are attached to the base 4, and a plurality of legs 4a are provided on the lower surface of the base 4. The leg portion 4a serves as a base for fixing the outdoor unit 100 to the installation location.

[室外機100の内部構成]
 図4は、実施の形態1に係る室外機100の一部を分解した分解斜視図である。図5は、実施の形態1に係る室外機100の内部の斜視図である。図6は、実施の形態1に係る室外機100の天面パネル3を取り外した上面図である。なお、図4及び図6では、塞ぎ部材9の構成を明確にするために、送風機5あるいは圧縮機15等の一部の構成部品の図示を省略している。次に、図4~図6を用いて、空気調和機の室外機100の内部構成について説明する。室外機100は、筐体50の内部に、仕切板17と、熱交換器10と、送風機5と、モータ支持部材14と、圧縮機15と、外気温度センサ20と、塞ぎ部材9とを有する。
[Internal configuration of outdoor unit 100]
FIG. 4 is an exploded perspective view of a part of the outdoor unit 100 according to the first embodiment. FIG. 5 is a perspective view of the inside of the outdoor unit 100 according to the first embodiment. FIG. 6 is a top view of the outdoor unit 100 according to the first embodiment with the top panel 3 removed. In addition, in FIG. 4 and FIG. 6, in order to clarify the configuration of the closing member 9, some components such as the blower 5 and the compressor 15 are not shown. Next, the internal configuration of the outdoor unit 100 of the air conditioner will be described with reference to FIGS. 4 to 6. The outdoor unit 100 has a partition plate 17, a heat exchanger 10, a blower 5, a motor support member 14, a compressor 15, an outside air temperature sensor 20, and a closing member 9 inside the housing 50. ..

(仕切板17)
 仕切板17は、筐体50の内部に設けられ、室外機100の筐体50内の空間を、送風機室31と機械室32とに隔てる仕切壁である。仕切板17は、板状の部材であり、例えば、板金等を折曲して形成されている。仕切板17は、筐体50内においてベース4上に配置され、ベース4から上方向(Z軸方向)に延びるように設けられていると共に、ベース4の前後方向(Y軸方向)に延びるように設けられている。仕切板17には、電気品箱(図示は省略)が取り付けられる。
(Partition plate 17)
The partition plate 17 is provided inside the housing 50, and is a partition wall that separates the space inside the housing 50 of the outdoor unit 100 into the blower room 31 and the machine room 32. The partition plate 17 is a plate-shaped member, and is formed by bending a sheet metal or the like, for example. The partition plate 17 is arranged on the base 4 in the housing 50, is provided so as to extend upward (Z-axis direction) from the base 4, and extends in the front-rear direction (Y-axis direction) of the base 4. It is provided in. An electric component box (not shown) is attached to the partition plate 17.

 送風機室31は、外郭パネル1、天面パネル3、ベース4及び仕切板17によって取り囲まれた空間である。送風機室31は、室外機100の外部から背面開口部7及び側面開口部1a等の吸込口51を介して室外空気を取り込み、室外機100の内部の空気を吹出口8を介して室外機100の外部へ排出できるように構成されている。機械室32は、外郭パネル1の正面部11、側面パネル2、天面パネル3、ベース4、及び仕切板17によって取り囲まれた空間であり、室外機100の外部からの塵埃又は水の侵入を回避できる構造となっている。筐体50内の送風機室31側の空間には、熱交換器10と、熱交換器10に対向するように配置された送風機5とが収納されており、筐体50内の機械室32側の空間には、圧縮機15及び冷媒配管16が収納されている。この熱交換器10及び圧縮機15は、ベース4上に設置されている。また冷媒配管16は、冷凍サイクル回路を構成する構成要素を接続する。 The blower room 31 is a space surrounded by an outer panel 1, a top panel 3, a base 4, and a partition plate 17. The blower room 31 takes in outdoor air from the outside of the outdoor unit 100 through the suction port 51 such as the rear opening 7 and the side opening 1a, and blows the air inside the outdoor unit 100 through the air outlet 8 to the outdoor unit 100. It is configured so that it can be discharged to the outside of. The machine room 32 is a space surrounded by the front portion 11, the side panel 2, the top panel 3, the base 4, and the partition plate 17 of the outer panel 1, and allows dust or water from entering from the outside of the outdoor unit 100. It has a structure that can be avoided. The heat exchanger 10 and the blower 5 arranged so as to face the heat exchanger 10 are housed in the space on the blower room 31 side in the housing 50, and the machine room 32 side in the housing 50. The compressor 15 and the refrigerant pipe 16 are housed in the space of. The heat exchanger 10 and the compressor 15 are installed on the base 4. Further, the refrigerant pipe 16 connects the components constituting the refrigeration cycle circuit.

(熱交換器10)
 熱交換器10は、内部を流れる冷媒と外気との熱交換を行うものであって、暖房運転時には蒸発器として機能し、冷房運転時には凝縮器として機能する。熱交換器10は、側面領域10eと背面領域10fと曲面領域10gとを有し、ベース4に対して垂直方向に見た場合に、側面領域10eと背面領域10fと曲面領域10gとによってL字形状に形成されている。
(Heat exchanger 10)
The heat exchanger 10 exchanges heat between the refrigerant flowing inside and the outside air, and functions as an evaporator during the heating operation and as a condenser during the cooling operation. The heat exchanger 10 has a side surface region 10e, a back surface region 10f, and a curved surface region 10g, and when viewed in a direction perpendicular to the base 4, the side surface region 10e, the back surface region 10f, and the curved surface region 10g form an L shape. It is formed in a shape.

 熱交換器10は、筐体50と送風機5との間に配置されている。また、熱交換器10は、図2に示すように、室外機100の内部において背面領域10fが背面開口部7に面して配置されており、背面領域10fが背面開口部7を介して外部に露出している。また、熱交換器10は、図2に示すように、室外機100の内部において側面領域10eが側面開口部1aに面して配置されており、側面領域10eが側面開口部1aを介して外部に露出している。すなわち、熱交換器10は、吸込口51の内部に配置されており、吸込口51を介して外部に露出した状態で筐体50内に配置されている。なお、図1~図6では、熱交換器10がL字状に形成された場合について例示しているが、熱交換器10は、ベース4に対して垂直方向に見た場合に、両端に曲面領域10g及び側面領域10eを備えたU字状に形成されたものでもよい。あるいは、熱交換器10は、背面領域10fのみで構成され、ベース4に対して垂直方向に見た場合に、筐体50の長手方向(X軸方向)に延びるように設けられたI字状に形成されたものでもよい。 The heat exchanger 10 is arranged between the housing 50 and the blower 5. Further, as shown in FIG. 2, in the heat exchanger 10, the back area 10f is arranged inside the outdoor unit 100 so as to face the back opening 7, and the back area 10f is external via the back opening 7. Is exposed to. Further, as shown in FIG. 2, in the heat exchanger 10, a side surface region 10e is arranged inside the outdoor unit 100 so as to face the side surface opening 1a, and the side surface region 10e is external via the side surface opening 1a. Is exposed to. That is, the heat exchanger 10 is arranged inside the suction port 51, and is arranged inside the housing 50 in a state of being exposed to the outside through the suction port 51. Although FIGS. 1 to 6 illustrate the case where the heat exchanger 10 is formed in an L shape, the heat exchanger 10 is provided at both ends when viewed in the direction perpendicular to the base 4. It may be formed in a U shape having a curved surface region 10g and a side surface region 10e. Alternatively, the heat exchanger 10 is composed of only the back surface region 10f, and is provided so as to extend in the longitudinal direction (X-axis direction) of the housing 50 when viewed in the direction perpendicular to the base 4. It may be formed in.

 熱交換器10は、例えば、フィンアンドチューブ型熱交換器として構成でき、図4に示すように、冷媒を通過させる複数の伝熱管10cと、伝熱管10cを流れる冷媒と外気との間の伝熱面積を大きくするための複数のフィン10aとを備えている。熱交換器10は、互いに間隔を空けて配置された短冊状の複数のフィン10aが背面開口部7及び側面開口部1aと直角をなして水平方向に並列して配置されている。伝熱管10cは、複数のフィン10aを貫いている。この伝熱管10cを冷媒が通り、伝熱管10c内を通る冷媒が放熱し、もしくは、伝熱管10c内を通る冷媒が吸熱することで、空気調和機の冷房運転もしくは暖房運転が実施される。 The heat exchanger 10 can be configured as, for example, a fin-and-tube heat exchanger, and as shown in FIG. 4, a plurality of heat transfer tubes 10c through which the refrigerant passes, and transfer between the refrigerant flowing through the heat transfer tubes 10c and the outside air. It is provided with a plurality of fins 10a for increasing the heat area. In the heat exchanger 10, a plurality of strip-shaped fins 10a arranged at intervals from each other are arranged in parallel in the horizontal direction at right angles to the back opening 7 and the side opening 1a. The heat transfer tube 10c penetrates a plurality of fins 10a. The refrigerant passes through the heat transfer tube 10c, the refrigerant passing through the heat transfer tube 10c dissipates heat, or the refrigerant passing through the heat transfer tube 10c absorbs heat, so that the air conditioner is cooled or heated.

(送風機5)
 送風機5は、筐体50の内部に配置され、側面開口部1a及び背面開口部7を通過し、筐体50内を通過する空気の流れを形成する。送風機5は、図5に示すように、モータ5aとプロペラファン5bとを備えた送風手段であり、熱交換器10における熱交換を効率的に行うための空気循環を生成する。送風機5は、図5に示すように、筐体50内において、熱交換器10を構成する背面領域10fの前方(Y1側)に配置されている。また、送風機5は、図5に示すように、筐体50内において、熱交換器10を構成する側面領域10eの側方(X2側)に配置されている。送風機5は、モータ5aがモータ支持部材14に取り付けられることでモータ支持部材14に固定される。送風機5は、熱交換器10とプロペラファン5bとの間を負圧にして、筐体50の背面側(Y2側)から筐体50の内部に外気を導入し、室外機100の内部に導入された外気を室外機100の前面側(Y1側)から筐体50外に向かって排出する。また、送風機5は、熱交換器10とプロペラファン5bとの間を負圧にして、筐体50の側面側(X1側)から筐体50の内部に外気を導入し、室外機100の内部に導入された外気を室外機100の前面側(Y1側)から筐体50外に向かって排出する。
(Blower 5)
The blower 5 is arranged inside the housing 50, passes through the side opening 1a and the back opening 7, and forms a flow of air passing through the housing 50. As shown in FIG. 5, the blower 5 is a blower means including a motor 5a and a propeller fan 5b, and generates an air circulation for efficiently performing heat exchange in the heat exchanger 10. As shown in FIG. 5, the blower 5 is arranged in the housing 50 in front of (Y1 side) the back surface region 10f constituting the heat exchanger 10. Further, as shown in FIG. 5, the blower 5 is arranged on the side (X2 side) of the side surface region 10e constituting the heat exchanger 10 in the housing 50. The blower 5 is fixed to the motor support member 14 by attaching the motor 5a to the motor support member 14. The blower 5 creates a negative pressure between the heat exchanger 10 and the propeller fan 5b, introduces outside air from the back side (Y2 side) of the housing 50 into the housing 50, and introduces the outside air into the outdoor unit 100. The generated outside air is discharged from the front side (Y1 side) of the outdoor unit 100 toward the outside of the housing 50. Further, the blower 5 creates a negative pressure between the heat exchanger 10 and the propeller fan 5b, introduces outside air from the side surface side (X1 side) of the housing 50 into the housing 50, and introduces outside air into the housing 50 inside the outdoor unit 100. The outside air introduced into the outdoor unit 100 is discharged from the front side (Y1 side) of the outdoor unit 100 toward the outside of the housing 50.

(モータ支持部材14)
 モータ支持部材14は、筐体50の内部において、ベース4と天面パネル3との間で上下方向(Z軸方向)に延びるように設けられた柱状の部材である。モータ支持部材14は、ネジ締結等によってベース4に固定されている。モータ支持部材14は、上下方向(Z軸方向)の略中央部分に送風機5のモータ5aが支持されて固定されている。
(Motor support member 14)
The motor support member 14 is a columnar member provided inside the housing 50 so as to extend in the vertical direction (Z-axis direction) between the base 4 and the top panel 3. The motor support member 14 is fixed to the base 4 by fastening screws or the like. The motor 5a of the blower 5 is supported and fixed to the substantially central portion of the motor support member 14 in the vertical direction (Z-axis direction).

(圧縮機15)
 圧縮機15は、低温低圧の状態の冷媒を吸入し、吸入した冷媒を圧縮して高温高圧の状態の冷媒にして吐出する機器である。圧縮機15は、例えば、ロータリー式、スクロール式又はベーン式等の圧縮機である。圧縮機15は、例えば容量を制御できるインバータを備えた圧縮機でもよい。
(Compressor 15)
The compressor 15 is a device that sucks in a refrigerant in a low temperature and low pressure state, compresses the sucked refrigerant into a refrigerant in a high temperature and high pressure state, and discharges the refrigerant. The compressor 15 is, for example, a rotary type, scroll type or vane type compressor. The compressor 15 may be, for example, a compressor provided with an inverter capable of controlling the capacity.

(外気温度センサ20)
 外気温度センサ20は、室外の周囲温度を検出する装置である。外気温度センサ20は、例えば、サーミスタ等で構成するとよい。外気温度センサ20は、熱交換器10に載置されており、曲面領域10gの上部に配置されている。曲面領域10gは、熱交換器10においてL状に曲げられた部分である。なお、外気温度センサ20は、必ずしも必要な構成要素ではない。室外機100は、外気温度センサ20を備えていることが望ましいが、外気温度センサ20を備えていなくてもよい。
(Outside air temperature sensor 20)
The outside air temperature sensor 20 is a device that detects the outdoor ambient temperature. The outside air temperature sensor 20 may be composed of, for example, a thermistor or the like. The outside air temperature sensor 20 is mounted on the heat exchanger 10 and is arranged above the curved surface region 10 g. The curved surface region 10g is a portion bent into an L shape in the heat exchanger 10. The outside air temperature sensor 20 is not necessarily a necessary component. The outdoor unit 100 preferably includes the outside air temperature sensor 20, but does not have to include the outside air temperature sensor 20.

(塞ぎ部材9)
 塞ぎ部材9は、熱交換器10と、筐体50の天面パネル3との間の空間を埋める部材である。塞ぎ部材9は、筐体50内において、吸込口51の内部に配置されている。そして、塞ぎ部材9は、筐体50内において、吸込口51である背面開口部7及び側面開口部1aを介して外部に露出した状態で熱交換器10と筐体50の天面パネル3との間に配置されており、熱交換器10と天面パネル3との間の壁を構成して筐体50内への空気の通過を防ぐものである。塞ぎ部材9は、筐体50内において、熱交換器10と天面パネル3との間に側壁を構成する。塞ぎ部材9は、筐体50の左右方向(X軸方向)と、筐体50の前後方向(Y軸方向)とに延びる側壁を構成する。塞ぎ部材9によって形成される側壁は、室外機100の背面側と、機械室32とは反対側の側面側とに配置されている。塞ぎ部材9は、図4~図6に示すように、熱交換器10の上方に配置されている。より詳細には、塞ぎ部材9は、熱交換器10の上に載置されている。塞ぎ部材9は、熱交換器10の上に配置され、モータ支持部材14によって押さえつけられるように固定されている。室外機100は、塞ぎ部材9を介して、熱交換器10と天面パネル3とが接続されている。塞ぎ部材9は、熱交換器10に載置されていると共に天面パネル3と当接して配置されている。
(Closing member 9)
The closing member 9 is a member that fills the space between the heat exchanger 10 and the top panel 3 of the housing 50. The closing member 9 is arranged inside the suction port 51 in the housing 50. Then, the closing member 9 is exposed to the outside through the back opening 7 and the side opening 1a which are the suction ports 51 in the housing 50, and the heat exchanger 10 and the top panel 3 of the housing 50 are exposed to each other. It is arranged between the two, and forms a wall between the heat exchanger 10 and the top panel 3 to prevent air from passing into the housing 50. The closing member 9 forms a side wall between the heat exchanger 10 and the top panel 3 in the housing 50. The closing member 9 constitutes a side wall extending in the left-right direction (X-axis direction) of the housing 50 and the front-rear direction (Y-axis direction) of the housing 50. The side walls formed by the closing member 9 are arranged on the back side of the outdoor unit 100 and on the side surface side opposite to the machine room 32. The closing member 9 is arranged above the heat exchanger 10 as shown in FIGS. 4 to 6. More specifically, the closing member 9 is placed on the heat exchanger 10. The closing member 9 is arranged on the heat exchanger 10 and fixed so as to be pressed by the motor support member 14. In the outdoor unit 100, the heat exchanger 10 and the top panel 3 are connected to each other via a closing member 9. The closing member 9 is placed on the heat exchanger 10 and is arranged in contact with the top panel 3.

 塞ぎ部材9は、図2に示すように、室外機100の背面側から見ると、背面開口部7を介して外部に露出しており、背面開口部7の一部を塞ぐように配置されている。すなわち、塞ぎ部材9は、筐体50内において、吸込口51である背面開口部7の内部に配置されている。同様に、塞ぎ部材9は、室外機100の側面側から見ると、複数設けられた側面開口部1aの内、一部の側面開口部1aを介して外部に露出しており、一部の側面開口部1aを塞ぐように配置されている。すなわち、複数設けられた側面開口部1aの総称として側面開口部1aの用語を用いた場合には、塞ぎ部材9は、側面開口部1aを介して外部に露出しており、側面開口部1aの一部を塞ぐように配置されている。塞ぎ部材9は、筐体50内において、吸込口51である側面開口部1aの内部に配置されている。 As shown in FIG. 2, the closing member 9 is exposed to the outside through the back opening 7 when viewed from the back side of the outdoor unit 100, and is arranged so as to close a part of the back opening 7. There is. That is, the closing member 9 is arranged inside the back opening 7 which is the suction port 51 in the housing 50. Similarly, when viewed from the side surface side of the outdoor unit 100, the closing member 9 is exposed to the outside through a part of the side surface openings 1a among the plurality of side surface openings 1a, and a part of the side surfaces. It is arranged so as to close the opening 1a. That is, when the term of the side opening 1a is used as a general term for the plurality of side opening 1a, the closing member 9 is exposed to the outside through the side opening 1a, and the side opening 1a It is arranged so as to block a part. The closing member 9 is arranged inside the side opening 1a, which is the suction port 51, in the housing 50.

 塞ぎ部材9の主たる素材は、樹脂である。樹脂は、例えば、PP(ポリプロピレン)、ABS(アクリルニトリル、ブタジエン、スチレン)であるが、これらの樹脂に限定されるものではない。また、塞ぎ部材9の主たる素材は、樹脂に限定されるものではない。塞ぎ部材9は、例えば、金属等、他の素材で形成されてもよい。 The main material of the closing member 9 is resin. The resin is, for example, PP (polypropylene) or ABS (acrylonitrile, butadiene, styrene), but is not limited to these resins. Further, the main material of the closing member 9 is not limited to resin. The closing member 9 may be made of another material such as metal.

 塞ぎ部材9は、図3~図6に示すように、ベース4に対して垂直方向に見た場合に、L字形状となるように形成されている。塞ぎ部材9は、上述したように、熱交換器10と、筐体50の天面パネル3との間の空間を埋める部材である。そのため、天面パネル3の配置側から見た塞ぎ部材9の形状は、天面パネル3の配置側から見た熱交換器10の形状に沿った形状に形成されている。したがって、例えば、天面パネル3の配置側から見た熱交換器10の形状が長手方向(X軸方向)に延びるI字形状であれば、天面パネル3の配置側から見た塞ぎ部材9の形状も長手方向(X軸方向)に延びるI字形状である。あるいは、天面パネル3の配置側から見た熱交換器10の形状がU字形状であれば、天面パネル3の配置側から見た塞ぎ部材9の形状もU字形状である。塞ぎ部材9は、熱交換器10が配置される筐体50のベース4に対して垂直方向に見た場合に、熱交換器10の形状と同じ形状に形成されており、熱交換器10の上面部を覆うように配置されている。 As shown in FIGS. 3 to 6, the closing member 9 is formed so as to have an L shape when viewed in the direction perpendicular to the base 4. As described above, the closing member 9 is a member that fills the space between the heat exchanger 10 and the top panel 3 of the housing 50. Therefore, the shape of the closing member 9 seen from the arrangement side of the top panel 3 is formed to follow the shape of the heat exchanger 10 seen from the arrangement side of the top panel 3. Therefore, for example, if the shape of the heat exchanger 10 seen from the arrangement side of the top panel 3 is an I-shape extending in the longitudinal direction (X-axis direction), the closing member 9 seen from the arrangement side of the top panel 3 The shape of is also an I shape extending in the longitudinal direction (X-axis direction). Alternatively, if the shape of the heat exchanger 10 seen from the arrangement side of the top panel 3 is U-shaped, the shape of the closing member 9 seen from the arrangement side of the top panel 3 is also U-shaped. The closing member 9 is formed in the same shape as the heat exchanger 10 when viewed in the direction perpendicular to the base 4 of the housing 50 in which the heat exchanger 10 is arranged. It is arranged so as to cover the upper surface.

 室外機100の長手方向(X軸方向)及び短手方向(Y軸方向)における塞ぎ部材9の大きさは、室外機100の長手方向(X軸方向)及び短手方向(Y軸方向)における熱交換器10の大きさとほぼ同じ大きさである。塞ぎ部材9の上下方向(Z軸方向)の大きさは、熱交換器10と筐体50の天面パネル3との間の空間を埋める大きさに形成される。したがって、塞ぎ部材9の上下方向(Z軸方向)の大きさは、熱交換器10と筐体50の天面パネル3との間の距離によって特定される。 The size of the closing member 9 in the longitudinal direction (X-axis direction) and the lateral direction (Y-axis direction) of the outdoor unit 100 is the size in the longitudinal direction (X-axis direction) and the lateral direction (Y-axis direction) of the outdoor unit 100. It is almost the same size as the heat exchanger 10. The size of the closing member 9 in the vertical direction (Z-axis direction) is formed so as to fill the space between the heat exchanger 10 and the top panel 3 of the housing 50. Therefore, the size of the closing member 9 in the vertical direction (Z-axis direction) is specified by the distance between the heat exchanger 10 and the top panel 3 of the housing 50.

 図7は、実施の形態1に係る室外機100の塞ぎ部材9の分解斜視図である。塞ぎ部材9は、背面塞ぎ部材18と側面塞ぎ部材19とを有する。また、塞ぎ部材9は、ネジ固定部材21を有する。背面塞ぎ部材18は、熱交換器10を構成する背面領域10fと、曲面領域10gとの上に載置される。側面塞ぎ部材19は、熱交換器10を構成する側面領域10eと、曲面領域10gとの上に載置される。ネジ固定部材21は、背面塞ぎ部材18に取り付けられる。
(背面塞ぎ部材18)
FIG. 7 is an exploded perspective view of the closing member 9 of the outdoor unit 100 according to the first embodiment. The closing member 9 has a back closing member 18 and a side closing member 19. Further, the closing member 9 has a screw fixing member 21. The back closing member 18 is placed on the back region 10f and the curved surface region 10g constituting the heat exchanger 10. The side closing member 19 is placed on the side surface region 10e and the curved surface region 10g constituting the heat exchanger 10. The screw fixing member 21 is attached to the back closing member 18.
(Back closing member 18)

 背面塞ぎ部材18は、熱交換器10の背面領域10f及び曲面領域10gと、筐体50の天面パネル3との間の空間を埋める部材である。背面塞ぎ部材18は、筐体50内において、背面領域10f及び曲面領域10gと、天面パネル3との間に側壁を構成する。背面塞ぎ部材18は、筐体50の左右方向(X軸方向)に延びる側壁を構成する。背面塞ぎ部材18によって形成される側壁は、室外機100の背面側に配置されている。背面塞ぎ部材18は、熱交換器10の背面領域10f上に配置され、モータ支持部材14によって押さえつけられるように固定されている。室外機100は、背面塞ぎ部材18を介して、熱交換器10と天面パネル3とが接続されている。背面塞ぎ部材18は、熱交換器10の上端部と、天面パネル3の下面部とに当接して配置される。 The back closing member 18 is a member that fills the space between the back region 10f and the curved surface region 10g of the heat exchanger 10 and the top panel 3 of the housing 50. The back closing member 18 forms a side wall between the back surface region 10f and the curved surface region 10g and the top panel 3 in the housing 50. The back closing member 18 constitutes a side wall extending in the left-right direction (X-axis direction) of the housing 50. The side wall formed by the back closing member 18 is arranged on the back side of the outdoor unit 100. The back closing member 18 is arranged on the back region 10f of the heat exchanger 10 and is fixed so as to be pressed by the motor support member 14. In the outdoor unit 100, the heat exchanger 10 and the top panel 3 are connected to each other via the back closing member 18. The back closing member 18 is arranged in contact with the upper end portion of the heat exchanger 10 and the lower surface portion of the top panel 3.

 背面塞ぎ部材18は、室外機100の背面側から見ると、吸込口51である背面開口部7を介して外部に露出した状態で配置されており、背面開口部7の一部を塞ぐように配置されている。すなわち、背面塞ぎ部材18は、筐体50内において、吸込口51である背面開口部7の内部に配置されている。 When viewed from the back side of the outdoor unit 100, the back closing member 18 is arranged so as to be exposed to the outside through the back opening 7 which is the suction port 51, and closes a part of the back opening 7. Have been placed. That is, the back closing member 18 is arranged inside the back opening 7 which is the suction port 51 in the housing 50.

 背面塞ぎ部材18は、背面上壁部18aと、背面下壁部18bと、背面右端壁部18cと、背面左端壁部18dと、背面側壁部18eと、を有し、筐体50の背面側(Y2側)に配置される。 The back closing member 18 has a back upper wall portion 18a, a back lower wall portion 18b, a back right end wall portion 18c, a back left end wall portion 18d, and a back side wall portion 18e, and has a back side wall portion 18e. It is arranged on (Y2 side).

 背面上壁部18aは、背面塞ぎ部材18の上側の壁を構成し、筐体50内において天面パネル3と対向する。背面下壁部18bは、背面塞ぎ部材18の下側の壁を構成し、筐体50内において熱交換器10の背面領域10fと対向し、熱交換器10と当接する。背面右端壁部18cは、背面塞ぎ部材18の右側の壁を構成し、筐体50内の左右方向(X軸方向)において、機械室32側の側壁を構成する。すなわち、背面右端壁部18cは、熱交換器10を構成する複数のフィン10aの積層方向において機械室32側に位置している。背面左端壁部18dは、背面塞ぎ部材18の左側の壁を構成し、筐体50内の左右方向(X軸方向)において、送風機室31側の側壁を構成する。背面右端壁部18c及び背面左端壁部18dは、熱交換器10を構成する複数のフィン10aの積層方向において、背面下壁部18b、背面上壁部18a及び背面側壁部18eの両端部に位置している。背面側壁部18eは、背面塞ぎ部材18の後側の壁を構成し、筐体50内の前後方向(Y軸方向)において、背面開口部7側の側壁を構成する。背面側壁部18eは、筐体50内において、筐体50の背面開口部7の一部を塞ぐ。背面側壁部18eは、背面下壁部18bと背面上壁部18aとの間に位置し、吸込口51である背面開口部7を介して外部に露出した状態で筐体50内に配置される。すなわち、背面側壁部18eは、筐体50内において、吸込口51である背面開口部7の内部に配置されている。 The back upper wall portion 18a constitutes the upper wall of the back closing member 18, and faces the top panel 3 in the housing 50. The back lower wall portion 18b constitutes the lower wall of the back closing member 18, faces the back region 10f of the heat exchanger 10 in the housing 50, and comes into contact with the heat exchanger 10. The back right end wall portion 18c constitutes the right wall of the back closing member 18, and constitutes the side wall on the machine room 32 side in the left-right direction (X-axis direction) in the housing 50. That is, the rear right end wall portion 18c is located on the machine room 32 side in the stacking direction of the plurality of fins 10a constituting the heat exchanger 10. The back left end wall portion 18d constitutes the left wall of the back closing member 18, and constitutes a side wall on the blower chamber 31 side in the left-right direction (X-axis direction) in the housing 50. The back right end wall portion 18c and the back left end wall portion 18d are located at both ends of the back lower wall portion 18b, the back upper wall portion 18a, and the back side wall portion 18e in the stacking direction of the plurality of fins 10a constituting the heat exchanger 10. doing. The back side wall portion 18e constitutes a wall on the rear side of the back closing member 18, and constitutes a side wall on the back opening 7 side in the front-rear direction (Y-axis direction) in the housing 50. The back side wall portion 18e closes a part of the back opening 7 of the housing 50 in the housing 50. The back side wall portion 18e is located between the back lower wall portion 18b and the back upper wall portion 18a, and is arranged in the housing 50 in a state of being exposed to the outside through the back opening portion 7 which is a suction port 51. .. That is, the back side wall portion 18e is arranged inside the back opening portion 7 which is the suction port 51 in the housing 50.

 背面側壁部18eは、左右方向(X軸方向)に延びる略矩形状に形成されており、背面側壁部18eの4辺には、背面上壁部18aと、背面下壁部18bと、背面右端壁部18cと、背面左端壁部18dとが設けられている。すなわち、背面上壁部18aと、背面下壁部18bと、背面右端壁部18cと、背面左端壁部18dとは、背面側壁部18eの4辺を構成する各縁部から筐体50の前側に延びるように設けられている。したがって、背面塞ぎ部材18は、背面上壁部18aと、背面下壁部18bと、背面右端壁部18cと、背面左端壁部18dと、背面側壁部18eとによって、箱状に形成されている。背面塞ぎ部材18は、背面側壁部18eと対向する面側が開口する箱状に形成されている。背面塞ぎ部材18は、背面上壁部18a、背面下壁部18b、背面右端壁部18c及び背面左端壁部18dの各縁部によって開口部18hが形成されている。 The back side wall portion 18e is formed in a substantially rectangular shape extending in the left-right direction (X-axis direction), and the back side wall portion 18e has a back upper wall portion 18a, a back lower wall portion 18b, and a back right end on four sides. A wall portion 18c and a rear left end wall portion 18d are provided. That is, the back upper wall portion 18a, the back lower wall portion 18b, the back right end wall portion 18c, and the back left end wall portion 18d are the front side of the housing 50 from each edge portion constituting the four sides of the back side wall portion 18e. It is provided so as to extend to. Therefore, the back closing member 18 is formed in a box shape by the back upper wall portion 18a, the back lower wall portion 18b, the back right end wall portion 18c, the back left end wall portion 18d, and the back side wall portion 18e. .. The back closing member 18 is formed in a box shape in which the surface side facing the back side wall portion 18e opens. The back closing member 18 has an opening 18h formed by the edges of the back upper wall portion 18a, the back lower wall portion 18b, the back right end wall portion 18c, and the back left end wall portion 18d.

 箱状に形成された背面塞ぎ部材18は、内部に格子状の背面内側リブ18gが形成されている。背面内側リブ18gは、リブ18g1とリブ18g2とを有する。背面内側リブ18gは、リブ18g1とリブ18g2とが交差するように形成されている。リブ18g1は、背面上壁部18aと背面下壁部18bとを接続するように、上下方向(Z軸方向)に延びるように設けられている。リブ18g1は、左右方向(X軸方向)において複数設けられている。各リブ18g1は、背面右端壁部18c及び背面左端壁部18dと平行に設けられている。リブ18g2は、背面右端壁部18cと背面左端壁部18dとを接続するように、左右方向(X軸方向)に延びるように設けられている。リブ18g2は、上下方向(Z軸方向)において複数設けられている。各リブ18g2は、背面上壁部18a及び背面下壁部18bと平行に設けられている。背面塞ぎ部材18は、背面内側リブ18gを有することで強度を確保することができる。そのため、背面塞ぎ部材18は、背面内側リブ18gを有することで、室外機100の段積み等によって天面パネル3に荷重が掛かった場合でも天面パネル3の変形を抑制することができる。なお、背面内側リブ18gの構成は、上記の構成に限定されるものではない。例えば、リブ18g1及びリブ18g2は、背面右端壁部18c及び背面左端壁部18dに対して斜めに形成されてもよい。 The back closing member 18 formed in a box shape has a grid-shaped back inner rib 18 g formed inside. The back inner rib 18g has a rib 18g1 and a rib 18g2. The back inner rib 18g is formed so that the rib 18g1 and the rib 18g2 intersect. The rib 18g1 is provided so as to extend in the vertical direction (Z-axis direction) so as to connect the back upper wall portion 18a and the back lower wall portion 18b. A plurality of ribs 18g1 are provided in the left-right direction (X-axis direction). Each rib 18g1 is provided in parallel with the back right end wall portion 18c and the back left end wall portion 18d. The rib 18g2 is provided so as to extend in the left-right direction (X-axis direction) so as to connect the back right end wall portion 18c and the back left end wall portion 18d. A plurality of ribs 18g2 are provided in the vertical direction (Z-axis direction). Each rib 18g2 is provided in parallel with the back upper wall portion 18a and the back lower wall portion 18b. The strength of the back closing member 18 can be ensured by having the back inner rib 18 g. Therefore, since the back closing member 18 has the back inner rib 18g, deformation of the top panel 3 can be suppressed even when a load is applied to the top panel 3 due to stacking of the outdoor units 100 or the like. The configuration of the back inner rib 18g is not limited to the above configuration. For example, the ribs 18g1 and the ribs 18g2 may be formed obliquely with respect to the back right end wall portion 18c and the back left end wall portion 18d.

 箱状に形成された背面塞ぎ部材18は、内部に更に補強リブ18g3を有する。補強リブ18g3は、背面側壁部18eと背面下壁部18bとを接続する略三角形状のリブである。補強リブ18g3は、左右方向(X軸方向)において複数設けられている。背面塞ぎ部材18は、補強リブ18g3を有することで強度を確保することができる。そのため、背面塞ぎ部材18は、補強リブ18g3を有することで、室外機100の段積み等によって天面パネル3に荷重が掛かった場合でも天面パネル3の変形を抑制することができる。なお、補強リブ18g3の構成は、上記の構成に限定されるものではない。例えば、補強リブ18g3は、背面側壁部18eと背面上壁部18aとに形成されてもよい。 The back closing member 18 formed in a box shape further has a reinforcing rib 18g3 inside. The reinforcing rib 18g3 is a substantially triangular rib that connects the back side wall portion 18e and the back lower wall portion 18b. A plurality of reinforcing ribs 18g3 are provided in the left-right direction (X-axis direction). The strength of the back closing member 18 can be ensured by having the reinforcing ribs 18g3. Therefore, since the back closing member 18 has the reinforcing ribs 18g3, the deformation of the top panel 3 can be suppressed even when a load is applied to the top panel 3 due to the stacking of the outdoor units 100 or the like. The configuration of the reinforcing rib 18g3 is not limited to the above configuration. For example, the reinforcing rib 18g3 may be formed on the back side wall portion 18e and the back surface upper wall portion 18a.

(側面塞ぎ部材19)
 側面塞ぎ部材19は、熱交換器10の側面領域10e及び曲面領域10gと、筐体50の天面パネル3との間の空間を埋める部材である。側面塞ぎ部材19は、筐体50内において、側面領域10e及び曲面領域10gと、天面パネル3との間に側壁を構成する。側面塞ぎ部材19は、筐体50の前後方向(Y軸方向)に延びる側壁を構成する。側面塞ぎ部材19によって形成される側壁は、室外機100の側面側に配置されている。側面塞ぎ部材19は、熱交換器10の側面領域10e上に配置されている。室外機100は、側面塞ぎ部材19を介して、熱交換器10と天面パネル3とが接続されている。側面塞ぎ部材19は、熱交換器10の上端部と、天面パネル3の下面部とに当接して配置される。
(Side closing member 19)
The side closing member 19 is a member that fills the space between the side surface region 10e and the curved surface region 10g of the heat exchanger 10 and the top surface panel 3 of the housing 50. The side closing member 19 forms a side wall between the side surface region 10e and the curved surface region 10g and the top surface panel 3 in the housing 50. The side closing member 19 constitutes a side wall extending in the front-rear direction (Y-axis direction) of the housing 50. The side wall formed by the side closing member 19 is arranged on the side surface side of the outdoor unit 100. The side closing member 19 is arranged on the side area 10e of the heat exchanger 10. In the outdoor unit 100, the heat exchanger 10 and the top panel 3 are connected to each other via a side closing member 19. The side closing member 19 is arranged in contact with the upper end of the heat exchanger 10 and the lower surface of the top panel 3.

 側面塞ぎ部材19は、室外機100の側面側から見ると、吸込口51である複数設けられた側面開口部1aの内、一部の側面開口部1aを介して外部に露出した状態で配置されており、一部の側面開口部1aを塞ぐように配置されている。すなわち、複数設けられた側面開口部1aの総称として側面開口部1aの用語を用いた場合には、側面塞ぎ部材19は、側面開口部1aを介して外部に露出しており、側面開口部1aの一部を塞ぐように配置されている。すなわち、側面塞ぎ部材19は、筐体50内において、吸込口51である側面開口部1aの内部に配置されている。 When viewed from the side surface side of the outdoor unit 100, the side closing member 19 is arranged in a state of being exposed to the outside through a part of the side opening 1a among the plurality of side opening 1a provided as the suction port 51. It is arranged so as to close a part of the side opening 1a. That is, when the term "side opening 1a" is used as a general term for a plurality of side opening 1a, the side closing member 19 is exposed to the outside through the side opening 1a, and the side closing member 19 is exposed to the outside through the side opening 1a. It is arranged so as to block a part of. That is, the side closing member 19 is arranged inside the side opening 1a, which is the suction port 51, in the housing 50.

 側面塞ぎ部材19は、側面上壁部19aと、側面下壁部19bと、側面後端壁部19cと、側面前端壁部19dと、側面側壁部19eと、を有し、筐体50の側面側(X1)に配置される。 The side closing member 19 has a side upper wall portion 19a, a side lower wall portion 19b, a side rear end wall portion 19c, a side front end wall portion 19d, and a side side wall portion 19e, and has a side surface of the housing 50. It is arranged on the side (X1).

 側面上壁部19aは、側面塞ぎ部材19の上側の壁を構成し、筐体50内において天面パネル3と対向する。側面下壁部19bは、側面塞ぎ部材19の下側の壁を構成し、筐体50内において熱交換器10の側面領域10eと対向し、熱交換器10と当接する。側面後端壁部19cは、側面塞ぎ部材19の後側の壁を構成し、筐体50内の前後方向(Y軸方向)において、背面開口部7側の側壁を構成する。側面前端壁部19dは、側面塞ぎ部材19の前側の壁を構成し、筐体50内の前後方向(Y軸方向)において、吹出口8側の側壁を構成する。側面後端壁部19c及び側面前端壁部19dは、熱交換器10を構成する複数のフィン10aの積層方向において、側面下壁部19b、側面上壁部19a及び側面側壁部19eの両端部に位置している。側面側壁部19eは、側面塞ぎ部材19の左側の壁を構成し、筐体50内の左右方向(X軸方向)において、側面開口部1a側の側壁を構成する。側面側壁部19eは、筐体50内において、筐体50の側面開口部1aの一部を塞ぐ。側面側壁部19eは、側面下壁部19bと側面上壁部19aとの間に位置し、吸込口51である側面開口部1aを介して外部に露出した状態で筐体50内に配置される。すなわち、側面側壁部19eは、筐体50内において、吸込口51である側面開口部1aの内部に配置されている。 The side surface upper wall portion 19a constitutes the upper wall of the side surface closing member 19, and faces the top surface panel 3 in the housing 50. The side lower wall portion 19b constitutes the lower wall of the side closing member 19, faces the side area 10e of the heat exchanger 10 in the housing 50, and comes into contact with the heat exchanger 10. The side rear end wall portion 19c constitutes the rear wall of the side closing member 19, and constitutes the side wall on the back opening 7 side in the front-rear direction (Y-axis direction) in the housing 50. The side front end wall portion 19d constitutes the front wall of the side closing member 19, and constitutes the side wall on the air outlet 8 side in the front-rear direction (Y-axis direction) in the housing 50. The side rear end wall portion 19c and the side front end wall portion 19d are attached to both ends of the side lower wall portion 19b, the side upper wall portion 19a, and the side side wall portion 19e in the stacking direction of the plurality of fins 10a constituting the heat exchanger 10. positioned. The side side wall 19e constitutes the left wall of the side closing member 19, and constitutes the side wall on the side opening 1a side in the left-right direction (X-axis direction) in the housing 50. The side side wall portion 19e closes a part of the side opening 1a of the housing 50 in the housing 50. The side side wall portion 19e is located between the side surface lower wall portion 19b and the side surface upper wall portion 19a, and is arranged in the housing 50 in a state of being exposed to the outside through the side side opening 1a which is a suction port 51. .. That is, the side side wall portion 19e is arranged inside the side side opening 1a, which is the suction port 51, in the housing 50.

 側面側壁部19eは、前後方向(Y軸方向)に延びる略矩形状に形成されており、側面側壁部19eの4辺には、側面上壁部19aと、側面下壁部19bと、側面後端壁部19cと、側面前端壁部19dとが設けられている。すなわち、側面上壁部19aと、側面下壁部19bと、側面後端壁部19cと、側面前端壁部19dとは、側面側壁部19eの4辺を構成する各縁部から筐体50の機械室32側である右側に延びるように設けられている。したがって、側面塞ぎ部材19は、側面上壁部19aと、側面下壁部19bと、側面後端壁部19cと、側面前端壁部19dと、側面側壁部19eとによって、箱状に形成されている。側面塞ぎ部材19は、側面側壁部19eと対向する面側である機械室32側が開口する箱状に形成されている。側面塞ぎ部材19は、側面上壁部19a、側面下壁部19b、側面後端壁部19c及び側面前端壁部19dの各縁部によって開口部19hが形成されている。 The side side wall portion 19e is formed in a substantially rectangular shape extending in the front-rear direction (Y-axis direction), and on the four sides of the side side wall portion 19e, a side surface upper wall portion 19a, a side surface lower wall portion 19b, and a side surface rear portion are formed. An end wall portion 19c and a side surface front end wall portion 19d are provided. That is, the side upper wall portion 19a, the side lower wall portion 19b, the side rear end wall portion 19c, and the side front end wall portion 19d are formed from the respective edges forming the four sides of the side side wall portion 19e to form the housing 50. It is provided so as to extend to the right side on the machine room 32 side. Therefore, the side closing member 19 is formed in a box shape by the side upper wall portion 19a, the side lower wall portion 19b, the side rear end wall portion 19c, the side front end wall portion 19d, and the side side wall portion 19e. There is. The side closing member 19 is formed in a box shape in which the machine room 32 side, which is the side facing the side side wall portion 19e, opens. The side closing member 19 has an opening 19h formed by each edge of the side upper wall portion 19a, the side lower wall portion 19b, the side rear end wall portion 19c, and the side front end wall portion 19d.

 箱状に形成された側面塞ぎ部材19は、内部に格子状の側面内側リブ19gが形成されている。側面内側リブ19gは、リブ19g1とリブ19g2とを有する。側面内側リブ19gは、リブ19g1とリブ19g2とが交差するように形成されている。リブ19g1は、側面上壁部19aと側面下壁部19bとを接続するように、上下方向(Z軸方向)に延びるように設けられている。リブ19g1は、前後方向(Y軸方向)において、1つ以上設けられている。リブ19g1は、側面後端壁部19c及び側面前端壁部19dと平行に設けられている。リブ19g2は、側面後端壁部19cと側面前端壁部19dとを接続するように、前後方向(Y軸方向)に延びるように設けられている。リブ19g2は、上下方向(Z軸方向)において複数設けられている。各リブ19g2は、側面上壁部19a及び側面下壁部19bと平行に設けられている。側面塞ぎ部材19は、側面内側リブ19gを有することで強度を確保することができる。そのため、側面塞ぎ部材19は、側面内側リブ19gを有することで、室外機100の段積み等によって天面パネル3に荷重が掛かった場合でも天面パネル3の変形を抑制することができる。 The side closing member 19 formed in a box shape has a grid-shaped side surface inner rib 19g formed inside. The side inner rib 19g has a rib 19g1 and a rib 19g2. The side inner rib 19g is formed so that the rib 19g1 and the rib 19g2 intersect. The rib 19g1 is provided so as to extend in the vertical direction (Z-axis direction) so as to connect the side surface upper wall portion 19a and the side surface lower wall portion 19b. One or more ribs 19g1 are provided in the front-rear direction (Y-axis direction). The rib 19g1 is provided in parallel with the side rear end wall portion 19c and the side front end wall portion 19d. The rib 19g2 is provided so as to extend in the front-rear direction (Y-axis direction) so as to connect the side surface rear end wall portion 19c and the side surface front end wall portion 19d. A plurality of ribs 19g2 are provided in the vertical direction (Z-axis direction). Each rib 19g2 is provided in parallel with the side surface upper wall portion 19a and the side surface lower wall portion 19b. The strength of the side closing member 19 can be ensured by having the side inner ribs 19g. Therefore, since the side closing member 19 has the side inner rib 19g, the deformation of the top panel 3 can be suppressed even when a load is applied to the top panel 3 due to stacking of the outdoor units 100 or the like.

 箱状に形成された側面塞ぎ部材19は、内部に更に補強リブ19g3を有する。補強リブ19g3は、側面側壁部19eと側面下壁部19bとを接続する略三角形状のリブである。補強リブ19g3は、前後方向(y軸方向)において複数設けられている。側面塞ぎ部材19は、補強リブ19g3を有することで強度を確保することができる。そのため、側面塞ぎ部材19は、補強リブ19g3を有することで、室外機100の段積み等によって天面パネル3に荷重が掛かった場合でも天面パネル3の変形を抑制することができる。 The side closing member 19 formed in a box shape further has a reinforcing rib 19g3 inside. The reinforcing rib 19g3 is a substantially triangular rib that connects the side side wall portion 19e and the side surface lower wall portion 19b. A plurality of reinforcing ribs 19g3 are provided in the front-rear direction (y-axis direction). The strength of the side closing member 19 can be ensured by having the reinforcing ribs 19g3. Therefore, since the side closing member 19 has the reinforcing ribs 19g3, the deformation of the top panel 3 can be suppressed even when a load is applied to the top panel 3 due to the stacking of the outdoor units 100 or the like.

(ネジ固定部材21)
 図8は、図7に示す背面塞ぎ部材18のA部の拡大図である。図7及び図8を用いて、ネジ固定部材21について説明する。複数のフィン10aの積層方向において、機械室32側に位置する背面右端壁部18cには、背面右端壁部18cを介して、仕切板17と、筐体50とにネジ固定されるネジ固定部材21が取り付けられている。ネジ固定部材21は、背面塞ぎ部材18と、仕切板17と、側面パネル2とをネジ固定するために用いられる。ネジ固定部材21は、板金によって形成されている。ただし、ネジ固定部材21は板金によって形成されるものに限定されるものではなく、強度を確保できれば樹脂等の成形によって形成されてもよい。あるいは、ネジ固定部材21は、金属又は樹脂等以外の素材で形成されてもよい。ネジ固定部材21は、背面右端壁部18cに沿って上下方向(Z軸方向)に延びるように形成されている。
(Screw fixing member 21)
FIG. 8 is an enlarged view of a portion A of the back closing member 18 shown in FIG. 7. The screw fixing member 21 will be described with reference to FIGS. 7 and 8. In the stacking direction of the plurality of fins 10a, the rear right end wall portion 18c located on the machine room 32 side is screw-fixed to the partition plate 17 and the housing 50 via the rear right end wall portion 18c. 21 is attached. The screw fixing member 21 is used for screw-fixing the back closing member 18, the partition plate 17, and the side panel 2. The screw fixing member 21 is formed of sheet metal. However, the screw fixing member 21 is not limited to the one formed by sheet metal, and may be formed by molding a resin or the like as long as the strength can be secured. Alternatively, the screw fixing member 21 may be made of a material other than metal, resin, or the like. The screw fixing member 21 is formed so as to extend in the vertical direction (Z-axis direction) along the rear right end wall portion 18c.

 ネジ固定部材21は、本体部21aと、固定部21bとを有する。本体部21aと固定部21bとは一体に形成されており、本体部21aと固定部21bとは折り曲げられて形成されている。ただし、本体部21aと固定部21bとは、別体として形成され、それぞれが互いに接続されて形成されてもよい。本体部21aは、板状に形成されている。固定部21bは、板状に形成されており、本体部21aの短手方向(Y軸方向)の両端部に設けられている。固定部21bは、本体部21aの長手方向(Z軸方向)の縁部に沿って設けられている。ネジ固定部材21は、本体部21aと固定部21bとによって、略U字形状の断面をもつように形成されている。 The screw fixing member 21 has a main body portion 21a and a fixing portion 21b. The main body portion 21a and the fixing portion 21b are integrally formed, and the main body portion 21a and the fixing portion 21b are formed by being bent. However, the main body portion 21a and the fixing portion 21b may be formed as separate bodies and may be formed by being connected to each other. The main body 21a is formed in a plate shape. The fixing portions 21b are formed in a plate shape, and are provided at both ends of the main body portion 21a in the lateral direction (Y-axis direction). The fixing portion 21b is provided along the edge portion in the longitudinal direction (Z-axis direction) of the main body portion 21a. The screw fixing member 21 is formed by the main body portion 21a and the fixing portion 21b so as to have a substantially U-shaped cross section.

 固定部21bには、切欠部21cが形成されている。切欠部21cは、固定部21bにおいて、本体部21aとは反対側の先端部に形成されており、切欠部21cは、固定部21bの縁部が、本体部21a側に凹むように形成されている。すなわち、切欠部21cは、固定部21bが本体部21aから延びる方向に向かって開口するように形成されている。また、固定部21bには、背面塞ぎ部材18を介して、仕切板17と側面パネル2とをネジ固定する際に用いられるネジ穴21dが形成されている。 A notch 21c is formed in the fixed portion 21b. The notch 21c is formed at the tip of the fixing portion 21b on the opposite side of the main body 21a, and the notch 21c is formed so that the edge portion of the fixing portion 21b is recessed toward the main body 21a. There is. That is, the notch portion 21c is formed so that the fixing portion 21b opens in the direction extending from the main body portion 21a. Further, the fixing portion 21b is formed with a screw hole 21d used for screw-fixing the partition plate 17 and the side panel 2 via the back closing member 18.

 ここで、図8を用いて、ネジ固定部材21が取り付けられる背面右端壁部18cの構造について更に詳細に説明する。背面右端壁部18cは、固定面部18c1と、背面側板壁部18c2と、前面側板壁部18c3とを有する。固定面部18c1と、背面側板壁部18c2と、前面側板壁部18c3とは一体に形成されている。 Here, the structure of the rear right end wall portion 18c to which the screw fixing member 21 is attached will be described in more detail with reference to FIG. The back right end wall portion 18c has a fixed surface portion 18c1, a back side plate wall portion 18c2, and a front side plate wall portion 18c3. The fixed surface portion 18c1, the back side plate wall portion 18c2, and the front side plate wall portion 18c3 are integrally formed.

 固定面部18c1は、平面状の側壁として形成されている。但し、固定面部18c1は、平面状に形成されている形態に限定されるものではなく、曲面状に形成されてもよく、段差を有してもよい。背面側板壁部18c2及び前面側板壁部18c3は、板状に形成されており、固定面部18c1の短手方向(Y軸方向)の両端部に設けられている。背面側板壁部18c2及び前面側板壁部18c3は、固定面部18c1の長手方向(Z軸方向)の縁部に沿って設けられている。背面側板壁部18c2及び前面側板壁部18c3は、固定面部18c1の縁部から突出するように設けられている。背面側板壁部18c2及び前面側板壁部18c3は、互いに対向するように設けられている。背面右端壁部18cは、固定面部18c1と、背面側板壁部18c2と、前面側板壁部18c3とによって形成される内側面が、平面視で略U字形状となるように形成されている。 The fixed surface portion 18c1 is formed as a flat side wall. However, the fixed surface portion 18c1 is not limited to the form formed in a plane shape, and may be formed in a curved surface shape or may have a step. The back side plate wall portion 18c2 and the front side plate wall portion 18c3 are formed in a plate shape, and are provided at both ends of the fixed surface portion 18c1 in the lateral direction (Y-axis direction). The back side plate wall portion 18c2 and the front side plate wall portion 18c3 are provided along the edge portion of the fixed surface portion 18c1 in the longitudinal direction (Z-axis direction). The back side plate wall portion 18c2 and the front side plate wall portion 18c3 are provided so as to project from the edge portion of the fixed surface portion 18c1. The back side plate wall portion 18c2 and the front side plate wall portion 18c3 are provided so as to face each other. The rear right end wall portion 18c is formed so that the inner side surface formed by the fixed surface portion 18c1, the back side plate wall portion 18c2, and the front side plate wall portion 18c3 has a substantially U-shape in a plan view.

 背面側板壁部18c2及び前面側板壁部18c3は、突起部18c4を有する。突起部18c4は、背面側板壁部18c2及び前面側板壁部18c3において、固定面部18c1とは反対側の先端部に形成されている。突起部18c4は、先端部に向かうに従い突出量が少なくなり、固定面部18c1に向かうに従い突出量が多くなるように形成されている。すなわち、突起部18c4は、背面側板壁部18c2及び前面側板壁部18c3の板面に対して傾斜する傾斜面を形成している。突起部18c4は、背面側板壁部18c2及び前面側板壁部18c3の突出方向の先端側に形成されている。背面右端壁部18cは、背面側板壁部18c2及び前面側板壁部18c3の突出方向において、突起部18c4と固定面部18c1との間には空間が形成されている。背面側板壁部18c2の突起部18c4は、前面側板壁部18c3側に突出するように形成されている。同様に、前面側板壁部18c3の突起部18c4は、背面側板壁部18c2側に突出するように形成されている。すなわち、突起部18c4は、固定面部18c1と、背面側板壁部18c2と、前面側板壁部18c3とによって形成される空間側に突出するように形成されている。 The back side plate wall portion 18c2 and the front side plate wall portion 18c3 have a protrusion 18c4. The protrusion 18c4 is formed at the tip of the back surface side plate wall portion 18c2 and the front side plate wall portion 18c3 on the opposite side to the fixed surface portion 18c1. The protrusion 18c4 is formed so that the amount of protrusion decreases toward the tip end portion and increases toward the fixed surface portion 18c1. That is, the protrusion 18c4 forms an inclined surface that is inclined with respect to the plate surfaces of the back side plate wall portion 18c2 and the front side plate wall portion 18c3. The protruding portion 18c4 is formed on the tip side of the back side plate wall portion 18c2 and the front side plate wall portion 18c3 in the projecting direction. In the back right end wall portion 18c, a space is formed between the protrusion 18c4 and the fixed surface portion 18c1 in the projecting direction of the back side plate wall portion 18c2 and the front side plate wall portion 18c3. The protrusion 18c4 of the back side plate wall portion 18c2 is formed so as to project toward the front side plate wall portion 18c3. Similarly, the protrusion 18c4 of the front side plate wall portion 18c3 is formed so as to project toward the back side plate wall portion 18c2 side. That is, the protrusion 18c4 is formed so as to project toward the space formed by the fixed surface portion 18c1, the back side plate wall portion 18c2, and the front side plate wall portion 18c3.

 また、背面側板壁部18c2には、背面塞ぎ部材18を介して、筐体50の側面パネル2とネジ固定する際に用いられる側面パネル固定用ネジ穴18c5が形成されている。前面側板壁部18c3には、背面塞ぎ部材18を介して、仕切板17とネジ固定する際に用いられる仕切板固定用ネジ穴18c6が形成されている。 Further, the back side plate wall portion 18c2 is formed with a side panel fixing screw hole 18c5 used for screw fixing to the side panel 2 of the housing 50 via the back closing member 18. The front side plate wall portion 18c3 is formed with a partition plate fixing screw hole 18c6 used for screw fixing to the partition plate 17 via the back closing member 18.

 また、ネジ固定部材21が取り付けられる背面右端壁部18cには、熱交換器10の上端部に引掛けられるL字形状の引掛部18c7がネジ固定部材21の下方に形成されている。すなわち、背面右端壁部18cは、引掛部18c7を有する。固定面部18c1と、背面側板壁部18c2と、引掛部18c7とは一体に形成されている。引掛部18c7は、塞ぎ部材9を熱交換器10に組み付ける際の位置決め用の部材として使用される。引掛部18c7は、背面右端壁部18cの固定面部18c1の下端部18c11から背面側板壁部18c2の突出する方向(X軸方向)に突出し、折り曲げられて下方(Z2側)に向かって延びるように形成されている。引掛部18c7は、側縁部が背面側板壁部18c2と一体に形成されている。引掛部18c7は、背面側板壁部18c2に対して垂直方向に見た側面視においてL字形状に形成されている。引掛部18c7及び背面側板壁部18c2は、引掛部18c7及び背面側板壁部18c2の下端部18c12が、固定面部18c1の下端部18c11よりも下方に位置するように形成されている。 Further, on the rear right end wall portion 18c to which the screw fixing member 21 is attached, an L-shaped hooking portion 18c7 hooked on the upper end portion of the heat exchanger 10 is formed below the screw fixing member 21. That is, the back right end wall portion 18c has a hook portion 18c7. The fixed surface portion 18c1, the back surface side plate wall portion 18c2, and the hook portion 18c7 are integrally formed. The hook portion 18c7 is used as a positioning member when assembling the closing member 9 to the heat exchanger 10. The hook portion 18c7 protrudes from the lower end portion 18c11 of the fixed surface portion 18c1 of the rear right end wall portion 18c in the projecting direction (X-axis direction) of the rear side plate wall portion 18c2, is bent, and extends downward (Z2 side). It is formed. The hook portion 18c7 has a side edge portion integrally formed with the back side plate wall portion 18c2. The hook portion 18c7 is formed in an L shape in a side view viewed in the direction perpendicular to the back surface side plate wall portion 18c2. The hook portion 18c7 and the back side plate wall portion 18c2 are formed so that the lower end portion 18c12 of the hook portion 18c7 and the back side plate wall portion 18c2 is located below the lower end portion 18c11 of the fixed surface portion 18c1.

 図7及び図8を用いて、ネジ固定部材21の背面右端壁部18cへの取り付けについて説明する。ネジ固定部材21は、固定面部18c1と、背面側板壁部18c2と、前面側板壁部18c3とによって形成される空間内に配置されて、背面塞ぎ部材18の背面右端壁部18cに取り付けられる。ネジ固定部材21を背面右端壁部18cに取り付ける際、背面側板壁部18c2及び前面側板壁部18c3の突起部18c4は、固定部21bの切欠部21cの縁部と嵌合して、ネジ固定部材21は背面塞ぎ部材18の背面右端壁部18cに仮固定される。ネジ固定部材21が背面右端壁部18cに仮固定された状態では、本体部21aは固定面部18c1と対向し、背面側の固定部21bは背面側板壁部18c2と対向し、前面側の固定部21bは、前面側板壁部18c3と対向するように配置されている。 The attachment of the screw fixing member 21 to the rear right end wall portion 18c will be described with reference to FIGS. 7 and 8. The screw fixing member 21 is arranged in the space formed by the fixing surface portion 18c1, the back side plate wall portion 18c2, and the front side plate wall portion 18c3, and is attached to the back right end wall portion 18c of the back closing member 18. When the screw fixing member 21 is attached to the rear right end wall portion 18c, the protruding portion 18c4 of the back side plate wall portion 18c2 and the front side plate wall portion 18c3 is fitted with the edge portion of the notch portion 21c of the fixing portion 21b, and the screw fixing member 21 is attached. 21 is temporarily fixed to the back right end wall portion 18c of the back closing member 18. When the screw fixing member 21 is temporarily fixed to the rear right end wall portion 18c, the main body portion 21a faces the fixing surface portion 18c1, the rear fixing portion 21b faces the back side plate wall portion 18c2, and the front side fixing portion 21b is arranged so as to face the front side plate wall portion 18c3.

(係合部22)
 図9は、実施の形態1に係る塞ぎ部材9を背面側から見た斜視図である。図10は、図9に示す塞ぎ部材9を構成する背面塞ぎ部材18と側面塞ぎ部材19との分解斜視図である。図11は、実施の形態1に係る室外機100の筐体50内において仕切板17に対向する側の側面塞ぎ部材19の斜視図である。塞ぎ部材9は、図9に示すように、係合部22を有する。係合部22は、背面塞ぎ部材18と側面塞ぎ部材19との接続部分である。塞ぎ部材9は、背面塞ぎ部材18と、側面塞ぎ部材19とが別体で形成されており、背面塞ぎ部材18と、側面塞ぎ部材19とは、係合部22において互いに嵌め合わされて接続されている。次に、図9~図11を用いて、背面塞ぎ部材18と側面塞ぎ部材19との接続部分である係合部22の構造について説明する。
(Engagement part 22)
FIG. 9 is a perspective view of the closing member 9 according to the first embodiment as viewed from the back side. FIG. 10 is an exploded perspective view of the back closing member 18 and the side closing member 19 constituting the closing member 9 shown in FIG. FIG. 11 is a perspective view of a side closing member 19 on the side facing the partition plate 17 in the housing 50 of the outdoor unit 100 according to the first embodiment. As shown in FIG. 9, the closing member 9 has an engaging portion 22. The engaging portion 22 is a connecting portion between the back closing member 18 and the side closing member 19. In the closing member 9, the back closing member 18 and the side closing member 19 are formed separately, and the back closing member 18 and the side closing member 19 are fitted and connected to each other at the engaging portion 22. There is. Next, the structure of the engaging portion 22 which is the connecting portion between the back closing member 18 and the side closing member 19 will be described with reference to FIGS. 9 to 11.

 まず、係合部22を構成する背面塞ぎ部材18の構造について説明する。背面左端壁部18dは、取付面部18d1と、前面側取付部18d2と、背面側取付部18d3とを有する。背面左端壁部18dは、取付面部18d1と、前面側取付部18d2と、背面側取付部18d3とが一体に形成されている。 First, the structure of the back closing member 18 constituting the engaging portion 22 will be described. The rear left end wall portion 18d has a mounting surface portion 18d1, a front side mounting portion 18d2, and a back side mounting portion 18d3. The rear left end wall portion 18d is integrally formed with a mounting surface portion 18d1, a front side mounting portion 18d2, and a back side mounting portion 18d3.

 取付面部18d1は、板状の側壁として形成されている。なお、取付面部18d1の板面は、平面状に形成されている形態に限定されるものではなく、曲面状に形成されてもよく、段差を有してもよい。前面側取付部18d2及び背面側取付部18d3は、鉤状に形成されており、取付面部18d1の短手方向(Y軸方向)の両端部に設けられている。前面側取付部18d2及び背面側取付部18d3は、取付面部18d1から突出しており、水平断面がL字形状に形成されている。前面側取付部18d2及び背面側取付部18d3は、取付面部18d1の長手方向(Z軸方向)の縁部に沿って設けられている。前面側取付部18d2及び背面側取付部18d3は、取付面部18d1の長手方向(Z軸方向)の一部に形成されており、前面側取付部18d2は背面側取付部18d3よりも上方に形成されている。 The mounting surface portion 18d1 is formed as a plate-shaped side wall. The plate surface of the mounting surface portion 18d1 is not limited to the form formed in a flat shape, and may be formed in a curved surface shape or may have a step. The front side mounting portion 18d2 and the back side mounting portion 18d3 are formed in a hook shape, and are provided at both ends of the mounting surface portion 18d1 in the lateral direction (Y-axis direction). The front side mounting portion 18d2 and the back side mounting portion 18d3 project from the mounting surface portion 18d1, and the horizontal cross section is formed in an L shape. The front side mounting portion 18d2 and the back side mounting portion 18d3 are provided along the edge portion of the mounting surface portion 18d1 in the longitudinal direction (Z-axis direction). The front side mounting portion 18d2 and the back side mounting portion 18d3 are formed in a part of the longitudinal direction (Z-axis direction) of the mounting surface portion 18d1, and the front side mounting portion 18d2 is formed above the back side mounting portion 18d3. ing.

 前面側取付部18d2は、取付面部18d1における短手方向(Y軸方向)の前面側(Y1側)の端部に設けられている。前面側取付部18d2は、前面側突出部18d21と、前面側爪部18d22とを有する。前面側突出部18d21は、取付面部18d1から背面塞ぎ部材18の外側に突出する壁を構成する部分であり、室外機100の長手方向(X軸方向)において左側(X1側)に突出する壁を構成する部分である。前面側爪部18d22は、取付面部18d1と共に、側面塞ぎ部材19を保持する爪である。前面側爪部18d22は、前面側突出部18d21の突出方向の先端から背面側壁部18e側、すなわち、取付面部18d1における短手方向(Y軸方向)の背面側(Y2側)に延びるように設けられている壁部である。前面側爪部18d22は、間隔を開けて取付面部18d1と対向するように形成されている。前面側取付部18d2は、取付面部18d1と、前面側突出部18d21と、前面側爪部18d22とによって、上下方向(Z軸方向)に延びる溝部18d23を形成する。溝部18d23は、室外機100の上下方向(Z軸方向)と、背面側(Y2側)とが開口するように形成されている。 The front side mounting portion 18d2 is provided at the end portion of the mounting surface portion 18d1 on the front side (Y1 side) in the lateral direction (Y-axis direction). The front side mounting portion 18d2 has a front side protruding portion 18d21 and a front side claw portion 18d22. The front side projecting portion 18d21 is a portion constituting a wall projecting from the mounting surface portion 18d1 to the outside of the back closing member 18, and a wall projecting to the left side (X1 side) in the longitudinal direction (X-axis direction) of the outdoor unit 100. It is a constituent part. The front side claw portion 18d22 is a claw that holds the side closing member 19 together with the mounting surface portion 18d1. The front side claw portion 18d22 is provided so as to extend from the tip of the front side protruding portion 18d21 in the protruding direction to the back side wall portion 18e side, that is, to the back side (Y2 side) of the mounting surface portion 18d1 in the lateral direction (Y-axis direction). It is a wall part that is being used. The front side claw portion 18d22 is formed so as to face the mounting surface portion 18d1 with a gap. The front side mounting portion 18d2 forms a groove portion 18d23 extending in the vertical direction (Z-axis direction) by the mounting surface portion 18d1, the front side protruding portion 18d21, and the front side claw portion 18d22. The groove portion 18d23 is formed so that the vertical direction (Z-axis direction) of the outdoor unit 100 and the back surface side (Y2 side) are open.

 背面側取付部18d3は、取付面部18d1における短手方向(Y軸方向)の背面側(Y2側)の端部に設けられている。背面側取付部18d3は、背面側突出部18d31と、背面側爪部18d32とを有する。背面側突出部18d31は、取付面部18d1から背面塞ぎ部材18の外側に突出する壁を構成する部分であり、室外機100の長手方向(X軸方向)において左側(X1側)に突出する壁を構成する部分である。背面側爪部18d32は、取付面部18d1と共に、側面塞ぎ部材19を保持する爪である。背面側爪部18d32は、背面側突出部18d31の突出方向の先端から背面塞ぎ部材18の開口側、すなわち、取付面部18d1における短手方向(Y軸方向)の前面側(Y1側)に延びるように設けられている壁部である。背面側爪部18d32は、間隔を開けて取付面部18d1と対向するように形成されている。背面側取付部18d3は、取付面部18d1と、背面側突出部18d31と、背面側爪部18d32とによって、上下方向(Z軸方向)に延びる溝部18d33を形成する。溝部18d33は、室外機100の上下方向(Z軸方向)と、前面側(Y1側)とが開口するように形成されている。 The back side mounting portion 18d3 is provided at the end portion of the mounting surface portion 18d1 on the back side (Y2 side) in the lateral direction (Y-axis direction). The back side mounting portion 18d3 has a back side protruding portion 18d31 and a back side claw portion 18d32. The rear surface side projecting portion 18d31 is a portion constituting a wall projecting from the mounting surface portion 18d1 to the outside of the back surface closing member 18, and a wall projecting to the left side (X1 side) in the longitudinal direction (X axis direction) of the outdoor unit 100. It is a constituent part. The back side claw portion 18d32 is a claw that holds the side closing member 19 together with the mounting surface portion 18d1. The back side claw portion 18d32 extends from the tip of the back side protruding portion 18d31 in the protruding direction to the opening side of the back closing member 18, that is, the front side (Y1 side) of the mounting surface portion 18d1 in the lateral direction (Y-axis direction). It is a wall part provided in. The rear side claw portion 18d32 is formed so as to face the mounting surface portion 18d1 with a gap. The back side mounting portion 18d3 forms a groove portion 18d33 extending in the vertical direction (Z-axis direction) by the mounting surface portion 18d1, the back side protruding portion 18d31, and the back side claw portion 18d32. The groove portion 18d33 is formed so that the vertical direction (Z-axis direction) of the outdoor unit 100 and the front side (Y1 side) are open.

 次に、図10及び図11を用いて、係合部22を構成する側面塞ぎ部材19の構造について説明する。側面後端壁部19cは、当接部19c1と、中間側壁部19c2と、先端側壁部19c3とを有する。側面後端壁部19cは、当接部19c1と、中間側壁部19c2と、先端側壁部19c3とが一体に形成されている。 Next, the structure of the side closing member 19 constituting the engaging portion 22 will be described with reference to FIGS. 10 and 11. The side rear end wall portion 19c has a contact portion 19c1, an intermediate side wall portion 19c2, and a front side wall portion 19c3. In the side rear end wall portion 19c, the contact portion 19c1, the intermediate side wall portion 19c2, and the front side wall portion 19c3 are integrally formed.

 当接部19c1は、板状の側壁として形成されている。当接部19c1は、筐体50の左右方向(X軸方向)に延びると共に、上下方向(Z軸方向)に延びるように形成されている。当接部19c1の板面は、筐体50内部において、背面側(Y2)を向くように形成されている。なお、当接部19c1の板面は、平面状に形成されている形態に限定されるものではなく、曲面状に形成されてもよく、段差を有してもよい。中間側壁部19c2は、当接部19c1の板面から外側に向かって突出するように設けられており、筐体50の前後方向(Y軸方向)に延びると共に、上下方向(Z軸方向)に延びる板状に形成されている。すなわち、側面塞ぎ部材19は、当接部19c1と中間側壁部19c2とが、90度あるいは90度に近い所定の角度を持って形成されている。中間側壁部19c2は、中間側壁部19c2を構成する板面と、側面側壁部19eを構成する板面とが同じ向きを向くように形成されている。中間側壁部19c2は、左右方向(X軸方向)において、側面側壁部19eよりも、開口部19h側(X2側)に位置するように形成されている。背面塞ぎ部材18と側面塞ぎ部材19とを接続した場合に、中間側壁部19c2は、取付面部18d1と対向するように形成されている。 The contact portion 19c1 is formed as a plate-shaped side wall. The contact portion 19c1 is formed so as to extend in the left-right direction (X-axis direction) of the housing 50 and in the up-down direction (Z-axis direction). The plate surface of the contact portion 19c1 is formed inside the housing 50 so as to face the back surface side (Y2). The plate surface of the contact portion 19c1 is not limited to the form formed in a flat shape, and may be formed in a curved surface shape or may have a step. The intermediate side wall portion 19c2 is provided so as to project outward from the plate surface of the contact portion 19c1, extends in the front-rear direction (Y-axis direction) of the housing 50, and extends in the vertical direction (Z-axis direction). It is formed in the shape of an extending plate. That is, in the side closing member 19, the contact portion 19c1 and the intermediate side wall portion 19c2 are formed at a predetermined angle of 90 degrees or close to 90 degrees. The intermediate side wall portion 19c2 is formed so that the plate surface forming the intermediate side wall portion 19c2 and the plate surface forming the side side wall portion 19e face the same direction. The intermediate side wall portion 19c2 is formed so as to be located on the opening 19h side (X2 side) of the side side wall portion 19e in the left-right direction (X-axis direction). When the back closing member 18 and the side closing member 19 are connected, the intermediate side wall portion 19c2 is formed so as to face the mounting surface portion 18d1.

 中間側壁部19c2には、挿入部19c21が形成されている。挿入部19c21は、鉤状に形成されており、中間側壁部19c2の短手方向(Y軸方向)の略中央付近に設けられている。挿入部19c21は、中間側壁部19c2から開口部19h側に突出しており、水平断面がL字形状に形成されている。挿入部19c21は、中間側壁部19c2の長手方向(Z軸方向)に沿って設けられている。挿入部19c21は、中間側壁部19c2の長手方向(Z軸方向)の一部に形成されており、中間側壁部19c2の長手方向(Z軸方向)の中央部よりも上方に形成されている。 An insertion portion 19c21 is formed in the intermediate side wall portion 19c2. The insertion portion 19c21 is formed in a hook shape, and is provided near the substantially center of the intermediate side wall portion 19c2 in the lateral direction (Y-axis direction). The insertion portion 19c21 protrudes from the intermediate side wall portion 19c2 toward the opening 19h, and has an L-shaped horizontal cross section. The insertion portion 19c21 is provided along the longitudinal direction (Z-axis direction) of the intermediate side wall portion 19c2. The insertion portion 19c21 is formed in a part of the intermediate side wall portion 19c2 in the longitudinal direction (Z-axis direction), and is formed above the central portion of the intermediate side wall portion 19c2 in the longitudinal direction (Z-axis direction).

 挿入部19c21は、側面側突出部19c22と、側面側爪部19c23とを有する。側面側突出部19c22は、中間側壁部19c2から突出する壁を構成する部分であり、室外機100の長手方向(X軸方向)において右側(X2側)に突出する壁を構成する部分である。側面側爪部19c23は、側面側突出部19c22の突出方向の先端から当接部19c1側(Y1側)に延びるように設けられている壁部である。側面側爪部19c23は、溝部18d23に挿入され、前面側爪部18d22と取付面部18d1とによって保持される爪である。 The insertion portion 19c21 has a side surface side protruding portion 19c22 and a side surface side claw portion 19c23. The side surface side projecting portion 19c22 is a portion constituting a wall projecting from the intermediate side wall portion 19c2, and is a portion constituting a wall projecting to the right side (X2 side) in the longitudinal direction (X-axis direction) of the outdoor unit 100. The side surface side claw portion 19c23 is a wall portion provided so as to extend from the tip of the side surface side projecting portion 19c22 in the projecting direction toward the contact portion 19c1 side (Y1 side). The side claw portion 19c23 is a claw that is inserted into the groove portion 18d23 and is held by the front side claw portion 18d22 and the mounting surface portion 18d1.

 先端側壁部19c3は、中間側壁部19c2の突出方向(Y軸方向)の先端から突出するように設けられており、中間側壁部19c2に沿って上下方向(Z軸方向)に延びる板状に形成されている。先端側壁部19c3は、先端側壁部19c3を構成する板面と、中間側壁部19c2を構成する板面と、側面側壁部19eを構成する板面とが同じ向きを向くように形成されている。先端側壁部19c3は、左右方向(X軸方向)において、中間側壁部19c2よりも、開口部19h側(X2側)に位置するように形成されている。背面塞ぎ部材18と側面塞ぎ部材19とを接続した場合に、先端側壁部19c3は、取付面部18d1と対向するように形成されている。 The tip side wall portion 19c3 is provided so as to project from the tip of the intermediate side wall portion 19c2 in the projecting direction (Y-axis direction), and is formed in a plate shape extending in the vertical direction (Z-axis direction) along the intermediate side wall portion 19c2. Has been done. The tip side wall portion 19c3 is formed so that the plate surface forming the tip side wall portion 19c3, the plate surface forming the intermediate side wall portion 19c2, and the plate surface forming the side side wall portion 19e face the same direction. The tip side wall portion 19c3 is formed so as to be located on the opening 19h side (X2 side) of the intermediate side wall portion 19c2 in the left-right direction (X-axis direction). When the back closing member 18 and the side closing member 19 are connected, the tip side wall portion 19c3 is formed so as to face the mounting surface portion 18d1.

 先端側壁部19c3は、溝部18d33に挿入され、背面側爪部18d32と取付面部18d1とによって保持される。先端側壁部19c3は、縁壁部19c31を有する。縁壁部19c31は、先端側壁部19c3の外縁部に沿って縁部に設けられた壁である。先端側壁部19c3の縁壁部19c31は、溝部18d33に挿入され、背面側爪部18d32と取付面部18d1とによって保持される。先端側壁部19c3は、下端部の角部に切欠部19c32を有する。先端側壁部19c3は、下端部の角部に切欠部19c32を有することで、作業者が溝部18d33に先端側壁部19c3を挿入し易くなり、背面塞ぎ部材18と側面塞ぎ部材19との接続が容易になる。 The tip side wall portion 19c3 is inserted into the groove portion 18d33 and is held by the back side claw portion 18d32 and the mounting surface portion 18d1. The tip side wall portion 19c3 has an edge wall portion 19c31. The edge wall portion 19c31 is a wall provided on the edge portion along the outer edge portion of the tip side wall portion 19c3. The edge wall portion 19c31 of the tip side wall portion 19c3 is inserted into the groove portion 18d33 and is held by the back side claw portion 18d32 and the mounting surface portion 18d1. The tip side wall portion 19c3 has a notch portion 19c32 at a corner portion of the lower end portion. Since the tip side wall portion 19c3 has a notch portion 19c32 at the corner of the lower end portion, the operator can easily insert the tip side wall portion 19c3 into the groove portion 18d33, and the back closing member 18 and the side closing member 19 can be easily connected. become.

 図10に示すように、作業者が、側面塞ぎ部材19を白抜き矢印の方向に移動させることで、図9に示すように、側面塞ぎ部材19を背面塞ぎ部材18に取り付けることができる。この際、塞ぎ部材9は、先端側壁部19c3が、取付面部18d1と当接することで、背面塞ぎ部材18に対する側面塞ぎ部材19の左右方向(X軸方向)の位置決めが行われる。また、塞ぎ部材9は、当接部19c1が、背面左端壁部18dと当接することで背面塞ぎ部材18に対する側面塞ぎ部材19の前後方向(Y軸方向)の位置決めが行われる。 As shown in FIG. 10, the operator can move the side closing member 19 in the direction of the white arrow, so that the side closing member 19 can be attached to the back closing member 18 as shown in FIG. At this time, in the closing member 9, the front side wall portion 19c3 comes into contact with the mounting surface portion 18d1, so that the side closing member 19 is positioned in the left-right direction (X-axis direction) with respect to the back closing member 18. Further, in the closing member 9, the contact portion 19c1 comes into contact with the back left end wall portion 18d, so that the side closing member 19 is positioned in the front-rear direction (Y-axis direction) with respect to the back closing member 18.

 図12は、図9に示すC部における背面塞ぎ部材18と側面塞ぎ部材19との接続状態を示す断面図である。図13は、図9に示すD部における背面塞ぎ部材18と側面塞ぎ部材19との接続状態を示す断面図である。次に、図12及び図13を用いて、背面塞ぎ部材18と側面塞ぎ部材19との接続状態について説明する。 FIG. 12 is a cross-sectional view showing a connection state between the back closing member 18 and the side closing member 19 in the C portion shown in FIG. FIG. 13 is a cross-sectional view showing a connection state between the back closing member 18 and the side closing member 19 in the D portion shown in FIG. Next, the connection state between the back closing member 18 and the side closing member 19 will be described with reference to FIGS. 12 and 13.

 図12及び図13に示すように、挿入部19c21は、背面塞ぎ部材18の前面側取付部18d2と係合する。挿入部19c21の側面側爪部19c23は、溝部18d23に挿入されることで、前面側爪部18d22と取付面部18d1とによって保持される。また、先端側壁部19c3は、背面塞ぎ部材18の背面側取付部18d3と係合する。先端側壁部19c3は、溝部18d33に挿入されることで、背面側爪部18d32と取付面部18d1とによって保持される。塞ぎ部材9は、上部で挿入部19c21と前面側取付部18d2とがかみ合わされており、下部で先端側壁部19c3と背面側取付部18d3とがかみ合わされている。塞ぎ部材9は、背面塞ぎ部材18と側面塞ぎ部材19とが組み合わされて構成されるが、背面塞ぎ部材18へ側面塞ぎ部材19をスライドして嵌合させ、それぞれの部品をかみ合わせることで、L字形状に形成されている。 As shown in FIGS. 12 and 13, the insertion portion 19c21 engages with the front side mounting portion 18d2 of the back closing member 18. The side claw portion 19c23 of the insertion portion 19c21 is inserted into the groove portion 18d23 and is held by the front side claw portion 18d22 and the mounting surface portion 18d1. Further, the tip side wall portion 19c3 engages with the back surface side mounting portion 18d3 of the back surface closing member 18. The tip side wall portion 19c3 is held by the back side claw portion 18d32 and the mounting surface portion 18d1 by being inserted into the groove portion 18d33. In the closing member 9, the insertion portion 19c21 and the front side mounting portion 18d2 are engaged with each other at the upper portion, and the tip side wall portion 19c3 and the back side mounting portion 18d3 are engaged with each other at the lower portion. The closing member 9 is configured by combining the back closing member 18 and the side closing member 19, and the side closing member 19 is slid and fitted to the back closing member 18 and the respective parts are engaged with each other. It is formed in an L shape.

 ここで、図11に戻り、側面塞ぎ部材19は、中間側壁部19c2に停止部19c25を有している。停止部19c25は、挿入部19c21の突出方向と同じ方向(X2側)に突出している。停止部19c25は、直方体状の突出片であり、挿入部19c21よりも上方に設けられている。なお、停止部19c25は、強度が確保された突出片であればよく、直方体形状に限定されるものではない。停止部19c25は、上下方向(Z軸方向)において、挿入部19c21の側面側突出部19c22を構成する壁の延長上に設けられている。塞ぎ部材9は、前面側取付部18d2の上端部が、停止部19c25と当接することで、背面塞ぎ部材18に対する側面塞ぎ部材19の上下方向(Z軸方向)の位置決めが行われる。すなわち、停止部19c25は、前面側取付部18d2の上端部と当接することで、背面塞ぎ部材18に対する側面塞ぎ部材19の上下方向(Z軸方向)の移動におけるストッパーの役割を果たす。 Here, returning to FIG. 11, the side closing member 19 has a stop portion 19c25 on the intermediate side wall portion 19c2. The stop portion 19c25 projects in the same direction (X2 side) as the protrusion direction of the insertion portion 19c21. The stop portion 19c25 is a rectangular parallelepiped protruding piece, and is provided above the insertion portion 19c21. The stop portion 19c25 may be a protruding piece whose strength is ensured, and is not limited to a rectangular parallelepiped shape. The stop portion 19c25 is provided on an extension of the wall forming the side surface side protrusion 19c22 of the insertion portion 19c21 in the vertical direction (Z-axis direction). In the closing member 9, the upper end portion of the front side mounting portion 18d2 comes into contact with the stop portion 19c25, so that the side closing member 19 is positioned in the vertical direction (Z-axis direction) with respect to the back closing member 18. That is, the stop portion 19c25 serves as a stopper in the vertical movement (Z-axis direction) of the side closing member 19 with respect to the back closing member 18 by contacting the upper end portion of the front side mounting portion 18d2.

 図14は、背面塞ぎ部材18の前面側の上部の拡大斜視図である。図15は、背面塞ぎ部材18の背面側の上部の拡大斜視図である。図14及び図15に示すように、取付面部18d1の上下方向(Z軸方向)に延びる縁部には、凹部18d4が形成されている。凹部18d4は、取付面部18d1の上下方向(Z軸方向)に延びる縁部の上端部に形成されている。凹部18d4は、前面側(Y1側)が開口するように凹んでいる。 FIG. 14 is an enlarged perspective view of the upper part of the back closing member 18 on the front side. FIG. 15 is an enlarged perspective view of the upper part of the back closing member 18 on the back side. As shown in FIGS. 14 and 15, a recess 18d4 is formed at an edge portion of the mounting surface portion 18d1 extending in the vertical direction (Z-axis direction). The recess 18d4 is formed at the upper end of the edge portion extending in the vertical direction (Z-axis direction) of the mounting surface portion 18d1. The recess 18d4 is recessed so that the front side (Y1 side) is open.

 図16は、側面塞ぎ部材19の前面側の上部の拡大斜視図である。図17は、側面塞ぎ部材19の背面側の上部の拡大斜視図である。図16及び図17に示すように、当接部19c1の上端部の縁部には凸部19c11が形成されている。凸部19c11は、当接部19c1の上端部において左右方向(X軸方向)に延びる縁部に沿って形成されている。凸部19c11は、背面側(Y2側)に突出するように形成されている。 FIG. 16 is an enlarged perspective view of the upper part on the front side of the side closing member 19. FIG. 17 is an enlarged perspective view of the upper portion of the side closing member 19 on the back surface side. As shown in FIGS. 16 and 17, a convex portion 19c11 is formed at the edge of the upper end portion of the contact portion 19c1. The convex portion 19c11 is formed along an edge portion extending in the left-right direction (X-axis direction) at the upper end portion of the contact portion 19c1. The convex portion 19c11 is formed so as to project toward the back surface side (Y2 side).

 図18は、塞ぎ部材9の前面側の上部の拡大斜視図である。図19は、塞ぎ部材9の背面側の上部の拡大斜視図である。図18及び図19に示すように、側面塞ぎ部材19と背面塞ぎ部材18とが接続されると、凸部19c11が凹部18d4に挿入されて嵌り合う。そのため、塞ぎ部材9は、側面塞ぎ部材19と背面塞ぎ部材18とが接続されると、互いの位置ずれが抑制される。 FIG. 18 is an enlarged perspective view of the upper part on the front side of the closing member 9. FIG. 19 is an enlarged perspective view of the upper portion of the closing member 9 on the back surface side. As shown in FIGS. 18 and 19, when the side closing member 19 and the back closing member 18 are connected, the convex portion 19c11 is inserted into the concave portion 18d4 and fits. Therefore, when the side closing member 19 and the back closing member 18 are connected to each other, the closing member 9 is prevented from being displaced from each other.

(押え部23)
 図20は、図7に示す背面塞ぎ部材18を下側から見た斜視図である。図21は、図20に示す押え部23の拡大斜視図である。塞ぎ部材9は、押え部23を有する。図20に示すように、塞ぎ部材9の背面塞ぎ部材18には、熱交換器10を熱交換器10の厚み方向から挟むための押え部23が設けられている。より詳細には、背面下壁部18bは、熱交換器10の厚み方向から熱交換器10と当接し、熱交換器10を挟持する押え部23を有している。
(Pressing part 23)
FIG. 20 is a perspective view of the back closing member 18 shown in FIG. 7 as viewed from below. FIG. 21 is an enlarged perspective view of the pressing portion 23 shown in FIG. 20. The closing member 9 has a holding portion 23. As shown in FIG. 20, the back closing member 18 of the closing member 9 is provided with a holding portion 23 for sandwiching the heat exchanger 10 from the thickness direction of the heat exchanger 10. More specifically, the back lower wall portion 18b has a holding portion 23 that comes into contact with the heat exchanger 10 from the thickness direction of the heat exchanger 10 and sandwiches the heat exchanger 10.

 押え部23は、背面下壁部18bと一体に形成されており、背面下壁部18bの前後方向(Y軸方向)の両端部に設けられている。押え部23は、背面下壁部18bの長手方向(X軸方向)の一部に形成されている。押え部23は、背面塞ぎ部材18の開口部18h側に1つ、背面塞ぎ部材18の背面側壁部18e側に2つ形成されている。但し、押え部23の形成数は、当該構成に限定されるものではない。押え部23は、背面塞ぎ部材18の開口部18h側、背面塞ぎ部材18の背面側壁部18e側のそれぞれに1つ形成されてもよく、複数形成されてもよい。また、押え部23は、背面下壁部18bの長手方向(X軸方向)の一部に形成されている形態に限定されるものではなく、背面下壁部18bの長手方向(X軸方向)の全領域に形成されてもよい。背面塞ぎ部材18は、押え部23が、背面塞ぎ部材18の開口部18h側、背面塞ぎ部材18の背面側壁部18e側のそれぞれに形成されていることで、熱交換器10を熱交換器10の厚み方向から挟むことができる。 The pressing portion 23 is integrally formed with the back lower wall portion 18b, and is provided at both ends of the back lower wall portion 18b in the front-rear direction (Y-axis direction). The pressing portion 23 is formed in a part of the back lower wall portion 18b in the longitudinal direction (X-axis direction). The pressing portion 23 is formed one on the opening 18h side of the back closing member 18 and two on the back side wall portion 18e side of the back closing member 18. However, the number of presser portions 23 formed is not limited to this configuration. One pressing portion 23 may be formed on each of the opening 18h side of the back closing member 18 and the back side wall portion 18e side of the back closing member 18, or a plurality of pressing portions 23 may be formed. Further, the pressing portion 23 is not limited to the form formed in a part of the back surface lower wall portion 18b in the longitudinal direction (X-axis direction), but is not limited to the form formed in the longitudinal direction (X-axis direction) of the back surface lower wall portion 18b. It may be formed in the entire region of. The back closing member 18 has a heat exchanger 10 as a heat exchanger 10 because the holding portion 23 is formed on the opening 18h side of the back closing member 18 and the back side wall portion 18e side of the back closing member 18. It can be sandwiched from the thickness direction of.

 押え部23は、図21に示すように、板状に形成されている。押え部23は、背面下壁部18bから背面下壁部18bの外側に向かって突出しており、背面下壁部18bから下方に向かって突出している。押え部23は、背面下壁部18bの長手方向(X軸方向)の縁部に沿って延びるように設けられている。押え部23は、位置ズレ抑制リブ23bを有する。押え部23は、背面下壁部18bに対して押え部23の根元付近となる基部23aに、位置ズレ抑制リブ23bが形成されている。 As shown in FIG. 21, the pressing portion 23 is formed in a plate shape. The pressing portion 23 protrudes from the back lower wall portion 18b toward the outside of the back lower wall portion 18b, and protrudes downward from the back lower wall portion 18b. The pressing portion 23 is provided so as to extend along the edge portion in the longitudinal direction (X-axis direction) of the back lower wall portion 18b. The pressing portion 23 has a misalignment suppressing rib 23b. In the pressing portion 23, a misalignment suppressing rib 23b is formed at a base portion 23a near the base of the pressing portion 23 with respect to the back lower wall portion 18b.

 位置ズレ抑制リブ23bは、背面塞ぎ部材18が熱交換器10に対して左右方向(X軸方向)に位置ズレすることを抑制するものである。位置ズレ抑制リブ23bは、略三角形状に形成されており、背面下壁部18b側の縁部を構成する底縁部23b1が背面下壁部18bと一体に形成されており、押え部23側の縁部を構成する側縁部23b2が押え部23と一体に形成されている。位置ズレ抑制リブ23bは、底縁部23b1の端部と側縁部23b2の端部との間を構成する斜縁部23b3が、背面下壁部18b及び押え部23に対して傾斜している。 The position shift suppressing rib 23b suppresses the position shift of the back closing member 18 in the left-right direction (X-axis direction) with respect to the heat exchanger 10. The position deviation suppressing rib 23b is formed in a substantially triangular shape, and the bottom edge portion 23b1 constituting the edge portion on the back lower wall portion 18b side is integrally formed with the back lower wall portion 18b, and the pressing portion 23 side. The side edge portion 23b2 that constitutes the edge portion of the above is formed integrally with the pressing portion 23. In the positional deviation suppressing rib 23b, the oblique edge portion 23b3 forming between the end portion of the bottom edge portion 23b1 and the end portion of the side edge portion 23b2 is inclined with respect to the back lower wall portion 18b and the pressing portion 23. ..

 図22は、図3に示すE-E線位置の背面塞ぎ部材18の概略断面図である。図22を用いて、位置ズレ抑制リブ23bと熱交換器10との関係について説明する。背面塞ぎ部材18は、熱交換器10上に載置されると、押え部23が熱交換器10のフィン10aの前方(Y2側)及び後方(Y1側)からフィン10aと当接する。図22に示すように、背面塞ぎ部材18が、熱交換器10上に載置されると、位置ズレ抑制リブ23bは、複数のフィン10a同士の間に嵌っている。 FIG. 22 is a schematic cross-sectional view of the back closing member 18 at the position of line EE shown in FIG. The relationship between the misalignment suppressing rib 23b and the heat exchanger 10 will be described with reference to FIG. When the back closing member 18 is placed on the heat exchanger 10, the holding portion 23 comes into contact with the fins 10a from the front (Y2 side) and the rear (Y1 side) of the fins 10a of the heat exchanger 10. As shown in FIG. 22, when the back closing member 18 is placed on the heat exchanger 10, the misalignment suppressing rib 23b is fitted between the plurality of fins 10a.

 図10及び図11に示すように、塞ぎ部材9の側面塞ぎ部材19にもまた、熱交換器10を熱交換器10の厚み方向から挟むための押え部23が設けられている。側面下壁部19bは、熱交換器10の厚み方向から熱交換器10と当接し、熱交換器10を挟持する押え部23を有している。 As shown in FIGS. 10 and 11, the side closing member 19 of the closing member 9 is also provided with a holding portion 23 for sandwiching the heat exchanger 10 from the thickness direction of the heat exchanger 10. The side lower wall portion 19b has a holding portion 23 that comes into contact with the heat exchanger 10 from the thickness direction of the heat exchanger 10 and sandwiches the heat exchanger 10.

 押え部23は、側面下壁部19bと一体に形成されており、側面下壁部19bの左右方向(X軸方向)の両端部に設けられている。押え部23は、側面下壁部19bの長手方向(Y軸方向)の一部に形成されている。押え部23は、側面塞ぎ部材19の開口部19h側に1つ、側面塞ぎ部材19の側面側壁部19e側に1つ形成されている。但し、押え部23の形成数は、当該構成に限定されるものではない。押え部23は、側面塞ぎ部材19の開口部19h側、側面塞ぎ部材19の側面側壁部19e側のそれぞれに1つ形成されてもよく、複数形成されてもよい。また、押え部23は、側面下壁部19bの長手方向(Y軸方向)の一部に形成されている形態に限定されるものではなく、側面下壁部19bの長手方向(Y軸方向)の全領域に形成されてもよい。側面塞ぎ部材19は、押え部23が、側面塞ぎ部材19の開口部19h側、側面塞ぎ部材19の側面側壁部19e側のそれぞれに形成されていることで、熱交換器10を熱交換器10の厚み方向から挟むことができる。押え部23は、側面下壁部19bから側面下壁部19bの外側に向かって突出しており、側面下壁部19bから下方に向かって突出している。押え部23は、側面下壁部19bの長手方向(Y軸方向)の縁部に沿って延びるように設けられている。側面下壁部19bに対して押え部23の根元付近となる基部23aには、位置ズレ抑制リブ23bが形成されている。 The pressing portion 23 is integrally formed with the side surface lower wall portion 19b, and is provided at both ends of the side surface lower wall portion 19b in the left-right direction (X-axis direction). The pressing portion 23 is formed in a part of the side surface lower wall portion 19b in the longitudinal direction (Y-axis direction). One pressing portion 23 is formed on the opening 19h side of the side closing member 19, and one pressing portion 23 is formed on the side side wall portion 19e side of the side closing member 19. However, the number of presser portions 23 formed is not limited to this configuration. One pressing portion 23 may be formed on each of the opening 19h side of the side closing member 19 and the side side wall portion 19e side of the side closing member 19, or a plurality of pressing portions 23 may be formed. Further, the pressing portion 23 is not limited to the form formed in a part of the side surface lower wall portion 19b in the longitudinal direction (Y-axis direction), but is not limited to the form formed in the longitudinal direction (Y-axis direction) of the side surface lower wall portion 19b. It may be formed in the entire region of. In the side closing member 19, the pressing portion 23 is formed on each of the opening 19h side of the side closing member 19 and the side side wall portion 19e side of the side closing member 19, so that the heat exchanger 10 is converted into the heat exchanger 10. It can be sandwiched from the thickness direction of. The pressing portion 23 projects from the side surface lower wall portion 19b toward the outside of the side surface lower wall portion 19b, and protrudes downward from the side surface lower wall portion 19b. The pressing portion 23 is provided so as to extend along the edge portion in the longitudinal direction (Y-axis direction) of the side lower wall portion 19b. A misalignment suppressing rib 23b is formed on the base portion 23a near the base of the pressing portion 23 with respect to the side lower wall portion 19b.

(圧入部24)
 図23は、図3に示すF-F線位置の背面塞ぎ部材18の概略断面図である。図24は、図20に示す白抜き矢印Gの方向から見た背面塞ぎ部材18を構成する背面下壁部18bの底面図である。図21、図23及び図24を用いて、圧入部24と熱交換器10との関係について説明する。背面下壁部18bは、圧入部24を有する。圧入部24は、塞ぎ部材9が熱交換器10に載置されて組み付けされた際に、熱交換器10を構成する複数のフィン10aの縁部に圧入される部分である。
(Press-fitting part 24)
FIG. 23 is a schematic cross-sectional view of the back closing member 18 at the FF line position shown in FIG. FIG. 24 is a bottom view of the back lower wall portion 18b constituting the back closing member 18 as viewed from the direction of the white arrow G shown in FIG. The relationship between the press-fitting portion 24 and the heat exchanger 10 will be described with reference to FIGS. 21, 23, and 24. The back lower wall portion 18b has a press-fit portion 24. The press-fitting portion 24 is a portion that is press-fitted into the edges of a plurality of fins 10a constituting the heat exchanger 10 when the closing member 9 is placed on the heat exchanger 10 and assembled.

 圧入部24は、塞ぎ部材9を構成する背面塞ぎ部材18の背面下壁部18bに設けられた突出高さ1mmほどのリブである。圧入部24は、熱交換器10を構成する複数のフィン10aの角部と対向する位置に突出して設けられていると共に、複数のフィン10aの積層方向に延びるように設けられている。より詳細には、圧入部24は、背面塞ぎ部材18の熱交換器10に乗る面に設けられている。圧入部24は、背面下壁部18bから下方(Z2側)に突出するように設けられている。圧入部24は、図24に示すように、背面側壁部18e側の背面下壁部18bの縁部に沿って長手方向(X軸方向)に延びるように形成されている。圧入部24は、背面下壁部18bの長手方向(X軸方向)の一部に形成されている形態に限定されるものではなく、背面下壁部18bの長手方向(X軸方向)の全領域に形成されてもよい。 The press-fitting portion 24 is a rib having a protruding height of about 1 mm provided on the back lower wall portion 18b of the back closing member 18 constituting the closing member 9. The press-fitting portion 24 is provided so as to project at a position facing the corners of the plurality of fins 10a constituting the heat exchanger 10, and is provided so as to extend in the stacking direction of the plurality of fins 10a. More specifically, the press-fitting portion 24 is provided on the surface of the back closing member 18 on the heat exchanger 10. The press-fitting portion 24 is provided so as to project downward (Z2 side) from the back lower wall portion 18b. As shown in FIG. 24, the press-fitting portion 24 is formed so as to extend in the longitudinal direction (X-axis direction) along the edge portion of the back lower wall portion 18b on the back side wall portion 18e side. The press-fitting portion 24 is not limited to a form formed in a part of the back surface lower wall portion 18b in the longitudinal direction (X-axis direction), but is not limited to the form formed in a part of the back surface lower wall portion 18b in the longitudinal direction (X-axis direction). It may be formed in the region.

 図21及び図23に示すように、圧入部24は、略直方体状のリブである。なお、圧入部24は、背面塞ぎ部材18が熱交換器10に載置され組み付けされた際に、熱交換器10のフィン10aに圧入できればよく、略直方体の形状に限定されるものではない。圧入部24は、例えば、半円柱状、三角柱状等の他の多角柱状、半球状、等他の形状に形成されてもよい。 As shown in FIGS. 21 and 23, the press-fitting portion 24 is a substantially rectangular parallelepiped rib. The press-fitting portion 24 is not limited to a substantially rectangular parallelepiped shape as long as it can be press-fitted into the fins 10a of the heat exchanger 10 when the back closing member 18 is placed on the heat exchanger 10 and assembled. The press-fitting portion 24 may be formed in another shape such as a semi-cylindrical column, a triangular columnar shape, or another polygonal columnar shape or a hemispherical shape.

 図23に示すように、圧入部24は、背面塞ぎ部材18が熱交換器10に載置され組み付けされた際に、熱交換器10のフィン10aを押圧し、背面塞ぎ部材18が熱交換器10に圧入する状態で熱交換器10に組み付けされる。 As shown in FIG. 23, the press-fitting portion 24 presses the fins 10a of the heat exchanger 10 when the back closing member 18 is placed on the heat exchanger 10 and assembled, and the back closing member 18 presses the fin 10a of the heat exchanger 10. It is assembled to the heat exchanger 10 in a state of being press-fitted into 10.

 図25は、実施の形態1に係る室外機100の塞ぎ部材9を前面下方側から見た斜視図である。側面塞ぎ部材19の側面下壁部19bもまた、圧入部24を有している。圧入部24は、塞ぎ部材9を構成する側面塞ぎ部材19の側面下壁部19bに設けられた突出高さ1mmほどのリブである。すなわち、圧入部24は、側面塞ぎ部材19の熱交換器10に乗る面に設けられている。圧入部24は、側面下壁部19bから下方(Z2側)に突出するように設けられている。圧入部24は、側面側壁部19e側の側面下壁部19bの縁部に沿って長手方向(Y軸方向)に延びるように形成されている。圧入部24は、側面下壁部19bの長手方向(Y軸方向)の一部に形成されている形態に限定されるものではなく、側面下壁部19bの長手方向(Y軸方向)の全領域に形成されてもよい。 FIG. 25 is a perspective view of the closing member 9 of the outdoor unit 100 according to the first embodiment as viewed from the lower front side. The side lower wall portion 19b of the side closing member 19 also has a press-fit portion 24. The press-fitting portion 24 is a rib having a protruding height of about 1 mm provided on the side lower wall portion 19b of the side closing member 19 constituting the closing member 9. That is, the press-fitting portion 24 is provided on the surface of the side closing member 19 on the heat exchanger 10. The press-fitting portion 24 is provided so as to project downward (Z2 side) from the side surface lower wall portion 19b. The press-fitting portion 24 is formed so as to extend in the longitudinal direction (Y-axis direction) along the edge portion of the side surface lower wall portion 19b on the side side wall portion 19e side. The press-fitting portion 24 is not limited to a form formed in a part of the side surface lower wall portion 19b in the longitudinal direction (Y-axis direction), but is not limited to the form formed in a part of the side surface lower wall portion 19b in the longitudinal direction (Y-axis direction). It may be formed in the region.

(センサ取付け部25)
 図26は、実施の形態1に係る室外機100の塞ぎ部材9を前面側方側から見た斜視図である。図25及び図26等を用いてセンサ取付け部25について説明する。塞ぎ部材9は、下壁部にセンサ取付け部25を有する。センサ取付け部25は、内部に外気温度センサ20を収容する。センサ取付け部25は、塞ぎ部材9のL字形状の曲がった部分の下壁部に形成されている。すなわち、センサ取付け部25は、背面塞ぎ部材18と、側面塞ぎ部材19との接続部分の下端部に形成されている。センサ取付け部25は、背面塞ぎ部材18と、側面塞ぎ部材19との合わせ部分において、溝状の空間として形成されている。
(Sensor mounting part 25)
FIG. 26 is a perspective view of the closing member 9 of the outdoor unit 100 according to the first embodiment as viewed from the front side side. The sensor mounting portion 25 will be described with reference to FIGS. 25 and 26. The closing member 9 has a sensor mounting portion 25 on the lower wall portion. The sensor mounting portion 25 houses the outside air temperature sensor 20 inside. The sensor mounting portion 25 is formed on the lower wall portion of the L-shaped bent portion of the closing member 9. That is, the sensor mounting portion 25 is formed at the lower end portion of the connecting portion between the back closing member 18 and the side closing member 19. The sensor mounting portion 25 is formed as a groove-shaped space at the joint portion between the back closing member 18 and the side closing member 19.

 センサ取付け部25は、塞ぎ部材9の前面側(Y1側)から背面側(Y2側)に貫通した溝形状に形成された部分であると共に、塞ぎ部材9の右側(X2側)から左側(X1側)に貫通した溝形状に形成された部分である。すなわち、センサ取付け部25は、背面下壁部18b及び側面下壁部19bに形成された溝形状の部分である。センサ取付け部25は、塞ぎ部材9の下端部において上方に向かって凹んでおり下方に向かって開口するように形成されている。 The sensor mounting portion 25 is a portion formed in a groove shape penetrating from the front side (Y1 side) to the back side (Y2 side) of the closing member 9, and is formed from the right side (X2 side) to the left side (X1) of the closing member 9. It is a portion formed in a groove shape penetrating the side). That is, the sensor mounting portion 25 is a groove-shaped portion formed on the back lower wall portion 18b and the side surface lower wall portion 19b. The sensor mounting portion 25 is formed so as to be recessed upward and open downward at the lower end portion of the closing member 9.

 センサ取付け部25は、背面側取付壁部25aと、側面側取付壁部25bと、側面側取付上壁部25cとによって形成されている。背面側取付壁部25aは、図7、図20及び図25に示すように、背面側塞ぎ部材18を構成する背面左端壁部18dの下端部に設けられている。背面側取付壁部25aは、背面左端壁部18dに対して傾斜する側壁を形成している。そして、背面側取付壁部25aは、取付面部18d1に対して傾斜する側壁を形成している。背面側取付壁部25aの壁面は、背面塞ぎ部材18が熱交換器10に載置された場合に、前面側(Y1側)かつ左側(X1側)に向くように形成されている。 The sensor mounting portion 25 is formed by a back side mounting wall portion 25a, a side mounting wall portion 25b, and a side mounting upper wall portion 25c. As shown in FIGS. 7, 20, and 25, the back side mounting wall portion 25a is provided at the lower end portion of the back left end wall portion 18d constituting the back side closing member 18. The back side mounting wall portion 25a forms a side wall that is inclined with respect to the back left end wall portion 18d. The back side mounting wall portion 25a forms a side wall that is inclined with respect to the mounting surface portion 18d1. The wall surface of the back side mounting wall portion 25a is formed so as to face the front side (Y1 side) and the left side (X1 side) when the back closing member 18 is placed on the heat exchanger 10.

 側面側取付壁部25bは、図11及び図25に示すように、側面側塞ぎ部材19を構成する側面後端壁部19cの下端部に設けられている。側面側取付壁部25bは、側面後端壁部19cに対して傾斜する側壁を形成している。そして、側面側取付壁部25bは、当接部19c1に対して傾斜する側壁を形成している。側面側取付壁部25bの壁面は、側面背面塞ぎ部材19が熱交換器10に載置された場合に、背面側(Y2側)かつ右側(X2側)に向くように形成されている。 As shown in FIGS. 11 and 25, the side surface side mounting wall portion 25b is provided at the lower end portion of the side surface rear end wall portion 19c constituting the side surface side closing member 19. The side mounting wall portion 25b forms a side wall that is inclined with respect to the side rear end wall portion 19c. The side mounting wall portion 25b forms a side wall that is inclined with respect to the contact portion 19c1. The wall surface of the side surface side mounting wall portion 25b is formed so as to face the back surface side (Y2 side) and the right side (X2 side) when the side surface back surface closing member 19 is placed on the heat exchanger 10.

 側面側取付上壁部25cは、図11及び図25に示すように、側面側塞ぎ部材19を構成する側面後端壁部19cの下端部に設けられている。また、側面側取付上壁部25cは、側面側取付壁部25bの上端部に設けられている。側面側取付上壁部25cは、側面下壁部19bよりも上方(Z1側)に設けられた底壁である。側面側取付上壁部25cの壁面は、側面背面塞ぎ部材19が熱交換器10に載置された場合に、下方(Z2側)に向くように形成されており、熱交換器10の曲面領域10gの上端面と対向するように形成されている。 As shown in FIGS. 11 and 25, the side mounting upper wall portion 25c is provided at the lower end portion of the side rear end wall portion 19c constituting the side closing member 19. Further, the side surface side mounting upper wall portion 25c is provided at the upper end portion of the side surface side mounting wall portion 25b. The side mounting upper wall portion 25c is a bottom wall provided above the side surface lower wall portion 19b (Z1 side). The wall surface of the side surface mounting upper wall portion 25c is formed so as to face downward (Z2 side) when the side surface back closing member 19 is placed on the heat exchanger 10, and is a curved surface region of the heat exchanger 10. It is formed so as to face the upper end surface of 10 g.

 図27は、実施の形態1に係る室外機100の熱交換器10の上に配置した外気温度センサ20の取り付け状態を示す拡大図である。図27に示すように、外気温度センサ20は、背面塞ぎ部材18と側面塞ぎ部材19との合わせ部分に配置されている。室外機100は、熱交換器10の上に外気温度センサ20を取り付けした上に、塞ぎ部材9が配置されている。塞ぎ部材9は、背面塞ぎ部材18及び側面塞ぎ部材19の合わせ部において、外気温度センサ20の配置される箇所にはセンサ取付け部25によって空間が形成されている。そのため、室外機100は、外気温度センサ20が熱交換器10に取り付けられていても熱交換器10の上に塞ぎ部材9を配置させることができる。 FIG. 27 is an enlarged view showing an attached state of the outside air temperature sensor 20 arranged on the heat exchanger 10 of the outdoor unit 100 according to the first embodiment. As shown in FIG. 27, the outside air temperature sensor 20 is arranged at the mating portion between the back closing member 18 and the side closing member 19. In the outdoor unit 100, the outside air temperature sensor 20 is mounted on the heat exchanger 10, and the closing member 9 is arranged on the outdoor unit 100. In the closing member 9, a space is formed by the sensor mounting portion 25 at the portion where the outside air temperature sensor 20 is arranged in the mating portion of the back closing member 18 and the side closing member 19. Therefore, the outdoor unit 100 can arrange the closing member 9 on the heat exchanger 10 even if the outside air temperature sensor 20 is attached to the heat exchanger 10.

(リード線ガイド部26)
 外気温度センサ20は、図5及び図6に示すように、リード線20aを有する。室外機100は、筐体50内において外気温度センサ20のリード線20aの経路を規制する必要がある。塞ぎ部材9は、リード線ガイド部26を有する。リード線ガイド部26は、外気温度センサ20のリード線20aの経路を規制するものであり、塞ぎ部材9に設けられている。
(Lead wire guide unit 26)
The outside air temperature sensor 20 has a lead wire 20a as shown in FIGS. 5 and 6. The outdoor unit 100 needs to regulate the path of the lead wire 20a of the outside air temperature sensor 20 in the housing 50. The closing member 9 has a lead wire guide portion 26. The lead wire guide portion 26 regulates the path of the lead wire 20a of the outside air temperature sensor 20, and is provided on the closing member 9.

 リード線ガイド部26は、背面塞ぎ部材18の背面上壁部18aに設けられている。なお、リード線ガイド部26は、背面塞ぎ部材18の代わりに側面塞ぎ部材19の側面上壁部19aに設けられてもよい。リード線ガイド部26は、背面側(Y2側)の背面側壁部18eに対して、前面側(Y1側)となる開口部18h側に形成されている。リード線ガイド部26は、背面上壁部18aの開口部18hを形成する縁部に形成されている。リード線ガイド部26は、背面側塞ぎ部材18の長手方向(X軸方向)に沿って2つ形成されている。但し、リード線ガイド部26の形成数は、2つに限定されるものではなく、リード線ガイド部26は、1つ又は3つ以上形成されてもよい。 The lead wire guide portion 26 is provided on the back upper wall portion 18a of the back closing member 18. The lead wire guide portion 26 may be provided on the side upper wall portion 19a of the side closing member 19 instead of the back closing member 18. The lead wire guide portion 26 is formed on the opening 18h side, which is the front side (Y1 side), with respect to the back side wall portion 18e on the back side (Y2 side). The lead wire guide portion 26 is formed at an edge portion forming an opening 18h of the back surface upper wall portion 18a. Two lead wire guide portions 26 are formed along the longitudinal direction (X-axis direction) of the back surface side closing member 18. However, the number of lead wire guide portions 26 formed is not limited to two, and one or three or more lead wire guide portions 26 may be formed.

 図28は、実施の形態1に係る室外機100の塞ぎ部材9に設けられたリード線ガイド部26の斜視図である。図29は、図28に示すリード線ガイド部26の側面図である。図28及び図29を用いて、リード線ガイド部26の詳細な構成について説明する。リード線ガイド部26は、板状部26aと、ガイド爪部26bとを有する。 FIG. 28 is a perspective view of the lead wire guide portion 26 provided on the closing member 9 of the outdoor unit 100 according to the first embodiment. FIG. 29 is a side view of the lead wire guide portion 26 shown in FIG. 28. A detailed configuration of the lead wire guide portion 26 will be described with reference to FIGS. 28 and 29. The lead wire guide portion 26 has a plate-shaped portion 26a and a guide claw portion 26b.

 板状部26aは、板状の部材である。板状部26aは、背面上壁部18aの開口部18hを形成する縁部に設けられており、背面上壁部18aの長手方向(X軸方向)に沿って延びるように設けられていると共に、開口部18h内に突出して上下方向(Z軸方向)に延びるように設けられている。背面塞ぎ部材18に設けられた板状部26aの板面は、少なくとも前面側(Y1側)に向いている。 The plate-shaped portion 26a is a plate-shaped member. The plate-shaped portion 26a is provided at the edge portion forming the opening 18h of the back surface upper wall portion 18a, and is provided so as to extend along the longitudinal direction (X-axis direction) of the back surface upper wall portion 18a. , It is provided so as to project into the opening 18h and extend in the vertical direction (Z-axis direction). The plate surface of the plate-shaped portion 26a provided on the back closing member 18 faces at least the front side (Y1 side).

 ガイド爪部26bは、板状部26aと共にリード線20aを保持する爪である。ガイド爪部26bは、板状部26aの下端部から板状部26aの板面が向く前方側(Y1側)に突出すると共に、曲折して上方(Z1側)に延びるように形成されている。ガイド爪部26bは、図29に示すように、側面視でL字形状となるように形成されている。ガイド爪部26bは、突出方向の先端部に抜け止め部26cが設けられている。抜け止め部26cは、ガイド爪部26bの根元付近となる基部側が、ガイド爪部26bの先端側と比較して肉厚となるように、側面視で略三角形状に形成されている。 The guide claw portion 26b is a claw that holds the lead wire 20a together with the plate-shaped portion 26a. The guide claw portion 26b is formed so as to project from the lower end portion of the plate-shaped portion 26a to the front side (Y1 side) where the plate surface of the plate-shaped portion 26a faces, and to bend and extend upward (Z1 side). .. As shown in FIG. 29, the guide claw portion 26b is formed so as to have an L shape in a side view. The guide claw portion 26b is provided with a retaining portion 26c at the tip portion in the protruding direction. The retaining portion 26c is formed in a substantially triangular shape in a side view so that the base side near the root of the guide claw portion 26b is thicker than the tip side of the guide claw portion 26b.

 図5及び図6に示すように、塞ぎ部材9は、外気温度センサ20のリード線20aを、背面塞ぎ部材18に設けられたリード線ガイド部26のガイド爪部26b内に配置させることで、リード線20aの経路を規制している。 As shown in FIGS. 5 and 6, the closing member 9 arranges the lead wire 20a of the outside air temperature sensor 20 in the guide claw portion 26b of the lead wire guide portion 26 provided on the back closing member 18. The route of the lead wire 20a is regulated.

(天面パネル受け部27)
 図6及ぶ図7に示すように、塞ぎ部材9は、天面パネル受け部27を有する。天面パネル受け部27は、天面パネル3と当接し、天面パネル3側からの荷重を受ける。天面パネル受け部27は、塞ぎ部材9の上面部に形成されている。天面パネル受け部27は、塞ぎ部材9の上面部から上方に突出するように設けられている。天面パネル受け部27は、背面側塞ぎ部材18に4つ、側面側塞ぎ部材19に1つ形成されているが、塞ぎ部材9における天面パネル受け部27の形成数は、当該数に限定されない。天面パネル受け部27は、背面側塞ぎ部材18及び側面側塞ぎ部材19にそれぞれ1つ以上形成されていればよい。
(Top panel receiving part 27)
As shown in FIG. 6 and FIG. 7, the closing member 9 has a top panel receiving portion 27. The top panel receiving portion 27 comes into contact with the top panel 3 and receives a load from the top panel 3 side. The top panel receiving portion 27 is formed on the upper surface portion of the closing member 9. The top panel receiving portion 27 is provided so as to project upward from the upper surface portion of the closing member 9. The top panel receiving portion 27 is formed on the back side closing member 18 and one on the side closing member 19, but the number of top panel receiving portions 27 formed in the closing member 9 is limited to the number. Not done. One or more top panel receiving portions 27 may be formed on the back side closing member 18 and the side closing member 19, respectively.

 天面パネル受け部27は、背面側塞ぎ部材18の背面上壁部18aに設けられており、背面上壁部18aから上方に突出するように設けられている。天面パネル受け部27は、背面上壁部18aの長手方向(X軸方向)に沿って延びるように設けられている。天面パネル受け部27の長手方向(X軸方向)の長さは限定されるものではなく、天面パネル受け部27の形成位置によってそれぞれ長手方向(X軸方向)の長さが異なってもよい。 The top panel receiving portion 27 is provided on the back upper wall portion 18a of the back side closing member 18, and is provided so as to project upward from the back upper wall portion 18a. The top panel receiving portion 27 is provided so as to extend along the longitudinal direction (X-axis direction) of the back upper wall portion 18a. The length of the top panel receiving portion 27 in the longitudinal direction (X-axis direction) is not limited, and even if the length in the longitudinal direction (X-axis direction) differs depending on the formation position of the top panel receiving portion 27. Good.

 また、天面パネル受け部27は、側面側塞ぎ部材19の側面上壁部19aに設けられており、側面上壁部19aから上方に突出するように設けられている。天面パネル受け部27は、側面上壁部19aの長手方向(Y軸方向)に沿って延びるように設けられている。天面パネル受け部27の長手方向(Y軸方向)の長さは限定されるものではなく、天面パネル受け部27の形成位置によってそれぞれ長手方向(Y軸方向)の長さが異なってもよい。 Further, the top panel receiving portion 27 is provided on the side surface upper wall portion 19a of the side surface side closing member 19, and is provided so as to project upward from the side surface upper wall portion 19a. The top panel receiving portion 27 is provided so as to extend along the longitudinal direction (Y-axis direction) of the side surface upper wall portion 19a. The length of the top panel receiving portion 27 in the longitudinal direction (Y-axis direction) is not limited, and even if the length in the longitudinal direction (Y-axis direction) differs depending on the formation position of the top panel receiving portion 27. Good.

 図30は、図3に示すF-F線位置の室外機100の概略断面図である。図31は、図30に示すH部における背面側塞ぎ部材18と天面パネル3との関係を示す拡大図である。なお、図31では、天面パネル3の内壁形状と天面パネル受け部27の形状とが解りやすくなるように天面パネル3と天面パネル受け部27とを離して図示している。図30及び図31に示すように、天面パネル受け部27は、天面部27aを有する。天面部27aは、天面パネル受け部27の上面部である。天面部27aは、筐体50内において、天面パネル3の内壁面と対向する。天面パネル受け部27の天面部27aは、天面パネル3の内壁に沿う形状で形成されている。図30に示す天面パネル3の形状例では、天面パネル3は、筐体50の中央から外側に向かって下方に傾斜する傾斜面部3aを有している。天面パネル受け部27の天面部27aは、傾斜面部3aの内壁に沿うように、筐体50の中央から外側に向かって下方に傾斜するように形成されている。すなわち、天面パネル受け部27の天面部27aは、上下方向(Z軸方向)において、前面側(Y1側)となる開口部18h側が、背面側(Y2側)となる背面側壁部18e側よりも、背面上壁部18aとの距離が大きくなるように傾斜している。また、図30に示す天面パネル3の形状例では、天面パネル3は、筐体50の中央から外側に向かって曲面を有するように形成されている。天面パネル受け部27の天面部27aは、傾斜面部3aの内壁に沿うように、筐体50の中央から外側に向かって曲面を有するように形成されている。 FIG. 30 is a schematic cross-sectional view of the outdoor unit 100 at the FF line position shown in FIG. FIG. 31 is an enlarged view showing the relationship between the back surface closing member 18 and the top panel 3 in the H portion shown in FIG. 30. In FIG. 31, the top panel 3 and the top panel receiving portion 27 are shown separately so that the shape of the inner wall of the top panel 3 and the shape of the top panel receiving portion 27 can be easily understood. As shown in FIGS. 30 and 31, the top panel receiving portion 27 has a top surface portion 27a. The top surface portion 27a is an upper surface portion of the top surface panel receiving portion 27. The top surface portion 27a faces the inner wall surface of the top surface panel 3 in the housing 50. The top surface portion 27a of the top surface panel receiving portion 27 is formed in a shape along the inner wall of the top surface panel 3. In the shape example of the top panel 3 shown in FIG. 30, the top panel 3 has an inclined surface portion 3a that inclines downward from the center of the housing 50 toward the outside. The top surface portion 27a of the top surface panel receiving portion 27 is formed so as to be inclined downward from the center of the housing 50 toward the outside along the inner wall of the inclined surface portion 3a. That is, in the top surface portion 27a of the top surface panel receiving portion 27, in the vertical direction (Z-axis direction), the opening 18h side which is the front side (Y1 side) is from the back side wall portion 18e side which is the back side (Y2 side). Also, it is inclined so that the distance from the back upper wall portion 18a becomes large. Further, in the shape example of the top panel 3 shown in FIG. 30, the top panel 3 is formed so as to have a curved surface from the center of the housing 50 toward the outside. The top surface portion 27a of the top surface panel receiving portion 27 is formed so as to have a curved surface from the center to the outside of the housing 50 along the inner wall of the inclined surface portion 3a.

 天面部27aは、背面側塞ぎ部材18の長手方向(X軸方向)に延びるように形成されている。天面パネル受け部27の天面部27aは、背面側塞ぎ部材18の長手方向(X軸方向)において、上下方向(Z軸方向)における背面上壁部18aとの間の距離が等しくなるように形成されている。なお、天面部27aの形状は、筐体50の中央から外側に向かって下方に傾斜するように形成されている形状等に限定されるものではない。天面部27aの形状は、上述したように、天面パネル3の内壁に沿う形状に形成されていればよい。例えば、天面パネル3の内壁に段差が形成されている場合、天面部27aは、天面パネル3の段差に沿うような形状に形成されてもよい。 The top surface portion 27a is formed so as to extend in the longitudinal direction (X-axis direction) of the back surface closing member 18. The top surface portion 27a of the top surface panel receiving portion 27 is set to have the same distance from the back surface upper wall portion 18a in the vertical direction (Z axis direction) in the longitudinal direction (X-axis direction) of the back surface side closing member 18. It is formed. The shape of the top surface portion 27a is not limited to the shape formed so as to incline downward from the center of the housing 50 toward the outside. As described above, the shape of the top surface portion 27a may be formed along the inner wall of the top surface panel 3. For example, when a step is formed on the inner wall of the top panel 3, the top portion 27a may be formed in a shape along the step of the top panel 3.

 上記の説明では、背面側塞ぎ部材18の天面パネル受け部27と、天面パネル3との関係について説明したが、側面塞ぎ部材19の天面パネル受け部27と、天面パネル3との関係も同様である。すなわち、天面パネル受け部27の天面部27aは、上下方向(Z軸方向)において、右側(X2側)となる開口部19h側が、左側(X1側)となる側面側壁部19e側よりも、側面上壁部19aとの距離が大きくなるように傾斜している。また、側面側塞ぎ部材19の天面部27aは、傾斜面部3aの内壁に沿うように、筐体50の中央から外側に向かって曲面を有するように形成されている。天面部27aは、側面側塞ぎ部材19の長手方向(Y軸方向)に延びるように形成されている。天面パネル受け部27の天面部27aは、側面側塞ぎ部材19の長手方向(Y軸方向)において、上下方向(Z軸方向)における側面上壁部19aとの間の距離が等しくなるように形成されている。 In the above description, the relationship between the top panel receiving portion 27 of the back side closing member 18 and the top panel 3 has been described, but the top panel receiving portion 27 of the side closing member 19 and the top panel 3 The relationship is similar. That is, in the top surface portion 27a of the top surface panel receiving portion 27, in the vertical direction (Z-axis direction), the opening 19h side on the right side (X2 side) is closer to the side side wall portion 19e side on the left side (X1 side). It is inclined so that the distance from the side upper wall portion 19a becomes large. Further, the top surface portion 27a of the side surface side closing member 19 is formed so as to have a curved surface from the center to the outside of the housing 50 along the inner wall of the inclined surface portion 3a. The top surface portion 27a is formed so as to extend in the longitudinal direction (Y-axis direction) of the side surface side closing member 19. The top surface portion 27a of the top surface panel receiving portion 27 is set to have the same distance from the side surface upper wall portion 19a in the vertical direction (Z axis direction) in the longitudinal direction (Y-axis direction) of the side surface side closing member 19. It is formed.

[塞ぎ部材9の取付け]
 図32は、実施の形態1に係る室外機100の、背面塞ぎ部材18の熱交換器10への取り付け状態を示す拡大図である。図33は、実施の形態1に係る室外機100における塞ぎ部材9及び熱交換器10の取り付け状態を示す拡大図である。図32及び図33を用いて、塞ぎ部材9の熱交換器10への取り付け作業について説明する。
[Installation of closing member 9]
FIG. 32 is an enlarged view showing a state in which the back closing member 18 of the outdoor unit 100 according to the first embodiment is attached to the heat exchanger 10. FIG. 33 is an enlarged view showing an attached state of the closing member 9 and the heat exchanger 10 in the outdoor unit 100 according to the first embodiment. The work of attaching the closing member 9 to the heat exchanger 10 will be described with reference to FIGS. 32 and 33.

 作業者は、背面塞ぎ部材18を熱交換器10の上に載せるとき、背面塞ぎ部材18の長手方向の端部に設けられた引掛部18c7を熱交換器10の熱交換器端板金10dのフランジ部10d3に突き当て、背面塞ぎ部材18を位置決めして熱交換器10上に配置する。引掛部18c7は、背面塞ぎ部材18を熱交換器10に取り付けする際に、熱交換器10に対する背面塞ぎ部材18の位置を決定するために利用される部分である。熱交換器端板金10dは、複数のフィン10aが並ぶ方向において、熱交換器10の最も機械室32側の端部に配置された板金である。熱交換器端板金10dは、熱交換器10を室外機100の内部に取り付ける際に、ボルトによって仕切板17及び側面パネル2に固定されて取り付けられる。フランジ部10d3は、熱交換器端板金10dの上端部から、機械室32側に突出し、板状に張り出した部分である。 When the back closing member 18 is placed on the heat exchanger 10, the operator attaches the hooking portion 18c7 provided at the longitudinal end of the back closing member 18 to the flange of the heat exchanger end sheet metal 10d of the heat exchanger 10. The back closing member 18 is positioned abutting against the portion 10d3 and arranged on the heat exchanger 10. The hook portion 18c7 is a portion used for determining the position of the back closing member 18 with respect to the heat exchanger 10 when the back closing member 18 is attached to the heat exchanger 10. The heat exchanger end sheet metal 10d is a sheet metal arranged at the end of the heat exchanger 10 on the most machine room 32 side in the direction in which the plurality of fins 10a are lined up. When the heat exchanger 10 is attached to the inside of the outdoor unit 100, the heat exchanger end sheet metal 10d is fixed to the partition plate 17 and the side panel 2 by bolts and attached. The flange portion 10d3 is a portion protruding from the upper end portion of the heat exchanger end sheet metal 10d toward the machine room 32 and projecting into a plate shape.

 塞ぎ部材9の背面塞ぎ部材18は、背面塞ぎ部材18に取り付けられたネジ固定部材21と、仕切板17とが仕切板側固定ネジ28aによりネジ固定されることで、仕切板17に固定される。また、塞ぎ部材9の背面塞ぎ部材18は、背面塞ぎ部材18に取り付けられたネジ固定部材21と、側面パネル2とが側面パネル側固定ネジ28bによりネジ固定されることで、筐体50に固定される。すなわち、塞ぎ部材9の背面塞ぎ部材18は、ネジ固定によって、仕切板17と筐体50を構成する側面パネル2とに固定される。 The back closing member 18 of the closing member 9 is fixed to the partition plate 17 by screwing the screw fixing member 21 attached to the back closing member 18 and the partition plate 17 with the partition plate side fixing screw 28a. .. Further, the back closing member 18 of the closing member 9 is fixed to the housing 50 by screwing the screw fixing member 21 attached to the back closing member 18 and the side panel 2 with the side panel side fixing screws 28b. Will be done. That is, the back closing member 18 of the closing member 9 is fixed to the partition plate 17 and the side panel 2 constituting the housing 50 by screw fixing.

 塞ぎ部材9及び外気温度センサ20の設置の順番について、更に詳細に説明する。作業者は、塞ぎ部材9の背面塞ぎ部材18を、上述のように位置決めして熱交換器10に載置し、ネジ固定部材21と共に塞ぎ部材9の背面塞ぎ部材18を仕切板17と側面パネル2とに固定する。次に、作業者は、外気温度センサ20を熱交換器10の上部に設置する。次に、作業者は、塞ぎ部材9の側面塞ぎ部材19を背面塞ぎ部材18に当接させて、側面塞ぎ部材19を上方から下方に背面塞ぎ部材18に摺動させることで、側面塞ぎ部材19を背面塞ぎ部材18に嵌め合わせる。そして、作業者は、側面塞ぎ部材19を背面塞ぎ部材18に取り付けると共に、熱交換器10に載置する。なお、上述した塞ぎ部材9及び外気温度センサ20の設置順は一例であり、塞ぎ部材9及び外気温度センサ20の設置順は、上記の順番に限定されるものではない。例えば、作業者は、塞ぎ部材9を熱交換器10に設置する前に、側面塞ぎ部材19と背面塞ぎ部材18とを嵌め合わせてもよい。 The order of installation of the closing member 9 and the outside air temperature sensor 20 will be described in more detail. The operator positions the back closing member 18 of the closing member 9 as described above and places it on the heat exchanger 10, and together with the screw fixing member 21, the back closing member 18 of the closing member 9 is placed on the partition plate 17 and the side panel. Fix to 2. Next, the operator installs the outside air temperature sensor 20 on the upper part of the heat exchanger 10. Next, the operator brings the side closing member 19 of the closing member 9 into contact with the back closing member 18 and slides the side closing member 19 from above to below on the back closing member 18, so that the side closing member 19 Is fitted to the back closing member 18. Then, the operator attaches the side closing member 19 to the back closing member 18 and places it on the heat exchanger 10. The installation order of the closing member 9 and the outside air temperature sensor 20 is an example, and the installation order of the closing member 9 and the outside air temperature sensor 20 is not limited to the above order. For example, the operator may fit the side closing member 19 and the back closing member 18 before installing the closing member 9 in the heat exchanger 10.

 図30に示すように、塞ぎ部材9の天面パネル受け部27は、天面パネル3と当接する部分に天面部27aを設けている。室外機100は、塞ぎ部材9が熱交換器10に取り付けられると、筐体50内において、塞ぎ部材9の背面塞ぎ部材18及び側面塞ぎ部材19に設けられた天面部27aが天面パネル3と対向している。そして、塞ぎ部材9の背面塞ぎ部材18及び側面塞ぎ部材19は、上下方向(Z軸方向)において、天面パネル3と熱交換器10とによって挟まれて保持されている。 As shown in FIG. 30, the top surface panel receiving portion 27 of the closing member 9 is provided with a top surface portion 27a at a portion that comes into contact with the top surface panel 3. In the outdoor unit 100, when the closing member 9 is attached to the heat exchanger 10, the top surface portion 27a provided on the back closing member 18 and the side closing member 19 of the closing member 9 becomes the top surface panel 3 in the housing 50. Facing each other. The back closing member 18 and the side closing member 19 of the closing member 9 are sandwiched and held by the top panel 3 and the heat exchanger 10 in the vertical direction (Z-axis direction).

[室外機100の動作]
 実施の形態1に係る室外機100の駆動状態では、熱交換器10内を流れる冷媒と室外空気との間の熱交換の効率を高めるために、送風機5が駆動している。送風機5は、熱交換器10とプロペラファン5bとの間を負圧にして、筐体50の背面側及び側面側から筐体50の内部に外気を導入する。そして、送風機5は、筐体50の内部に導入されて熱交換が行われた空気を、筐体50の前面側(Y1側)に形成された吹出口8から筐体50外に向かって排出させる。この際、室外機100の筐体50には、背面開口部7及び側面開口部1aを介して吸込空気が流入する。そして、筐体50内に流入した吸込空気は、熱交換器10のフィン10aの間を流れることで、伝熱管10cの内部を流れる冷媒との間において熱交換が行われる。
[Operation of outdoor unit 100]
In the driving state of the outdoor unit 100 according to the first embodiment, the blower 5 is driven in order to improve the efficiency of heat exchange between the refrigerant flowing in the heat exchanger 10 and the outdoor air. The blower 5 creates a negative pressure between the heat exchanger 10 and the propeller fan 5b, and introduces outside air into the housing 50 from the back surface side and the side surface side of the housing 50. Then, the blower 5 discharges the air that has been introduced into the housing 50 and has undergone heat exchange from the air outlet 8 formed on the front side (Y1 side) of the housing 50 toward the outside of the housing 50. Let me. At this time, the suction air flows into the housing 50 of the outdoor unit 100 through the back opening 7 and the side opening 1a. Then, the sucked air that has flowed into the housing 50 flows between the fins 10a of the heat exchanger 10 to exchange heat with the refrigerant flowing inside the heat transfer tube 10c.

[室外機100の作用効果]
 空気調和機の室外機100は、吸込口51である背面開口部7及び側面開口部1aの内部に配置されていると共に、熱交換器10と筐体50の天面パネル3との間に配置されており、熱交換器10と天面パネル3との間の壁を構成して筐体50内への空気の通過を防ぐ塞ぎ部材9を有する。そして、塞ぎ部材9は、熱交換器10に載置されていると共に天面パネル3と当接しているものである。塞ぎ部材9を有しない室外機は、機械室の部品構成等によって筐体の高さに制約があり、筐体の高さと、熱交換器の高さとが異なる場合、熱交換器と筐体の天面パネルとの間に空間が形成されてしまうために熱交換器において効率よく熱交換を行うことが困難になる。しかし、室外機100は、塞ぎ部材9を有することで、熱交換器10と天面パネル3との間に空間が形成されることを防ぐことができる。室外機100は、熱交換器10と筐体50の天面パネル3との間に配置される塞ぎ部材9を有するため、必要とされる熱交換量に応じて熱交換器10の高さを筐体50の高さよりも低くすることができる。その結果、室外機100は、機械室32の部品構成等によって筐体50の高さに制約があっても、筐体50の高さに合わせて熱交換器10の高さを高くする必要がなく、必要とされる熱交換量と、熱交換できる熱交換量との間の差を抑制することができる。また、室外機100は、必要とされる熱交換量を熱交換できる熱交換器10に対して、熱交換器10と天面パネル3との間の壁を構成する塞ぎ部材9を使用する。そのため、室外機100は、必要とされる熱交換量を熱交換できる熱交換器10に対して、筐体50の高さと同じ高さまで高くした熱交換器10を使用するよりも部品コストを抑えることができる。
[Action and effect of outdoor unit 100]
The outdoor unit 100 of the air conditioner is arranged inside the rear opening 7 and the side opening 1a, which are the suction ports 51, and is arranged between the heat exchanger 10 and the top panel 3 of the housing 50. It has a closing member 9 that forms a wall between the heat exchanger 10 and the top panel 3 to prevent air from passing into the housing 50. The closing member 9 is placed on the heat exchanger 10 and is in contact with the top panel 3. In an outdoor unit that does not have the closing member 9, the height of the housing is restricted by the component configuration of the machine room, etc., and if the height of the housing and the height of the heat exchanger are different, the heat exchanger and the housing Since a space is formed between the heat exchanger and the top panel, it becomes difficult to efficiently exchange heat in the heat exchanger. However, since the outdoor unit 100 has the closing member 9, it is possible to prevent the formation of a space between the heat exchanger 10 and the top panel 3. Since the outdoor unit 100 has a closing member 9 arranged between the heat exchanger 10 and the top panel 3 of the housing 50, the height of the heat exchanger 10 is adjusted according to the required heat exchange amount. It can be lower than the height of the housing 50. As a result, even if the height of the housing 50 is restricted by the component configuration of the machine room 32 or the like, the outdoor unit 100 needs to increase the height of the heat exchanger 10 according to the height of the housing 50. It is possible to suppress the difference between the required amount of heat exchange and the amount of heat exchange that can be exchanged. Further, the outdoor unit 100 uses a closing member 9 forming a wall between the heat exchanger 10 and the top panel 3 with respect to the heat exchanger 10 capable of exchanging the required heat exchange amount. Therefore, the outdoor unit 100 suppresses the component cost as compared with the heat exchanger 10 capable of exchanging the required heat exchange amount, as compared with using the heat exchanger 10 raised to the same height as the height of the housing 50. be able to.

 塞ぎ部材9を有しない室外機において、熱交換器の高さが所定分必要でないところを樹脂の平板で隙間埋めすることも考えられるが、室外機の段積みなどによって天面パネルに荷重が掛かった時に天面パネルの変形が生じる恐れがある。背面塞ぎ部材18は、熱交換器10と当接する背面下壁部18bと、天面パネル3と対向する背面上壁部18aと、背面下壁部18bと背面上壁部18aとの間に位置し、吸込口51である背面開口部7の内部に配置される背面側壁部18eと、を有する。また、背面塞ぎ部材18は、複数のフィン10aの積層方向において、背面下壁部18b、背面上壁部18a及び背面側壁部18eの両端部に位置する背面右端壁部18c及び背面左端壁部18dを有する。そのため、背面塞ぎ部材18は、強度を確保することができ、背面塞ぎ部材18が、熱交換器10と天面パネル3との間に配置されることで、上下方向(Z軸方向)における筐体50の強度を確保することができる。 In an outdoor unit that does not have a closing member 9, it is conceivable to fill a gap with a resin flat plate where the height of the heat exchanger is not required for a predetermined amount, but a load is applied to the top panel due to stacking of the outdoor units. At that time, the top panel may be deformed. The back closing member 18 is located between the back lower wall portion 18b in contact with the heat exchanger 10, the back upper wall portion 18a facing the top panel 3, and the back lower wall portion 18b and the back upper wall portion 18a. It also has a back side wall portion 18e arranged inside the back opening 7 which is a suction port 51. Further, the back closing member 18 is a back right end wall portion 18c and a back left end wall portion 18d located at both ends of the back lower wall portion 18b, the back upper wall portion 18a and the back side wall portion 18e in the stacking direction of the plurality of fins 10a. Has. Therefore, the strength of the back closing member 18 can be ensured, and by arranging the back closing member 18 between the heat exchanger 10 and the top panel 3, the housing in the vertical direction (Z-axis direction) The strength of the body 50 can be secured.

 側面塞ぎ部材19は、熱交換器10と当接する側面下壁部19bと、天面パネル3と対向する側面上壁部19aと、側面下壁部19bと側面上壁部19aとの間に位置し、吸込口51である側面開口部1aの内部に配置される側面側壁部19eと、を有する。また、側面塞ぎ部材19は、複数のフィン10aの積層方向において、側面下壁部19b、側面上壁部19a及び側面側壁部19eの両端部に位置する側面後端壁部19c及び側面前端壁部19dを有する。そのため、側面塞ぎ部材19は、強度を確保することができ、側面塞ぎ部材19が、熱交換器10と天面パネル3との間に配置されることで、上下方向(Z軸方向)における筐体50の強度を確保することができる。 The side closing member 19 is located between the side lower wall portion 19b that contacts the heat exchanger 10, the side upper wall portion 19a that faces the top panel 3, and the side lower wall portion 19b and the side surface upper wall portion 19a. It also has a side wall portion 19e arranged inside the side opening 1a which is a suction port 51. Further, the side closing member 19 is a side rear end wall portion 19c and a side front end wall portion located at both ends of the side lower wall portion 19b, the side upper wall portion 19a and the side side wall portion 19e in the stacking direction of the plurality of fins 10a. Has 19d. Therefore, the strength of the side closing member 19 can be ensured, and the side closing member 19 is arranged between the heat exchanger 10 and the top panel 3, so that the housing in the vertical direction (Z-axis direction) can be secured. The strength of the body 50 can be secured.

 背面下壁部18b及び側面下壁部19bは、熱交換器10の厚み方向から熱交換器10と当接し、熱交換器10を挟持する押え部23を有する。塞ぎ部材9は、押え部23によって水平方向の移動が抑制され、また、倒れることが抑制されるため、熱交換器10によって安定して支持される。 The back lower wall portion 18b and the side lower wall portion 19b have a holding portion 23 that comes into contact with the heat exchanger 10 from the thickness direction of the heat exchanger 10 and sandwiches the heat exchanger 10. The closing member 9 is stably supported by the heat exchanger 10 because the holding portion 23 suppresses the movement in the horizontal direction and the closing member 9 is suppressed from falling.

 押え部23は、複数のフィン10a同士の間に嵌る位置ズレ抑制リブ23bを有する。上述したように、熱交換器10は、複数のフィン10aが左右方向(X軸方向)に積層して構成されている。背面塞ぎ部材18の位置ズレ抑制リブ23bが、フィン10aとフィン10aとの間に収まり配置されることで、背面塞ぎ部材18は熱交換器10に対して左右方向(X軸方向)へずれることがない。そのため、背面塞ぎ部材18は、熱交換器10に対して位置決めされた位置で保持される。また、L字形状に形成された熱交換器10は、複数のフィン10aが前後方向(Y軸方向)にも積層して構成されている。側面塞ぎ部材19の位置ズレ抑制リブ23bが、フィン10aとフィン10aとの間に収まり配置されることで、側面塞ぎ部材19は熱交換器10に対して前後方向(Y軸方向)へずれることがない。そのため、側面塞ぎ部材19は、熱交換器10に対して位置決めされた位置で保持される。 The pressing portion 23 has a positional deviation suppressing rib 23b that fits between the plurality of fins 10a. As described above, the heat exchanger 10 is configured by stacking a plurality of fins 10a in the left-right direction (X-axis direction). The rear closing member 18 is arranged so as to be accommodated between the fins 10a and the fins 10a, so that the back closing member 18 is displaced in the left-right direction (X-axis direction) with respect to the heat exchanger 10. There is no. Therefore, the back closing member 18 is held at a position positioned with respect to the heat exchanger 10. Further, the heat exchanger 10 formed in an L shape is configured by laminating a plurality of fins 10a in the front-rear direction (Y-axis direction). The misalignment suppressing rib 23b of the side closing member 19 is arranged so as to be accommodated between the fins 10a, so that the side closing member 19 is displaced in the front-rear direction (Y-axis direction) with respect to the heat exchanger 10. There is no. Therefore, the side closing member 19 is held at a position positioned with respect to the heat exchanger 10.

 背面下壁部18b及び側面下壁部19bは、複数のフィン10aの縁部に圧入される圧入部24を有する。室外機100は、背面塞ぎ部材18及び側面塞ぎ部材19が熱交換器10に圧入することにより、天面パネル3が背面塞ぎ部材18及び側面塞ぎ部材19に取り付けられた状態で、背面塞ぎ部材18及び側面塞ぎ部材19が熱交換器10に圧入保持される。そのため、室外機100は、背面塞ぎ部材18及び側面塞ぎ部材19と熱交換器10との間に隙間が生じない。その結果、室外機100は、運転時等に振動しても背面塞ぎ部材18及び側面塞ぎ部材19と熱交換器10との摺動が抑制されるため、例えば、背面塞ぎ部材18とフィン10aとのこすれ合う音が発生しない。 The back lower wall portion 18b and the side lower wall portion 19b have a press-fit portion 24 that is press-fitted into the edges of the plurality of fins 10a. In the outdoor unit 100, the back closing member 18 and the side closing member 19 are press-fitted into the heat exchanger 10, so that the top panel 3 is attached to the back closing member 18 and the side closing member 19, and the back closing member 18 is attached. And the side closing member 19 is press-fitted and held in the heat exchanger 10. Therefore, in the outdoor unit 100, there is no gap between the back closing member 18 and the side closing member 19 and the heat exchanger 10. As a result, even if the outdoor unit 100 vibrates during operation or the like, the sliding of the back closing member 18 and the side closing member 19 and the heat exchanger 10 is suppressed. Therefore, for example, the back closing member 18 and the fin 10a There is no sound of passing each other.

 背面上壁部18a及び側面上壁部19aは、天面パネル3と当接し、背面上壁部18a及び側面上壁部19aから突出して天面パネル3側からの荷重を受ける天面パネル受け部27を有する。そのため、室外機100は、室外機100の段積み等によって天面パネル3に荷重が掛かった場合でも天面パネル3の変形を抑制することができる。 The back upper wall portion 18a and the side upper wall portion 19a are in contact with the top panel 3 and project from the back upper wall portion 18a and the side upper wall portion 19a to receive the load from the top panel 3 side. It has 27. Therefore, the outdoor unit 100 can suppress the deformation of the top panel 3 even when a load is applied to the top panel 3 due to stacking of the outdoor units 100 or the like.

 天面パネル受け部27は、天面パネル3の内壁面と対向し、天面パネル3の内壁に沿う形状に形成されている天面部27aを有する。天面パネル受け部27の天面部27aは、天面パネル3の内壁に沿う形状に形成されている。そのため、室外機100は、倉庫保管時等において、天面パネル3の上側から室外機100へ段積み荷重が掛かった時でも塞ぎ部材9の天面部27aが天面パネル3を下方から支持するため天面パネル3の変形を防止することができる。 The top panel receiving portion 27 has a top surface portion 27a that faces the inner wall surface of the top surface panel 3 and is formed in a shape along the inner wall surface of the top surface panel 3. The top surface portion 27a of the top surface panel receiving portion 27 is formed in a shape along the inner wall of the top surface panel 3. Therefore, in the outdoor unit 100, the top surface portion 27a of the closing member 9 supports the top surface panel 3 from below even when a stacking load is applied from the upper side of the top surface panel 3 to the outdoor unit 100 during storage in a warehouse or the like. Deformation of the top panel 3 can be prevented.

 背面右端壁部18cには、背面右端壁部18cを介して、仕切板17と、筐体50の側面パネル2とにネジ固定されるネジ固定部材21が取り付けられている。そのため、塞ぎ部材9は、仕切板17及び筐体50によって水平及び垂直方向の移動が抑制され、また、倒れることが抑制されるため、熱交換器10上に安定して支持される。 A screw fixing member 21 screwed to the partition plate 17 and the side panel 2 of the housing 50 is attached to the rear right end wall portion 18c via the rear right end wall portion 18c. Therefore, the closing member 9 is stably supported on the heat exchanger 10 because the partition plate 17 and the housing 50 suppress the movement in the horizontal and vertical directions and prevent the closing member 9 from tipping over.

 背面右端壁部18cには、熱交換器10の上端部に引掛けられるL字形状の引掛部18c7が形成されている。そのため、作業者が、塞ぎ部材19を熱交換器10に載置する際に、熱交換器10に対する塞ぎ部材9の位置決めが容易となる。 The right end wall portion 18c on the back surface is formed with an L-shaped hook portion 18c7 that is hooked on the upper end portion of the heat exchanger 10. Therefore, when the operator places the closing member 19 on the heat exchanger 10, the closing member 9 can be easily positioned with respect to the heat exchanger 10.

 塞ぎ部材9は、背面下壁部18b及び側面下壁部19bに溝形状に形成されており、内部に外気温度センサ20が収容されるセンサ取付け部25を有する。そのため、室外機100は、外気温度センサ20が熱交換器10に取り付けられていても熱交換器10の上に塞ぎ部材9を載置させることができる。 The closing member 9 is formed in a groove shape on the back lower wall portion 18b and the side lower wall portion 19b, and has a sensor mounting portion 25 in which the outside air temperature sensor 20 is housed. Therefore, in the outdoor unit 100, even if the outside air temperature sensor 20 is attached to the heat exchanger 10, the closing member 9 can be placed on the heat exchanger 10.

 背面上壁部18a及び側面上壁部19aは、外気温度センサ20のリード線20aが配置され、リード線20aの経路を規制するリード線ガイド部26を有する。そのため、室外機100は、熱交換器10を通過した空気とリード線20aとの接触による音の発生を防止することができる。また、室外機100は、送風機5とリード線20aとの接触を避けることができる。 The back upper wall portion 18a and the side upper wall portion 19a have a lead wire guide portion 26 in which the lead wire 20a of the outside air temperature sensor 20 is arranged and regulates the path of the lead wire 20a. Therefore, the outdoor unit 100 can prevent the generation of sound due to the contact between the air passing through the heat exchanger 10 and the lead wire 20a. Further, the outdoor unit 100 can avoid contact between the blower 5 and the lead wire 20a.

 塞ぎ部材9は、熱交換器10が配置される筐体50のベース4に対して垂直方向に見た場合に、熱交換器10の形状と同じ形状に形成されており、熱交換器10の上面部を覆うように配置されている。そのため、室外機100は、塞ぎ部材9を有することで、熱交換器10と天面パネル3との間に空間が形成されることを防ぐことができる。その結果、室外機100は、機械室32の部品構成等によって筐体50の高さに制約があっても、筐体50の高さに合わせて熱交換器10の高さを高くする必要がなく、必要とされる熱交換量と、熱交換できる熱交換量との間の差を抑制することができる。また、室外機100は、熱交換器10と天面パネル3との間に塞ぎ部材9が配置されることで、上下方向(Z軸方向)における筐体50の強度を確保することができる。 The closing member 9 is formed in the same shape as the heat exchanger 10 when viewed in the direction perpendicular to the base 4 of the housing 50 in which the heat exchanger 10 is arranged. It is arranged so as to cover the upper surface. Therefore, the outdoor unit 100 can prevent the formation of a space between the heat exchanger 10 and the top panel 3 by having the closing member 9. As a result, even if the height of the housing 50 is restricted by the component configuration of the machine room 32 or the like, the outdoor unit 100 needs to increase the height of the heat exchanger 10 according to the height of the housing 50. It is possible to suppress the difference between the required amount of heat exchange and the amount of heat exchange that can be exchanged. Further, in the outdoor unit 100, the strength of the housing 50 in the vertical direction (Z-axis direction) can be ensured by arranging the closing member 9 between the heat exchanger 10 and the top panel 3.

 室外機100は、ベース4に対して垂直方向に見た場合に、L字形状に形成された熱交換器10と、ベース4に対して垂直方向に見た場合に、L字形状に形成された塞ぎ部材9とを有する。そのため、室外機100は、塞ぎ部材9を有することで、熱交換器10と天面パネル3との間に空間が形成されることを防ぐことができる。その結果、室外機100は、機械室32の部品構成等によって筐体50の高さに制約があっても、筐体50の高さに合わせて熱交換器10の高さを高くする必要がなく、必要とされる熱交換量と、熱交換できる熱交換量との間の差を抑制することができる。また、室外機100は、熱交換器10と天面パネル3との間に塞ぎ部材9が配置されることで、上下方向(Z軸方向)における筐体50の強度を確保することができる。 The outdoor unit 100 is formed into an L-shaped heat exchanger 10 when viewed perpendicular to the base 4 and an L-shape when viewed perpendicularly to the base 4. It has a closing member 9. Therefore, the outdoor unit 100 can prevent the formation of a space between the heat exchanger 10 and the top panel 3 by having the closing member 9. As a result, even if the height of the housing 50 is restricted by the component configuration of the machine room 32 or the like, the outdoor unit 100 needs to increase the height of the heat exchanger 10 according to the height of the housing 50. It is possible to suppress the difference between the required amount of heat exchange and the amount of heat exchange that can be exchanged. Further, in the outdoor unit 100, the strength of the housing 50 in the vertical direction (Z-axis direction) can be ensured by arranging the closing member 9 between the heat exchanger 10 and the top panel 3.

 塞ぎ部材9は、筐体50の背面側に配置される背面塞ぎ部材18と、筐体50の側面側に配置される側面塞ぎ部材19と、を有する。そのため、室外機100は、塞ぎ部材9を有することで、熱交換器10と天面パネル3との間に空間が形成されることを防ぐことができる。その結果、室外機100は、機械室32の部品構成等によって筐体50の高さに制約があっても、筐体50の高さに合わせて熱交換器10の高さを高くする必要がなく、必要とされる熱交換量と、熱交換できる熱交換量との間の差を抑制することができる。また、室外機100は、熱交換器10と天面パネル3との間に塞ぎ部材9が配置されることで、上下方向(Z軸方向)における筐体50の強度を確保することができる。 The closing member 9 has a back closing member 18 arranged on the back side of the housing 50 and a side closing member 19 arranged on the side surface side of the housing 50. Therefore, the outdoor unit 100 can prevent the formation of a space between the heat exchanger 10 and the top panel 3 by having the closing member 9. As a result, even if the height of the housing 50 is restricted by the component configuration of the machine room 32 or the like, the outdoor unit 100 needs to increase the height of the heat exchanger 10 according to the height of the housing 50. It is possible to suppress the difference between the required amount of heat exchange and the amount of heat exchange that can be exchanged. Further, in the outdoor unit 100, the strength of the housing 50 in the vertical direction (Z-axis direction) can be ensured by arranging the closing member 9 between the heat exchanger 10 and the top panel 3.

 背面塞ぎ部材18は、筐体50の背面側の背面パネルに形成されている吸込口51である背面開口部7の内部に配置されている。また、側面塞ぎ部材19は、筐体50の側面側の側面パネルに形成されている吸込口51である側面開口部1aの内部に配置されている。そのため、室外機100は、吸込口51から筐体50内に流入する空気を熱交換器10に通過させることができる。その結果、室外機100は、塞ぎ部材9を有せず天面パネルと熱交換器との間に空間を形成する室外機と比較して、熱交換器10において効率よく熱交換させることができる。 The back closing member 18 is arranged inside the back opening 7 which is a suction port 51 formed on the back panel on the back side of the housing 50. Further, the side closing member 19 is arranged inside the side opening 1a which is a suction port 51 formed in the side panel on the side of the housing 50. Therefore, the outdoor unit 100 can allow the air flowing into the housing 50 from the suction port 51 to pass through the heat exchanger 10. As a result, the outdoor unit 100 can efficiently exchange heat in the heat exchanger 10 as compared with the outdoor unit which does not have the closing member 9 and forms a space between the top panel and the heat exchanger. ..

 塞ぎ部材9は、背面塞ぎ部材18と、側面塞ぎ部材19とが別体で形成されており、背面塞ぎ部材18と、側面塞ぎ部材19とが、係合部22において互いに嵌め合わされて接続されている。そのため、室外機100は、背面塞ぎ部材18及び側面塞ぎ部材19を一体とした後に設置するか、あるいは、背面塞ぎ部材18のみを先に設置するか等、塞ぎ部材9の熱交換器10への設置の形態を自由に決定することができる。 In the closing member 9, the back closing member 18 and the side closing member 19 are formed separately, and the back closing member 18 and the side closing member 19 are fitted and connected to each other at the engaging portion 22. There is. Therefore, the outdoor unit 100 is installed after the back closing member 18 and the side closing member 19 are integrated, or only the back closing member 18 is installed first, or the like, the closing member 9 is attached to the heat exchanger 10. The form of installation can be freely determined.

実施の形態2.
[室外機100Aの構成]
 図34は、実施の形態2に係る室外機100Aの塞ぎ部材9Aの組立状態の斜視図である。図35は、実施の形態2に係る室外機100Aの塞ぎ部材9Aの展開状態の斜視図である。なお、図1~図33の室外機100と同一の構成を有する部位には同一の符号を付してその説明を省略する。実施の形態2に係る室外機100は、塞ぎ部材9の構造が異なるものである。以下の室外機100Aの説明では、室外機100との相違点を中心に説明し、相違点以外の構成については、図34及び図35において図示を省略する部分があり、また、説明を省略する。
Embodiment 2.
[Configuration of outdoor unit 100A]
FIG. 34 is a perspective view of the assembled state of the closing member 9A of the outdoor unit 100A according to the second embodiment. FIG. 35 is a perspective view of the closing member 9A of the outdoor unit 100A according to the second embodiment in an unfolded state. The parts having the same configuration as the outdoor unit 100 of FIGS. 1 to 33 are designated by the same reference numerals, and the description thereof will be omitted. The outdoor unit 100 according to the second embodiment has a different structure of the closing member 9. In the following description of the outdoor unit 100A, the differences from the outdoor unit 100 will be mainly described, and the configurations other than the differences may be omitted in FIGS. 34 and 35, and the description thereof will be omitted. ..

 実施の形態1に係る室外機100は、上述したように、背面塞ぎ部材18と側面塞ぎ部材19との2部品で構成された塞ぎ部材9を有している。これに対し、実施の形態2に係る室外機100は、背面塞ぎ部材18と側面塞ぎ部材19とが一体に構成された塞ぎ部材9Aを有している。 As described above, the outdoor unit 100 according to the first embodiment has a closing member 9 composed of two parts, a back closing member 18 and a side closing member 19. On the other hand, the outdoor unit 100 according to the second embodiment has a closing member 9A in which the back closing member 18 and the side closing member 19 are integrally formed.

 塞ぎ部材9Aは、背面塞ぎ部材18と側面塞ぎ部材19とが一体成形により形成された一体部品として構成されている。塞ぎ部材9Aは、背面塞ぎ部材18と側面塞ぎ部材19とをヒンジ部29aで繋ぎ、ヒンジ部29aを折り曲げることで構成されている。ヒンジ部29aは、背面塞ぎ部材18と側面塞ぎ部材19と接続されており、背面塞ぎ部材18と側面塞ぎ部材19と一体に形成されている。ヒンジ部29aは、背面塞ぎ部材18と側面塞ぎ部材19と同じ素材で形成されており、例えば、薄肉の板状の樹脂で形成されている。すなわち、塞ぎ部材9Aは、背面塞ぎ部材18と、側面塞ぎ部材19とが一体に形成されており、背面塞ぎ部材18と、側面塞ぎ部材19とは折り曲げ自在な薄肉の板状に形成されたヒンジ部29aを介して繋がっている。 The closing member 9A is configured as an integral part in which the back closing member 18 and the side closing member 19 are integrally formed. The closing member 9A is configured by connecting the back closing member 18 and the side closing member 19 with a hinge portion 29a and bending the hinge portion 29a. The hinge portion 29a is connected to the back closing member 18 and the side closing member 19, and is integrally formed with the back closing member 18 and the side closing member 19. The hinge portion 29a is made of the same material as the back closing member 18 and the side closing member 19, and is made of, for example, a thin plate-shaped resin. That is, in the closing member 9A, the back closing member 18 and the side closing member 19 are integrally formed, and the back closing member 18 and the side closing member 19 are hinges formed in a foldable thin plate shape. It is connected via a part 29a.

[室外機100Aの作用効果]
 塞ぎ部材9Aは、背面塞ぎ部材18と、側面塞ぎ部材19とが一体に形成されており、背面塞ぎ部材18と、側面塞ぎ部材19とは折り曲げ自在な薄肉の板状に形成されたヒンジ部29aを介して繋がっている。塞ぎ部材9Aは、背面塞ぎ部材18と、側面塞ぎ部材19とが一体に形成されているため、作業者は、背面塞ぎ部材18と側面塞ぎ部材19とを嵌め合わせる作業を省略することができる。そのため、室外機100Aは、組み立て作業の効率化を図ることができる。
[Action and effect of outdoor unit 100A]
In the closing member 9A, the back closing member 18 and the side closing member 19 are integrally formed, and the back closing member 18 and the side closing member 19 are formed into a foldable thin plate-shaped hinge portion 29a. It is connected through. Since the back closing member 18 and the side closing member 19 are integrally formed in the closing member 9A, the operator can omit the work of fitting the back closing member 18 and the side closing member 19. Therefore, the outdoor unit 100A can improve the efficiency of the assembly work.

 以上の実施の形態に示した構成は、本発明の内容の一例を示すものであり、別の公知の技術と組み合わせることも可能であるし、本発明の要旨を逸脱しない範囲で、構成の一部を省略、変更することも可能である。 The configuration shown in the above-described embodiment shows an example of the content of the present invention, can be combined with another known technique, and is one of the configurations without departing from the gist of the present invention. It is also possible to omit or change the part.

 1 外郭パネル、1a 側面開口部、2 側面パネル、2a 第2側面部、2b 第2背面部、3 天面パネル、3a 傾斜面部、4 ベース、4a 脚部、5 送風機、5a モータ、5b プロペラファン、6 ファンガード、7 背面開口部、8 吹出口、9 塞ぎ部材、9A 塞ぎ部材、10 熱交換器、10a フィン、10c 伝熱管、10d 熱交換器端板金、10d3 フランジ部、10e 側面領域、10f 背面領域、10g 曲面領域、11 正面部、12 側面部、13 背面部、14 モータ支持部材、15 圧縮機、16 冷媒配管、17 仕切板、18 背面塞ぎ部材、18a 背面上壁部、18b 背面下壁部、18c 背面右端壁部、18c1 固定面部、18c11 下端部、18c12 下端部、18c2 背面側板壁部、18c3 前面側板壁部、18c4 突起部、18c5 側面パネル固定用ネジ穴、18c6 仕切板固定用ネジ穴、18c7 引掛部、18d 背面左端壁部、18d1 取付面部、18d2 前面側取付部、18d21 前面側突出部、18d22 前面側爪部、18d23 溝部、18d3 背面側取付部、18d31 背面側突出部、18d32 背面側爪部、18d33 溝部、18d4 凹部、18e 背面側壁部、18g 背面内側リブ、18g1 リブ、18g2 リブ、18g3 補強リブ、18h 開口部、19 側面塞ぎ部材、19a 側面上壁部、19b 側面下壁部、19c 側面後端壁部、19c1 当接部、19c11 凸部、19c2 中間側壁部、19c21 挿入部、19c22 側面側突出部、19c23 側面側爪部、19c25 停止部、19c3 先端側壁部、19c31 縁壁部、19c32 切欠部、19d 側面前端壁部、19e 側面側壁部、19g 側面内側リブ、19g1 リブ、19g2 リブ、19g3 補強リブ、19h 開口部、20 外気温度センサ、20a リード線、21 ネジ固定部材、21a 本体部、21b 固定部、21c 切欠部、21d ネジ穴、22 係合部、23 押え部、23a 基部、23b 位置ズレ抑制リブ、23b1 底縁部、23b2 側縁部、23b3 斜縁部、24 圧入部、25 センサ取付け部、25a 背面側取付壁部、25b 側面側取付壁部、25c 側面側取付上壁部、26 リード線ガイド部、26a 板状部、26b ガイド爪部、26c 抜け止め部、27 天面パネル受け部、27a 天面部、28a 仕切板側固定ネジ、28b 側面パネル側固定ネジ、29a ヒンジ部、31 送風機室、32 機械室、50 筐体、51 吸込口、100 室外機、100A 室外機。 1 outer panel, 1a side opening, 2 side panel, 2a second side surface, 2b second back surface, 3 top panel, 3a inclined surface, 4 base, 4a legs, 5 blower, 5a motor, 5b propeller fan , 6 fan guard, 7 back opening, 8 outlet, 9 closing member, 9A closing member, 10 heat exchanger, 10a fin, 10c heat transfer tube, 10d heat exchanger end sheet metal, 10d3 flange part, 10e side area, 10f Back area, 10g curved area, 11 front part, 12 side part, 13 back part, 14 motor support member, 15 compressor, 16 refrigerant pipe, 17 partition plate, 18 back closing member, 18a back upper wall part, 18b back bottom Wall part, 18c rear right end wall part, 18c1 fixed surface part, 18c11 lower end part, 18c12 lower end part, 18c2 back side plate wall part, 18c3 front side plate wall part, 18c4 protrusion, 18c5 side panel fixing screw hole, 18c6 partition plate fixing Screw hole, 18c7 hook part, 18d back left end wall part, 18d1 mounting surface part, 18d2 front side mounting part, 18d21 front side protruding part, 18d22 front side claw part, 18d23 groove part, 18d3 back side mounting part, 18d31 back side protruding part, 18d32 back side claw part, 18d33 groove part, 18d4 recess, 18e back side wall part, 18g back inside rib, 18g1 rib, 18g2 rib, 18g3 reinforcement rib, 18h opening, 19 side closing member, 19a side upper wall part, 19b side bottom Wall part, 19c side rear end wall part, 19c1 contact part, 19c11 convex part, 19c2 intermediate side wall part, 19c21 insertion part, 19c22 side side protrusion part, 19c23 side side claw part, 19c25 stop part, 19c3 tip side wall part, 19c31 Edge wall, 19c32 notch, 19d side front end wall, 19e side side wall, 19g side inside rib, 19g1 rib, 19g2 rib, 19g3 reinforcement rib, 19h opening, 20 outside air temperature sensor, 20a lead wire, 21 screw fixing Member, 21a main body, 21b fixing part, 21c notch part, 21d screw hole, 22 engaging part, 23 pressing part, 23a base part, 23b misalignment suppression rib, 23b1 bottom edge part, 23b2 side edge part, 23b3 oblique edge part , 24 press-fitting part, 25 sensor mounting part, 25a back side mounting wall part, 25b side side mounting wall part, 25c side side mounting upper wall part, 26 lead wire guide part, 26a plate-shaped part, 26b guide Claw part, 26c retaining part, 27 top panel receiving part, 27a top surface part, 28a partition plate side fixing screw, 28b side panel side fixing screw, 29a hinge part, 31 blower room, 32 machine room, 50 housing, 51 Suction port, 100 outdoor unit, 100A outdoor unit.

Claims (17)

 空気が流入する吸込口が形成された筐体と、
 互いに間隔を空けて配置された複数のフィンを有し、前記吸込口の内部に配置された熱交換器と、
 前記筐体内において、前記吸込口の内部に配置されると共に、前記熱交換器と前記筐体の天面パネルとの間に配置されており、前記熱交換器と前記天面パネルとの間の壁を構成して前記筐体内への空気の通過を防ぐ塞ぎ部材と、
を有し、
 前記塞ぎ部材は、
 前記熱交換器に載置されていると共に前記天面パネルと当接している空気調和機の室外機。
A housing with a suction port for air to flow in,
A heat exchanger having a plurality of fins arranged at intervals from each other and arranged inside the suction port,
In the housing, it is arranged inside the suction port and between the heat exchanger and the top panel of the housing, and is located between the heat exchanger and the top panel. A closing member that constitutes a wall to prevent the passage of air into the housing,
Have,
The closing member is
An outdoor unit of an air conditioner that is mounted on the heat exchanger and is in contact with the top panel.
 前記塞ぎ部材は、
 前記熱交換器と当接する下壁部と、
 前記天面パネルと対向する上壁部と、
 前記下壁部と前記上壁部との間に位置し、前記吸込口の内部に配置される側壁部と、
 前記複数のフィンの積層方向において、前記下壁部、前記上壁部及び前記側壁部の両端部に位置する端壁部と、
を有する請求項1に記載の空気調和機の室外機。
The closing member is
The lower wall portion that comes into contact with the heat exchanger and
The upper wall portion facing the top panel and
A side wall portion located between the lower wall portion and the upper wall portion and arranged inside the suction port, and a side wall portion.
In the stacking direction of the plurality of fins, end wall portions located at both ends of the lower wall portion, the upper wall portion, and the side wall portion, and
The outdoor unit of the air conditioner according to claim 1.
 前記下壁部は、
 前記熱交換器の厚み方向から前記熱交換器と当接し、前記熱交換器を挟持する押え部を有する請求項2に記載の空気調和機の室外機。
The lower wall portion
The outdoor unit of the air conditioner according to claim 2, further comprising a holding portion that abuts the heat exchanger from the thickness direction of the heat exchanger and sandwiches the heat exchanger.
 前記押え部は、
 前記複数のフィン同士の間に嵌る位置ズレ抑制リブを有する請求項3に記載の空気調和機の室外機。
The presser foot is
The outdoor unit of the air conditioner according to claim 3, which has a position shift suppressing rib fitted between the plurality of fins.
 前記下壁部は、
 前記複数のフィンの角部と対向する位置に突出して設けられていると共に、前記複数のフィンの積層方向に延びるように設けられており、前記塞ぎ部材が前記熱交換器に載置されて組み付けされた際に、前記複数のフィンの縁部に圧入される圧入部を有する請求項2~4のいずれか1項に記載の空気調和機の室外機。
The lower wall portion
It is provided so as to project at a position facing the corners of the plurality of fins and extends in the stacking direction of the plurality of fins, and the closing member is mounted on the heat exchanger and assembled. The outdoor unit of the air conditioner according to any one of claims 2 to 4, which has a press-fitting portion that is press-fitted into the edges of the plurality of fins when the air conditioner is used.
 前記上壁部は、
 前記天面パネルと当接し、前記上壁部から突出して前記天面パネル側からの荷重を受ける天面パネル受け部を有する請求項2~5のいずれか1項に記載の空気調和機の室外機。
The upper wall portion
The outdoor of the air conditioner according to any one of claims 2 to 5, which has a top panel receiving portion that comes into contact with the top panel and projects from the upper wall portion to receive a load from the top panel side. Machine.
 前記天面パネル受け部は、
 前記天面パネルの内壁面と対向し、前記天面パネルの内壁に沿う形状に形成されている天面部を有する請求項6に記載の空気調和機の室外機。
The top panel receiving portion is
The outdoor unit of the air conditioner according to claim 6, further comprising a top surface portion that faces the inner wall surface of the top surface panel and is formed in a shape along the inner wall surface of the top surface panel.
 前記筐体の内部に設けられ、前記筐体内の空間を、前記熱交換器と送風機とを収納する送風機室と、圧縮機を収納する機械室とに隔てる仕切板を更に有し、
 前記複数のフィンの積層方向において前記機械室側に位置する前記端壁部には、
 前記端壁部を介して、前記仕切板と、前記筐体とにネジ固定されるネジ固定部材が取り付けられている請求項2~7のいずれか1項に記載の空気調和機の室外機。
A partition plate provided inside the housing and separating the space inside the housing into a blower room for accommodating the heat exchanger and the blower and a machine room for accommodating the compressor is further provided.
On the end wall portion located on the machine room side in the stacking direction of the plurality of fins,
The outdoor unit of an air conditioner according to any one of claims 2 to 7, wherein a screw fixing member screw-fixed to the partition plate and the housing is attached via the end wall portion.
 前記ネジ固定部材が取り付けられる前記端壁部には、
 前記熱交換器の上端部に引掛けられるL字形状の引掛部が前記ネジ固定部材の下方に形成されている請求項8に記載の空気調和機の室外機。
On the end wall portion to which the screw fixing member is attached,
The outdoor unit of the air conditioner according to claim 8, wherein an L-shaped hooking portion hooked on the upper end portion of the heat exchanger is formed below the screw fixing member.
 前記熱交換器に載置されており、室外の周囲温度を検出する外気温度センサを更に有し、
 前記塞ぎ部材は、
 前記下壁部に溝形状に形成されており、内部に前記外気温度センサが収容されるセンサ取付け部を有する請求項2~9のいずれか1項に記載の空気調和機の室外機。
It is mounted on the heat exchanger and further has an outside air temperature sensor that detects the outdoor ambient temperature.
The closing member is
The outdoor unit of an air conditioner according to any one of claims 2 to 9, which is formed in a groove shape on the lower wall portion and has a sensor mounting portion in which the outside air temperature sensor is housed.
 前記上壁部は、
 前記外気温度センサのリード線が配置され、前記リード線の経路を規制するリード線ガイド部を有する請求項10に記載の空気調和機の室外機。
The upper wall portion
The outdoor unit of an air conditioner according to claim 10, wherein the lead wire of the outside air temperature sensor is arranged and has a lead wire guide portion that regulates the path of the lead wire.
 前記塞ぎ部材は、
 前記熱交換器が配置される前記筐体のベースに対して垂直方向に見た場合に、前記熱交換器の形状と同じ形状に形成されており、前記熱交換器の上面部を覆うように配置されている請求項2~11のいずれか1項に記載の空気調和機の室外機。
The closing member is
When viewed in the direction perpendicular to the base of the housing in which the heat exchanger is arranged, it is formed in the same shape as the heat exchanger and covers the upper surface portion of the heat exchanger. The outdoor unit of the air conditioner according to any one of claims 2 to 11, which is arranged.
 前記熱交換器は、
 前記ベースに対して垂直方向に見た場合に、L字形状に形成されており、
 前記塞ぎ部材は、
 前記ベースに対して垂直方向に見た場合に、L字形状に形成されている請求項12に記載の空気調和機の室外機。
The heat exchanger is
When viewed in the direction perpendicular to the base, it is formed in an L shape.
The closing member is
The outdoor unit of the air conditioner according to claim 12, which is formed in an L shape when viewed in a direction perpendicular to the base.
 前記塞ぎ部材は、
 前記下壁部、前記上壁部、前記側壁部及び前記端壁部を有し、前記筐体の背面側に配置される背面塞ぎ部材と、
 前記下壁部、前記上壁部、前記側壁部及び前記端壁部を有し、前記筐体の側面側に配置される側面塞ぎ部材と、
を有する請求項13に記載の空気調和機の室外機。
The closing member is
A back closing member having the lower wall portion, the upper wall portion, the side wall portion, and the end wall portion and arranged on the back surface side of the housing.
A side closing member having the lower wall portion, the upper wall portion, the side wall portion, and the end wall portion and arranged on the side surface side of the housing.
The outdoor unit of the air conditioner according to claim 13.
 前記背面塞ぎ部材は、
 前記筐体の背面側の背面パネルに形成されている前記吸込口の内部に配置されており、
 前記側面塞ぎ部材は、
 前記筐体の側面側の側面パネルに形成されている前記吸込口の内部に配置されている請求項14に記載の空気調和機の室外機。
The back closing member is
It is arranged inside the suction port formed on the back panel on the back side of the housing.
The side closing member
The outdoor unit of the air conditioner according to claim 14, which is arranged inside the suction port formed on the side panel on the side surface side of the housing.
 前記塞ぎ部材は、
 前記背面塞ぎ部材と、前記側面塞ぎ部材とが別体で形成されており、
 前記背面塞ぎ部材と、前記側面塞ぎ部材とは、係合部において互いに嵌め合わされて接続されている請求項14又は15に記載の空気調和機の室外機。
The closing member is
The back closing member and the side closing member are formed as separate bodies.
The outdoor unit of an air conditioner according to claim 14 or 15, wherein the back closing member and the side closing member are fitted and connected to each other at an engaging portion.
 前記塞ぎ部材は、
 前記背面塞ぎ部材と、前記側面塞ぎ部材とが一体に形成されており、
 前記背面塞ぎ部材と、前記側面塞ぎ部材とは折り曲げ自在な薄肉の板状に形成されたヒンジ部を介して繋がっている請求項14又は15に記載の空気調和機の室外機。
The closing member is
The back closing member and the side closing member are integrally formed.
The outdoor unit of an air conditioner according to claim 14 or 15, wherein the back closing member and the side closing member are connected to each other via a hinge portion formed in a thin plate shape that can be bent.
PCT/JP2019/027495 2019-07-11 2019-07-11 Outdoor unit for air conditioner Ceased WO2021005781A1 (en)

Priority Applications (2)

Application Number Priority Date Filing Date Title
JP2021530452A JP7301132B2 (en) 2019-07-11 2019-07-11 outdoor unit of air conditioner
PCT/JP2019/027495 WO2021005781A1 (en) 2019-07-11 2019-07-11 Outdoor unit for air conditioner

Applications Claiming Priority (1)

Application Number Priority Date Filing Date Title
PCT/JP2019/027495 WO2021005781A1 (en) 2019-07-11 2019-07-11 Outdoor unit for air conditioner

Publications (1)

Publication Number Publication Date
WO2021005781A1 true WO2021005781A1 (en) 2021-01-14

Family

ID=74114492

Family Applications (1)

Application Number Title Priority Date Filing Date
PCT/JP2019/027495 Ceased WO2021005781A1 (en) 2019-07-11 2019-07-11 Outdoor unit for air conditioner

Country Status (2)

Country Link
JP (1) JP7301132B2 (en)
WO (1) WO2021005781A1 (en)

Cited By (2)

* Cited by examiner, † Cited by third party
Publication number Priority date Publication date Assignee Title
CN115264641A (en) * 2021-04-30 2022-11-01 宁波奥克斯电气股份有限公司 Outer machine panel and air conditioner
WO2024157344A1 (en) * 2023-01-24 2024-08-02 三菱電機株式会社 Outdoor unit of refrigeration cycle device and heat exchanger protection panel

Citations (4)

* Cited by examiner, † Cited by third party
Publication number Priority date Publication date Assignee Title
JPS5124032U (en) * 1974-08-13 1976-02-21
JPH11281143A (en) * 1998-03-27 1999-10-15 Sharp Corp Air conditioner
JP2000065418A (en) * 1998-08-25 2000-03-03 Hitachi Ltd Air conditioner
JP2015161475A (en) * 2014-02-28 2015-09-07 株式会社富士通ゼネラル Outdoor unit of air conditioner

Family Cites Families (3)

* Cited by examiner, † Cited by third party
Publication number Priority date Publication date Assignee Title
JPH1163563A (en) * 1997-08-20 1999-03-05 Fujitsu General Ltd Outdoor unit of air conditioner
JP2005147516A (en) 2003-11-14 2005-06-09 Fujitsu General Ltd Air conditioner outdoor unit
JP6681171B2 (en) 2015-10-29 2020-04-15 東芝キヤリア株式会社 Air conditioner outdoor unit

Patent Citations (4)

* Cited by examiner, † Cited by third party
Publication number Priority date Publication date Assignee Title
JPS5124032U (en) * 1974-08-13 1976-02-21
JPH11281143A (en) * 1998-03-27 1999-10-15 Sharp Corp Air conditioner
JP2000065418A (en) * 1998-08-25 2000-03-03 Hitachi Ltd Air conditioner
JP2015161475A (en) * 2014-02-28 2015-09-07 株式会社富士通ゼネラル Outdoor unit of air conditioner

Cited By (2)

* Cited by examiner, † Cited by third party
Publication number Priority date Publication date Assignee Title
CN115264641A (en) * 2021-04-30 2022-11-01 宁波奥克斯电气股份有限公司 Outer machine panel and air conditioner
WO2024157344A1 (en) * 2023-01-24 2024-08-02 三菱電機株式会社 Outdoor unit of refrigeration cycle device and heat exchanger protection panel

Also Published As

Publication number Publication date
JP7301132B2 (en) 2023-06-30
JPWO2021005781A1 (en) 2021-10-28

Similar Documents

Publication Publication Date Title
US10054320B2 (en) Indoor device of air conditioner
CN101578488B (en) Outdoor unit of air conditioner
US10302314B2 (en) Indoor unit of air conditioner
CN102620357A (en) Outdoor unit of air conditioner
EP3537063B1 (en) Refrigerator
JP2011007363A (en) Outdoor unit
JP7301132B2 (en) outdoor unit of air conditioner
WO2020188790A1 (en) Heat pump cycle device and heat pump water heater
JP7012874B2 (en) Outdoor unit of air conditioner
JP7034341B2 (en) Outdoor unit of air conditioner
JP2011007364A (en) Air conditioner
JP6937937B2 (en) Outdoor unit of air conditioner
CN203413737U (en) Outdoor unit of air conditioner device
CN114761741A (en) Temperature detection sensor fixing device and compressor
CN100436952C (en) Indoor unit of air conditioner
WO2023050758A1 (en) Heat exchanger sealing plate for air conditioner, indoor unit and air conditioner
CN101036026A (en) Cabinet with an internal frame for the installation of an air conditioner
KR20230116516A (en) Outdoor unit of airconditioner
WO2009133909A1 (en) Indoor unit for air conditioner
JP2018115790A (en) Range hood and range hood attachment member
KR101690885B1 (en) Indoor unit for air conditoiner
EP4417882A1 (en) Ceiling-type air conditioner
CN219083273U (en) Electric control assembly mounting structure, heating and ventilation equipment outdoor unit and heating and ventilation equipment
CN120062691A (en) Window type air conditioner
KR100626449B1 (en) Integrated Air Conditioner

Legal Events

Date Code Title Description
121 Ep: the epo has been informed by wipo that ep was designated in this application

Ref document number: 19937357

Country of ref document: EP

Kind code of ref document: A1

ENP Entry into the national phase

Ref document number: 2021530452

Country of ref document: JP

Kind code of ref document: A

NENP Non-entry into the national phase

Ref country code: DE

122 Ep: pct application non-entry in european phase

Ref document number: 19937357

Country of ref document: EP

Kind code of ref document: A1