WO2020085211A1 - 通気部品 - Google Patents

通気部品 Download PDF

Info

Publication number
WO2020085211A1
WO2020085211A1 PCT/JP2019/040956 JP2019040956W WO2020085211A1 WO 2020085211 A1 WO2020085211 A1 WO 2020085211A1 JP 2019040956 W JP2019040956 W JP 2019040956W WO 2020085211 A1 WO2020085211 A1 WO 2020085211A1
Authority
WO
WIPO (PCT)
Prior art keywords
ventilation
housing
valve
contact
ventilation valve
Prior art date
Legal status (The legal status is an assumption and is not a legal conclusion. Google has not performed a legal analysis and makes no representation as to the accuracy of the status listed.)
Ceased
Application number
PCT/JP2019/040956
Other languages
English (en)
French (fr)
Japanese (ja)
Inventor
雄介 仲山
陽三 矢野
晶 宮垣
Current Assignee (The listed assignees may be inaccurate. Google has not performed a legal analysis and makes no representation or warranty as to the accuracy of the list.)
Nitto Denko Corp
Original Assignee
Nitto Denko Corp
Priority date (The priority date is an assumption and is not a legal conclusion. Google has not performed a legal analysis and makes no representation as to the accuracy of the date listed.)
Filing date
Publication date
Application filed by Nitto Denko Corp filed Critical Nitto Denko Corp
Priority to JP2020553306A priority Critical patent/JPWO2020085211A1/ja
Publication of WO2020085211A1 publication Critical patent/WO2020085211A1/ja
Anticipated expiration legal-status Critical
Priority to JP2023147330A priority patent/JP7723050B2/ja
Ceased legal-status Critical Current

Links

Images

Classifications

    • FMECHANICAL ENGINEERING; LIGHTING; HEATING; WEAPONS; BLASTING
    • F16ENGINEERING ELEMENTS AND UNITS; GENERAL MEASURES FOR PRODUCING AND MAINTAINING EFFECTIVE FUNCTIONING OF MACHINES OR INSTALLATIONS; THERMAL INSULATION IN GENERAL
    • F16KVALVES; TAPS; COCKS; ACTUATING-FLOATS; DEVICES FOR VENTING OR AERATING
    • F16K17/00Safety valves; Equalising valves, e.g. pressure relief valves
    • F16K17/02Safety valves; Equalising valves, e.g. pressure relief valves opening on surplus pressure on one side; closing on insufficient pressure on one side
    • F16K17/04Safety valves; Equalising valves, e.g. pressure relief valves opening on surplus pressure on one side; closing on insufficient pressure on one side spring-loaded
    • FMECHANICAL ENGINEERING; LIGHTING; HEATING; WEAPONS; BLASTING
    • F16ENGINEERING ELEMENTS AND UNITS; GENERAL MEASURES FOR PRODUCING AND MAINTAINING EFFECTIVE FUNCTIONING OF MACHINES OR INSTALLATIONS; THERMAL INSULATION IN GENERAL
    • F16KVALVES; TAPS; COCKS; ACTUATING-FLOATS; DEVICES FOR VENTING OR AERATING
    • F16K24/00Devices, e.g. valves, for venting or aerating enclosures
    • F16K24/04Devices, e.g. valves, for venting or aerating enclosures for venting only
    • HELECTRICITY
    • H01ELECTRIC ELEMENTS
    • H01MPROCESSES OR MEANS, e.g. BATTERIES, FOR THE DIRECT CONVERSION OF CHEMICAL ENERGY INTO ELECTRICAL ENERGY
    • H01M50/00Constructional details or processes of manufacture of the non-active parts of electrochemical cells other than fuel cells, e.g. hybrid cells
    • H01M50/30Arrangements for facilitating escape of gases
    • HELECTRICITY
    • H05ELECTRIC TECHNIQUES NOT OTHERWISE PROVIDED FOR
    • H05KPRINTED CIRCUITS; CASINGS OR CONSTRUCTIONAL DETAILS OF ELECTRIC APPARATUS; MANUFACTURE OF ASSEMBLAGES OF ELECTRICAL COMPONENTS
    • H05K5/00Casings, cabinets or drawers for electric apparatus
    • H05K5/06Hermetically-sealed casings
    • YGENERAL TAGGING OF NEW TECHNOLOGICAL DEVELOPMENTS; GENERAL TAGGING OF CROSS-SECTIONAL TECHNOLOGIES SPANNING OVER SEVERAL SECTIONS OF THE IPC; TECHNICAL SUBJECTS COVERED BY FORMER USPC CROSS-REFERENCE ART COLLECTIONS [XRACs] AND DIGESTS
    • Y02TECHNOLOGIES OR APPLICATIONS FOR MITIGATION OR ADAPTATION AGAINST CLIMATE CHANGE
    • Y02EREDUCTION OF GREENHOUSE GAS [GHG] EMISSIONS, RELATED TO ENERGY GENERATION, TRANSMISSION OR DISTRIBUTION
    • Y02E60/00Enabling technologies; Technologies with a potential or indirect contribution to GHG emissions mitigation
    • Y02E60/10Energy storage using batteries

Definitions

  • the present invention relates to a ventilation component.
  • Patent Document 1 describes a pressure correction device that can be used in a housing in which an undesirable pressure difference between the inside and the outside should be avoided.
  • the pressure compensator has an inner side and an outer side, and includes a cage, a gas permeable membrane, and a pressure release valve.
  • the cage comprises an inner half and an outer half. Inside the cage, a vent membrane and a pressure relief valve are located between the inner and outer halves.
  • the pressure relief valve provides explosion protection.
  • the inner pressure becomes larger than the outer pressure and the differential pressure exceeds the threshold value, a flow path that directly connects the inner side and the outer side is formed for emergency exhaust of the inner gas.
  • the breathable film does not contribute to explosion protection.
  • Patent Document 1 The technology described in Patent Document 1 has room for improvement from the viewpoint of enhancing reliability. Therefore, the present invention provides a ventilation component suitable for exhaust gas for explosion-proof and advantageous from the viewpoint of enhancing reliability.
  • the present invention is A ventilation component attached to the housing at the ventilation port, A breathable membrane, A ventilation valve including an elastic body, which opens and closes by elastic deformation of the elastic body; A structural member that supports the ventilation membrane and the ventilation valve, In the mounted state in which the ventilation component is mounted on the housing, the ventilation film vents the inside and outside of the housing, and the pressure inside the housing and the pressure outside the housing The gas inside the housing is discharged to the outside of the housing by opening the ventilation valve when the difference becomes equal to or more than a predetermined pressure.
  • the ventilation valve has two opposing surfaces, and has an annular shape including a first end portion forming an inner peripheral portion and a second end portion forming an outer peripheral portion when one of the two surfaces is viewed in a plan view.
  • the structural member is a support portion that supports the first end portion, and contacts the second end portion when the ventilation valve is closed, and the second end portion when the ventilation valve is opened. And a valve seat portion that is separated,
  • the support part has a first contact part and a second contact part that sandwich the first end part, and the first contact part contacts one of a pair of opposing surfaces at the first end part and The second contact portion is in contact with the other of the pair of surfaces,
  • the support portion is in contact with an end surface of the first end portion connecting the pair of surfaces between the first contact portion and the second contact portion, Provide ventilation components.
  • the above ventilation components are suitable for explosion-proof exhaust and are advantageous from the viewpoint of enhancing reliability.
  • FIG. 1 is a bottom view showing an example of the ventilation component of the present invention.
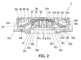
  • FIG. 2 is a sectional view of the ventilation component taken along line II-II of FIG.
  • FIG. 3 is a perspective view showing a ventilation port of the housing.
  • FIG. 4 is a cross-sectional view showing a state in which the ventilation component is attached to the housing.
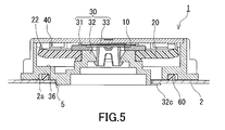
  • FIG. 5 is a cross-sectional view showing a state in which the ventilation valve is open.
  • FIG. 6A is a plan view of the ventilation valve.
  • FIG. 6B is a plan view of the ventilation valve.
  • FIG. 7 is an enlarged cross-sectional view of a part of the ventilation component shown in FIG.
  • the housing of electrical components of a vehicle needs to be breathable so that the differential pressure generated inside due to temperature changes is eliminated.
  • the level of breathability required in the enclosure may vary due to events inside the enclosure. For example, it may be necessary to discharge a large amount of gas from the inside of the housing in a short time, as in the case of explosion protection of a battery pack. Therefore, it is conceivable to attach a ventilation component including a ventilation membrane and a ventilation valve to the ventilation port of the housing. In this case, for example, when normal ventilation is performed using the ventilation membrane with the ventilation valve closed and the difference between the pressure inside the housing and the pressure outside the housing rises above a predetermined pressure, the ventilation is performed. The valve opens and a large amount of gas is discharged from the inside of the housing in a short time. If a ventilation valve that opens and closes by elastic deformation of an elastic body is used as the ventilation valve, the ventilation valve can be reused.
  • the pressure release valve is arranged inside the cage, and the inner half of the cage sandwiches the inner peripheral portion of the pressure release valve in the thickness direction of the pressure release valve.
  • the inner peripheral end surface of the pressure relief valve does not contact the inner half of the cage.
  • the inventors of the present invention repeatedly studied day and night about a technique for improving the sealing property between the ventilation valve and the member supporting the ventilation valve.
  • the vent valve and the member supporting the vent valve were newly conceived so as to satisfy a predetermined relationship, and the vent component according to the present invention was devised.
  • the case in which the ventilation component according to the present invention is mounted is not limited to the case of the electric component of the vehicle.
  • the ventilation component 1 includes a ventilation membrane 10, a ventilation valve 20, and a structural member 30.
  • the ventilation component 1 is a component that is attached to a housing 2 having a ventilation port 5 as shown in FIG. As shown in FIG. 4, the ventilation component 1 is attached to the housing 2 at the ventilation port 5.
  • the ventilation valve 20 includes an elastic body and is opened and closed by elastic deformation of the elastic body.
  • the structural member 30 supports the ventilation membrane 10 and the ventilation valve 20. In the mounted state in which the ventilation component 1 is mounted in the housing 2, the ventilation film 10 vents the inside and outside of the housing 2.
  • the ventilation valve 20 opens and the gas inside the housing 2 is filled with the gas. It is discharged to the outside of the body 2. In other words, the vent valve 20 is closed when the difference between the pressure inside the housing 2 and the pressure outside the housing 2 is less than the predetermined pressure.
  • the ventilation valve 20 includes a substantially plate-shaped structural portion having two facing surfaces 20f and 20s.
  • the vent valve 20 has a first end 21 and a second end 22 as shown in FIGS. 6A and 6B.
  • the first end portion 21 forms an inner peripheral portion when one of the two surfaces 20f and 20s is viewed in a plan view, and the second end portion 22 forms an outer peripheral portion at a position apart from the first end portion 21.
  • the structural member 30 has a support portion 35 and a valve seat portion 36.
  • the support portion 35 supports the first end portion 21.
  • the valve seat portion 36 contacts the second end portion 22 when the ventilation valve 20 is closed and is separated from the second end portion 22 when the ventilation valve is opened. .
  • the support portion 35 has a first contact portion 35f and a second contact portion 35s.
  • the first contact portion 35f and the second contact portion 35s sandwich the first end portion 21 of the ventilation valve 20.
  • the first contact portion 35f is in contact with the surface 21q, which is one of the pair of surfaces 21p facing each other at the first end portion 21.
  • the second contact portion 35s is in contact with the surface 21r that is the other of the pair of surfaces 21p at the first end portion 21.
  • the support portion 35 is in contact with the end surface 21e of the first end portion 21 that connects the pair of surfaces 21p between the first contact portion 35f and the second contact portion 35s.
  • the first end portion 21 is sandwiched by the first contact portion 35f and the second contact portion 35s, and also in contact with the support portion 35 at the end surface 21e. Therefore, the ventilation between the ventilation valve 20 and the support portion 35 is high. As a result, liquid and gas do not pass between the support portion 35 and the first end portion 21, and the reliability of the ventilation component 1 and the product in which the ventilation component 1 is mounted can be improved.
  • the end face 21e of the first end portion 21 is in contact with the support portion 35 in a state where the elastic body of the ventilation valve 20 is pressed against the support portion 35 by elastic deformation. In this case, the ventilation between the ventilation valve 20 and the support portion 35 is high.
  • the first end 21 is in liquid-tight contact with the support 35 at the end face 21e, for example.
  • the first end 21 is in liquid-tight and air-tight contact with the support 35 at the end face 21e.
  • the sealing property between the ventilation valve 20 and the support portion 35 tends to be higher.
  • airtight means that the pressure difference between the two spaces partitioned by the end face 21e can be maintained at 10 kPa or more.
  • the first contact portion 35f and the second contact portion 35s are in contact with the first end portion 21 while being pressed against the first end portion 21 so that the elastic body of the ventilation valve 20 is elastically deformed.
  • the first contact portion 35f and the second contact portion 35s are in liquid-tight contact with the first end portion 21, for example.
  • the first contact portion 35f and the second contact portion 35s desirably contact the first end portion 21 in a liquid-tight and air-tight manner.
  • the airtight means that the pressure difference between the two spaces partitioned by the first contact portion 35f or the second contact portion 35s can be maintained at 10 kPa or more.
  • the ventilation valve 20 has a through hole 25 in the center thereof.
  • the first end portion 21 is adjacent to the through hole 25.
  • the ventilation valve 20 is, for example, a kind of so-called umbrella valve (umbrella-type opening valve), and when one of the two surfaces 20f and 20s is viewed in plan, the first end portion It has an annular shape including an inner peripheral portion 21 and an outer peripheral portion forming the second end portion 22. Accordingly, if the support portion 35 has an annular shape, when the end face 21e is in contact with the support portion 35 in a state where the elastic body of the ventilation valve 20 is pressed against the support portion 35 by elastic deformation. The deformation amount of the elastic body is likely to be uniform around the axis of the ventilation valve 20.
  • Umbrella valves usually include a valve section that is responsible for opening and closing, and a shaft section that supports the valve section. There is also an umbrella valve that separately has a member forming a valve portion and another member forming a shaft portion.
  • the ventilation valve 20 has only a valve portion, for example, and has an annular shape when the valve portion is viewed in a plan view.
  • the structural member 30 serves as a shaft portion that supports the ventilation valve 20 that is the valve portion.
  • the through hole 25 of the ventilation valve 20 is used by the structural member 30 to support the ventilation valve 20.
  • the ventilation film 10 is arranged inside the inner peripheral surface forming the through hole 25 of the ventilation valve 20. As described above, the through hole 25 of the ventilation valve 20 has a sufficient size for accommodating the ventilation film 10.
  • the inner diameter of the inner peripheral portion that forms the first end portion 21 is a direction perpendicular to the axis of the ventilation valve 20 in the portion that contacts the end surface 21e of the support portion 35. Smaller than the maximum dimension at. As a result, the end surface 21e easily contacts the support portion 35 in a state where the elastic body of the ventilation valve 20 is pressed against the support portion 35 by elastic deformation.
  • the structural member 30 has, for example, an engaging portion 32c.
  • the engaging portion 32c is inserted into the vent hole 5 of the housing 2.
  • the ventilation component 1 further includes, for example, a seal member 60.
  • the seal member 60 seals the gap between the structural member 30 and the outer surface 2s of the housing 2 on which the ventilation component 1 is mounted, in the mounted state. Accordingly, it is possible to prevent the liquid from passing through between the structural member 30 and the outer surface 2s and being guided to the inside of the housing 2.
  • the seal member 60 is, for example, an O-ring or packing.
  • the material of the seal member 60 is, for example, an elastically deformable material.
  • the breathable membrane 10 is not limited to a particular breathable membrane as long as it has desired breathability.
  • the ventilation film 10 may be a single layer film or a multilayer film.
  • each layer may be one selected from the group consisting of a porous membrane, a non-woven fabric, a cloth, and a mesh.
  • the gas permeable membrane 10 may include a porous membrane and a nonwoven fabric, may include at least one of a cloth and a mesh, and a porous membrane, and may include a plurality of nonwoven fabrics.
  • the gas permeable membrane 10 is typically made of an organic polymer material (resin).
  • the material of the porous film is, for example, fluororesin.
  • fluororesin for example, polytetrafluoroethylene (PTFE), polychlorotrifluoroethylene, tetrafluoroethylene-hexafluoropropylene copolymer, or tetrafluoroethylene-ethylene copolymer can be used.
  • the material of the non-woven fabric, cloth, and mesh is, for example, polyester such as polyethylene terephthalate, polyolefin such as polyethylene and polypropylene, nylon, aramid, or ethylene vinyl acetate copolymer.
  • the breathable membrane 10 may be subjected to a liquid repellent treatment, if necessary.
  • the liquid repellent treatment is performed, for example, by forming a liquid repellent coating film containing a fluorine-based surface modifier having a perfluoroalkyl group on the gas permeable membrane 10.
  • the formation of the liquid-repellent coating is not particularly limited, for example, air spray method, electrostatic spray method, dip coating method, spin coating method, roll coating method, curtain flow coating method, or by a method such as impregnation, It is made by coating the resin porous film with a solution or dispersion of a fluorine-based surface modifier having a perfluoroalkyl group.
  • the liquid repellent coating film may be formed by an electrodeposition coating method or a plasma polymerization method.
  • the ventilation valve 20 opens by elastic deformation and closes by returning to the shape before deformation. Therefore, the ventilation valve 20 can be repeatedly opened and closed and can be used repeatedly. This has the advantage that the product after the inspection can be shipped after inspecting whether the ventilation valve 20 normally operates in the product in which the ventilation component 1 is attached to the housing 2.
  • the surface 20f of the ventilation valve 20 is formed, for example, without a step between the portion of the ventilation valve 20 adjacent to the first end 21 and the first end 21. .
  • the contact area between the first end 21 and the support 35 is likely to increase.
  • the surface 20s of the ventilation valve 20 is formed so as to have a step between the portion adjacent to the first end 21 of the ventilation valve 20 and the first end 21. . Therefore, the thickness of the first end portion 21 is larger than the thickness of the portion of the ventilation valve 20 adjacent to the first end portion 21. Thereby, the amount of deformation of the first end portion 21 sandwiched by the support portion 35 is likely to be large, and the sealing property between the ventilation valve 20 and the support portion 35 is high. In addition, it is easy to adjust the differential pressure required for opening the ventilation valve 20 to a desired range.
  • the structural portion of the ventilation valve 20 has a bent portion between a portion adjacent to the second end 22 of the ventilation valve 20 and the second end 22, and the bent portion is ventilated. It bends inside the valve 20. As a result, the contact area between the second end 22 and the valve seat portion 36 tends to increase with the ventilation valve 20 closed. As a result, the sealing property between the second end portion 20 and the valve seat portion 36 is high when the ventilation valve 20 is closed.
  • the elastic body included in the ventilation valve 20 is not limited to a specific material as long as it is an elastically deformable material.
  • the elastic body included in the ventilation valve 20 is, for example, an elastomer such as natural rubber, synthetic rubber, or a thermoplastic elastomer.
  • the synthetic rubber is, for example, nitrile butadiene rubber (NBR), ethylene propylene rubber (EPDM), silicone rubber, fluororubber, acrylic rubber, or hydrogenated nitrile rubber.
  • the ventilation valve 20 preferably contains silicone rubber as an elastic body. These elastic bodies can also be used as the material of the seal member 60.
  • the structural member 30 includes, for example, a first member 31 and a second member 32.
  • the first member 31 supports the gas permeable membrane 10.
  • the first member 31 includes a base portion 31b and a shaft portion 31s.
  • the base portion 31b has, for example, a disc shape and supports the gas permeable membrane 10.
  • the base portion 31b has a through hole 31h for ventilation in the center thereof.
  • the base 31b supports the peripheral edge of the gas permeable membrane 10 outside the through hole 31h in the direction perpendicular to the axis of the base 31b.
  • the gas permeable membrane 10 is fixed to the base 31b by a method such as heat welding, ultrasonic welding, or bonding with an adhesive.
  • the shaft portion 31s projects from the center of the base portion 31b in the axial direction of the base portion 31b.
  • the shaft portion 31s is tubular and has a plurality of (for example, three) leg portions 31g at positions apart from the base portion 31b in the axial direction of the base portion 31b.
  • the plurality of legs 31g are, for example, arranged equiangularly around the axis of the base 31b.
  • Each of the plurality of leg portions 31g has an engaging portion 31c at the tip thereof that protrudes in a direction perpendicular to the axis of the base portion 31b. Gas is ventilated by the gas flowing in and out of the shaft portion 31s or between the leg portions 31g and through the through hole 31h.
  • the second member 32 forms the bottom and side of the structural member 30.
  • the second member 32 is an annular member, and includes an inner peripheral portion 32i, an outer peripheral portion 32e, and a connecting portion 32k.
  • the inner peripheral portion 32i is located in the center of the second member 32 and has a tubular shape.
  • the outer peripheral portion 32e is separated from the inner peripheral portion 32i in a direction perpendicular to the axis of the inner peripheral portion 32i and surrounds the inner peripheral portion 32i, and has a tubular shape.
  • the outer peripheral portion 32e forms a side portion of the structural member 30.
  • the connecting portion 32k is located between the outer peripheral portion 32e and the inner peripheral portion 32i in the direction perpendicular to the axis of the inner peripheral portion 32i, and connects the outer peripheral portion 32e and the inner peripheral portion 32i.
  • the inner peripheral portion 32i and the connecting portion 32k form the bottom of the structural member 30.
  • the inner peripheral portion 32i has a mounting hole 32h, which is a through hole, in the center thereof.
  • the first member 31 is attached to the second member 32 at one end of the inner peripheral portion 32i in the axial direction.
  • the mounting hole 32h is a tapered hole at one end of the inner peripheral portion 32i.
  • the inner peripheral portion 32i is adjacent to the tapered hole and has an annular engaging surface 32f extending in a direction perpendicular to the axis of the inner peripheral portion 32i.
  • the shaft portion 31s is inserted into the tapered hole of the mounting hole 32h, and the engaging portion 31c faces the engaging surface 32f, whereby the first member 31 is prevented from coming off the mounting hole 32h.
  • the end surface of the inner peripheral portion 32i adjacent to the tapered hole in the axial direction of the inner peripheral portion 32i faces the bottom surface of the base portion 31b of the first member 31.
  • the support portion 35 is formed by, for example, the bottom surface of the base portion 31b of the first member 31 and the outer surface of one end portion of the inner peripheral portion 32i in the axial direction.
  • the inner peripheral surface of the inner peripheral portion 32i is formed so as to form a plurality of (for example, three) steps from the engagement surface 32f toward the other end of the inner peripheral portion 32i in the axial direction.
  • the inner peripheral surface of the inner peripheral portion 32i has a first side surface 32p, a second side surface 32q, a third side surface 32r, a first connecting surface 32t, and a second connecting surface 32u.
  • the first side surface 32p, the second side surface 32q, and the third side surface 32r extend in the axial direction of the inner peripheral portion 32i.
  • the first side surface 32p, the second side surface 32q, and the third side surface 32r have a first inner diameter, a second inner diameter, and a third inner diameter, respectively.
  • the first inner diameter is smaller than the second inner diameter, and the second inner diameter is smaller than the third inner diameter.
  • the first connecting surface 32t and the second connecting surface 32u extend in a direction perpendicular to the axis of the inner peripheral portion 32i.
  • the first connection surface 32t connects the first side surface 32p and the second side surface 32q.
  • the second connection surface 32u connects the second side surface 32q and the third side surface 32r.
  • the inner peripheral portion 32i includes, for example, a plurality (for example, three) of engaging portions 32c.
  • the engaging portion 32c projects outward in the direction perpendicular to the axis of the inner peripheral portion 32i, for example, at the other end of the inner peripheral portion 32i in the axial direction of the inner peripheral portion 32i.
  • the engagement portion 32c is, for example, a plate-shaped portion curved in an arc shape.
  • the plurality of engaging portions 32c are, for example, arranged equiangularly around the axis of the inner peripheral portion 32i.
  • a part of the vent hole 5 is formed by a plurality of (for example, three) protrusions 5p.
  • the plurality of protrusions 5p are arranged equiangularly around the axis of the vent 5, and a plurality of grooves 5r forming part of the vent 5 are present between the protrusions 5p.
  • the ventilation valve 20 is attached to the inner peripheral portion 32i so as to come into contact with the outer peripheral surface of the inner peripheral portion 32i forming a part of the support portion 35.
  • the hole diameter of the through hole 25 of the ventilation valve 20 is determined so that it can come into contact with the outer peripheral surface of the inner peripheral portion 32i.
  • the connecting portion 32k has, for example, a valve seat portion 36 and serves as a valve seat for the ventilation valve 20.
  • the valve seat portion 36 is located on the peripheral portion of the connecting portion 32k.
  • the connecting portion 32k has a flow path 32d for flowing gas.
  • the flow passage 32d is formed so as to be continuous in the axial direction of the inner peripheral portion 32i between the valve seat portion 36 and the inner peripheral portion 32i.
  • the ventilation valve 20 receives the pressure inside the housing 2 through the flow path 32d.
  • the connecting portion 32k further includes, for example, an annular groove 32g.
  • the seal member 60 is housed in the annular groove 32g.
  • the annular groove 32g is formed on the bottom surface of the connecting portion 32k so as to overlap the valve seat portion 36 in the direction perpendicular to the axis of the inner peripheral portion 32i, for example.
  • the outer peripheral portion 32e extends along the axial direction of the inner peripheral portion 32i outside the connecting portion 32k.
  • the outer peripheral portion 32e has an outer protruding portion 32j protruding outward in a direction perpendicular to the axis of the inner peripheral portion 32i.
  • the outer peripheral portion 32e has, for example, a plurality of inward protruding portions 32v.
  • the inward projection 32v projects inward in a direction perpendicular to the axis of the inner peripheral portion 32i at one end of the outer peripheral portion 32e in the axial direction of the inner peripheral portion 32i.
  • the plurality of inward protrusions 32v are arranged at predetermined intervals around the axis of the inner peripheral portion 32i.
  • the structural member 30 further includes, for example, a third member 33.
  • the third member 33 is, for example, a disk-shaped member.
  • the third member 33 cooperates with the first member 31 and the second member 32 to form the internal space 40.
  • the ventilation membrane 10 and the ventilation valve 20 are housed in the internal space 40, for example.
  • the third member 33 covers the gas permeable membrane 10 and the gas permeable valve 20 and protects the gas permeable membrane 10 and the gas permeable valve 20.
  • the third member 33 has a disk-shaped lid portion 33c and an engaging claw 33e.
  • the engaging claw 33e projects in the axial direction of the lid 33c from the peripheral edge of one main surface of the lid 33c.
  • the tip of the engaging claw 33e projects outward in the direction perpendicular to the axis of the lid 33c.
  • the third member 33 is inserted into the outer peripheral portion 32e so that the engaging claw 33e passes through the gap between the inner protruding portions 32v.
  • the third member 33 is rotated at a predetermined angle around the axis of the lid 33c so that the tip of the engaging claw 33e faces the inward protrusion 32v. In this way, the third member 33 is attached to the second member 32.
  • the third member 33 is prevented from coming off the second member 32 because the tip of the engaging claw 33e faces the inward protruding portion 32v.
  • the structural member 30 has a ventilation path 50.
  • the ventilation passage 50 connects the internal space 40 and the external space of the ventilation component 1 so as to allow ventilation.
  • the ventilation path 50 is formed, for example, between the connecting portion 32k and the inner surface of the outer peripheral portion 32e.
  • the material of the structural member 30 is, for example, synthetic resin or metal.
  • a thermoplastic resin can be used as the synthetic resin.
  • the thermoplastic resin is, for example, polybutylene terephthalate (PBT), polyethylene terephthalate (PET), polyphenylene sulfide (PPS), polysulfone (PS), polypropylene (PP), polyethylene (PE), or ABS resin.
  • the material of the structural member 30 may be a composite material having a thermoplastic resin as a base material.
  • the reinforcing agent added to the composite material may be glass fiber, carbon fiber, metal, or inorganic filler.
  • the ventilation valve 20 opens and the gas inside the housing 2 is It is discharged to the outside of the housing 2 through the flow path including the flow path 32d, the internal space 40, and the ventilation path 50. Since the gas permeable membrane 10 is not arranged in the gas flow path formed by opening the ventilation valve 20, a large amount of gas can be discharged from the inside of the housing 2 in a short period of time. In addition, even if the vent valve is provided, the vent membrane or the like may be damaged due to a rapid increase in the pressure inside the housing. However, the ventilation component 1 has a structure capable of suppressing such a phenomenon.
  • the ventilation component 1 has an annular shape in which the ventilation valve 20 has a through hole in the center when seen in a plan view. Further, the ventilation component 1 has a structure in which the ventilation film 10 is housed such that the ventilation film 10 is located inside the inner peripheral surface forming the through hole 25 of the ventilation valve 20 when seen in a plan view.
  • the cross-sectional area of the flow path through which the gas passes and the valve portion of the ventilation valve 20 are as large as possible.

Landscapes

  • Engineering & Computer Science (AREA)
  • General Engineering & Computer Science (AREA)
  • Mechanical Engineering (AREA)
  • Self-Closing Valves And Venting Or Aerating Valves (AREA)
  • Gas Exhaust Devices For Batteries (AREA)
  • Casings For Electric Apparatus (AREA)
PCT/JP2019/040956 2018-10-25 2019-10-17 通気部品 Ceased WO2020085211A1 (ja)

Priority Applications (2)

Application Number Priority Date Filing Date Title
JP2020553306A JPWO2020085211A1 (ja) 2018-10-25 2019-10-17 通気部品
JP2023147330A JP7723050B2 (ja) 2018-10-25 2023-09-12 通気部品

Applications Claiming Priority (2)

Application Number Priority Date Filing Date Title
JP2018201124 2018-10-25
JP2018-201124 2018-10-25

Publications (1)

Publication Number Publication Date
WO2020085211A1 true WO2020085211A1 (ja) 2020-04-30

Family

ID=70330713

Family Applications (1)

Application Number Title Priority Date Filing Date
PCT/JP2019/040956 Ceased WO2020085211A1 (ja) 2018-10-25 2019-10-17 通気部品

Country Status (2)

Country Link
JP (2) JPWO2020085211A1 (enExample)
WO (1) WO2020085211A1 (enExample)

Cited By (2)

* Cited by examiner, † Cited by third party
Publication number Priority date Publication date Assignee Title
US20230235826A1 (en) * 2020-09-01 2023-07-27 Neoperl Gmbh Check valve with integrated pressure relied valve
WO2025177229A1 (en) * 2024-02-22 2025-08-28 Maserati S.P.A. Vent valve for battery pack assembly for a vehicle

Citations (6)

* Cited by examiner, † Cited by third party
Publication number Priority date Publication date Assignee Title
JPS55158359U (enExample) * 1979-04-30 1980-11-14
JPS59112754U (ja) * 1983-01-19 1984-07-30 リズム自動車部品製造株式会社 吸排気弁付キヤツプ
JP2013168293A (ja) * 2012-02-16 2013-08-29 Automotive Energy Supply Corp バッテリパックの防爆弁
DE202015100970U1 (de) * 2015-02-27 2015-03-23 Samson Ag Entlüftungsventil
US20180292020A1 (en) * 2017-04-06 2018-10-11 Carl Freudenberg Kg Pressure-compensation device for a housing
WO2018199238A1 (ja) * 2017-04-28 2018-11-01 日東電工株式会社 通気ユニット

Patent Citations (6)

* Cited by examiner, † Cited by third party
Publication number Priority date Publication date Assignee Title
JPS55158359U (enExample) * 1979-04-30 1980-11-14
JPS59112754U (ja) * 1983-01-19 1984-07-30 リズム自動車部品製造株式会社 吸排気弁付キヤツプ
JP2013168293A (ja) * 2012-02-16 2013-08-29 Automotive Energy Supply Corp バッテリパックの防爆弁
DE202015100970U1 (de) * 2015-02-27 2015-03-23 Samson Ag Entlüftungsventil
US20180292020A1 (en) * 2017-04-06 2018-10-11 Carl Freudenberg Kg Pressure-compensation device for a housing
WO2018199238A1 (ja) * 2017-04-28 2018-11-01 日東電工株式会社 通気ユニット

Cited By (2)

* Cited by examiner, † Cited by third party
Publication number Priority date Publication date Assignee Title
US20230235826A1 (en) * 2020-09-01 2023-07-27 Neoperl Gmbh Check valve with integrated pressure relied valve
WO2025177229A1 (en) * 2024-02-22 2025-08-28 Maserati S.P.A. Vent valve for battery pack assembly for a vehicle

Also Published As

Publication number Publication date
JPWO2020085211A1 (ja) 2021-09-16
JP7723050B2 (ja) 2025-08-13
JP2024001893A (ja) 2024-01-10

Similar Documents

Publication Publication Date Title
WO2020085210A1 (ja) 通気部品
WO2020085212A1 (ja) 通気部品
KR102840353B1 (ko) 릴리프 밸브를 갖는 통기구
US9120059B2 (en) Ventilation unit
JP7034581B2 (ja) 通気部材
US9120060B2 (en) Ventilation unit
JP7723050B2 (ja) 通気部品
WO2012157149A1 (ja) 通気構造
CN104075300B (zh) 通气部件
US11739853B2 (en) Ventilation component
JP5710359B2 (ja) 通気部材
JP2024110957A (ja) 部品及びアセンブリ

Legal Events

Date Code Title Description
121 Ep: the epo has been informed by wipo that ep was designated in this application

Ref document number: 19875497

Country of ref document: EP

Kind code of ref document: A1

ENP Entry into the national phase

Ref document number: 2020553306

Country of ref document: JP

Kind code of ref document: A

NENP Non-entry into the national phase

Ref country code: DE

122 Ep: pct application non-entry in european phase

Ref document number: 19875497

Country of ref document: EP

Kind code of ref document: A1