WO2016080086A1 - 冷蔵庫 - Google Patents

冷蔵庫 Download PDF

Info

Publication number
WO2016080086A1
WO2016080086A1 PCT/JP2015/077952 JP2015077952W WO2016080086A1 WO 2016080086 A1 WO2016080086 A1 WO 2016080086A1 JP 2015077952 W JP2015077952 W JP 2015077952W WO 2016080086 A1 WO2016080086 A1 WO 2016080086A1
Authority
WO
WIPO (PCT)
Prior art keywords
refrigerator
adjustment
adjustment foot
foot
tool
Prior art date
Legal status (The legal status is an assumption and is not a legal conclusion. Google has not performed a legal analysis and makes no representation as to the accuracy of the status listed.)
Ceased
Application number
PCT/JP2015/077952
Other languages
English (en)
French (fr)
Japanese (ja)
Inventor
川上 俊史
森下 清
雄吾 松下
Current Assignee (The listed assignees may be inaccurate. Google has not performed a legal analysis and makes no representation or warranty as to the accuracy of the list.)
Mitsubishi Electric Corp
Original Assignee
Mitsubishi Electric Corp
Priority date (The priority date is an assumption and is not a legal conclusion. Google has not performed a legal analysis and makes no representation as to the accuracy of the date listed.)
Filing date
Publication date
Application filed by Mitsubishi Electric Corp filed Critical Mitsubishi Electric Corp
Priority to AU2015351339A priority Critical patent/AU2015351339B2/en
Priority to TW104133644A priority patent/TWI622746B/zh
Priority to CN201520859642.7U priority patent/CN205174980U/zh
Publication of WO2016080086A1 publication Critical patent/WO2016080086A1/ja
Anticipated expiration legal-status Critical
Ceased legal-status Critical Current

Links

Images

Classifications

    • FMECHANICAL ENGINEERING; LIGHTING; HEATING; WEAPONS; BLASTING
    • F25REFRIGERATION OR COOLING; COMBINED HEATING AND REFRIGERATION SYSTEMS; HEAT PUMP SYSTEMS; MANUFACTURE OR STORAGE OF ICE; LIQUEFACTION SOLIDIFICATION OF GASES
    • F25DREFRIGERATORS; COLD ROOMS; ICE-BOXES; COOLING OR FREEZING APPARATUS NOT OTHERWISE PROVIDED FOR
    • F25D23/00General constructional features
    • FMECHANICAL ENGINEERING; LIGHTING; HEATING; WEAPONS; BLASTING
    • F25REFRIGERATION OR COOLING; COMBINED HEATING AND REFRIGERATION SYSTEMS; HEAT PUMP SYSTEMS; MANUFACTURE OR STORAGE OF ICE; LIQUEFACTION SOLIDIFICATION OF GASES
    • F25DREFRIGERATORS; COLD ROOMS; ICE-BOXES; COOLING OR FREEZING APPARATUS NOT OTHERWISE PROVIDED FOR
    • F25D2323/00General constructional features not provided for in other groups of this subclass
    • F25D2323/0011Means for leveling refrigerators
    • FMECHANICAL ENGINEERING; LIGHTING; HEATING; WEAPONS; BLASTING
    • F25REFRIGERATION OR COOLING; COMBINED HEATING AND REFRIGERATION SYSTEMS; HEAT PUMP SYSTEMS; MANUFACTURE OR STORAGE OF ICE; LIQUEFACTION SOLIDIFICATION OF GASES
    • F25DREFRIGERATORS; COLD ROOMS; ICE-BOXES; COOLING OR FREEZING APPARATUS NOT OTHERWISE PROVIDED FOR
    • F25D2400/00General features of, or devices for refrigerators, cold rooms, ice-boxes, or for cooling or freezing apparatus not covered by any other subclass
    • F25D2400/38Refrigerating devices characterised by wheels

Definitions

  • the present invention relates to a refrigerator, and more particularly to a configuration of an adjustment foot capable of adjusting the height.
  • the refrigerator has an adjustment foot on the bottom of the refrigerator in order to hold the refrigerator horizontally according to the installation surface.
  • the adjustment foot includes an adjustment foot main body and a screw portion, and is attached to the refrigerator by screwing the screw portion to the bottom surface of the refrigerator.
  • the height of the adjustment foot protruding from the bottom surface of the refrigerator can be adjusted by rotating the adjustment foot. Since the height adjustment work is performed after the refrigerator is installed, the weight of the refrigerator is applied to the adjustment foot, and the height adjustment work is performed in a state where the adjustment foot and the installation surface are in contact with each other.
  • a through hole or a through groove is provided in the adjustment foot body, and a long tool such as a screwdriver is inserted there, and the screw is engaged with the hole or groove to apply force to the gripping portion of the tool.
  • the height was adjusted accordingly. By doing so, it is possible to reduce the force required to rotate the adjustment foot, compared to the case where the outer periphery of the adjustment foot body is gripped and rotated by hand. Thereby, height adjustment work can be easily performed (for example, refer patent document 1).
  • the adjustment feet are arranged on the bottom surface of the refrigerator housing, and the adjustment feet main body is formed with a through hole or a groove so that the height of the adjustment feet main body is high. Accordingly, it is necessary to raise the bottom surface of the refrigerator case and arrange the adjusting feet.
  • a certain distance is required between the bottom surface of the refrigerator casing and the floor surface of the storage chamber.
  • the bottom of the refrigerator casing becomes high, in order to insulate it accordingly, it is necessary to raise the floor of the storage room inside the refrigerator, and there is a problem that the internal volume of the refrigerator is lost. It was.
  • the present invention has been made to solve the above-described problems, and an object thereof is to obtain a refrigerator provided with adjustment feet that can be easily adjusted in height without reducing the internal volume of the refrigerator. Is.
  • a refrigerator includes a refrigerator housing having an open front surface and an adjustment foot attached to a bottom surface of the refrigerator housing, the adjustment foot being provided perpendicularly to the adjustment foot body and the adjustment foot body
  • a screw part that is screwed onto the bottom surface of the refrigerator housing, and the adjustment foot body is provided to open from the outer peripheral part of the adjustment foot body toward the center side of the adjustment foot body, The end of the opening is provided with a tool engaging portion on the near side of the screw portion in plan view.
  • the internal volume of the refrigerator is provided on the adjustment foot disposed on the bottom surface of the refrigerator housing by providing the tool engagement portion that does not penetrate the adjustment foot main body and terminates in front of the screw portion. Without reducing the height, the height can be easily adjusted using a commercially available tool or the like.
  • FIG. 7 is a bottom perspective view of the support leg shown in FIG. 6. It is a front view in the state where the adjustment foot was attached to the support leg of the refrigerator of FIG. It is a side view of the support leg of the refrigerator represented to FIG. It is sectional drawing of the ZZ part of FIG.
  • FIG. 1 is a front view showing an example of a refrigerator according to Embodiment 1 of the present invention.
  • the specification of each room which is the storage part of the refrigerator which concerns on embodiment of this invention is demonstrated.
  • “left” and “right” mean “left” and “right” when viewed from the front of the refrigerator shown in FIG. 1, and “front” is an opening of a refrigerator housing having a storage section inside.
  • Side, “rear” means the back side of the refrigerator.
  • the refrigerator casing 1 of the refrigerator according to Embodiment 1 of the present invention has an opening on the front surface, and the inside is a storage part for things, and a plurality of rooms are provided. There is a door on the front of each room.
  • the refrigerator housing 1 forms a sealed space by a resin inner box 40 (see FIG. 5) and a sheet metal outer plate 41 on the outside of the refrigerator, and the sealed space. Is filled with a urethane foam heat insulating material (not shown).
  • a vacuum heat insulating material may be used by embedding it in a urethane foam heat insulating material.
  • the inside of the refrigerator housing 1 is divided into a refrigerator room, an ice making room, a switching room, a freezer room, and a vegetable room by a partition 45, a partition 46, a partition 47, and a partition 48 having a heat insulating function.
  • a door 27, door 28, door 29, door 30, door 31, and door 32 having a heat insulating function are installed in front of each partitioned room, and each room is insulated from the outside of the refrigerator.
  • the doors 27 and 28 are double doors having a rotating shaft (not shown) at the left and right ends on the front side of the refrigerator, and the interior of the doors 27 and 28 opened is set to a temperature of about 3 degrees. It is a refrigerator room.
  • the door 29 is an ice making room door for storing ice.
  • the door 30 is a switching chamber door that can select a temperature from about 3 degrees to -18 degrees.
  • a partition 48 is provided between the ice making chamber and the switching chamber.
  • a partition 45 is provided between the ice making room and the switching room and the refrigerator room.
  • the door 31 is a freezer compartment door having an internal temperature of about ⁇ 18 degrees.
  • the door 32 is a vegetable room door having an internal temperature of about 5 degrees.
  • a partition 46 is provided between the ice making room / switching room and the freezing room, and a partition 47 is provided between the freezing room and the vegetable room.
  • Each of the ice making room, the switching room, the freezing room, and the vegetable room is of a drawer type, and each has a drawer and a pair of drawer rail structures on the left and right of each room.
  • the ice making room and switching room are also equipped with cases.
  • the freezer and vegetable compartments are equipped with cases at the top and bottom.
  • FIG. 2 is a side view of the refrigerator of FIG.
  • the decorative cover 8 is in a state of being removed from the front side of the bottom surface of the refrigerator.
  • a decorative cover 8 is attached to the front side of the bottom surface of the refrigerator to cover the support leg 4 and the front moving roller 12.
  • An upper handle portion 2 is provided at the upper rear side of the refrigerator casing 1.
  • FIG. 3 is a perspective view seen from the bottom side of the refrigerator of FIG. 1, and FIG. 4 is an enlarged view of part A of FIG.
  • FIG. 5 is a perspective view of the periphery of the supporting leg portion of the refrigerator in FIG. 1, showing a state in which the door 32 of the vegetable compartment is opened and the internal drawer is removed. 3, 4, and 5, the decorative cover 8 is in a state of being removed from the front side of the bottom surface of the refrigerator.
  • the refrigerator compresses the cooler (not shown) for cooling the air in the refrigerator, the fan (not shown) for circulating the air, the motor for rotating the fan, and the refrigerant sent to the cooler. And a compressor (not shown).
  • the compressor is installed on the inside of the refrigerator and is mounted on the base plate 11.
  • a front girder 3 made of sheet metal is provided on the front side of the bottom surface of the refrigerator casing.
  • Refrigerator support legs 4 are provided on the left and right of the front beam 3.
  • the support leg 4 includes an adjustment foot 6.
  • the adjusting foot 6 is attached so that the height can be adjusted in the vertical direction of the refrigerator.
  • the support leg 4 is provided with a pair of front moving rollers 12 and the base plate 11 is provided with a pair of rear moving rollers 13 on the left and right sides of the bottom surface of the refrigerator.
  • a decorative cover 8 is attached so as to hide the support leg 4 and the front moving roller 12.
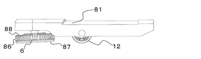
  • the support leg member 81 shown in FIG. 6 is made of sheet metal, and is fixed to the bottom surface of the refrigerator housing with a screw.
  • the adjusting foot 6 is located in front of the opening end face of the refrigerator housing 1 and below the door 32 of the vegetable compartment. Even if the center of gravity of the refrigerator is placed forward when the refrigerator door is opened, the refrigerator is disposed so as not to fall forward.
  • FIG. 6 is a perspective view of the supporting leg 4 of the refrigerator shown in FIG. 1 as viewed from the upper surface side with the adjusting foot 6 removed from the supporting leg 4, and
  • FIG. 7 is a perspective view of the supporting leg 4 of FIG. FIG.
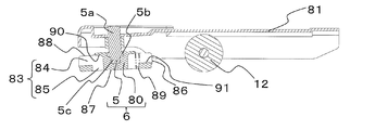
  • the adjustment foot 6 is composed of, for example, a resin adjustment foot main body 80 and a screw portion 5.
  • the adjustment foot main body 80 has a cylindrical shape, and has a circular shape with a diameter of, for example, about 45 mm when viewed from above.
  • the adjustment foot 6 includes a screw portion 5 protruding from the upper surface side of the circular center portion of the adjustment foot main body 80, and the screw portion 5 is screwed into a nut portion 82 welded to the support leg member 81 to thereby reduce the refrigerator.
  • the screw portion 5 protruding from the adjustment foot upper portion 88 has a central axis perpendicular to the adjustment foot bottom portion 87, and is fixed to a resin adjustment foot main body 80 by integral molding, for example.
  • the threaded portion 5 includes a threaded portion 5a, a flange-shaped portion 5b, and a shaft portion 5c before being integrally formed with the adjusting foot main body 80.
  • the screw portion 5 is integrated with the adjustment foot main body 80, the flange-shaped portion 5b and the shaft portion 5c are embedded in the adjustment foot main body (see FIG. 10).
  • the adjustment sole 87 is in contact with the installation surface of the refrigerator and supports the weight of the refrigerator.
  • the installation contractor or the user of the refrigerator can adjust the height of the adjustment foot 6 from the support leg 4 by grasping and rotating the circular adjustment foot side portion 86 of the adjustment foot 6,
  • the refrigerator can be installed horizontally according to the state of the refrigerator installation surface.
  • the adjustment foot side portion 86 is circular when the adjustment foot 6 is viewed from above.
  • the outer periphery of the circular adjustment foot 6 is an adjustment foot side portion 86.
  • the adjusting foot side portion 86 corresponds to the “outer peripheral portion” in the present invention.
  • the adjustment foot side portion 86 is provided with a concavo-convex shape extending in a direction perpendicular to the adjustment foot bottom portion 87 so that a finger of a user or the like is not easily slipped when the outer periphery of the adjustment foot 6 is grasped. Further, the adjustment foot 6 is provided with four tool engaging portions 83 having openings in the adjustment foot side portion 86, and it is difficult to rotate the gripping foot portion 86 with a hand or the like. In some cases, a tool can be inserted and rotated.
  • FIG. 8 is a front view of the adjustment foot 6 attached to the support leg 4, and FIG. 9 is a side view of FIG.
  • FIG. 10 is a view showing a cross-section of the ZZ portion of FIG. 8, and shows a cross-sectional view in a state where the adjustment foot 6 is attached to the support leg 4.
  • the adjustment foot 6 is provided with four tool engaging portions 83 radially around the screw portion 5.
  • the tool engaging portion 83 has a width in which a rod-shaped object having a diameter of about 6 mm can be inserted.
  • the tool engaging portion 83 serves as a working hole for inserting a generally sold driver from the outer peripheral side of the adjusting foot 6 substantially horizontally. It is possible to use.
  • a large torque can be applied to the adjusting foot 6 by inserting, for example, a screwdriver into the tool engaging portion 83 and applying a load to the gripping portion of the driver in the direction in which the adjusting foot 6 rotates.
  • the friction force between the bottom surface of the adjustment foot 6 and the installation surface is high, and it may be difficult to grasp and rotate the outer periphery of the adjustment foot 6.
  • the weight of the refrigerator increases, and the friction force between the adjustment sole 87 and the installation surface may increase due to the weight of the refrigerator. In such a case, it is possible to easily adjust the height by rotating the adjusting foot 6 using a familiar tool possessed by the refrigerator installer or the user of the refrigerator. Can be installed.
  • the tool engagement portion 83 is formed from the outer periphery of the adjustment foot 6 toward the screw portion 5.
  • the outer peripheral surface of the adjustment foot 6 is used as the start end of the tool engagement portion 83, and the screw portion 5 of the adjustment foot 6 is embedded therein.
  • the end of the tool engaging portion 83 is the point before reaching the portion.
  • an upper groove 84 having a groove shape with the upper side opened.
  • a bottom hole 85 whose lower side is opened, and there is a resin on the upper side of the adjustment foot 6 and a hole in the lower side.
  • the upper groove 84 and the bottom hole 85 are arranged such that the center line of the upper groove 84 and the center line of the bottom hole 85 are on the same straight line or substantially the same straight line.
  • the hole 85 communicates with each other.
  • the hole 85 has a size that allows the tool to be inserted (see FIG. 8). .
  • the wall surfaces forming the groove side surfaces of the upper groove 84 and the bottom hole 85 are connected to form a continuous surface. However, as long as a tool can be inserted and a force can be applied, a case where there is a step between the wall surface of the upper groove 84 and the wall surface of the bottom hole 85 is acceptable, for example, due to processing convenience.
  • the upper groove 84 which is a portion opened to the upper side of the tool engaging portion 83 and the bottom hole 85 which is a portion opened to the lower side overlap each other.
  • channel 84 and the bottom hole 85 is demonstrated.
  • the tool engaging portion 83 is formed only by the upper groove 84, there is no portion for receiving the tool on the upper side. It is difficult to apply a force in the direction of rotation, and it is not suitable for adjustment work.
  • By making the dimension of the depth direction of the upper groove 84 larger than the diameter of the tool to be inserted it is possible to make it difficult for the tool to come out of the groove. This will cause a loss in the internal volume.
  • the tool engaging part 83 is formed only by the groove
  • the gripping part of the tool is thicker than the tip, so when inserting the tool tip into the tool engagement part 83, the tool is engaged with the tool tip inclined toward the installation surface. It is necessary to insert into the part 83. If the depth direction dimension of the groove opened on the bottom side is deeper than the radius of the gripping part of the tool, the tool can be inserted horizontally with the installation surface, but the depth of the groove opened by the operator on the bottom side can be reduced.
  • the depth dimension of the groove opened on the bottom surface side is determined in consideration of the gripping part dimensions of many types of tools, the height of the adjustment foot 6 becomes large, causing a loss in the internal volume of the refrigerator. It will be.
  • the tool tip side has a resin wall 90 on the upper surface side of the adjustment foot 6, and the wall 90 on the adjustment foot upper side is inserted. In order to limit the movement of the tool tip, the tool tip is unlikely to come off the groove during work.
  • the gripping portion side of the tool inserted into the tool engaging portion 83 has a wall 91 on the bottom surface side of the adjustment foot 6 and opens on the upper surface side of the adjustment foot 6, so that the tool is centered from the outer peripheral side of the adjustment foot 6. It is possible to insert diagonally from the upper surface side of the adjustment foot 6 with the tool tip directed toward the installation surface. This makes it easy to insert the tool into the tool engaging portion 83 even when the outer diameter dimension of the tool gripping portion is thicker than the tool tip, and the tool selection is performed when the adjustment foot 6 is rotated.
  • the tool engaging portion 83 can be configured without the hole 89 penetrating the adjustment foot 6 in the vertical direction.
  • the presence of the hole 89 allows the undercut to be formed in the shape of the resin molding portion of the adjustment foot main body 80. Since there is no portion, there is an advantage that a mold structure for resin molding can be simplified. In addition, there is an advantage that processing can be easily performed even when manufacturing by machining.
  • the tool engaging portion 83 closes the upper groove 84 by the wall 90 on the upper side of the adjustment foot, and moves from the adjustment foot side portion 86 provided with an opening in the adjustment foot side portion 86 toward the screw portion 5 of the adjustment foot 6.
  • the extending lateral hole and the bottom hole 85 may be communicated with each other.
  • the tool engaging portion 83 may be configured to communicate from the outer peripheral side of the adjusting foot 6 in the order of the lateral hole opened to the adjusting foot side portion 86, the upper groove 84, and the bottom hole 85. Even in these configurations, the above-described dust and the like are not easily collected, and the effect of easily removing the dust can be obtained.
  • Refrigerator housing 2 Upper handle part, 3 Front girder, 4 Support leg, 5 Screw part, 5a Screw processing part, 5b Flange shape part, 5c Shaft part, 6 Adjustable foot, 8 Cosmetic cover, 11 Base plate, 12 Front side Transfer roller, 13 Rear transfer roller, 27 (Left of refrigeration room) door, 28 (Right of refrigeration room) door, 29 (Ice room) door, 30 (Switch room) door, 31 (Freezer room) ) Door, 32 (Vegetable room) door, 40 Inner box, 41 Outer plate, 45 (Partition between ice making room and switching room and refrigeration room), 46 (Between ice making room and switching room and freezing room) ) Partition, 47 partition (between freezer compartment and vegetable compartment), 48 partition (between ice making chamber and switching chamber), 80 adjustment foot body, 81 support leg member, 82 nut part, 83 tool engagement part 84, upper groove, 85 bottom hole, 6 adjusting leg side, 87 adjusting paw, 88 adjusting feet top, 89 holes, 90 (the upper side

Landscapes

  • Engineering & Computer Science (AREA)
  • Chemical & Material Sciences (AREA)
  • Combustion & Propulsion (AREA)
  • Physics & Mathematics (AREA)
  • Mechanical Engineering (AREA)
  • Thermal Sciences (AREA)
  • General Engineering & Computer Science (AREA)
  • Refrigerator Housings (AREA)
  • Devices That Are Associated With Refrigeration Equipment (AREA)
PCT/JP2015/077952 2014-11-21 2015-10-01 冷蔵庫 Ceased WO2016080086A1 (ja)

Priority Applications (3)

Application Number Priority Date Filing Date Title
AU2015351339A AU2015351339B2 (en) 2014-11-21 2015-10-01 Refrigerator
TW104133644A TWI622746B (zh) 2014-11-21 2015-10-14 refrigerator
CN201520859642.7U CN205174980U (zh) 2014-11-21 2015-10-30 冰箱

Applications Claiming Priority (2)

Application Number Priority Date Filing Date Title
JP2014236394A JP6238875B2 (ja) 2014-11-21 2014-11-21 冷蔵庫
JP2014-236394 2014-11-21

Publications (1)

Publication Number Publication Date
WO2016080086A1 true WO2016080086A1 (ja) 2016-05-26

Family

ID=56013644

Family Applications (1)

Application Number Title Priority Date Filing Date
PCT/JP2015/077952 Ceased WO2016080086A1 (ja) 2014-11-21 2015-10-01 冷蔵庫

Country Status (4)

Country Link
JP (1) JP6238875B2 (enExample)
AU (1) AU2015351339B2 (enExample)
TW (1) TWI622746B (enExample)
WO (1) WO2016080086A1 (enExample)

Cited By (3)

* Cited by examiner, † Cited by third party
Publication number Priority date Publication date Assignee Title
JP2018025353A (ja) * 2016-08-10 2018-02-15 パナソニックIpマネジメント株式会社 冷蔵庫
US20230029409A1 (en) * 2020-01-06 2023-01-26 Lg Electronics Inc. Plant cultivation device and refrigerator
US20230251017A1 (en) * 2020-06-30 2023-08-10 Qingdao Haier Refrigerator Co., Ltd. Installation foot and refrigerator having same

Families Citing this family (3)

* Cited by examiner, † Cited by third party
Publication number Priority date Publication date Assignee Title
CN111426138A (zh) * 2020-03-10 2020-07-17 澳柯玛股份有限公司 一种冰箱底脚组件
WO2021186536A1 (ja) * 2020-03-17 2021-09-23 三菱電機株式会社 冷蔵庫
TWI754296B (zh) * 2020-06-09 2022-02-01 新加坡商鴻運科股份有限公司 支撐腳座及機櫃

Citations (5)

* Cited by examiner, † Cited by third party
Publication number Priority date Publication date Assignee Title
CN1280286A (zh) * 2000-08-09 2001-01-17 海尔集团公司 可调底脚
JP2008069999A (ja) * 2006-09-12 2008-03-27 Matsushita Electric Ind Co Ltd 冷蔵庫
JP2009036458A (ja) * 2007-08-02 2009-02-19 Hitachi Appliances Inc 冷蔵庫
CN102587763A (zh) * 2012-03-23 2012-07-18 合肥晶弘电器有限公司 冰箱门下铰链组件
CN102865437A (zh) * 2012-09-27 2013-01-09 合肥华凌股份有限公司 用于制冷设备的调节脚及具有其的冰箱

Family Cites Families (1)

* Cited by examiner, † Cited by third party
Publication number Priority date Publication date Assignee Title
CN202467436U (zh) * 2012-03-23 2012-10-03 合肥晶弘电器有限公司 冰箱门下铰链组件

Patent Citations (5)

* Cited by examiner, † Cited by third party
Publication number Priority date Publication date Assignee Title
CN1280286A (zh) * 2000-08-09 2001-01-17 海尔集团公司 可调底脚
JP2008069999A (ja) * 2006-09-12 2008-03-27 Matsushita Electric Ind Co Ltd 冷蔵庫
JP2009036458A (ja) * 2007-08-02 2009-02-19 Hitachi Appliances Inc 冷蔵庫
CN102587763A (zh) * 2012-03-23 2012-07-18 合肥晶弘电器有限公司 冰箱门下铰链组件
CN102865437A (zh) * 2012-09-27 2013-01-09 合肥华凌股份有限公司 用于制冷设备的调节脚及具有其的冰箱

Cited By (5)

* Cited by examiner, † Cited by third party
Publication number Priority date Publication date Assignee Title
JP2018025353A (ja) * 2016-08-10 2018-02-15 パナソニックIpマネジメント株式会社 冷蔵庫
US20230029409A1 (en) * 2020-01-06 2023-01-26 Lg Electronics Inc. Plant cultivation device and refrigerator
US12342771B2 (en) * 2020-01-06 2025-07-01 Lg Electronics Inc. Plant cultivation device and refrigerator
US20230251017A1 (en) * 2020-06-30 2023-08-10 Qingdao Haier Refrigerator Co., Ltd. Installation foot and refrigerator having same
US12181205B2 (en) * 2020-06-30 2024-12-31 Qingdao Haier Refrigerator Co., Ltd. Installation foot and refrigerator having same

Also Published As

Publication number Publication date
TWI622746B (zh) 2018-05-01
AU2015351339A1 (en) 2017-03-23
AU2015351339B2 (en) 2017-12-21
TW201632819A (zh) 2016-09-16
JP2016099053A (ja) 2016-05-30
JP6238875B2 (ja) 2017-11-29

Similar Documents

Publication Publication Date Title
JP6238875B2 (ja) 冷蔵庫
KR102073004B1 (ko) 냉장고
KR101586306B1 (ko) 냉장고
US10047994B2 (en) Refrigerator and method for assembling ice machine thereof
KR20130063836A (ko) 냉장고
KR100548307B1 (ko) 진동 절연형 냉장고
KR101701466B1 (ko) 회전식 선반이 구비된 냉장고
KR20140088376A (ko) 냉장고용 롤러 장치
US7730738B2 (en) Cool air supply duct of refrigerator
CN205174980U (zh) 冰箱
US10900706B2 (en) Double-telescoping leg leveler
JP2019025613A (ja) 高さ調節工具、高さ調節装置及び高さ調節方法
WO2015165494A1 (en) Refrigeration appliance food carrier and a drive device for instantly adjusting height of such a food carrier
KR20100085272A (ko) 냉장고용 선반높이 조절장치
JP6614950B2 (ja) 冷蔵庫
CN210425732U (zh) 冰箱
CN217541189U (zh) 冰箱
KR101414124B1 (ko) 회전식 냉장고
CN219415347U (zh) 一种冰箱
CN209579490U (zh) 一种五金工具存放柜
JPH04126985A (ja) 冷蔵庫
KR20150000199A (ko) 냉장고의 홈바선반 구조
EP3037749B1 (en) Household appliance for refrigerating foodstuffs
KR20080013150A (ko) 냉장고용 선반
KR20180067212A (ko) 냉장고의 서랍

Legal Events

Date Code Title Description
121 Ep: the epo has been informed by wipo that ep was designated in this application

Ref document number: 15861607

Country of ref document: EP

Kind code of ref document: A1

ENP Entry into the national phase

Ref document number: 2015351339

Country of ref document: AU

Date of ref document: 20151001

Kind code of ref document: A

NENP Non-entry into the national phase

Ref country code: DE

122 Ep: pct application non-entry in european phase

Ref document number: 15861607

Country of ref document: EP

Kind code of ref document: A1