WO2011074201A1 - Method for performing handover, user equipment, and radio communication system - Google Patents
Method for performing handover, user equipment, and radio communication system Download PDFInfo
- Publication number
- WO2011074201A1 WO2011074201A1 PCT/JP2010/007037 JP2010007037W WO2011074201A1 WO 2011074201 A1 WO2011074201 A1 WO 2011074201A1 JP 2010007037 W JP2010007037 W JP 2010007037W WO 2011074201 A1 WO2011074201 A1 WO 2011074201A1
- Authority
- WO
- WIPO (PCT)
- Prior art keywords
- base station
- communication resource
- component carrier
- mobile station
- communication
- Prior art date
- Legal status (The legal status is an assumption and is not a legal conclusion. Google has not performed a legal analysis and makes no representation as to the accuracy of the status listed.)
- Ceased
Links
Images
Classifications
-
- H—ELECTRICITY
- H04—ELECTRIC COMMUNICATION TECHNIQUE
- H04W—WIRELESS COMMUNICATION NETWORKS
- H04W56/00—Synchronisation arrangements
- H04W56/001—Synchronization between nodes
-
- H—ELECTRICITY
- H04—ELECTRIC COMMUNICATION TECHNIQUE
- H04W—WIRELESS COMMUNICATION NETWORKS
- H04W24/00—Supervisory, monitoring or testing arrangements
- H04W24/02—Arrangements for optimising operational condition
-
- H—ELECTRICITY
- H04—ELECTRIC COMMUNICATION TECHNIQUE
- H04W—WIRELESS COMMUNICATION NETWORKS
- H04W36/00—Hand-off or reselection arrangements
- H04W36/0005—Control or signalling for completing the hand-off
- H04W36/0011—Control or signalling for completing the hand-off for data sessions of end-to-end connection
- H04W36/0016—Hand-off preparation specially adapted for end-to-end data sessions
-
- H—ELECTRICITY
- H04—ELECTRIC COMMUNICATION TECHNIQUE
- H04W—WIRELESS COMMUNICATION NETWORKS
- H04W36/00—Hand-off or reselection arrangements
- H04W36/0005—Control or signalling for completing the hand-off
- H04W36/0083—Determination of parameters used for hand-off, e.g. generation or modification of neighbour cell lists
- H04W36/0085—Hand-off measurements
- H04W36/0088—Scheduling hand-off measurements
-
- H—ELECTRICITY
- H04—ELECTRIC COMMUNICATION TECHNIQUE
- H04W—WIRELESS COMMUNICATION NETWORKS
- H04W36/00—Hand-off or reselection arrangements
- H04W36/08—Reselecting an access point
-
- H—ELECTRICITY
- H04—ELECTRIC COMMUNICATION TECHNIQUE
- H04W—WIRELESS COMMUNICATION NETWORKS
- H04W36/00—Hand-off or reselection arrangements
- H04W36/24—Reselection being triggered by specific parameters
- H04W36/30—Reselection being triggered by specific parameters by measured or perceived connection quality data
-
- H—ELECTRICITY
- H04—ELECTRIC COMMUNICATION TECHNIQUE
- H04W—WIRELESS COMMUNICATION NETWORKS
- H04W36/00—Hand-off or reselection arrangements
- H04W36/24—Reselection being triggered by specific parameters
- H04W36/30—Reselection being triggered by specific parameters by measured or perceived connection quality data
- H04W36/302—Reselection being triggered by specific parameters by measured or perceived connection quality data due to low signal strength
-
- H—ELECTRICITY
- H04—ELECTRIC COMMUNICATION TECHNIQUE
- H04W—WIRELESS COMMUNICATION NETWORKS
- H04W72/00—Local resource management
- H04W72/04—Wireless resource allocation
- H04W72/044—Wireless resource allocation based on the type of the allocated resource
- H04W72/0453—Resources in frequency domain, e.g. a carrier in FDMA
-
- H—ELECTRICITY
- H04—ELECTRIC COMMUNICATION TECHNIQUE
- H04W—WIRELESS COMMUNICATION NETWORKS
- H04W74/00—Wireless channel access
- H04W74/002—Transmission of channel access control information
-
- H—ELECTRICITY
- H04—ELECTRIC COMMUNICATION TECHNIQUE
- H04W—WIRELESS COMMUNICATION NETWORKS
- H04W74/00—Wireless channel access
- H04W74/002—Transmission of channel access control information
- H04W74/004—Transmission of channel access control information in the uplink, i.e. towards network
-
- H—ELECTRICITY
- H04—ELECTRIC COMMUNICATION TECHNIQUE
- H04W—WIRELESS COMMUNICATION NETWORKS
- H04W74/00—Wireless channel access
- H04W74/08—Non-scheduled access, e.g. ALOHA
- H04W74/0833—Random access procedures, e.g. with 4-step access
-
- H—ELECTRICITY
- H04—ELECTRIC COMMUNICATION TECHNIQUE
- H04W—WIRELESS COMMUNICATION NETWORKS
- H04W36/00—Hand-off or reselection arrangements
-
- H—ELECTRICITY
- H04—ELECTRIC COMMUNICATION TECHNIQUE
- H04W—WIRELESS COMMUNICATION NETWORKS
- H04W74/00—Wireless channel access
- H04W74/08—Non-scheduled access, e.g. ALOHA
- H04W74/0833—Random access procedures, e.g. with 4-step access
- H04W74/0838—Random access procedures, e.g. with 4-step access using contention-free random access [CFRA]
-
- H—ELECTRICITY
- H04—ELECTRIC COMMUNICATION TECHNIQUE
- H04W—WIRELESS COMMUNICATION NETWORKS
- H04W88/00—Devices specially adapted for wireless communication networks, e.g. terminals, base stations or access point devices
- H04W88/08—Access point devices
Definitions
- the present invention relates to a method for performing a handover, a user equipment, and a radio communication system.
- LTE-A Long Term Evolution-Advanced
- BS base station
- eNB evolved Node B
- the bandwidths of frequency bands that are available in LTE are 1.4 MHz, 3.0 MHz, 5.0 MHz, 10 MHz, 15 MHz, and 20 MHz. Accordingly, if five bands of 20 MHz are aggregated as component carriers, a communication channel of 100 MHz in total can be formed.
- Component carriers that are included in one communication channel in the carrier aggregation are not necessarily contiguous to one another in the frequency direction.
- the mode in which component carriers are arranged contiguous to one another in the frequency direction is called a contiguous mode.
- the mode in which component carriers are arranged not contiguous to one another is called a non-contiguous mode.
- the number of component carriers in an uplink and the number of component carriers in a downlink are not necessarily equal.
- the mode in which the number of component carriers in an uplink and the number of component carriers in a downlink are equal is called a symmetric mode.
- the mode in which the number of component carriers in an uplink and the number of component carriers in a downlink are not equal is called an asymmetric mode.
- any one of frequency division duplex (FDD) and time division duplex (TDD) can be used as duplex operation. Because the direction of a link (uplink or downlink) of each component carrier does not change in time in FDD, FDD is better suited to the carrier aggregation compared to TDD.
- a handover which is a basic technique for achieving the mobility of a user equipment in the cellular communication standard, is one of important subjects in LTE-A.
- a user equipment measures a communication quality over a channel with a serving base station (a currently connected base station) and communication qualities with peripheral base stations and transmits a measurement report containing measurements to the serving base station. Receiving the measurement report, the serving base station determines whether to execute a handover based on the measurements contained in the report.
- a handover is carried out among a source base station (the serving base station before a handover), the user equipment, and a target base station (a serving base station after a handover) in accordance with a prescribed procedure (e.g. cf. Patent Literature 1 below)
- an initial access from a user equipment to a target base station during a handover procedure is performed as a random access over a random access channel which is preset at a prescribed position of communication resources.
- a random access inherently has a possibility of a delay due to signal collision, retry or the like.
- adjustment of transmission timing based on timing of a random access is the overhead of a communication.
- simply repeating random accesses the same number of times as the number of component carriers raises the possibility of degradation of service quality such as an accumulation of delays due to a failure of a random access or an increase in overhead.
- One exemplary embodiment includes a mobile station in a wireless communication network.
- the mobile station including a radio communication unit configured to transmit an access request message to a base station via a first communication resource, and receive a timing adjustment in response to the access request message from the base station; an adjustment value storage unit configured to store the timing adjustment; and a control unit configured to adjust access timing corresponding to a second communication resource based on the timing adjustment value stored in the adjustment value storage unit, wherein the radio communication unit is configured to communicate with the base station via the first communication resource and the second communication resource.
- the first communication resource may be a first component carrier and the second communication resource may be a second component carrier.
- the second component carrier may be in close proximity to the first component carrier.
- the second component carrier may be adjacent to the first component carrier.
- the second component carrier may be within a predetermined threshold of the first component carrier.
- the control unit may be configured to acquire synchronization with the base station via the first communication resource, and the radio communication unit may be configured to transmit the access request message based on the synchronization.
- the timing adjustment may be based on a signal propagation characteristic between the mobile station and the base station, and the timing adjustment may depend on a frequency of the first communication resource.
- the base station including a radio communication unit configured to receive an access request message from a mobile station via a first communication resource, and transmit a timing adjustment in response to the access request message to the mobile station; a control unit configured to assign a second communication resource for communications with the mobile station, the second communication resource being assigned based on a predetermined relationship with the first communication resource, wherein the radio communication unit is configured to communicate with the mobile station via the first communication resource and the second communication resource.
- the first communication resource may be a first component carrier and the second communication resource may be a second component carrier.
- the control unit may be configured to assign a component carrier in close proximity to the first component carrier as the second component carrier, assign a component carrier adjacent to the first component carrier as the second component carrier, and/or assign a component carrier which is within a predetermined threshold of the first component carrier as the second component carrier.
- the control unit may also be configured to assign a component carrier, which is one of a plurality of available component carriers closest in proximity to the first component carrier, as the second component carrier.
- Another exemplary embodiment is directed to a wireless communication network that includes a mobile station configured to transmit an access request message to a base station via a first communication resource; the base station configured to receive the access request message and transmit a timing adjustment in response to the access request message to the mobile station; an adjustment value storage unit, at the mobile station, configured to store the timing adjustment; a first control unit, at the base station, configured to assign a second communication resource for communications with the mobile station, the second communication resource being assigned based on a predetermined relationship with the first communication resource; a second control unit, at the mobile station, configured to adjust access timing corresponding to the second communication resource based on the timing adjustment value stored in the adjustment value storage unit, wherein the mobile station and the base station are configured to communicate via the first communication resource and the second communication resource.
- Another exemplary embodiment is directed to a computer-readable medium including computer program instruction, which when executed by a mobile station in a wireless communication network, cause the mobile station to perform a method comprising: transmitting an access request message to a base station via a first communication resource; receiving a timing adjustment in response to the access request message from the target base station; storing the timing adjustment; adjusting an access timing corresponding to a second communication resource based on the stored timing adjustment value; and communicating with the base station via the first communication resource and the second communication resource.
- Another exemplary embodiment is directed to a computer-readable medium including computer program instruction, which when executed by a base station in a wireless communication network, cause the base station to perform a method comprising: receiving an access request message from a mobile station via a first communication resource; transmitting a timing adjustment in response to the access request message to the mobile station; assigning a second communication resource for communications with the mobile station, the second communication resource being assigned based on a predetermined relationship with the first communication resource; and communicating with the mobile station via the first communication resource and the second communication resource.
- Another exemplary embodiment is directed to a handoff method performed by a mobile communication network, the handoff method comprising: transmitting, from a mobile station to a base station, an access request message via a first communication resource; receiving, at the base station, the access request message; transmitting, from the base station to the mobile station, a timing adjustment in response to the access request message; storing, at an adjustment value storage unit at the mobile station, the timing adjustment; assigning, by the base station, a second communication resource for communications with the mobile station, the second communication resource being assigned based on a predetermined relationship with the first communication resource; adjusting, by the mobile station, access timing corresponding to the second communication resource based on the timing adjustment value stored in the adjustment value storage unit; and performing communication between the base station and the mobile station via the first communication resource and the second communication resource.
- the method for performing a handover, the user equipment, and the radio communication system can minimize the degradation of service quality due to a random access during a handover procedure in a radio communication involving the carrier aggregation.
- Fig. 1 is a sequence chart to describe a flow of a typical handover procedure.
- Fig. 2 is an explanatory view to describe an example of a structure of a communication resource.
- Fig. 3A is a sequence chart to describe a procedure of a contention-based random access.
- Fig. 3B is a sequence chart to describe a procedure of a contention-free random access.
- Fig. 4 is a schematic view showing an outline of a radio communication system according to an embodiment.
- Fig. 5 is a block diagram showing an example of a configuration of a user equipment according to a first embodiment.
- Fig. 6 is a block diagram showing an example of a detailed configuration of a radio communication unit according to the first embodiment.
- Fig. 1 is a sequence chart to describe a flow of a typical handover procedure.
- Fig. 2 is an explanatory view to describe an example of a structure of a communication resource.
- Fig. 3A is a sequence chart to describe a procedure of
- FIG. 7 is a block diagram showing an example of a configuration of a base station according to the first embodiment.
- Fig. 8 is an explanatory view to describe an allocation of component carriers by a target base station according to the first embodiment.
- Fig. 9A is the first half of a sequence chart showing an example of a flow of a handover procedure according to the first embodiment.
- Fig. 9B is the second half of a sequence chart showing an example of a flow of a handover procedure according to the first embodiment.
- Fig. 10 is a block diagram showing an example of a configuration of a user equipment according to a second embodiment.
- Fig. 11 is a block diagram showing an example of a configuration of a base station according to the second embodiment.
- Fig. 12A is the first half of a sequence chart showing an example of a flow of a handover procedure according to the second embodiment.
- Fig. 12B is the second half of a sequence chart showing an example of a flow of a handover procedure according to the second
- Fig. 1 shows a flow of a handover procedure in conformity with LTE in a radio communication not involving the carrier aggregation as an example of a typical handover procedure.
- a user equipment (UE), a source base station (source eNB), a target base station (target eNB), and a mobility management entity (MME) are involved in the handover procedure.
- UE user equipment
- source eNB source base station
- target eNB target base station
- MME mobility management entity
- the user equipment first reports the channel quality of a communication channel between the user equipment and the source base station to the source base station (step S2).
- the channel quality may be reported on a regular basis or when the channel quality falls below a predetermined reference value.
- the user equipment can measure the channel quality of the communication channel with the source base station by receiving a reference signal contained in a downlink channel from the source base station.
- the source base station determines the needs of measurement based on the quality report received from the user equipment and, if measurement is necessary, allocates measurement gaps to the user equipment (step S4).
- the user equipment searches for a downlink channel from a peripheral base station (i.e. performs cell search) during the periods of the allocated measurement gaps (step S12).
- a peripheral base station i.e. performs cell search
- the user equipment can recognize a peripheral base station to search according to a list that is provided in advance from the source base station.
- the user equipment When the user equipment acquires synchronization with a downlink channel, the user equipment performs measurement by using a reference signal contained in the downlink channel (step S14). During this period, the source base station restricts an allocation of data communication related to the user equipment so as to avoid occurrence of data transmission by the user equipment.
- the user equipment Upon completion of the measurement, the user equipment transmits a measurement report containing measurements to the source base station (step S22).
- the measurements contained in the measurement report may be the average value or the central value of measured values over a plurality of times of measurement or the like. Further, the measurements may contain data about a plurality of frequency bands.
- the source base station determines whether or not to execute a handover based on the contents of the measurement report. For example, when the channel quality of another base station in the periphery is higher than the channel quality of the source base station by a predetermined threshold or greater, it can be determined that a handover is necessary. In this case, the source base station determines to carry out a handover procedure with the relevant another base station as a target base station, and transmits a handover request message to the target base station (step S24).
- the target base station determines whether it is possible to accept the user equipment according to the availability of a communication service offered by itself or the like. When it is possible to accept the user equipment, the target base station transmits a handover request confirm message to the source base station (step S26).
- the source base station transmits a handover command to the user equipment (step S28). Then, the user equipment acquires synchronization with the downlink channel of the target base station (step S32). After that, the user equipment makes a random access to the target base station by using a random access channel in a given time slot (step S34). During this period, the source base station forwards data addressed to the user equipment to the target base station (step S36). Then, after success in the random access, the user equipment transmits a handover complete message to the target base station (step S42).
- the target base station requests the MME to perform route update for the user equipment (step S44).
- the user equipment Upon updating the route of user data by the MME, the user equipment becomes able to communicate with another device through a new base station (i.e. the target base station). Then, the target base station transmits acknowledgement to the user equipment (step S46). A series of handover procedure thereby ends.
- Fig. 2 shows a structure of a communication resource in LTE as an example of a structure of a communication resource to which the present invention is applicable.
- the communication resource in LTE is segmented in the time direction into radio frames each having a length of 10 msec.
- One radio frame includes ten sub-frames, and one sub-frame is made up of two 0.5 msec slots.
- the sub-frame is one unit of an allocation of a communication resource to each user equipment in the time direction.
- Such one unit is called a resource block.
- One resource block includes twelve sub-carriers in the frequency direction. Specifically, one resource block has a size of 1 msec with 12 sub-carriers in the time-frequency domain.
- Throughput of data communication increases as a larger number of resource blocks are allocated for data communication on condition of the same bandwidth and time length.
- a part of radio frame with a given frequency band is reserved as a random access channel.
- the random access channel can be used for an access to a base station by a user equipment that has changed from an idle mode to an active mode, for example, in addition to for an initial access to a target base station in a handover procedure as described above.
- Figs. 3A and 3B are sequence charts to further describe general random access procedures.
- Fig. 3A shows a procedure of a contention-based random access.
- the user equipment first transmits a random access preamble to the target base station (step S52).
- the random access preamble is selected from 64 different sequences. Because the 64 sequences are orthogonal to one another, even when the target base station receives different sequences at the same timing with the same frequency, it can separate those sequences. However, when the same sequence is transmitted from different user equipments at the same timing with the same frequency, there is a possibility of collision of random access preambles, which causes a random access to fail.
- the target base station which has received the random access preamble determines a timing adjustment value for each user equipment according to the reception timing (step S54). For example, the random access preamble of a user equipment which is located farther from the target base station arrives at the target base station at the later timing than the random access preamble of a user equipment which is located closer to the target base station. In this case, the target base station allocates a timing adjustment value indicating that a signal should be transmitted earlier to the former (i.e. far) user equipment. Further, the target base station performs scheduling for a connection request of the user equipment. Note that, when a communication resource for a connection request cannot be allocated due to the lack of available communication resources, a random access fails.
- the target base station transmits a random access response to the user equipment (step S56).
- the random access response contains the timing adjustment value determined by the target base station and scheduling information for a connection request by the user equipment.
- the user equipment adjusts the transmission timing of a signal to the target base station by using the timing adjustment value contained in the random access response (step S58).
- the user equipment transmits a connection request to the target base station by using the communication resource which is specified by the scheduling information contained in the random access response (step S60).
- the connection request contains identification information of the user equipment or the like. Note that, for example, there is a possibility that the same random access preamble is transmitted from two or more user equipments in the step S52, and the random access preamble is received normally by the target base station. In such a case, the two or more user equipments which have received a random access response transmitted from the target base station can simultaneously transmit connection requests in the step S60. In this case also, a collision occurs between the connection requests, and a random access can thereby fail.
- the target base station which has received the connection request from the user equipment then transmits acknowledgement to the user equipment (step S62).
- acknowledgement when a communication resource for the acknowledgement cannot be allocated due to the lack of available communication resources, there is a possibility that the acknowledgement is not transmitted.
- the user equipment receives the acknowledgement in the step S62, it recognizes that the random access has succeeded, and a series of random access procedure ends.
- the user equipment does not receive the random access response or the acknowledgement, it determines that the random access has failed and retries the random access after the lapse of a random backoff period.
- Fig. 3B shows a procedure of a contention-free random access.
- the target base station first allocates a random access preamble to the user equipment (step S72).
- the random access preamble for the contention-free random access is selected by the target base station from a predetermined number (e.g. reserved 10) of sequences among 64 orthogonal sequences, for example.
- the user equipment transmits the random access preamble to the target base station (step S74).
- the same random access preamble is used by different user equipments at the same timing with the same frequency, a collision of random access preambles does not occur.
- the target base station which has received the random access preamble determines a timing adjustment value for each user equipment according to the reception timing (step S76). Further, the target base station performs scheduling for a connection request of the user equipment. Note that, when a communication resource for a connection request cannot be allocated due to the lack of available communication resources, a random access fails.
- the target base station transmits a random access response to the user equipment (step S78).
- the random access response contains the timing adjustment value determined by the target base station and scheduling information for a connection request by the user equipment.
- the user equipment adjusts the transmission timing of a signal to the target base station by using the timing adjustment value contained in the random access response (step S80). After that, the user equipment establishes a connection with the target base station in the same manner as the contention-based random access procedure.
- a random access in the random access procedure, a random access can fail due to the collision of signals or the shortage of communication resources. Then, a random access is retried after the lapse of a random backoff period. During this period, a communication by the user equipment delays. Further, the time needed for calculation of a timing adjustment value and adjustment of transmission timing is the overhead of a communication.
- the use of the contention-free random access procedure reduces the possibility of signal collision. However, because the number of random access preambles which are reserved for the contention-free random access is limited, the contention-free random access procedure is not always available in a handover procedure. Therefore, for the purpose of preventing the degradation of service quality, it is effective to perform a random access during a handover procedure in a radio communication involving the carrier aggregation more efficiency as in two embodiments of the present invention which are described in detail below.
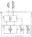
- Fig. 4 is a schematic view showing an outline of a radio communication system 1 according to an embodiment of the present invention.
- the radio communication system 1 includes a user equipment 100, a base station 200a and a base station 200b. It is assumed that the base station 200a is a serving base station for the user equipment 100.
- the user equipment 100 is located inside a cell 202a where a radio communication service is provided by the base station 200a.
- the user equipment 100 can perform a data communication with another user equipment (not shown) via the base station 200a over a communication channel formed by aggregating a plurality of component carriers (i.e. by carrier aggregation).
- a handover is required for the user equipment 100.
- the user equipment 100 is located inside a cell 202b where a radio communication service is provided by the base station 200b. Therefore, the base station 200b can be a candidate for a target base station for a handover of the user equipment 100.
- the base station 200a can communicate with the base station 200b through a backhaul link (e.g. X2 interface).
- a backhaul link e.g. X2 interface
- the base station 200a and the base station 200b can communicate with the MME, which is an upper node, through S1 interface, for example.
- base station 200a and the base station 200b are collectively referred to as a base station 200 by omitting the alphabetical letter at the end of the reference symbol. The same applies to the other elements.
- Fig. 5 is a block diagram showing an example of a configuration of the user equipment 100 according to the embodiment.
- the user equipment 100 includes a radio communication unit 110, a signal processing unit 150, a control unit 160, an adjustment value storage unit 162, and a measurement unit 170.
- the radio communication unit 110 performs a radio communication with the base station 200 over a communication channel formed by aggregating a plurality of component carriers with use of the carrier aggregation technology.
- Fig. 6 is a block diagram showing an example of a more detailed configuration of the radio communication unit 110.
- the radio communication unit 110 includes an antenna 112, a switch 114, a low noise amplifier (LNA) 120, a plurality of down-converters 122a to 122c, a plurality of filters 124a to 124c, a plurality of analogue-to-digital converters (ADCs) 126a to 126c, a demodulation unit 128, a modulation unit 130, a plurality of digital-to-analogue converters (DACs) 132a to 132c, a plurality of filters 134a to 134c, a plurality of up-converters 136a to 136c, a combiner 138, and a power amplifier (PA) 140.
- LNA low noise amplifier
- ADCs analogue-to-digital converters
- ADCs analogue-to-digital converters
- DACs digital-to-analogue converter
- the antenna 112 receives a radio signal transmitted from the base station 200 and outputs the received signal to the LNA 120 through the switch 114.
- the LNA 120 amplifies the received signal.
- the down-converter 122a and the filter 124a separate a baseband signal of the first component carrier (CC1) from the received signal amplified by the LNA 120. Then, the separated baseband signal is converted to a digital signal by the ADC 126a and output to the demodulation unit 128.
- the down-converter 122b and the filter 124b separate a baseband signal of the second component carrier (CC2) from the received signal amplified by the LNA 120.
- the separated baseband signal is converted to a digital signal by the ADC 126b and output to the demodulation unit 128.
- the down-converter 122c and the filter 124c separate a baseband signal of the third component carrier (CC3) from the received signal amplified by the LNA 120.
- the separated baseband signal is converted to a digital signal by the ADC 126c and output to the demodulation unit 128.
- the demodulation unit 128 generates a data signal by demodulating the baseband signals of the respective component carriers and outputs the data signal to the signal processing unit 150.
- the modulation unit 130 modulates the data signal and generates baseband signals of the respective component carriers.
- the baseband signal of the first component carrier (CC1) is converted to an analog signal by the DAC 132a.
- a frequency component corresponding to the first component carrier in a transmission signal is generated from the analog signal by the filter 134a and the up-converter 136a.
- the baseband signal of the second component carrier (CC2) is converted to an analog signal by the DAC 132b.
- a frequency component corresponding to the second component carrier in the transmission signal is generated from the analog signal by the filter 134b and the up-converter 136b.
- the baseband signal of the third component carrier (CC3) is converted to an analog signal by the DAC 132c. Then, a frequency component corresponding to the third component carrier in the transmission signal is generated from the analog signal by the filter 134c and the up-converter 136c. After that, the generated frequency components corresponding to the three component carriers are combined by the combiner 138, and the transmission signal is formed.
- the PA 140 amplifiers the transmission signal and outputs the transmission signal to the antenna 112 through the switch 114. Then, the antenna 112 transmits the transmission signal as a radio signal to the base station 200.
- the radio communication unit 110 handles three component carriers is described in Fig. 6, the number of component carriers handled by the radio communication unit 110 may be two, or four or more.
- the radio communication unit 110 may process the signals of the respective component carriers in the digital region.
- a digital signal converted by one ADC is separated into the signals of the respective component carriers by a digital filter.
- the signal is converted into an analog signal by one DAC.
- the load of the ADC and the DAC is generally smaller when processing the signals of the respective component carriers in the analog region.
- a sampling frequency for AD/DA conversion is higher, and the load of the ADC and the DAC can thereby increase.
- the signal processing unit 150 performs signal processing such as deinterleaving, decoding or error correction on the demodulated data signal that is input from the radio communication unit 110. Then, the signal processing unit 150 outputs the processed data signal to an upper layer. Further, the signal processing unit 150 performs signal processing such as encoding or interleaving on the data signal that is input from the upper layer. Then, the signal processing unit 150 outputs the processed data signal to the radio communication unit 110.
- the control unit 160 controls the overall functions of the user equipment 100 by using a processing device such as a central processing unit (CPU) or a digital signal processor (DSP). For example, the control unit 160 controls the timing of data communication by the radio communication unit 110 according to scheduling information that is received from the base station 200 by the radio communication unit 110. At this time, the control unit 160 adjusts the timing of data transmission from the radio communication unit 110 by using a timing adjustment value which is notified from the base station 200 in a random access procedure. Further, the control unit 160 controls the measurement unit 170 to measure the channel quality by using a reference signal from the base station 200, which is a serving base station, and transmits the channel quality report to the base station 200 through the radio communication unit 110. Further, the control unit 160 controls the measurement unit 170 to execute measurement during the periods of measurement gaps which are allocated by the base station 200.
- a processing device such as a central processing unit (CPU) or a digital signal processor (DSP).
- the control unit 160 controls the timing of data communication by the radio communication unit 110 according
- the control unit 160 determines whether a distance in the frequency direction between the two or more component carriers is smaller than a specific threshold. When the distance in the frequency direction is smaller than a specific threshold, the control unit 160 skips a random access to the target base station for at least one of the two or more component carriers. Specifically, when first and second component carriers exist in close proximity in the frequency direction, the control unit 160 makes a random access for the first component carrier and skips a random access for the second component carrier.
- the specific threshold may be the maximum value of a difference between two frequencies (e.g.
- the user equipment 100 can carry out a handover by appropriately adjusting the transmission timing for the component carrier.
- a transmission timing difference depends on a distance between each user equipment and a base station.
- a timing adjustment is typically used between user equipment and a base station for purposes of synchronization.
- propagation characteristics include, but not limited to, characteristics of reflection, diffraction, scattering and propagation.
- the control unit 160 may skip a random access for at least one of the component carriers. For example, it is assumed that a distance in the frequency direction between the component carrier CC1 and the component carrier CC2 among the component carriers CC1 to CC3 is smaller than a specific threshold, and a distance between the component carrier CC1, CC2 and the component carrier CC3 is larger than the specific threshold. In this case, the control unit 160 may make a random access to the target base station for the component carriers CC1 and CC2 in one time and further make a random access to the target base station for the component carrier CC3.
- the control unit 160 In the case of skipping a random access for any of the component carriers, the control unit 160 first executes a random access to the target base station for another component carrier which exists in close proximity to the relevant component carrier in the frequency direction. Then, the control unit 160 stores the timing adjustment value which is notified from the target base station in the wake of the random access into the adjustment value storage unit 162. After that, the control unit 160 adjusts the transmission timing for the component carrier for which a random access is skipped by using the timing adjustment value stored in the adjustment value storage unit 162. Then, the control unit 160 makes an access to the target base station over the relevant component carrier at the adjusted transmission timing (the access in this case is not a random access).
- the adjustment value storage unit 162 stores a timing adjustment value for one or more component carriers which is input from the control unit 160 by using a storage medium such as a hard disk or semiconductor memory. Then, in response to a command from the control unit 160, the adjustment value storage unit 162 outputs the stored timing adjustment value for use in adjustment of the transmission timing for another component carrier.
- the measurement unit 170 measures the channel quality for each of the component carriers by using a reference signal from the base station 200 according to control from the control unit 160, for example. Further, the measurement unit 170 executes measurement for a handover with respect to each of the component carriers by using the measurement gaps which are allocated by the base station 200. A result of the measurement executed by the measurement unit 170 is converted to a predetermined format for a measurement report by the control unit 160 and transmitted to the base station 200 through the radio communication unit 110. After that, the base station 200 determines, based on the measurement report, whether a handover should be executed or not for the user equipment 100.
- Fig. 7 is a block diagram showing an example of a configuration of the base station 200 according to the embodiment.
- the base station 200 includes a radio communication unit 210, an interface unit 250, a component carrier (CC) management unit 260, and a control unit 280.
- CC component carrier
- Radio communication unit A specific configuration of the radio communication unit 210 may be similar to the configuration of the radio communication unit 110 of the user equipment 100 which is described above with reference to Fig. 6, although the number of component carriers to be supported, the requirements of processing performance or the like are different.
- the radio communication unit 210 performs a radio communication with the user equipment over a communication channel which is formed by aggregating a plurality of component carriers with use of the carrier aggregation technology.
- the interface unit 250 mediates a communication between the radio communication unit 210 or the control unit 280 and an upper node through the S1 interface illustrated in Fig. 4, for example. Further, the interface unit 250 mediates a communication between the radio communication unit 210 or the control unit 280 and another base station through the X2 interface illustrated in Fig. 4, for example.
- the CC management unit 260 holds data that indicates which component carrier each user equipment is using for communication with respect to each of the user equipments belonging to the cell of the base station 200. Such data can be updated by the control unit 280 when an additional user equipment joins the cell of the base station 200 or when the existing user equipment changes its component carriers. Thus, the control unit 280 can recognize which component carrier the user equipment 100 is using by referring to the data held by the CC management unit 260.
- the control unit 280 controls the overall functions of the base station 200 by using a processing device such as a CPU or a DSP. For example, the control unit 280 executes an allocation of communication resources for data communication, i.e. scheduling, for the user equipment 100 and other user equipments. Then, the control unit 280 delivers scheduling information over a broadcast channel in a given sub-frame. Further, when the base station 200 is a target base station of a handover of a radio communication involving the carrier aggregation, the control unit 280 allocates two or more component carriers to a new communication channel. At this time, when two or more component carriers which are adjacent in the frequency direction are allocable, the control unit 280 allocates the two or more component carriers to the new communication channel. Further, when two or more component carriers whose distance in the frequency direction is smaller than the above-described specific threshold are allocable, the control unit 280 allocates the two or more component carriers to the new communication channel.
- a processing device such as a CPU or a DSP.
- Fig. 8 is an explanatory view to describe an allocation of component carriers by a target base station according to the embodiment.
- Fig. 8 shows a step-by-step handover including four stages in the case where a communication channel is composed of three component carriers CC1 to CC3. The first stage is before a handover. The second stage is after a handover of the component carrier CC1. The third stage is after a handover of the component carriers CC1 and CC2. The fourth stage is after a handover of all the component carriers.
- the component carriers CC1 to CC3 are connected with a source base station.
- the positions of the component carriers CC1 to CC3 in the frequency direction may be any positions.
- the frequency band to which the component carrier CC1 is allocated in the target base station may be the same frequency band as the frequency band in the source base station or a different frequency band from the frequency band in the source base station.
- the control unit 280 of the target base station which has received a handover request for the component carrier CC2 determines whether the component carriers CC1 and CC2 can be allocated so that they are adjacent in the frequency direction. It is assumed in the example of Fig. 8 that the component carriers CC1 and CC2 can be allocated so that they are adjacent in the frequency direction. Thus, the control unit 28 allocates the component carriers CC1 and CC2 so that they are adjacent in the frequency direction (third stage).
- control unit 280 of the target base station which has received a handover request for the component carrier CC3 determines whether the component carrier CC1 or CC2 and the component carrier CC3 can be allocated so that they are adjacent in the frequency direction. It is assumed in the example of Fig. 8 that those component carriers are not allocable to be adjacent in the frequency direction. Then, the control unit 28 determines whether the component carrier CC3 can be allocated to a new communication channel so that a distance from the component carrier CC1 or CC2 in the frequency direction is smaller than a threshold F TH .
- the threshold F TH indicates the above-described specified threshold which can correspond to the maximum value of a difference between two frequencies whose transmission timing can be adjusted appropriately based on one timing adjustment value.
- the component carrier CC3 can be allocated so that the distances from the component carriers CC1 and CC2 are smaller than the threshold F TH .
- the control unit 280 allocates the component carrier CC3 to the position where the distances from the component carriers CC1 and CC2 are smaller than the threshold F TH (fourth stage).
- Fig. 8 shows the case where, after a handover for one component carrier is completed, another component carrier is allocated to the new communication channel.
- the allocation of another component carrier to a new communication channel may be performed before completion of a handover for one component carrier.
- the frequency band of the component carrier is changed at the time of an access to the target base station by the user equipment 100.
- a base station to which the component carrier is connected may be changed from the source base station to the target base station after the frequency band has changed in the source base station according to the above-described conditions related to the position in the frequency direction.
- control unit 280 controls the base station 200 to operate in the same manner as the source base station or the target base station in the handover procedure which is descried with reference to Fig. 1.
- FIG. 9A A flow of a handover procedure according to the embodiment is described hereinafter with reference to Figs. 9A and 9B.
- a handover procedure is performed among the user equipment 100, the base station 200a serving as a source base station, and the base station 200b serving as a target base station.
- the user equipment 100 performs a radio communication by using two component carriers.
- explanation is omitted because there is no significant difference.
- the user equipment 100 first transmits a measurement report for the component carrier CC1, for example, to the base station 200a (step S122).
- the base station 200a determines the necessity of a handover based on the measurement report. For example, when a channel quality between the user equipment 100 and the base station 200b is better than a channel quality between the user equipment 100 and the base station 200a by a predetermined threshold or greater, it can be determined that a handover is necessary.
- the base station 200a transmits a handover request message for the component carrier CC1 to the base station 200b (step S124).
- the base station 200b allocates the component carrier CC1 to any frequency band for a new communication channel with the user equipment 100 according to the availability of a communication service. Then, the base station 200b transmits a handover request confirm message to the base station 200a (step S126). Receiving the handover request confirm message, the base station 200a transmits a handover command for the component carrier CC1 to the user equipment 100 (step S128).
- the user equipment 100 receives the handover command, the user equipment 100 first acquires synchronization with the downlink channel of the component carrier CC1 of the base station 200b (step S132). Then, the user equipment 100 makes a random access to the base station 200b by using a random access channel of the component carrier CC1 (step S134). During this period, the control unit 160 of the user equipment 100 stores the timing adjustment value for the component carrier CC1 which is notified from the base station 200b into the adjustment value storage unit 162. During the downlink synchronization and the random access, the base station 200a forwards data addressed to the user equipment 100 to the base station 200b (step S136).
- the user equipment 100 transmits a handover complete message for the component carrier CC1 to the base station 200b (step S142).
- the base station 200b requests the MME to perform route update for the component carrier CC1 of the user equipment 100 (step S144).
- the user equipment 100 becomes able to communicate with another device through a new base station (i.e. the base station 200b).
- the request for route update may be performed with respect to each component carrier, or performed only once through a plurality of component carriers.
- the base station 200b transmits acknowledgement for the handover complete message to the user equipment 100 (step S146).
- the user equipment 100 transmits a measurement report for the component carrier CC2 to the base station 200a (step S152).
- the base station 200a receives the measurement report, the base station 200a transmits a handover request message for the component carrier CC2 to the base station 200b (step S154).
- the base station 200b allocates the component carrier CC2 to any frequency band for the new communication channel with the user equipment 100 according to the availability of a communication service.
- the frequency band to which the component carrier CC2 is allocated is the frequency band which is adjacent to the component carrier CC1 or the frequency band in which the distance from the component carrier CC1 in the frequency direction is smaller than the threshold F TH .
- the base station 200b transmits a handover request confirm message to the base station 200a (step S156).
- the base station 200a transmits a handover command for the component carrier CC2 to the user equipment 100 (step S158).
- the control unit 160 reads the timing adjustment value for the component carrier CC1 which is stored in the adjustment value storage unit 162. The control unit 160 then adjusts the access timing to the base station 200b for the component carrier CC2 by using the timing adjustment value which is read from the adjustment value storage unit 162 (step S164). During this period, the base station 200a forwards data addressed to the user equipment 100 to the base station 200b (step S166).
- the user equipment 100 then transmits a handover complete message for the component carrier CC2 to the base station 200b (step S172).
- the base station 200b requests the MME to perform route update for the component carrier CC2 of the user equipment 100 (step S174).
- the base station 200b transmits acknowledgement for the handover complete message to the user equipment 100 (step S176).
- the first embodiment of the present invention is described above with reference to Figs. 5 to 9B.
- the user equipment 100 skips a random access to the target base station for at least one of the two or more component carriers. Therefore, an accumulation of delays corresponding to the number of component carriers due to a failure of a random access does not occur, and the degradation of service quality caused by a random access during a handover procedure is suppressed.
- the user equipment 100 adjusts the transmission timing for the component carrier for which a random access has been skipped by using the timing adjustment value notified from the target base station for the component carrier for which a random access has been made.
- a communication can be thereby performed at appropriate timing also in the component carrier for which a random access has been skipped. Further, because it is not necessary in the target base station to redundantly determine the timing adjustment value for the component carrier, the overhead of a communication is reduced.
- the base station 200 serving as a target base station allocates the two or more component carriers to a new communication channel with the user equipment 100. Further, when two or more component carriers whose distance in the frequency direction is smaller than a specific threshold are allocable, the base station 200 allocates the two or more component carriers to a new communication channel.
- the opportunity of skipping a random access by the user equipment 100 during a handover procedure thereby increases, and it is possible to more effectively obtain the above-described advantages such as prevention of an accumulation of delays due to a failure of a random access or reduction of overhead. Note that the positions in the frequency direction of those component carriers may be varied after the end of a series of handover procedure as a matter of course.
- Fig. 10 is a block diagram showing an example of a configuration of the user equipment 300 according to the embodiment.
- the user equipment 300 includes a radio communication unit 110, a signal processing unit 150, a control unit 360, and a measurement unit 170.
- the control unit 360 controls the overall functions of the user equipment 300 by using a processing device such as a CPU or a DSP. For example, the control unit 360 controls the timing of data communication by the radio communication unit 110 according to scheduling information that is received from the base station 400 by the radio communication unit 110. Further, the control unit 360 controls the measurement unit 170 to measure the channel quality by using a reference signal from the base station 400, which is a serving base station, and transmits the channel quality report to the base station 400 through the radio communication unit 110. Further, the control unit 360 controls the measurement unit 170 to execute measurement during the periods of measurement gaps which are allocated by the base station 400.
- a processing device such as a CPU or a DSP.
- the control unit 360 controls the timing of data communication by the radio communication unit 110 according to scheduling information that is received from the base station 400 by the radio communication unit 110. Further, the control unit 360 controls the measurement unit 170 to measure the channel quality by using a reference signal from the base station 400, which is a serving base station, and transmits the channel quality report to the
- the control unit 360 controls the radio communication unit 110 to make a random access to the base station 400.
- a new communication channel with the base station 400 is established.
- the control unit 360 controls the radio communication unit 110 to notify the base station 400 of the timing of a random access for one or more other (remaining) component carriers to constitute the communication channel over the established new communication channel.
- the base station 400 as a target base station can thereby reserve communication resources necessary in the random access procedure by the user equipment 300 in advance based on the notified timing.
- Fig. 11 is a block diagram showing an example of a configuration of the base station 400 according to the embodiment.
- the base station 400 includes a radio communication unit 210, an interface unit 250, a CC management unit 260, and a control unit 480.
- the control unit 480 controls the overall functions of the base station 400 by using a processing device such as a CPU or a DSP. For example, the control unit 480 executes an allocation of communication resources for data communication for the user equipment 300 and other user equipments. Then, the control unit 480 delivers scheduling information over a broadcast channel in a given sub-frame. Further, when the base station 400 is a target base station of a handover by the user equipment 300, the control unit 480 sequentially allocates two or more component carriers to a new communication channel with the user equipment 300.
- a processing device such as a CPU or a DSP.
- the control unit 480 executes an allocation of communication resources for data communication for the user equipment 300 and other user equipments. Then, the control unit 480 delivers scheduling information over a broadcast channel in a given sub-frame. Further, when the base station 400 is a target base station of a handover by the user equipment 300, the control unit 480 sequentially allocates two or more component carriers to a new communication channel with the user equipment 300.
- the timing of a random access for one or more other component carriers to constitute the communication channel can be notified from the user equipment 300 as described above.
- the control unit 480 reserves communication resources for the user equipment 300 according to the notified timing so that the subsequent random access for the one or more other component carriers succeeds.
- the communication resources reserved thereby include resources of an uplink for a connection request from the user equipment 300, resources of a downlink for acknowledgement to the connection request or the like.
- control unit 480 controls the base station 400 to operate in the same manner as the source base station or the target base station in the handover procedure which is descried with reference to Fig. 1.
- FIG. 12A A flow of a handover procedure according to the embodiment is described hereinafter with reference to Figs. 12A and 12B.
- a handover procedure is performed among the user equipment 300, the base station 400a serving as a source base station, and the base station 400b serving as a target base station.
- the user equipment 300 performs a radio communication by using two component carriers.
- explanation is omitted because there is no significant difference.
- the user equipment 300 first transmits a measurement report for the component carrier CC1, for example, to the base station 400a (step S222).
- the base station 400a determines that a handover is necessary
- the base station 400a transmits a handover request message for the component carrier CC1 to the base station 400b (step S224).
- the base station 400b allocates the component carrier CC1 to any frequency band for a new communication channel with the user equipment 300 according to the availability of a communication service.
- the base station 400b transmits a handover request confirm message to the base station 400a (step S226).
- the base station 400a transmits a handover command for the component carrier CC1 to the user equipment 300 (step S228).
- the user equipment 300 receives the handover command, the user equipment 300 first acquires synchronization with the downlink channel of the component carrier CC1 of the base station 400b (step S232). Then, the user equipment 300 makes a random access to the base station 400b by using a random access channel of the component carrier CC1 (step S234). When the random access is success, a new communication channel between the user equipment 300 and the base station 400b is established. During the downlink synchronization and the random access, the base station 400a forwards data addressed to the user equipment 300 to the base station 400b (step S236).
- the user equipment 300 transmits a handover complete message for the component carrier CC1 to the base station 400b (step S242).
- the base station 400b requests the MME to perform route update for the component carrier CC1 of the user equipment 300 (step S244).
- the base station 400b transmits acknowledgement for the handover complete message to the user equipment 300 (step S246).
- the user equipment 300 transmits a measurement report for the component carrier CC2 to the base station 400a (step S252).
- the base station 400a receives the measurement report, transmits a handover request message for the component carrier CC2 to the base station 400b (step S254).
- the base station 400b allocates the component carrier CC2 to any frequency band for the new communication channel with the user equipment 300 according to the availability of a communication service.
- the frequency band to which the component carrier CC2 is allocated may be any frequency band.
- the base station 400b transmits a handover request confirm message to the base station 400a (step S256).
- the base station 400a transmits a handover command for the component carrier CC2 to the user equipment 300 (step S258).
- the user equipment 300 notifies the timing of a random access (RA) for the component carrier CC2 to the base station 400b over the established new communication channel (which has the component carrier CC1) (step S260).
- the base station 400b reserves communication resources according to the notified timing so that a random access for the component carrier CC2 by the user equipment 300 does not fail due to the shortage of communication resources (step S261).
- the user equipment 300 acquires synchronization with the downlink channel of the component carrier CC2 of the base station 400b (step S262). Then, the user equipment 300 makes a random access to the base station 400b by using a random access channel of the component carrier CC2 at the timing notified to the base station 400b in the step S260 (step S264). Such a random access is likely to succeed unless signal collision occurs because communication resources for a connection request from the user equipment 300 and acknowledgement for the request are reserved by the base station 400b.
- the base station 400a forwards data addressed to the user equipment 300 to the base station 400b (step S266).
- the user equipment 300 then transmits a handover complete message for the component carrier CC2 to the base station 400b (step S272).
- the base station 400b requests the MME to perform route update for the component carrier CC2 of the user equipment 300 (step S274).
- the base station 400b transmits acknowledgement for the handover complete message to the user equipment 300 (step S276).
- the second embodiment of the present invention is described above with reference to Figs. 10 to 12B.
- the timing of a random access for a component carrier for which a handover has not been completed is notified from the user equipment 300 to the base station 400 over a component carrier for which a handover has been completed.
- the base station 400 can thereby reserve communication resources so that the subsequent random access for another component carrier from the user equipment 300 does not fail due to the shortage of communication resources.
- the possibility of a failure of a random access is reduced, and the degradation of service quality due to an accumulation of delays is suppressed.
- RADIO COMMUNICATION SYSTEM 100 300 USER EQUIPMENT 110 RADIO COMMUNICATION UNIT (USER EQUIPMENT) 160, 360 CONTROL UNIT (USER EQUIPMENT) 200, 400 BASE STATION 210 RADIO COMMUNICATION UNIT (BASE STATION) 280, 480 CONTROL UNIT (BASE STATION)
Landscapes
- Engineering & Computer Science (AREA)
- Computer Networks & Wireless Communication (AREA)
- Signal Processing (AREA)
- Mobile Radio Communication Systems (AREA)
Priority Applications (12)
| Application Number | Priority Date | Filing Date | Title |
|---|---|---|---|
| RU2012123988/07A RU2557558C2 (ru) | 2009-12-16 | 2010-12-02 | Способ осуществления передачи обслуживания, пользовательское устройство и система радиосвязи |
| US13/514,163 US9374838B2 (en) | 2009-12-16 | 2010-12-02 | Method for performing handover, user equipment, and radio communication system |
| EP10837238.4A EP2514250B1 (en) | 2009-12-16 | 2010-12-02 | User equipment, base station and radio communication system for performing handover |
| BR112012013899-5A BR112012013899B1 (pt) | 2009-12-16 | 2010-12-02 | Estação móvel e estação base em uma rede de comunicação sem fio, sistema de comunicação sem fio, e, método executado por uma estação base em uma rede de comunicação sem fio |
| CN201080056945.5A CN102656930B (zh) | 2009-12-16 | 2010-12-02 | 切换方法、用户设备以及无线电通信系统 |
| IN5083DEN2012 IN2012DN05083A (enExample) | 2009-12-16 | 2010-12-02 | |
| EP19191637.8A EP3589063B1 (en) | 2009-12-16 | 2010-12-02 | Method for performing handover, user equipment, and radio communication system |
| US15/136,507 US9629047B2 (en) | 2009-12-16 | 2016-04-22 | Method for performing handover, user equipment, and radio communication system |
| US15/436,378 US9781644B2 (en) | 2009-12-16 | 2017-02-17 | Method for performing handover, user equipment, and radio communication system |
| US15/712,872 US10455465B2 (en) | 2009-12-16 | 2017-09-22 | Method for performing handover, user equipment, and radio communication system |
| US16/536,319 US11039358B2 (en) | 2009-12-16 | 2019-08-09 | Method for performing handover, user equipment, and radio communication system |
| US17/325,218 US11570673B2 (en) | 2009-12-16 | 2021-05-20 | Method for performing handover, user equipment, and radio communication system |
Applications Claiming Priority (2)
| Application Number | Priority Date | Filing Date | Title |
|---|---|---|---|
| JP2009285374A JP5454123B2 (ja) | 2009-12-16 | 2009-12-16 | ハンドオーバのための方法、端末装置及び無線通信システム |
| JP2009-285374 | 2009-12-16 |
Related Child Applications (2)
| Application Number | Title | Priority Date | Filing Date |
|---|---|---|---|
| US13/514,163 A-371-Of-International US9374838B2 (en) | 2009-12-16 | 2010-12-02 | Method for performing handover, user equipment, and radio communication system |
| US15/136,507 Continuation US9629047B2 (en) | 2009-12-16 | 2016-04-22 | Method for performing handover, user equipment, and radio communication system |
Publications (1)
| Publication Number | Publication Date |
|---|---|
| WO2011074201A1 true WO2011074201A1 (en) | 2011-06-23 |
Family
ID=44166976
Family Applications (1)
| Application Number | Title | Priority Date | Filing Date |
|---|---|---|---|
| PCT/JP2010/007037 Ceased WO2011074201A1 (en) | 2009-12-16 | 2010-12-02 | Method for performing handover, user equipment, and radio communication system |
Country Status (8)
| Country | Link |
|---|---|
| US (6) | US9374838B2 (enExample) |
| EP (2) | EP3589063B1 (enExample) |
| JP (1) | JP5454123B2 (enExample) |
| CN (2) | CN102656930B (enExample) |
| BR (1) | BR112012013899B1 (enExample) |
| IN (1) | IN2012DN05083A (enExample) |
| RU (2) | RU2697188C2 (enExample) |
| WO (1) | WO2011074201A1 (enExample) |
Cited By (3)
| Publication number | Priority date | Publication date | Assignee | Title |
|---|---|---|---|---|
| US20120182874A1 (en) * | 2011-01-17 | 2012-07-19 | Telefonaktiebolaget Lm Ericsson (Publ) | Method and Apparatus for Compensating Signal Timing Measurements for Differences in Signal Frequencies |
| US9924538B2 (en) | 2012-07-31 | 2018-03-20 | Huawei Technologies Co., Ltd. | Method, apparatus, device and network system for adding secondary serving cell |
| US20220124717A1 (en) * | 2012-08-02 | 2022-04-21 | Mitsubishi Electric Corporation | Mobile communication system, source base station, target base station and user equipment |
Families Citing this family (24)
| Publication number | Priority date | Publication date | Assignee | Title |
|---|---|---|---|---|
| JP5445186B2 (ja) | 2009-10-30 | 2014-03-19 | ソニー株式会社 | 基地局、端末装置、通信制御方法及び無線通信システム |
| JP2011130412A (ja) * | 2009-11-18 | 2011-06-30 | Sony Corp | 端末装置、基地局、通信制御方法及び無線通信システム |
| JP5454123B2 (ja) * | 2009-12-16 | 2014-03-26 | ソニー株式会社 | ハンドオーバのための方法、端末装置及び無線通信システム |
| GB2494108A (en) * | 2011-08-22 | 2013-03-06 | Samsung Electronics Co Ltd | Determining trigger events for sending measurement reports in a cellular wireless communication network |
| WO2013079092A1 (en) * | 2011-11-29 | 2013-06-06 | Nokia Siemens Networks Oy | Informing a user equipment of an activity status of a communication carrier |
| US9622134B2 (en) * | 2013-05-06 | 2017-04-11 | Qualcomm Incorporated | Coordinating handover events across RATs |
| JP6125939B2 (ja) * | 2013-07-29 | 2017-05-10 | 京セラ株式会社 | ユーザ端末及びプロセッサ |
| EP2836017A1 (en) * | 2013-08-09 | 2015-02-11 | Alcatel Lucent | Switching a primary node |
| KR102046868B1 (ko) * | 2013-08-26 | 2019-11-20 | 삼성전자주식회사 | 무선 통신 시스템에서 복수의 변조 방식을 운용하는 방법 및 장치 |
| TWI628930B (zh) * | 2013-09-20 | 2018-07-01 | 新力股份有限公司 | 通訊裝置及方法 |
| US20150103782A1 (en) * | 2013-10-14 | 2015-04-16 | Qualcomm Incorporated | Techniques for enabling asynchronous communications using unlicensed radio frequency spectrum |
| CN107277874B (zh) * | 2013-11-22 | 2019-12-17 | 索尼公司 | 通信系统中的电子装置和通信方法、计算机可读存储介质 |
| US10159019B2 (en) * | 2014-06-03 | 2018-12-18 | Deutsche Telekom Ag | Improving overall network performance and/or overall quality of service of user equipments in a mobile communication network |
| KR101673963B1 (ko) * | 2014-06-27 | 2016-11-08 | 후아웨이 테크놀러지 컴퍼니 리미티드 | 데이터 신호를 송신하는 방법 및 사용자 장비 |
| US10772021B2 (en) * | 2014-12-05 | 2020-09-08 | Qualcomm Incorporated | Low latency and/or enhanced component carrier discovery for services and handover |
| CN108349589B (zh) * | 2015-07-27 | 2021-03-09 | 珍吉斯科姆控股有限责任公司 | 协作mimo系统中的机载中继 |
| EP3253117B1 (en) * | 2016-06-03 | 2021-02-17 | HTC Corporation | Handling a handover |
| EP3462783A4 (en) * | 2016-06-29 | 2019-04-17 | Huawei Technologies Co., Ltd. | ACCESS METHOD, USER EQUIPMENT, CONTROL DEVICE, AND COMMUNICATION SYSTEM |
| WO2018085762A1 (en) * | 2016-11-04 | 2018-05-11 | Kyocera Corporation | Methods for controlling rach-less mobility procedures |
| US11039357B2 (en) | 2017-05-19 | 2021-06-15 | Electronics And Telecommunications Research Institute | Handover method in mobile communication system |
| JP6421227B2 (ja) * | 2017-11-16 | 2018-11-07 | ▲ホア▼▲ウェイ▼技術有限公司Huawei Technologies Co.,Ltd. | 2次セルを追加するための方法、装置、デバイスおよびネットワークシステム |
| US10601628B2 (en) | 2018-05-14 | 2020-03-24 | Qualcomm Incorporated | Methods and apparatus for dynamic adjustment of amplifier gain |
| JP6599533B2 (ja) * | 2018-10-15 | 2019-10-30 | ▲ホア▼▲ウェイ▼技術有限公司 | 2次セルを追加するための方法、装置、デバイスおよびネットワークシステム |
| WO2020096065A1 (ja) * | 2018-11-09 | 2020-05-14 | 株式会社ソニー・インタラクティブエンタテインメント | 通信装置、電子機器および無線接続方法 |
Citations (1)
| Publication number | Priority date | Publication date | Assignee | Title |
|---|---|---|---|---|
| JP2009232293A (ja) | 2008-03-24 | 2009-10-08 | Ntt Docomo Inc | ハンドオーバ制御方法、セル再選択方法及び移動局 |
Family Cites Families (31)
| Publication number | Priority date | Publication date | Assignee | Title |
|---|---|---|---|---|
| FI103629B (fi) * | 1996-10-10 | 1999-07-30 | Nokia Telecommunications Oy | Menetelmä puheluliikenteen kuuman pisteen määrittämiseksi solukkomatka viestinjärjestelmän solussa |
| US6438117B1 (en) * | 2000-01-07 | 2002-08-20 | Qualcomm Incorporated | Base station synchronization for handover in a hybrid GSM/CDMA network |
| DE1273112T1 (de) * | 2000-04-06 | 2003-05-28 | Interdigital Technology Corp., Wilmington | Synchronisation von zeitvorverschiebung und zeitabweichung |
| US7158493B1 (en) * | 2000-09-29 | 2007-01-02 | Arraycomm, Llc | Radio communications system with a minimal broadcast channel |
| US7212821B2 (en) * | 2003-12-05 | 2007-05-01 | Qualcomm Incorporated | Methods and apparatus for performing handoffs in a multi-carrier wireless communications system |
| US7623864B2 (en) * | 2004-03-05 | 2009-11-24 | Samsung Electronics Co., Ltd | System and method for handover to minimize service delay due to ping pong effect in BWA communication system |
| KR100929087B1 (ko) * | 2006-02-09 | 2009-11-30 | 삼성전자주식회사 | 이동통신 시스템에서 핸드오버시 업링크 타이밍싱크 프로시져 수행 방법 및 장치 |
| KR101596188B1 (ko) * | 2006-06-20 | 2016-02-19 | 인터디지탈 테크날러지 코포레이션 | 무선 통신 시스템에서의 핸드오버를 수행하기 위한 방법 및 시스템 |
| US8295243B2 (en) * | 2006-08-21 | 2012-10-23 | Qualcomm Incorporated | Method and apparatus for random access in an orthogonal multiple-access communication system |
| RU2009130406A (ru) * | 2007-01-08 | 2011-02-20 | Интердиджитал Текнолоджи Корпорейшн (Us) | Планирование структуры промежутков измерений для поддержания |
| US8509791B2 (en) * | 2007-03-17 | 2013-08-13 | Qualcomm Incorporated | Handover in wireless communications |
| US20080225796A1 (en) * | 2007-03-17 | 2008-09-18 | Qualcomm Incorporated | Handover in wireless communications |
| CN101374013B (zh) * | 2007-08-22 | 2012-09-26 | 中兴通讯股份有限公司 | 基于频域信号预处理的随机接入方法 |
| KR100925333B1 (ko) | 2008-03-14 | 2009-11-04 | 엘지전자 주식회사 | 랜덤 액세스 과정에서 상향링크 동기화를 수행하는 방법 |
| US8676208B2 (en) * | 2008-06-11 | 2014-03-18 | Mediatek Inc. | Scanning and handover operation in multi-carrier wireless communications systems |
| KR101206161B1 (ko) * | 2008-06-12 | 2012-11-28 | 한국전자통신연구원 | 소형 기지국에서의 단말기 관리 및 간섭 제어 방법 |
| KR101210601B1 (ko) * | 2008-09-05 | 2012-12-11 | 한국전자통신연구원 | 단말 및 단말의 핸드오버 방법 |
| WO2010037080A1 (en) * | 2008-09-29 | 2010-04-01 | Research In Motion Limited | Uplink resynchronization for use in communication systems |
| US8737296B2 (en) * | 2008-10-24 | 2014-05-27 | Qualcomm Incorporated | Method and apparatus for anchor cell designation in network MIMO |
| CN101388722B (zh) * | 2008-11-03 | 2013-06-26 | 新邮通信设备有限公司 | 一种上行同步控制方法、基站和用户设备 |
| US8958317B2 (en) * | 2008-12-04 | 2015-02-17 | Lg Electronics Inc. | Method and apparatus for performing random access in a multi-carrier system |
| JP5428358B2 (ja) | 2009-01-30 | 2014-02-26 | ソニー株式会社 | 光学素子パッケージの製造方法 |
| US8964659B2 (en) * | 2009-02-02 | 2015-02-24 | Lg Electronics Inc. | Random access channel resource allocation |
| WO2010121569A1 (en) * | 2009-04-24 | 2010-10-28 | Mediatek Inc. | Carrier assignment with mobility support in multi-carrier ofdm systems |
| US20110003555A1 (en) * | 2009-07-06 | 2011-01-06 | Yu-Hsuan Guo | Method and Apparatus for PDCCH Monitoring |
| KR20110013336A (ko) * | 2009-08-02 | 2011-02-09 | 이노베이티브 소닉 코포레이션 | 무선 통신 시스템에서의 pdcch 할당을 위한 방법 및 장치 |
| JP5454123B2 (ja) | 2009-12-16 | 2014-03-26 | ソニー株式会社 | ハンドオーバのための方法、端末装置及び無線通信システム |
| CN102740445B (zh) * | 2011-04-02 | 2015-04-08 | 上海贝尔股份有限公司 | 用于载波聚合场景下的切换方法 |
| JP5667011B2 (ja) * | 2011-08-12 | 2015-02-12 | シャープ株式会社 | 通信システム、移動局装置、基地局装置、同期状態管理方法及び集積回路 |
| EP3277042B1 (en) * | 2016-07-28 | 2022-05-25 | ASUSTek Computer Inc. | Method and apparatus for improving msg3 transmission of random access procedure in a wireless communication system |
| JP6890645B2 (ja) * | 2018-12-14 | 2021-06-18 | 華碩電腦股▲ふん▼有限公司 | 無線通信システムにおいて事前設定上りリンクリソースに対してタイム・アラインメント・タイマの長さを適用するための方法および装置 |
-
2009
- 2009-12-16 JP JP2009285374A patent/JP5454123B2/ja active Active
-
2010
- 2010-12-02 CN CN201080056945.5A patent/CN102656930B/zh active Active
- 2010-12-02 EP EP19191637.8A patent/EP3589063B1/en active Active
- 2010-12-02 US US13/514,163 patent/US9374838B2/en not_active Expired - Fee Related
- 2010-12-02 EP EP10837238.4A patent/EP2514250B1/en active Active
- 2010-12-02 RU RU2015123434A patent/RU2697188C2/ru active
- 2010-12-02 RU RU2012123988/07A patent/RU2557558C2/ru active
- 2010-12-02 BR BR112012013899-5A patent/BR112012013899B1/pt not_active IP Right Cessation
- 2010-12-02 WO PCT/JP2010/007037 patent/WO2011074201A1/en not_active Ceased
- 2010-12-02 IN IN5083DEN2012 patent/IN2012DN05083A/en unknown
- 2010-12-02 CN CN201510688141.1A patent/CN105307281B/zh active Active
-
2016
- 2016-04-22 US US15/136,507 patent/US9629047B2/en active Active
-
2017
- 2017-02-17 US US15/436,378 patent/US9781644B2/en active Active
- 2017-09-22 US US15/712,872 patent/US10455465B2/en active Active
-
2019
- 2019-08-09 US US16/536,319 patent/US11039358B2/en active Active
-
2021
- 2021-05-20 US US17/325,218 patent/US11570673B2/en active Active
Patent Citations (1)
| Publication number | Priority date | Publication date | Assignee | Title |
|---|---|---|---|---|
| JP2009232293A (ja) | 2008-03-24 | 2009-10-08 | Ntt Docomo Inc | ハンドオーバ制御方法、セル再選択方法及び移動局 |
Non-Patent Citations (6)
| Title |
|---|
| "3GPP TSG RAN WG2 Meeting #67 R2-094731", 24 August 2009, article HUAWEI: "Intra LTE-A UE Handover Procedure inter-eNB for CA", XP008157210 * |
| "3GPP TSG RAN WG2 Meeting #68 R2-096499", 9 November 2009, article CATT: "CC management in CA", XP008157235 * |
| "CC management in CA", 3GPP TSG RAN WG2 MEETING R2-096499, 9 November 2009 (2009-11-09) |
| NOKIA CORPORATION ET AL.: "3GPP draft; R2-096844 RACH and carrier aggregation, 3rd generation partnership project (3GPP", 9 November 2009, MOBILE COMPETENCE CENTER, article "RACH and carrier aggregation" |
| PANASONIC: "Synchronization channel and system information for Carrier Aggregation", 3GPP TSG RAN WG1 #57BIS RL-092536, 29 June 2009 (2009-06-29), XP008157214 * |
| See also references of EP2514250A4 |
Cited By (7)
| Publication number | Priority date | Publication date | Assignee | Title |
|---|---|---|---|---|
| US20120182874A1 (en) * | 2011-01-17 | 2012-07-19 | Telefonaktiebolaget Lm Ericsson (Publ) | Method and Apparatus for Compensating Signal Timing Measurements for Differences in Signal Frequencies |
| US9462563B2 (en) * | 2011-01-17 | 2016-10-04 | Optis Cellular Technology, Llc | Method and apparatus for compensating signal timing measurements for differences in signal frequencies |
| US9924538B2 (en) | 2012-07-31 | 2018-03-20 | Huawei Technologies Co., Ltd. | Method, apparatus, device and network system for adding secondary serving cell |
| US10285199B2 (en) | 2012-07-31 | 2019-05-07 | Huawei Technologies Co., Ltd. | Method, apparatus, device and network system for adding secondary serving cell |
| US10834753B2 (en) | 2012-07-31 | 2020-11-10 | Huawei Technologies Co., Ltd. | Method, apparatus, device and network system for adding secondary serving cell |
| US20220124717A1 (en) * | 2012-08-02 | 2022-04-21 | Mitsubishi Electric Corporation | Mobile communication system, source base station, target base station and user equipment |
| US12069632B2 (en) * | 2012-08-02 | 2024-08-20 | Mitsubishi Electric Corporation | Mobile communication system, source base station, target base station and user equipment |
Also Published As
| Publication number | Publication date |
|---|---|
| US9629047B2 (en) | 2017-04-18 |
| JP5454123B2 (ja) | 2014-03-26 |
| IN2012DN05083A (enExample) | 2015-10-09 |
| US20120243510A1 (en) | 2012-09-27 |
| US20170164254A1 (en) | 2017-06-08 |
| JP2011130090A (ja) | 2011-06-30 |
| EP3589063A1 (en) | 2020-01-01 |
| CN102656930A (zh) | 2012-09-05 |
| EP2514250B1 (en) | 2022-10-05 |
| BR112012013899B1 (pt) | 2021-11-23 |
| EP2514250A4 (en) | 2015-10-28 |
| CN102656930B (zh) | 2015-11-25 |
| US20210274408A1 (en) | 2021-09-02 |
| CN105307281A (zh) | 2016-02-03 |
| RU2012123988A (ru) | 2013-12-20 |
| BR112012013899A2 (pt) | 2016-05-10 |
| RU2015123434A (ru) | 2015-12-10 |
| US10455465B2 (en) | 2019-10-22 |
| CN105307281B (zh) | 2019-06-18 |
| US20190364474A1 (en) | 2019-11-28 |
| US9781644B2 (en) | 2017-10-03 |
| RU2697188C2 (ru) | 2019-08-13 |
| EP3589063B1 (en) | 2021-10-06 |
| RU2557558C2 (ru) | 2015-07-27 |
| EP2514250A1 (en) | 2012-10-24 |
| RU2015123434A3 (enExample) | 2019-01-11 |
| US9374838B2 (en) | 2016-06-21 |
| US11039358B2 (en) | 2021-06-15 |
| US11570673B2 (en) | 2023-01-31 |
| US20160242085A1 (en) | 2016-08-18 |
| US20180014236A1 (en) | 2018-01-11 |
Similar Documents
| Publication | Publication Date | Title |
|---|---|---|
| US11570673B2 (en) | Method for performing handover, user equipment, and radio communication system | |
| RU2559199C2 (ru) | Способ выполнения передачи обслуживания, оборудование пользователя, базовая станция и система радиосвязи | |
| WO2011074200A1 (en) | Method for performing handover, user equipment, base station, and radio communication system | |
| US20190320366A1 (en) | Method for controlling handover, user equipment, base station, and radio communication system | |
| WO2011052164A1 (en) | Base station, user equipment, communication control method, and radio communication system |
Legal Events
| Date | Code | Title | Description |
|---|---|---|---|
| WWE | Wipo information: entry into national phase |
Ref document number: 201080056945.5 Country of ref document: CN |
|
| 121 | Ep: the epo has been informed by wipo that ep was designated in this application |
Ref document number: 10837238 Country of ref document: EP Kind code of ref document: A1 |
|
| 121 | Ep: the epo has been informed by wipo that ep was designated in this application |
Ref document number: 10837238 Country of ref document: EP Kind code of ref document: A1 |
|
| WWE | Wipo information: entry into national phase |
Ref document number: 2010837238 Country of ref document: EP |
|
| WWE | Wipo information: entry into national phase |
Ref document number: 13514163 Country of ref document: US |
|
| WWE | Wipo information: entry into national phase |
Ref document number: 2012123988 Country of ref document: RU Ref document number: 5083/DELNP/2012 Country of ref document: IN |
|
| NENP | Non-entry into the national phase |
Ref country code: DE |
|
| REG | Reference to national code |
Ref country code: BR Ref legal event code: B01A Ref document number: 112012013899 Country of ref document: BR |
|
| ENP | Entry into the national phase |
Ref document number: 112012013899 Country of ref document: BR Kind code of ref document: A2 Effective date: 20120608 |