WO2009107330A1 - 情報処理装置及びその制御方法 - Google Patents

情報処理装置及びその制御方法 Download PDF

Info

Publication number
WO2009107330A1
WO2009107330A1 PCT/JP2009/000500 JP2009000500W WO2009107330A1 WO 2009107330 A1 WO2009107330 A1 WO 2009107330A1 JP 2009000500 W JP2009000500 W JP 2009000500W WO 2009107330 A1 WO2009107330 A1 WO 2009107330A1
Authority
WO
WIPO (PCT)
Prior art keywords
virtual machine
application
predetermined application
predetermined
machine monitor
Prior art date
Legal status (The legal status is an assumption and is not a legal conclusion. Google has not performed a legal analysis and makes no representation as to the accuracy of the status listed.)
Ceased
Application number
PCT/JP2009/000500
Other languages
English (en)
French (fr)
Japanese (ja)
Inventor
伊藤孝幸
前田学
芳賀智之
高山久
松島秀樹
Current Assignee (The listed assignees may be inaccurate. Google has not performed a legal analysis and makes no representation or warranty as to the accuracy of the list.)
Panasonic Corp
Original Assignee
Panasonic Corp
Priority date (The priority date is an assumption and is not a legal conclusion. Google has not performed a legal analysis and makes no representation as to the accuracy of the date listed.)
Filing date
Publication date
Application filed by Panasonic Corp filed Critical Panasonic Corp
Priority to US12/918,918 priority Critical patent/US8689212B2/en
Priority to CN200980105824.2A priority patent/CN101946252B/zh
Priority to EP09715484.3A priority patent/EP2249280B1/en
Publication of WO2009107330A1 publication Critical patent/WO2009107330A1/ja
Anticipated expiration legal-status Critical
Ceased legal-status Critical Current

Links

Images

Classifications

    • GPHYSICS
    • G06COMPUTING OR CALCULATING; COUNTING
    • G06FELECTRIC DIGITAL DATA PROCESSING
    • G06F9/00Arrangements for program control, e.g. control units
    • G06F9/06Arrangements for program control, e.g. control units using stored programs, i.e. using an internal store of processing equipment to receive or retain programs
    • G06F9/44Arrangements for executing specific programs
    • G06F9/455Emulation; Interpretation; Software simulation, e.g. virtualisation or emulation of application or operating system execution engines
    • G06F9/45533Hypervisors; Virtual machine monitors
    • GPHYSICS
    • G06COMPUTING OR CALCULATING; COUNTING
    • G06FELECTRIC DIGITAL DATA PROCESSING
    • G06F12/00Accessing, addressing or allocating within memory systems or architectures
    • G06F12/14Protection against unauthorised use of memory or access to memory
    • G06F12/1458Protection against unauthorised use of memory or access to memory by checking the subject access rights
    • G06F12/1466Key-lock mechanism
    • G06F12/1475Key-lock mechanism in a virtual system, e.g. with translation means
    • GPHYSICS
    • G06COMPUTING OR CALCULATING; COUNTING
    • G06FELECTRIC DIGITAL DATA PROCESSING
    • G06F12/00Accessing, addressing or allocating within memory systems or architectures
    • G06F12/14Protection against unauthorised use of memory or access to memory
    • G06F12/1458Protection against unauthorised use of memory or access to memory by checking the subject access rights
    • G06F12/1491Protection against unauthorised use of memory or access to memory by checking the subject access rights in a hierarchical protection system, e.g. privilege levels, memory rings
    • GPHYSICS
    • G06COMPUTING OR CALCULATING; COUNTING
    • G06FELECTRIC DIGITAL DATA PROCESSING
    • G06F21/00Security arrangements for protecting computers, components thereof, programs or data against unauthorised activity
    • GPHYSICS
    • G06COMPUTING OR CALCULATING; COUNTING
    • G06FELECTRIC DIGITAL DATA PROCESSING
    • G06F21/00Security arrangements for protecting computers, components thereof, programs or data against unauthorised activity
    • G06F21/30Authentication, i.e. establishing the identity or authorisation of security principals
    • GPHYSICS
    • G06COMPUTING OR CALCULATING; COUNTING
    • G06FELECTRIC DIGITAL DATA PROCESSING
    • G06F21/00Security arrangements for protecting computers, components thereof, programs or data against unauthorised activity
    • G06F21/50Monitoring users, programs or devices to maintain the integrity of platforms, e.g. of processors, firmware or operating systems
    • G06F21/52Monitoring users, programs or devices to maintain the integrity of platforms, e.g. of processors, firmware or operating systems during program execution, e.g. stack integrity ; Preventing unwanted data erasure; Buffer overflow
    • G06F21/53Monitoring users, programs or devices to maintain the integrity of platforms, e.g. of processors, firmware or operating systems during program execution, e.g. stack integrity ; Preventing unwanted data erasure; Buffer overflow by executing in a restricted environment, e.g. sandbox or secure virtual machine

Definitions

  • the present invention relates to an information processing apparatus having a virtual machine monitor that manages a virtual machine on which a predetermined application operates, and a control method thereof.
  • the digitized music data, the HD image, etc. can be copied without deterioration. Therefore, in order to protect the interests of the copyright holder, these contents must be handled while being protected from unauthorized copying.
  • copyright protection technologies such as CPRM (Content Protection Recording Media) and AACS (Advanced Access Content System). These copyright protection technologies protect the content by encrypting it, and in order for the user to use the content, it is necessary to decrypt the data with a terminal corresponding to the copyright protection technology.
  • a terminal that supports copyright protection technology includes a secure device such as a cryptographic engine that performs decryption processing on encrypted content.
  • the secure device needs to be correctly operated so as not to decrypt content that is not permitted to be decrypted by unauthorized processing.
  • Patent Document 1 is a technique for detecting whether or not a program that handles data is valid, and will be briefly described with reference to FIG.
  • FIG. 19 is a diagram showing a sequence of Patent Document 1.
  • processing is started by an operation of a user or the like (S410).
  • a hash value (authenticator) is created for the above-described program using a hash function (S412).
  • the processed information and the hash value (authenticator) described above are sent to a verification unit (not shown), and the verification unit holds the sent hash value (authenticator) in advance. It is determined whether or not it matches the hash value. If they match, it is determined that the program corresponding to the hash value is valid (S413).
  • Patent Document 2 As a technique for appropriately processing data handled by a terminal device, there is, for example, Patent Document 2. This will be briefly described with reference to FIGS.
  • FIG. 20 is a diagram showing a software configuration diagram of Patent Document 2. As shown in FIG. 20
  • the software of Patent Document 2 includes a VMM (Virtual Machine Monitor) 400, a general-purpose OS 401, a network-compatible application 402, a general-purpose OS NIC proxy 403, a real-time OS 404, a real-time NIC proxy 405, and a real-time UDP / IP 406. And a NIC driver 407.
  • VMM Virtual Machine Monitor
  • the VMM 400 provides an OS virtualization function.
  • the general-purpose OS 401 and the real-time OS 404 are operating systems that operate on virtualized hardware provided by the VMM 400.
  • the network compatible application 402 requests network processing from the general-purpose OS NIC proxy 403 when performing network processing. Then, the general-purpose OS NIC proxy 403 requests the real-time NIC proxy 405 to perform processing. Then, the real-time NIC proxy 405 requests the real-time UDP / IP 406 for processing.
  • the real-time UDP / IP 406 uses a NIC driver 407 to control a network interface card (NIC, Network Interface Card) (not shown).
  • the NIC driver 407 is used to control the network interface card (NIC, Network Interface Card).
  • FIG. 21 is a diagram showing a sequence when a packet data arrival notification is received from the network interface card.
  • the packet data arrival notification is notified by an interrupt signal or the like from the NIC that has detected the arrival of the packet data (S400).
  • the NIC driver 407 acquires data from the network interface card. Then, the packet data is sent to the real-time UDP / IP 406 (S401).
  • the real-time UDP / IP 406 determines whether the number stored in the port area of the packet data is a port number used by the software on the real-time OS side. If the above number is a port number used by the software on the real-time OS side, the process proceeds to S403. If the above number is not the number used by the software on the real time OS side, the process proceeds to S404 (S402).
  • the real-time UDP / IP 406 sends the packet data to appropriate software on the real-time OS side, and transitions to S405 (S403).
  • step S404 the real-time UDP / IP 406 sends the packet data to the general-purpose OS NIC proxy 403 via the real-time NIC proxy 405.
  • the general-purpose OS NIC proxy 403 sends the packet data to the network compatible application 402 (S404).
  • Patent Document 1 performs a hash operation on a program to determine whether the program is valid.
  • Patent Document 2 only determines whether the data handled by the device is processed by software on the real-time OS side or software on the general-purpose OS side, and the application is valid. There is no confirmation of this.
  • SSL Secure Socket Layer
  • the present invention solves the above-mentioned problems, and prevents the predetermined application from being rewritten with another unauthorized application after the validity of the predetermined application is determined, and the device being controlled by the unauthorized application. It is an object of the present invention to provide an information processing apparatus and a control method thereof.
  • an information processing apparatus includes a virtual machine that manages a predetermined application as a rewritable work area on which a predetermined application that accesses a predetermined device operates.
  • a detection unit that detects an access request to a predetermined device using the predetermined application from the virtual machine, a verification unit that verifies validity of the predetermined application, the virtual machine, the verification unit, and the detection
  • a virtual machine monitor that manages a virtual machine monitor, and when the detection unit detects the access request, the virtual machine monitor notifies the virtual machine monitor to that effect, and the virtual machine monitor rewrites the predetermined application on the work area. It is managed as impossible and notifies the verification unit to that effect, and the verification unit Serial predetermined application and receiving a notification from the virtual machine monitor is to determine whether it is legitimate.
  • the information processing apparatus allows the verification unit to verify that the predetermined application is valid after the virtual machine monitor manages that the predetermined application cannot be rewritten to the work area.
  • the verification unit verifies that the predetermined application is valid. It is possible to prevent the predetermined application from being rewritten to another unauthorized application on the work area after it is determined.
  • An information processing apparatus provides a virtual machine that operates a predetermined application that accesses a predetermined device on a work area, and an access request to the predetermined device using the predetermined application.
  • a detection unit that detects from a virtual machine, a verification unit that verifies the validity of the predetermined application, manages the virtual machine, the verification unit, and the detection unit, and rewrites a predetermined application that operates on the work area
  • a virtual machine monitor that can be managed, and when the detection unit detects the access request, the detection unit notifies the virtual machine monitor to that effect, and the virtual machine monitor rewrites the predetermined application on the work area. It is managed as impossible and notifies the verification unit to that effect.
  • the predetermined application and receiving a notification from the virtual machine monitor is to determine whether it is legitimate.
  • the verification unit determines whether the predetermined application is valid.
  • the verification unit manages the predetermined application in a non-rewritable manner before verifying the validity of the predetermined application, so that the predetermined application is determined after the verification unit determines that the predetermined application is valid. Can be prevented from being rewritten to another application on the work area.
  • the information processing apparatus in the information processing apparatus according to claim 1, when the verification unit determines that the predetermined application is valid, the information processing apparatus is predetermined using the predetermined application. An execution unit for accessing the device is provided.
  • the verification unit manages the predetermined application so that it cannot be rewritten before verifying the validity of the predetermined application. It is possible to prevent the predetermined application from being rewritten to another unauthorized application on the work area after the application is determined to be valid and the predetermined device being accessed using the unauthorized application.
  • the information processing apparatus is the information processing apparatus according to claim 2, wherein the virtual machine monitor terminates access to a predetermined device using the predetermined application by the execution unit. Then, the management is returned to a rewritable one for the predetermined application.
  • the virtual machine monitor by causing the virtual machine monitor to return the management to a rewritable one after the execution unit has finished accessing the predetermined device using the predetermined application, Since the predetermined application can be deleted from the work area after the access by the predetermined application is completed, it is possible to prevent the work area from being occupied unnecessarily by the processed application.
  • the information processing apparatus is the information processing apparatus according to claim 1, wherein the virtual machine monitor manages management information corresponding to the predetermined application in the work area, and
  • the information includes privilege information indicating an entity having authority to rewrite the management information, and when the privilege information indicates that the rewritable entity of the predetermined application includes the virtual machine, the information of the predetermined application By rewriting the privilege information so as to exclude the virtual machine from a rewritable entity, the predetermined application is managed as being rewritable.
  • the management information that can be rewritten by the virtual machine cannot be rewritten by the virtual machine when the virtual machine monitor rewrites privilege information in the management information. Therefore, once the virtual machine monitor rewrites the privilege information, the virtual machine monitor can prohibit rewriting of the management information by the virtual machine. As a result, it is possible to reliably prevent the predetermined application from being rewritten to another application on the work area after the verification unit determines whether or not the predetermined application is valid.
  • the virtual machine monitor eliminates the virtual machine from the rewritable main body of the predetermined application by rewriting privilege information which is a part of the management information, so the virtual machine can be easily On the monitor side, rewriting of applications operating on the work area by the virtual machine can be prohibited. Further, by rewriting existing information called privilege information in the management information, a separate data structure for prohibiting rewriting of the management information by the virtual machine becomes unnecessary, and the configuration for prohibiting rewriting Can be simplified.
  • the information processing apparatus is the information processing apparatus according to claim 4, wherein the virtual machine monitor uses the virtual machine and the virtual machine monitor as rewritable entities of the predetermined application.
  • the virtual machine is excluded from the rewritable main body of the predetermined application by rewriting the privilege information to information that restricts the rewritable main body of the predetermined application to the virtual machine monitor. .
  • the privilege information is changed from information including the virtual machine and the virtual machine monitor as a rewritable main body of the predetermined application to information limiting the rewritable main body of the predetermined application to the virtual machine monitor. Since the virtual machine is excluded from the rewritable main body of the predetermined application, rewriting of the application operating on the work area by the virtual machine can be easily prohibited.
  • the information processing apparatus according to claim 6 of the present invention is the information processing apparatus according to claim 1, wherein the predetermined device is an SD card.
  • the information processing apparatus is the information processing apparatus according to claim 1, wherein the predetermined device is an external content server that provides content to the information processing apparatus.
  • an information processing apparatus comprising: a virtual machine that operates a predetermined application that accesses a predetermined device on a work area; and an access request to the predetermined device that uses the predetermined application. Detecting unit from the virtual machine, and a virtual machine monitor that manages the virtual machine and the detection unit and rewrites a predetermined application that operates on the work area, and the detection unit When the access request is detected, the virtual machine monitor notifies the virtual machine monitor, and the virtual machine monitor manages that the predetermined application on the work area is not rewritable. To the external device, and the verification unit of the external device is valid for the predetermined application. Is obtained is characterized in that to perform determination of whether.
  • the verification unit may be included not in the information processing apparatus but in an external device of the information processing apparatus.
  • An information processing apparatus provides a virtual machine that operates a predetermined application for accessing a predetermined device on a work area, and an access request to the predetermined device using the predetermined application.
  • a detection unit that detects from the virtual machine, a virtual machine monitor that manages the virtual machine and the detection unit, manages a predetermined application that operates on the work area in a rewritable manner, and an execution unit that provides a service
  • a communication unit that communicates with an external device, and when the detection unit detects the access request, the detection unit notifies the virtual machine monitor to that effect, and the virtual machine monitor rewrites the predetermined application on the work area.
  • the communication unit is re-managed as impossible, and the predetermined application is written by the communication unit. If it is determined that the legitimate after being re managed as example not possible, it is from the execution unit of the external device that is characterized by receiving a supply of the services.
  • the execution unit may be included not in the information processing apparatus but in an external device of the information processing apparatus.
  • a control method for an information processing apparatus comprising: a virtual machine that operates a predetermined application that accesses a predetermined device on a work area; and a predetermined device that uses the predetermined application.
  • a detection unit that detects the access request from the virtual machine, a verification unit that verifies the validity of the predetermined application, and a virtual machine monitor that manages the virtual machine, the verification unit, and the detection unit.
  • the detection unit detects the access request, the detection unit notifies the virtual machine monitor to that effect, and the virtual machine monitor re-manages that the predetermined application on the work area is not rewritable.
  • the verification unit receives the notification from the virtual machine monitor.
  • the predetermined application and is obtained by determination as to whether or not valid.
  • the verification unit determines whether the predetermined application is valid.
  • the verification unit manages the predetermined application in a non-rewritable manner before verifying the validity of the predetermined application, so that the predetermined application is determined after the verification unit determines that the predetermined application is valid. Can be prevented from being rewritten to another unauthorized application on the work area.
  • a control program for an information processing apparatus includes: a virtual machine that operates a predetermined application that accesses a predetermined device on a work area; and a predetermined device that uses the predetermined application.
  • a detection unit that detects the access request from the virtual machine, a verification unit that verifies the validity of the predetermined application, and a virtual machine monitor that manages the virtual machine, the verification unit, and the detection unit.
  • the detection unit detects the access request, a step of notifying the virtual machine monitor to that effect, and the virtual machine monitor with the predetermined application on the work area. The step of re-managing that it is not rewritable and notifying the verification unit to that effect If, in the verification unit notifies the received from the virtual machine monitor, the predetermined application is that so as to determine whether it is legitimate.
  • the verification unit determines whether the predetermined application is valid.
  • the verification unit manages the predetermined application in a non-rewritable manner before verifying the validity of the predetermined application, so that the predetermined application is determined after the verification unit determines that the predetermined application is valid. Can be prevented from being rewritten to another unauthorized application on the work area.
  • An integrated circuit of an information processing apparatus is directed to a virtual machine that operates a predetermined application for accessing a predetermined device on a work area, and a predetermined device using the predetermined application.
  • a detection unit that detects the access request from the virtual machine, a verification unit that verifies the validity of the predetermined application, and a virtual machine monitor that manages the virtual machine, the verification unit, and the detection unit.
  • the detection unit detects the access request, the detection unit notifies the virtual machine monitor to that effect, and the virtual machine monitor re-manages the predetermined application on the work area as being unrewritable.
  • the verification unit notifies the verification unit. Deployment is that so as to determine whether or not valid.
  • the verification unit determines whether the predetermined application is valid.
  • the verification unit manages the predetermined application in a non-rewritable manner before verifying the validity of the predetermined application, so that the predetermined application is determined after the verification unit determines that the predetermined application is valid. Can be prevented from being rewritten to another unauthorized application on the work area.
  • Embodiment 1 of this invention It is a block diagram which shows the software structure of Embodiment 1 of this invention. It is a block diagram which shows the hardware constitutions of Embodiment 1 of this invention. It is a figure which shows the physical memory space of the information processing apparatus of Embodiment 1 of this invention. It is a figure which shows an example of the correspondence of the virtual physical memory space and logical memory space of Embodiment 1 of this invention. It is a figure which shows an example of the data structure of the page table of Embodiment 1 of this invention. It is a figure which shows the access control when CPU of Embodiment 1 of this invention accesses a normal memory and a protection memory.
  • Sequence diagram for confirming the validity of a conventional program It is a figure which shows the software structure which processes data appropriately for every execution environment in the conventional OS virtualization execution environment. It is a sequence diagram which processes data appropriately for every execution environment in the conventional OS virtualization execution environment. It is a sequence diagram which loads the application on general purpose OS. It is a figure which shows an example after rewriting of the data structure of the page table of Embodiment 1 of this invention.
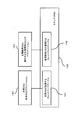
  • FIG. 1 is a diagram showing a software configuration according to the first embodiment of the present invention.
  • the information processing apparatus includes a secure VMM 100 that is a virtual machine monitor, a general-purpose OS 101, an application A 102, an application B 103, a management dedicated OS 104, a device access request determination unit 109 that is a detection unit, and an execution A secure device driver 105 including a secure access control unit 110 as a unit and an application specifying unit 106 as a verification unit.
  • the virtual machine includes a general-purpose OS 101, an application A102, and an application B103.
  • Secure VMM 100 provides an OS virtualization function.
  • the general-purpose OS 101 and the management-dedicated OS 104 are operating systems that operate on virtualized hardware provided by the secure VMM 100.
  • the secure VMM 100 includes an operation application storage memory specifying unit 107 and an operation application memory lock unit 108.
  • Application A 102 and application B 103 are applications that provide services to users, and access a secure device (not shown) as necessary.
  • the secure device driver 105 is a device driver that controls a secure device (not shown), and includes a device access request determination unit 109 and a device access control unit 110.
  • the application identification unit 106 includes an authenticator generation unit 111 and an application determination unit 112.
  • the operation application storage memory specifying unit 107 specifies an application on the general-purpose OS 101 that accesses a secure device (not shown). Details will be described later.
  • the operation application memory lock unit 108 controls a page table corresponding to an application on the general-purpose OS 101 that accesses a secure device (not shown). Details will be described later.
  • the device access request determination unit 109 detects an access request to a secure device (not shown). Details will be described later.
  • the device access control unit 110 controls access to a secure device (not shown). Details will be described later.
  • the authenticator generation unit 111 generates an authenticator for an application on the general-purpose OS 101 for a secure device (not shown). Details will be described later.
  • the application determination unit 112 determines whether or not the application is valid using the above-described application authenticator. Details will be described later.
  • FIG. 2 is a hardware configuration diagram of the information processing apparatus 120 on which the software of FIG. 1 operates.
  • the information processing apparatus 120 includes a CPU 121, an MMU (Memory Management Unit) 122, a normal memory 123, a protection memory 124, a secure device 126, and a nonvolatile storage device 134 via a bus 125. Connected.
  • MMU Memory Management Unit
  • the information processing apparatus 120 further includes an input / output unit and an auxiliary storage device that are not illustrated in FIG. 2, but these are not the essence of the present invention, and thus description thereof is omitted.
  • the CPU 121 controls the overall operation of the information processing apparatus 120 by executing instruction codes included in programs or the like stored in the normal memory 123 or the protection memory 124.
  • the MMU 122 provides a function of converting a physical address number into a logical address number to the CPU 121 with reference to a page table (not shown). Further, the MMU 122 refers to a page table (not shown) and provides an access control function such as a memory write operation and a read operation according to the privileged state of the CPU 121.
  • the non-volatile storage device 134 is a non-volatile storage device that stores the application A 127 and the application B 128. Specifically, it is a hard disk or flash memory.
  • the normal memory 123 is a volatile storage device that is executed by loading the application A 127, the application B 128, and the general-purpose OS 129 stored in the nonvolatile storage device 134. This corresponds to the work area of the present invention.
  • the protection memory 124 is a storage device that stores the secure device driver 130, the application specifying unit 131, the management dedicated OS 132, and the secure VMM 133.
  • the secure device 126 is a device that handles information to be protected such as content, and is a device that needs to prevent access from unauthorized applications. For example, it is an encryption / decryption circuit that performs decryption of encrypted content. Other examples include a recording medium such as a flash memory in which encrypted content is recorded, and a memory in which decrypted content is held. Further, the secure device is not limited to the one built in the information processing apparatus, but may be an external recording apparatus such as an SD card.
  • protection memory 124 and the secure device 126 are controlled so that only software stored in the protection memory 124 can be accessed.
  • the general-purpose OS 129 holds a page table 135 and a page table 136, respectively, corresponding to the application A 127 and the application B 128 that operate on the general-purpose OS 129. Details regarding the page table will be described later.
  • FIG. 3 is a diagram illustrating the physical memory space 140 of the information processing apparatus 120.
  • the physical memory space 140 of the information processing apparatus 120 includes a memory space 141 corresponding to a normal memory, a reserved area A 142, a memory space 143 corresponding to a protected memory, and a reserved area B 144.
  • the physical memory space 140 of the information processing apparatus can be uniquely specified by a physical memory address.
  • the secure VMM 100 manages the physical memory space 140 of the information processing apparatus by dividing it into a physical memory space allocated to the general-purpose OS 101 and a physical memory space allocated to the management-dedicated OS 104.
  • the physical memory space allocated to the general-purpose OS 101 includes a memory space 141 corresponding to a normal memory and a reserved area A 142.
  • the physical memory space allocated to the management-dedicated OS 104 includes a memory space 143 corresponding to the protected memory and a reserved area B 144.
  • the secure VMM 100 causes the general-purpose OS 101 and the management-dedicated OS 104 to refer to each memory space as a virtual physical address space.
  • the general-purpose OS 101 and the management-dedicated OS 104 perform a read operation and a write operation on each virtual physical address space using the virtual physical address number.
  • FIG. 4 is an example of a correspondence relationship between the virtual physical memory space and the logical memory space.
  • the virtual physical memory space in FIG. 4 is a virtual physical memory space in which the general-purpose OS performs a read operation and a write operation.
  • the normal memory 151 is managed by being divided into fixed length sizes called pages.
  • the page table 153 manages a plurality of pages together and constructs a logical address space. Furthermore, one page table corresponds to one application.
  • the application performs read and write operations using the logical address number for the logical address space.
  • FIG. 5 is a diagram illustrating an example of the data structure of the page table 160.
  • the page table 160 includes a page number 161, a logical address number 162, a virtual physical address number 163, privilege information 164, write operation permission / non-permission information 165, and a read operation for each entry corresponding to the page.
  • the data structure includes permission / non-permission information 166 and other information 167.
  • the page number 161 is a field for storing the page number.
  • the logical address number 162 is a field for storing a corresponding logical address number when the MMU 122 converts a virtual physical address number into a logical address number. This field may store each logical address number corresponding to each virtual physical address number, or may store the top logical address number of the page.
  • the virtual physical address number 163 is a field for storing a corresponding virtual physical address number when the MMU 122 converts the virtual physical address number into a logical address number. This field may store the top virtual physical address number of the page.
  • the privilege information 164 is a field for storing information related to privilege information to be referred to when the MMU 122 performs access control to the memory. Details will be described later.
  • the write operation permission / non-permission information 165 is a field indicating whether or not the application corresponding to the page table 160 may perform a write operation on the page. In this field, information indicating permission or non-permission is stored.
  • Read operation permission / non-permission information 166 is a field indicating whether or not an application corresponding to the page table 160 may perform a read operation on the page. In this field, information indicating permission or non-permission is stored.
  • Other information 167 is a field that stores page size, page dirty information, information other than the above-described attributes, and the like.
  • page table 160 shown in FIG. 5 has a logical data structure, and for example, a known hierarchical page table structure may be used.
  • privilege information is assigned to each page, but one privilege information may be assigned to one page table. In that case, the one privilege information may be managed by another data structure or register.
  • the write operation permission / non-permission information 165 is a field indicating whether or not writing from an application is possible, but may be other than that. For example, it may be a field indicating whether or not the subject can perform a write operation in combination with information indicating the subject of the write operation stored in other information 167.
  • the read operation permission / non-permission information 166 is a field indicating whether or not reading from an application is possible, but it may be other than that. For example, it may be a field indicating whether or not the subject can perform a read operation in combination with information indicating the subject of the read operation stored in other information 167.
  • FIG. 6 is a table showing access control when the CPU 121 accesses the normal memory 123 and the protection memory 124.
  • 6 may be realized by the CPU 121 or the MMU 122.
  • the CPU 121 has a privileged state of ring 0, ring 1, ring 2, and ring 3.
  • the CPU 121 changes each privileged state by executing a privileged instruction.
  • Privileged information 164 field of the page table 160 can access the pages of ring 0, ring 1, ring 2, and ring 3 by software that is the main body operating on the CPU 121 that is the privilege state ring 0. Further, the contents of the page table of the ring 0, ring 1, ring 2, and ring 3 can be rewritten in the privilege information 164 field.
  • Privileged information 164 field of the page table 160 can access the pages of the ring 1, ring 2, and ring 3 by the software that is the main body operating on the CPU 121 that is the privileged state ring 1.
  • the contents of the page tables of the ring 1, ring 2, and ring 3 can be rewritten in the privilege information 164 field.
  • the CPU 121 or the MMU 122 indicates that the memory access is illegal. Detect and deny access.
  • Privileged information 164 field of the page table 160 can access the pages of the ring 2 and the ring 3 in the software that is the main body operating on the CPU 121 that is the privileged state ring 2.
  • the privilege information 164 field can rewrite the contents of the page tables of the ring 2 and ring 3.
  • the CPU 121 or the MMU 122 may perform illegal memory access. Detects and denies access.
  • the privileged information 164 field of the page table 160 can access the page of the ring 3 by the software that is the main body operating on the CPU 121 that is the privileged state ring 3.
  • the privilege information 164 field can rewrite the contents of the page table of the ring 3.
  • the software that is the main body operating on the CPU 121 that is the privileged state ring 3 accesses the page of the ring 0, ring 1, and ring 2 in the privilege information 164 field of the page table 160, the CPU 121 or the MMU 122 is illegal. Detect memory access and deny access.
  • the secure VMM 100 is assigned to the ring 0
  • the management-dedicated OS 104 is assigned to the ring 1
  • the general-purpose OS 101 is assigned to the ring 2
  • the application operating on the general-purpose OS is assigned to the ring 3. Is assigned.
  • the privilege assignment method is not limited to the above-described ring assignment. Any other assignment method may be used as long as the privilege assigned to the general-purpose OS 101 and the application operating on the general-purpose OS can be controlled to be lower than the privilege assigned to the secure VMM 100 and the management-dedicated OS 104.
  • FIG. 22 is a sequence diagram showing application loading processing by the general-purpose OS.
  • the application loading process is started by a user instruction or the like through an interface not shown (S300).
  • the general-purpose OS 180 reads the file storing the application from the nonvolatile storage device 134 (S301).
  • the general-purpose OS 180 refers to the necessary memory size stored in the header file of the file, calculates the memory size allocated to the application, and secures the necessary memory area from the normal memory 123 (S302).
  • the general-purpose OS 180 creates a page table corresponding to the application (S303).
  • the general-purpose OS 180 loads the application program (code and data) from the file read in step S301 into the memory area secured in step S302 (S304).
  • the general-purpose OS 180 ends the application loading process (S305).
  • step S304 and step S305 may be performed in the reverse order.
  • FIG. 7 is a diagram illustrating an example of a page table and application operation performed by the general-purpose OS.
  • an application A 183 and an application B 184 are operating on the general-purpose OS 180.
  • General-purpose OS 180 causes application A 183 and application B 184 to operate by assigning CPUs to application A 183 and application B 184 in a time-sharing manner.
  • the general-purpose OS 180 switches between application A 183 and application B 184 in the above-described time-sharing operation.
  • the switching operation is realized by switching the page table corresponding to each application.
  • the general-purpose OS 180 holds the page table 181 corresponding to the application A 183 and the page table 182 corresponding to the application B 184, and executes the applications in a time-sharing manner.
  • management-dedicated OS 104 also switches the software operating on the management-dedicated OS 104 by performing the same page table operation.
  • FIG. 8 is a diagram illustrating an example of the operation of the page table and the software execution environment by the secure VMM.
  • a general-purpose OS 193 and a management-only OS 194 are operating on the secure VMM 190.
  • the secure VMM 190 operates the general-purpose OS 193 and the management-dedicated OS 194 by assigning CPUs to the general-purpose OS 193 and the management-dedicated OS 194 in a time-sharing manner.
  • the secure VMM 190 switches between the general-purpose OS 193 and the management-dedicated OS 194 in the above-described time-sharing operation.
  • the switching operation is realized by switching the current page table corresponding to each OS (software execution environment).
  • the current page table is a page table that each OS currently refers to the CPU 121.
  • the secure VMM 190 maintains a current page table 191 corresponding to the general-purpose OS 193 and a current page table 192 corresponding to the management-dedicated OS 194, and switches each OS (software execution environment). Run in time division.
  • the application on the general-purpose OS 101 makes a secure device processing request via the general-purpose OS 101 (S100).
  • the secure VMM 100 switches from the general-purpose OS 101 to the management-dedicated OS 104 using the above-described operation of the software execution environment.
  • the device access request determination unit 109 of the secure device driver 105 detects the above-described secure device processing request. Then, the device access request determination unit 109 makes a target application extraction request to the secure VMM 100 (S101).
  • the secure VMM 100 In response to the target application extraction request, the secure VMM 100 performs a target application extraction step and a target application lock step.
  • the operation application storage memory specifying unit 107 of the secure VMM 100 extracts the current page table of the general-purpose OS 101. Since the application operated by the general-purpose OS 101 is the application that issued the secure device processing request, the current page table is the page table of this application (S102).
  • the operation application memory lock unit 108 of the secure VMM 100 backs up the information stored in the current page table of the general-purpose OS 101 in the protection memory. Then, the operation application memory lock unit 108 changes all the write permission / non-permission information fields of the current page table of the general-purpose OS 101 to “non-permitted”. For example, when the above-described operation is performed on the page table 160 shown in FIG. 5, the page table is changed to the page table 300 shown in FIG. In the page table 300 after rewriting, the ring 3 in the field of the privilege information 164 of the page table 160 before rewriting is rewritten to the ring 0 as indicated by the privilege information 304 of the page table 300.
  • the fields of the write operation permission / non-permission information 165 of the page table 160 before rewriting are all set to “non-permitted” as indicated by the write permission / non-permission information 305 of the page table 300. Rewritten.
  • the privilege information field is changed to a ring number that cannot be changed by a privilege assigned to the general-purpose OS and an application operating on the general-purpose OS. Due to the change of the privilege information, the general-purpose OS and the application operating on the general-purpose OS return the write permission / non-permission information field from “not permitted” to “permitted” regardless of the original privilege information of the current page table. I can't do that. Therefore, an attack that allows the write permission / non-permission information field of the page table to be “permitted” by the general-purpose OS side and an application running on the general-purpose OS side to rewrite the memory space in which the application is loaded.
  • the main body that can rewrite the application that issued the secure device processing request by rewriting the field of the write permission / non-permission information 165 and the rewriting of the field of the privilege information from the main OS and the general-purpose OS. Eliminate virtual machines including all applications running on. Then, an application identification request is made to the application identification unit 106 (S103).
  • the application identification unit 106 In response to the application identification request, the application identification unit 106 performs an authenticator generation step and an application determination step.
  • the authenticator generator 111 of the application identification unit 106 refers to the logical address space using the extracted page table.
  • the authenticator generation unit 111 generates a hash value from a program stored in the referenced logical address space using a one-way function such as SHA1 (S104).
  • the application determination unit 112 of the application identification unit 106 checks whether or not the reference hash value held in advance matches the generated hash value. If they match, the application determination unit 112 determines that the application that issued the secure device processing request in S100 is a valid application. If they do not match, the application determination unit 112 determines that the application that issued the secure device processing request in S100 is an unauthorized application. The application determination unit 112 makes a device access control request to the secure device driver 105 using the above determination result (S105).
  • the device access control unit 110 of the secure device driver 105 permits access to the secure device when the above-described determination result is a valid application.
  • the device access control unit 110 rejects access to the secure device when the above-described determination result is an unauthorized application (S106).
  • the secure device driver 105 When the device access control unit 110 permits access to the secure device, the secure device driver 105 performs processing for the secure device (S107). Then, after the processing ends, the secure device driver 105 makes a target application lock release request to the secure VMM 100.
  • the operation application memory lock unit 108 of the secure VMM 100 performs a target application lock release step.
  • the operation application memory lock unit 108 resets the information of the current page table that has been backed up in the current page table of the general-purpose OS 101. Thereby, the write permission / non-permission information and privilege information of the page table return to the state before the target application lock step (S108).
  • the general-purpose OS 101 notifies the processing result of the secure device driver 105 to the application.
  • step S106 If it is determined in step S106 that access to the secure device is denied, the secure device driver 105 issues a target application lock release request to the secure VMM 100, and the operation application memory lock unit 108 of the secure VMM 100. Performs the same processing as step S108 described above. Then, the secure VMM 100 switches to the general-purpose OS 101. The general-purpose OS notifies the application of the processing result of the secure device driver 105.
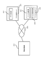
  • FIG. 10 is a block diagram showing a software configuration of the information processing apparatus according to the second embodiment of the present invention.
  • FIG. 11 is a diagram illustrating a configuration in which the information processing apparatus and the application determination unit according to the second embodiment of the present invention are network-connected.
  • the difference in configuration between the information processing apparatus 120 according to the first embodiment and the information processing apparatus 220 according to the second embodiment is as follows.
  • the application identification unit 106 includes the application determination unit 112 that is a verification unit.
  • the application identification unit 206 of the information processing apparatus 220 according to the second embodiment is a verification unit. There is no app determination unit.
  • the application specifying unit 206 according to the second embodiment further includes a communication unit 212.
  • the information processing apparatus 220 is connected to the application determination server 221 via the network 222.
  • the application determination server 221 includes an application determination unit 223 that is a verification unit.
  • the application determination unit 112 compares and determines the hash value (authentication) generated by the authenticator generation unit 111 with the reference hash value (authentication).
  • the hash value (authenticator) generated by the authenticator generation unit 211 is used to determine the application via the network 222 using the network function (not shown). Send to server 221.
  • the application determination unit 223 of the application determination server 221 compares / determines the sent hash value (authenticator) and the hash value (authenticator) held in advance to determine whether the application is a valid application. Determine whether.
  • the application determination server determines whether the application is valid. Therefore, unlike Embodiment 1, there is no need for the information processing apparatus 220 to hold a hash value (authenticator) held in advance for use in the application determination step. Therefore, the storage area of the information processing apparatus 220 can be reduced.
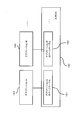
  • FIG. 12 is a block diagram showing a software configuration of the information processing apparatus according to the third embodiment of the present invention.
  • FIG. 13 is a diagram illustrating a configuration in which an information processing apparatus, an application determination unit, and a service providing server according to Embodiment 3 of the present invention are connected to a network.
  • FIG. 14 is a diagram showing a device access control sequence according to the third embodiment of the present invention.
  • the difference in configuration between the information processing apparatus 120 according to the first embodiment and the information processing apparatus 250 according to the third embodiment is as follows.
  • the difference in hardware configuration between the first embodiment and the third embodiment is that the secure device is a network interface.
  • the device driver that controls the network interface is the network interface driver 235.
  • the application identification unit 106 includes the application determination unit 112 that is a verification unit.
  • the application identification unit 236 of the information processing apparatus 250 according to the third embodiment is a verification unit. There is no app determination unit.
  • the application specifying unit 236 according to Embodiment 3 newly includes a communication unit 241.
  • the network interface driver 235 according to the third embodiment does not include a device access control unit that is an execution unit.
  • the information processing apparatus 250, the application determination server 251 and the service providing server 252 of the third embodiment are connected to each other via the network 253.
  • the application determination server 251 includes an application determination unit 254 that is a verification unit.
  • the service provision server 252 includes a service provision unit 255 and a service provision determination unit 256 as execution units.
  • the service providing unit 255 as an execution unit provides services such as content distribution to the information processing apparatus 250.
  • the service provision determination unit 256 determines whether or not the information processing apparatus 250 can provide a service.
  • a secure device processing request (S200), a processing request detection step (S201), a target application extraction step (S202), a target application lock step (S203), and an authenticator generation step (S204) performed by the information processing apparatus 250. Since the target application lock releasing step (S209) has the same processing contents as the steps in the first embodiment, the description thereof is omitted.
  • the communication unit 241 sends the generated hash value (authenticator) to the application determination server 251 via the network 253.
  • the application determination unit 254 of the application determination server 251 compares / determines the sent hash value (authenticator) and the previously stored hash value (authenticator) to determine whether the application is a valid application. Determine whether. Then, the application determination unit 254 sends the above determination result to the service providing server 252 via the network 253 (S206).
  • the service provision determination unit 256 of the service provision server 252 receives the transmitted determination result.
  • the service provision determination unit 256 instructs the service provision unit 255 to provide the service to the information processing apparatus 250.
  • the service providing unit 255 instructed to provide the service provides the information processing apparatus 250 via the network 253 (S208).
  • the service provision determination unit 256 notifies the information processing apparatus 250 of information indicating that the request has failed (S208).
  • the application determination server 251 and the service providing server 252 may be the same server.
  • the application determination server 251 and the service providing server 252 may be connected via a dedicated network to which the information processing apparatus 250 is not connected.
  • the application determining server 251 notifies the service providing server 252 of the determination result via the dedicated network.
  • the service providing server determines whether or not to provide a service to the information processing apparatus. Therefore, there is an effect that the service provider can check the software via the network.
  • FIG. 15 is a block diagram showing a software configuration of the information processing apparatus according to the fourth embodiment of the present invention.
  • FIG. 16 is a diagram showing a device access control sequence according to the fourth embodiment of the present invention.
  • the difference in configuration between the information processing apparatus 120 according to the first embodiment and the information processing apparatus according to the fourth embodiment is as follows.
  • the secure device driver 105 includes the device access request determination unit 109 as a detection unit and the device access control unit 110 as an execution unit.
  • the secure device driver 265 does not include a device access request determination unit as a detection unit and a device access control unit as an execution unit.
  • the secure VMM 260 according to the fourth embodiment includes a device access request determination unit 269 as a detection unit and a device access control unit 270 as an execution unit.
  • the processing request detection step (S101) and the device processing determination step (S106) are realized by the secure device driver 105.
  • the processing request detection step (S211) and the device processing determination step (S216) are realized by the secure VMM 260.
  • the device access request determination unit 269 and the device access control unit 270 exist inside the secure VMM 260 and do not exist inside the secure device driver 265. Therefore, there is an effect that the information processing apparatus according to the fourth embodiment can be operated without modifying the secure device driver.
  • FIG. 17 is a block diagram showing a software configuration of the information processing apparatus according to the fifth embodiment of the present invention.
  • FIG. 18 is a diagram showing a device access control sequence according to the fifth embodiment of the present invention.
  • the difference in configuration between the information processing apparatus 120 according to the first embodiment and the information processing apparatus according to the fifth embodiment is as follows.
  • the application identification unit 106 includes the authenticator generation unit 111 as a verification unit.
  • the application identification unit 286 according to the fifth embodiment generates an authenticator as a verification unit. Does not have a part.
  • the secure VMM 280 of the fifth embodiment includes an authenticator generation unit 289 as a verification unit.
  • the authenticator generation step (S104) is realized by the application specifying unit 106.
  • the authenticator generation step (S224) is realized by the secure VMM 280.
  • the authenticator generation unit 289 exists in the secure VMM 280 and does not exist in the application identification unit 286. Therefore, information notification from the operation application storage memory specifying unit 287 to the authenticator generation unit 289 can be realized in the same module (secure VMM 280). Therefore, there is an effect that information notification from the operation application storage memory specifying unit 287 to the authenticator generation unit 289 can be performed at higher speed.
  • the processing request detection step may perform the detection operation only for the device initialization operation.
  • whether or not to detect the processing request detection step may be determined at random based on a random number.
  • whether or not to detect the processing request detection step may be switched based on the number of device accesses. For example, when the secure device driver is accessed 10 times, an operation of detecting may be performed.
  • a one-way function other than SHA1 may be used in generating the hash value in the authenticator generation step.
  • MD5 SHA256, AES, or DES may be used.
  • the hash value in generating the hash value in the authenticator generation step, may be generated using only a part of the logical address space. For example, a hash value of only the application code area may be generated.
  • a plurality of hash values may be generated in the generation of the hash value in the authenticator generation step.
  • the logical memory space may be divided and a hash value may be generated for each divided area.
  • the application determination unit may determine that only an application having a specific application license is an unauthorized application.
  • the CPU may be a CPU having a protection mode and a normal mode. Furthermore, only the CPU in the protection mode may be able to access the protection memory.
  • the protection memory and the secure device are controlled so that only the software stored in the protection memory can be accessed, but the means may be realized by hardware.
  • the bus may be controlled so that the protection memory and the secure device can be accessed from the CPU only when a program on the protection memory is operating.
  • the normal memory and the protection memory may be the same memory.
  • the non-volatile storage device may store a general-purpose OS.
  • the general-purpose OS is loaded on the normal memory by a special firmware (program) called BIOS (Basic Input Output System) or IPL (Initial Program Loader).
  • BIOS Basic Input Output System
  • IPL Intelligent Program Loader
  • the nonvolatile storage device may store a secure device driver, an application specifying unit, a management-dedicated OS, and a secure VMM.
  • a cryptographic algorithm such as a secret key cryptosystem such as AES cryptography or an asymmetric key cryptography such as RSA cryptography
  • the secure device driver, the application identifying unit, the management OS, and the secure VMM are encrypted. It is stored in the form. Each module is decrypted, loaded onto the protected memory, and executed.
  • the secure VMM may be stored in the normal memory.
  • a falsification detection program (not shown) stored in the protection memory may detect falsification of the secure VMM.
  • the tamper detection of the secure VMM described above may be performed when the secure VMM is loaded into the normal memory, the tamper detection may be performed periodically, or may be performed irregularly based on a random number, You may perform based on some trigger.
  • the secure VMM may be stored in the normal memory.
  • a falsification detection program (not shown) stored in a read-only storage device (ROM) inside the information processing apparatus may detect falsification of the secure VMM.
  • the above-described alteration detection of the secure VMM may be performed when the secure VMM is loaded into the normal memory, the alteration detection may be performed periodically, or may be performed irregularly based on a random number, You may perform based on some trigger.
  • the privileged state of the CPU is realized by using the ring mechanism of the CPU, but other methods may be used.
  • a CPU virtualization domain management domain and general-purpose domain
  • a mechanism that supports complete virtualization may be used.
  • the general-purpose OS manages the page table of the application, but other methods may be used.
  • the secure VMM may manage the page table using shadow paging of OS virtualization technology.
  • the secure VMM refers to the page table for each application managed by the general-purpose OS as the current page table. More specifically, the pointer pointing to the current page table is connected to the page table corresponding to the application currently being processed among the page tables managed by the general-purpose OS.
  • the secure VMM itself makes a copy of the page table managed by the general-purpose OS every time the application to be operated is switched. In this case, since the memory access control is performed based on the page table held by the secure VMM, the secure VMM performs the same processing as the current page table in the above-described embodiment on the page table copied by itself. If you do.
  • the information processing apparatus may send information for identifying the information processing apparatus together with the hash value (authenticator) to the application determination server.
  • a safe communication path may be used between the information processing apparatus and the application determination server.
  • SSL may be used.
  • the information sent from the information processing apparatus to the application determination server may be protected using a digital signature.
  • a digital signature may be created for information to be sent using a TPM (Trusted Computing Group) TPM (Trusted Platform Module), and the electronic signature may be sent to the application determination server.
  • TPM Trusted Computing Group
  • TPM Trusted Platform Module
  • the information processing apparatus and the application determination server may perform challenge / response processing to perform mutual authentication.
  • the CPU can access all the entries in the page table corresponding to privilege information whose level is lower than that of its own privilege state.
  • the privilege state and the privilege information may be associated with each other on a one-to-one basis, and when the ring 3 is in the privilege state, only the entry having the privilege information of the ring 3 may be accessed.
  • the system LSI may be referred to as IC, LSI, super LSI, or ultra LSI depending on the degree of integration, but the case where the system LSI is realized at any of the above integration levels is also included in the present invention. Needless to say. Further, an FPGA (Field Programmable Gate Array) that can be programmed after manufacturing the LSI, or a reconfigurable processor that can reconfigure the connection and setting of circuit cells inside the LSI may be used.
  • FPGA Field Programmable Gate Array
  • the present invention provides a recording medium capable of reading the computer program or the digital signal, such as a flexible disk, a hard disk, a CD-ROM, an MO, a DVD, a DVD-ROM, a DVD-RAM, a BD (Blu). -RayDisc), or recorded in a semiconductor memory or the like. Further, the digital signal may be recorded on these recording media.
  • a recording medium capable of reading the computer program or the digital signal, such as a flexible disk, a hard disk, a CD-ROM, an MO, a DVD, a DVD-ROM, a DVD-RAM, a BD (Blu). -RayDisc), or recorded in a semiconductor memory or the like.
  • the digital signal may be recorded on these recording media.
  • a logical memory space in which an application is stored is locked, and a hash value is generated and determined to prevent device access of an unauthorized application due to application replacement. Has an effect. For this reason, there is an effect of preventing the operation of an unauthorized application in data processing for processing a secure device.

Landscapes

  • Engineering & Computer Science (AREA)
  • Theoretical Computer Science (AREA)
  • Computer Security & Cryptography (AREA)
  • Software Systems (AREA)
  • Physics & Mathematics (AREA)
  • General Engineering & Computer Science (AREA)
  • General Physics & Mathematics (AREA)
  • Computer Hardware Design (AREA)
  • Storage Device Security (AREA)
PCT/JP2009/000500 2008-02-25 2009-02-09 情報処理装置及びその制御方法 Ceased WO2009107330A1 (ja)

Priority Applications (3)

Application Number Priority Date Filing Date Title
US12/918,918 US8689212B2 (en) 2008-02-25 2009-02-09 Information processing device for controlling an application able to access a predetermined device, and control method using an information processing device for controlling an application able to access a predetermined device
CN200980105824.2A CN101946252B (zh) 2008-02-25 2009-02-09 信息处理装置及其控制方法
EP09715484.3A EP2249280B1 (en) 2008-02-25 2009-02-09 Information processor and method for controlling the same

Applications Claiming Priority (2)

Application Number Priority Date Filing Date Title
JP2008-043009 2008-02-25
JP2008043009A JP5260081B2 (ja) 2008-02-25 2008-02-25 情報処理装置及びその制御方法

Publications (1)

Publication Number Publication Date
WO2009107330A1 true WO2009107330A1 (ja) 2009-09-03

Family

ID=41015737

Family Applications (1)

Application Number Title Priority Date Filing Date
PCT/JP2009/000500 Ceased WO2009107330A1 (ja) 2008-02-25 2009-02-09 情報処理装置及びその制御方法

Country Status (5)

Country Link
US (1) US8689212B2 (enExample)
EP (1) EP2249280B1 (enExample)
JP (1) JP5260081B2 (enExample)
CN (1) CN101946252B (enExample)
WO (1) WO2009107330A1 (enExample)

Cited By (1)

* Cited by examiner, † Cited by third party
Publication number Priority date Publication date Assignee Title
WO2013080848A1 (ja) * 2011-11-28 2013-06-06 Suginaka Junko ファイル通信処理方法及び外部デバイス

Families Citing this family (25)

* Cited by examiner, † Cited by third party
Publication number Priority date Publication date Assignee Title
TW201137660A (en) * 2009-12-23 2011-11-01 Ibm Method and system for protecting an operating system against unauthorized modification
EP2413257B1 (en) * 2010-07-26 2017-04-26 Sony DADC Austria AG Method for replacing an illegitimate copy of a software program with legitimate copy and corresponding system
US8307169B2 (en) * 2011-03-10 2012-11-06 Safenet, Inc. Protecting guest virtual machine memory
CN102959555B (zh) * 2011-04-27 2015-09-02 松下电器(美国)知识产权公司 虚拟计算机系统、虚拟计算机控制方法及半导体集成电路
JP5826834B2 (ja) * 2011-05-16 2015-12-02 パナソニック インテレクチュアル プロパティ コーポレーション オブアメリカPanasonic Intellectual Property Corporation of America 仮想計算機システム、仮想計算機システムの制御方法、仮想計算機システムの制御プログラム、及び集積回路
US20130055335A1 (en) * 2011-08-22 2013-02-28 Shih-Wei Chien Security enhancement methods and systems
CN103502993A (zh) * 2012-02-22 2014-01-08 松下电器产业株式会社 虚拟计算机系统、保密信息保护方法以及保密信息保护程序
US10579405B1 (en) * 2013-03-13 2020-03-03 Amazon Technologies, Inc. Parallel virtual machine managers
US10270748B2 (en) * 2013-03-22 2019-04-23 Nok Nok Labs, Inc. Advanced authentication techniques and applications
US10198572B2 (en) * 2013-09-17 2019-02-05 Microsoft Technology Licensing, Llc Virtual machine manager facilitated selective code integrity enforcement
JP6181004B2 (ja) 2014-06-20 2017-08-16 株式会社東芝 メモリ管理装置、プログラム、及び方法
JP6162652B2 (ja) 2014-06-20 2017-07-12 株式会社東芝 メモリ管理装置、プログラム、及び方法
JP6584823B2 (ja) 2014-06-20 2019-10-02 株式会社東芝 メモリ管理装置、プログラム、及び方法
US9538377B2 (en) * 2014-08-22 2017-01-03 Salesforce.Com, Inc. Switching between restricted-access websites on mobile user devices
US9866589B1 (en) * 2014-12-17 2018-01-09 Airwatch Llc Management of actions initiated by applications in client devices
US9715410B2 (en) * 2015-01-30 2017-07-25 Red Hat Israel, Ltd. Protected virtual machine function access
JP6712720B2 (ja) * 2016-03-22 2020-06-24 オリンパス株式会社 照合情報処理装置
KR102802837B1 (ko) * 2016-12-20 2025-05-07 삼성전자주식회사 사용자 단말 장치 및 그의 제어 방법
JP6682019B2 (ja) * 2017-01-25 2020-04-15 日立オートモティブシステムズ株式会社 プログラム更新システムおよびプログラム書込装置
US11868995B2 (en) 2017-11-27 2024-01-09 Nok Nok Labs, Inc. Extending a secure key storage for transaction confirmation and cryptocurrency
US11831409B2 (en) 2018-01-12 2023-11-28 Nok Nok Labs, Inc. System and method for binding verifiable claims
CN109445902B (zh) * 2018-09-06 2021-05-07 新华三云计算技术有限公司 一种数据操作方法和系统
US12041039B2 (en) 2019-02-28 2024-07-16 Nok Nok Labs, Inc. System and method for endorsing a new authenticator
US11792024B2 (en) 2019-03-29 2023-10-17 Nok Nok Labs, Inc. System and method for efficient challenge-response authentication
JPWO2023013102A1 (enExample) * 2021-08-06 2023-02-09

Citations (3)

* Cited by examiner, † Cited by third party
Publication number Priority date Publication date Assignee Title
JP2001175486A (ja) * 1999-12-21 2001-06-29 Hitachi Ltd 計算機システム
JP2001337864A (ja) * 2000-03-22 2001-12-07 Hitachi Ltd アクセス制御システム
JP2006065847A (ja) * 2004-08-25 2006-03-09 Microsoft Corp プログラムコードの安全な実行のためのシステムおよび方法

Family Cites Families (9)

* Cited by examiner, † Cited by third party
Publication number Priority date Publication date Assignee Title
US7035850B2 (en) * 2000-03-22 2006-04-25 Hitachi, Ltd. Access control system
JP2003186561A (ja) 2001-12-20 2003-07-04 Nippon Telegr & Teleph Corp <Ntt> 情報処理方法、装置及びプログラム
EP1503286B1 (en) 2003-07-30 2014-09-03 Jaluna SA Multiple operating system networking
US7310721B2 (en) 2003-10-30 2007-12-18 Microsoft Corporation Shadow page tables for address translation control
US7725895B2 (en) * 2004-03-31 2010-05-25 Intel Corporation Processor control register virtualization to minimize virtual machine exits
US7797699B2 (en) * 2004-09-23 2010-09-14 Intel Corporation Method and apparatus for scheduling virtual machine access to shared resources
JP4116024B2 (ja) * 2005-07-29 2008-07-09 株式会社ソニー・コンピュータエンタテインメント ペリフェラルの使用管理方法、電子システム及びその構成装置
US8042109B2 (en) 2006-03-21 2011-10-18 Intel Corporation Framework for domain-specific run-time environment acceleration using virtualization technology
US7613847B2 (en) * 2006-05-16 2009-11-03 Hewlett-Packard Development Company, L.P. Partially virtualizing an I/O device for use by virtual machines

Patent Citations (3)

* Cited by examiner, † Cited by third party
Publication number Priority date Publication date Assignee Title
JP2001175486A (ja) * 1999-12-21 2001-06-29 Hitachi Ltd 計算機システム
JP2001337864A (ja) * 2000-03-22 2001-12-07 Hitachi Ltd アクセス制御システム
JP2006065847A (ja) * 2004-08-25 2006-03-09 Microsoft Corp プログラムコードの安全な実行のためのシステムおよび方法

Non-Patent Citations (1)

* Cited by examiner, † Cited by third party
Title
See also references of EP2249280A4 *

Cited By (1)

* Cited by examiner, † Cited by third party
Publication number Priority date Publication date Assignee Title
WO2013080848A1 (ja) * 2011-11-28 2013-06-06 Suginaka Junko ファイル通信処理方法及び外部デバイス

Also Published As

Publication number Publication date
US20130212575A1 (en) 2013-08-15
EP2249280B1 (en) 2015-08-12
EP2249280A4 (en) 2013-02-06
JP2009199530A (ja) 2009-09-03
CN101946252B (zh) 2013-08-14
US8689212B2 (en) 2014-04-01
JP5260081B2 (ja) 2013-08-14
CN101946252A (zh) 2011-01-12
EP2249280A1 (en) 2010-11-10

Similar Documents

Publication Publication Date Title
JP5260081B2 (ja) 情報処理装置及びその制御方法
JP5249399B2 (ja) 安全なメモリ区分を使用した安全な実行のための方法および装置
CN110447032B (zh) 管理程序与虚拟机之间的存储器页转换监测
CN103221961B (zh) 包括用于保护多用户敏感代码和数据的架构的方法和装置
JP5175856B2 (ja) セキュアデバイス・システムにおけるフラッシュメモリ・ブロックの保護と方法
US8555089B2 (en) Program execution apparatus, control method, control program, and integrated circuit
US20200349265A1 (en) Technologies for trusted i/o with a channel identifier filter and processor-based cryptographic engine
JP4392241B2 (ja) 付属記憶装置を採用したコンピュータ・システム内の安全保護を促進するための方法ならびにシステム
US6363463B1 (en) Method and apparatus for protecting flash memory
RU2295834C2 (ru) Инициализация, поддержание, обновление и восстановление защищенного режима работы интегрированной системы, использующей средство управления доступом к данным
US20110289294A1 (en) Information processing apparatus
KR101081118B1 (ko) 보안되는 프로그램을 복원하는 컴퓨터 구현 방법, 정보 처리 시스템 및 컴퓨터 판독 가능한 기록 매체
CN109800050B (zh) 一种虚拟机的内存管理方法、装置、相关设备及系统
JP5346608B2 (ja) 情報処理装置およびファイル検証システム
US20020069316A1 (en) Method and apparatus for protecting flash memory
KR101014179B1 (ko) 플래시 대용량 저장 메모리를 가진 보안 장치를 위한 보안 및 적응형 시스템 구조
JP2009169868A (ja) 記憶領域アクセス装置及び記憶領域のアクセス方法

Legal Events

Date Code Title Description
WWE Wipo information: entry into national phase

Ref document number: 200980105824.2

Country of ref document: CN

121 Ep: the epo has been informed by wipo that ep was designated in this application

Ref document number: 09715484

Country of ref document: EP

Kind code of ref document: A1

WWE Wipo information: entry into national phase

Ref document number: 2009715484

Country of ref document: EP

WWE Wipo information: entry into national phase

Ref document number: 12918918

Country of ref document: US

NENP Non-entry into the national phase

Ref country code: DE